|
|
(21), (22) Заявка: 2004117838/11, 11.06.2004
(24) Дата начала отсчета срока действия патента:
11.06.2004
(45) Опубликовано: 27.12.2005
(56) Список документов, цитированных в отчете о поиске:
Страхов В.М., Протасов Л.П. Автоматизация и механизация портовых перегрузочных работ. М.: Транспорт, 1981, с.182-189. US 4826251, 02.05.1989. WO 89/00630, 26.01.1989. SU 1767183 А1, 07.10.1992.
Адрес для переписки:
199106, Санкт-Петербург, В.О., 21 линия, 2, СПГГИ (ТУ), патентный отдел
|
(72) Автор(ы):
Тарасов Ю.Д. (RU)
(73) Патентообладатель(и):
Санкт-Петербургский государственный горный институт им. Г.В. Плеханова (технический университет) (RU)
|
(54) УСТРОЙСТВО ДЛЯ ПОДАЧИ ДОБЫВАЕМЫХ КОНКРЕЦИЙ В ТРАНСПОРТНОЕ СУДНО
(57) Реферат:
Изобретение относится к техническим средствам разработки конкреций на морских шельфах, а именно к устройствам для подачи добываемых конкреций с базового в транспортное судно. Устройство для подачи добываемых конкреций включает в себя размещенное на базовом судне перегрузочное средство, связанное с транспортным судном и состоящее из расходного зумпфа, шламосборника и насосного отделения. В насосном отделении размещен грунтовый насос, связанный всасывающим трубопроводом с расходным зумпфом, а нагнетательным – с полноповоротной в горизонтальной плоскости Г-образной трубой, установленной с возможностью подачи гидросмеси на наклонный колосниковый грохот и подачи обезвоженных конкреций с грохота в трюм транспортного судна. При этом над шламосборником установлен приемный наклонный колосниковый грохот для добываемой гидросмеси, а в насосном отделении установлен водяной насос для подачи забортной воды в расходный зумпф и на брызгало над приемным колосниковым грохотом. Технический результат заключается в обеспечении возможности обогащения конкреций от шлама и излишков воды непосредственно на базовом судне перед их погрузкой на транспортное судно, без перерывов в процессе добычи. 3 з.п. ф-лы, 3 ил. 
Изобретение относится к техническим средствам разработки конкреций на морских шельфах, а именно к устройствам для подачи добываемых конкреций с базового в транспортное судно.
Известен комплекс для гидромеханизированной добычи конкреций с морского шельфа (прототип), включающий базовое судно, размещенное на нем приемное приспособление для гидросмеси, придонный добычной агрегат с возможностью подачи гидросмеси, содержащей конкреции, в приемное устройство на базовом судне или непосредственно на транспортное средство (Тимофеев И.П. Шагающие машины для освоения ресурсов морского дна. Л-д, изд. Ленинградского университета, 1987, с.36-37, рис.21).
Недостатком известного комплекса является транспортирование на берег практически необогащенных от шлама и при большом влагосодержании конкреций, что снижает эффективность их перевозки и дальнейшей переработки.
Техническим результатом изобретения является возможность обогащения конкреций от шлама и излишков воды непосредственно на базовом судне перед перегрузкой конкреций на транспортное судно без перерывов в процессе добычи.
Технический результат достигается тем, что в устройстве для подачи добываемых конкреций в транспортное судно, включающее размещенное на базовом судне перегрузочное средство, связанное с транспортным судном, согласно изобретению перегрузочное средство содержит расходный зумпф, шламосборник и насосное отделение, при этом размещенный в насосном отделении грунтовый насос всасывающим трубопроводом связан с расходным зумпфом, а нагнетательным трубопроводом – с полноповоротной Г-образной трубой, установленной с возможностью поворота в горизонтальной плоскости и подачи гидросмеси на наклонный колосниковый грохот со сборной воронкой для воды и подачи обезвоженных конкреций с грохота в трюм транспортного судна, а воды из сборной воронки – на размещенные на базовом судне вдоль его бортов наклонные самотечные желоба с установленными между ними над расходным зумпфом поворотными патрубками, при этом срезы наклонных желобов размещены над шламосборником, над которым размещен приемный наклонный колосниковый грохот для добываемой гидросмеси, при этом в насосном отделении установлен водяной насос с возможностью забора им забортной воды и ее подачи по нагнетательному трубопроводу в расходный зумпф и на брызгало над приемным колосниковым грохотом. Г-образная труба может быть соединена с наклонным колосниковым грохотом, а упомянутый грохот связан с Г-образной трубой связан кронштейном. На палубе базового судна по его бортам могут быть стационарно установлены два наклонных колосниковых грохота, продольные оси которых совпадают друг с другом и продольной осью напорного трубопровода грунтового насоса, с возможностью подачи на грохота гидросмеси через Г-образную трубу, а обезвоженных конкреций с упомянутых грохотов – в трюм транспортного судна. Расходный зумпф и шламосборник могут быть соединены между собой П-образной трубой с задвижкой и размещением срезов трубы в нижних зонах расходного зумпфа и шламосборника, а сама П-образная труба – с напорным трубопроводом чистой воды.
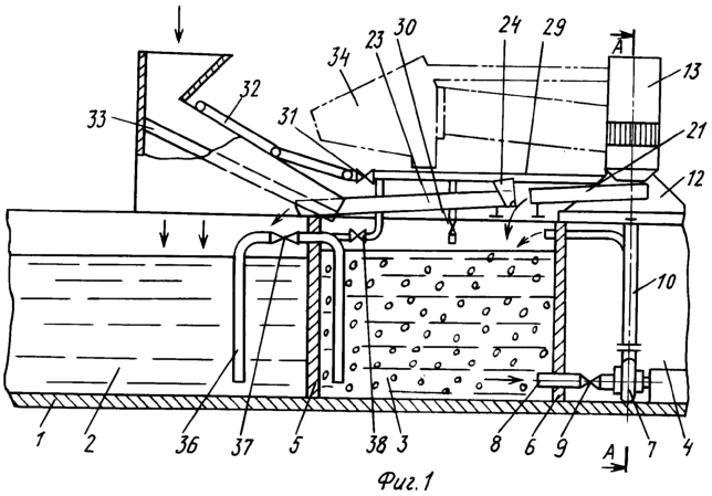
Устройство для подачи конкреций в транспортное судно представлено на чертеже, где на фиг.1 – продольный разрез по базовому судну, на фиг.2 – разрез А-А по фиг.1 для варианта с поворотным грохотом, на фиг.3 то же, для варианта со стационарно установленными грохотами.
Устройство состоит из размещенных на базовом судне 1 шламосборника 2, расходного зумпфа 3 и насосного отделения 4. Расходный зумпф 3 размещен между поперечными стенками 5 и 6 в корпусе базового судна 1. В насосном отделении 4 установлен грунтовый насос 7, который всасывающим трубопроводом 8 с задвижкой 9 связан с расходным зумпфом 3, а нагнетательным трубопроводом 10 – с полноповоротной Г-образной трубой 11, установленной с возможностью поворота в горизонтальной плоскости вместе с опорой 12.
Г-образная труба 11 может быть соединена с наклонным колосниковым грохотом 13 со сборной воронкой 14 для воды (шлама). При этом грохот 13 с воронкой 14 и Г-образной трубой 11 через опору 12 связаны с кронштейном 15.
На палубе базового судна 1 перпендикулярно его бортам могут быть стационарно установлены два наклонных колосниковых грохота 16 и 17, продольные оси которых совпадают друг с другом и продольной осью напорного трубопровода 10. По этому варианту поворотная труба 11 не соединена с грохотами 16 или 17, а установлена лишь с возможностью поочередной подачи гидросмеси на оба эти грохота. Грохота 16 и 17 снабжены сборными воронками 18 и 19.
В обоих вариантах установки грохотов 13 или 16, 17 наружные кромки грохотов выступают за пределы бортов базового судна 1 с возможностью самотечной перегрузки с них надрешетного продукта (обезвоженных конкреций) в трюм транспортного судна 20.
Вдоль бортов базового судна 1 с возможностью приема воды (шлама) из сборных воронок 14 или 18, 19 установлены самотечные наклонные желоба 21 и 22, срезы которых размещены над зумпфом 3. Последовательно с желобами 21 и 22 установлены самотечные желоба 23 с поворотными патрубками 24, соединяющими желоба 21, 22 и 23 между собой с возможностью подачи по ним воды (шлама) в шламосборник 3.
В насосном отделении 4 установлен водяной насос 25 с всасывающим трубопроводом 26 и задвижкой 27, с возможностью забора забортной воды 28, и нагнетательным трубопроводом 29. Нагнетательный трубопровод 29 установлен с возможностью подачи забортной воды 28 в верхнюю часть зумпфа 3 через задвижку 30, а через задвижку 31 – на брызгало 32, размещенное над приемным колосниковым грохотом 33. Приемный колосниковый грохот 33 установлен на палубе базового судна 1 так, чтобы подрешетный продукт этого грохота (шлам) поступал в шламосборник 2, а надрешетный продукт – в зумпф 3.
Транспортное положение Г-образной трубы 11 с колосниковым грохотом 13 и сборной воронкой 14 показано (34) на фиг.1, а положение этих элементов при швартовке к базовому судну 1 транспортного судна 20 с другого борта показано (35) на фиг.2.
Расходный зумпф 3 и шламосборник 2 могут быть соединены между собой П-образной трубой 36 с задвижкой 37 с размещением срезов трубы 36 в нижних зонах расходного зумпфа 3 и шламосборника 2. При этом П-образная труба 36 через задвижку 38 связана с нагнетательным трубопроводом 29 (чистой воды).
Нагнетательный трубопровод 29 патрубком 30 с задвижкой связан с расходным зумпфом 3.
Устройство для подачи конкреций в транспортное судно действует следующим образом. Конкреции, тем или иным способом добываемые с морского дна, например, с помощью ковшовых устройств или средствами гидромеханизации, подаются на приемный грохот 33, на котором происходит отделение конкреций от шлама и промывка конкреций забортной водой 28, подаваемой с помощью водяного насоса 25 через брызгало 32 по трубопроводу 29 при открытой задвижке 31. Подрешетный продукт самотеком поступает в шламосборник 2, а надрешетный – промытые конкреции – в зумпф 3, где смешивается с чистой забортной водой 28, которая периодически, по мере необходимости, подается водяным насосом 25 через трубопровод 29 и открытую задвижку 30 в зумпф 3.
После прибытия и швартовки к базовому судну 1 транспортного судна 2 Г-образная труба 11 из транспортного положения 34 переводится в рабочее положение, показанное на фиг.1 и 2. Далее включается грунтовый насос 7 при открытой задвижке 9, в результате чего пульпа из зумпфа 3 перекачивается по нагнетательному трубопроводу 10 и Г-образной трубе 11 на грохот 13 (16 или 17), где происходит обезвоживание конкреций, которые самотеком направляются в трюм транспортного судна 20
Вода, отделенная на грохоте 13 (16 или 17), поступает в сборную воронку 14 (18 или 19), а с нее – на желоб 21, с которого сливается опять в зумпф 3. Необходимое разжижение пульпы в зумпфе 3 поддерживается периодической подачей недостающего количества воды от насоса 25 путем открытия задвижки 30 на некоторое время. При необходимости уменьшения разжижения пульпы в зумпфе 3 вода с желоба 21 может передаваться на желоб 23 путем изменения положения поворотного патрубка 24. В этом случае вода сливается в шламосборник 2.
Шлам, скопившийся в шламосборнике 2, удаляется из него периодически по мере накопления после прибытия базового судна 1 на базу или в районе добычи перекачивается в соответствующие отсеки транспортного судна 20. Для этого после опорожнения зумпфа 3 от конкреций открывают задвижку 37 и задвижку 38, благодаря чему порожняя часть трубы 36 заполняется забортной водой 28. За счет разности в геодезических напорах в шламосборнике 2 и зумпфе 3 шлам по П-образной трубе 36 поступает в зумпф 3, а из него грунтовым насосом 7 перекачивается за пределы базового судна 1. При этом к срезу Г-образной трубы 11 подсоединяют временный трубопровод (не показан).
Отличительные признаки изобретения позволяют обеспечить бесперебойную работу добычного комплекса при периодической перегрузке уже обогащенных от шлама и обезвоженных конкреций на транспортное судно, временное складирование отделенного от конкреций шлама на базовом судне с последующей его перегрузкой в соответствующие отсеки транспортного судна, что повышает эффективность перевозки конкреций на берег и их последующую переработку, а также исключает возможность загрязнения акватории в районе добычи конкреций.
Формула изобретения
1. Устройство для подачи добываемых конкреций в транспортное судно, включающее размещенное на базовом судне перегрузочное средство, связанное с транспортным судном, отличающееся тем, что перегрузочное средство содержит расходный зумпф, шламосборник и насосное отделение, при этом размещенный в насосном отделении грунтовьй насос всасывающим трубопроводом связан с расходным зумпфом, а нагнетательным трубопроводом – с полноповоротной Г-образной трубой, установленной с возможностью поворота в горизонтальной плоскости и подачи гидросмеси на наклонный колосниковый грохот со сборной воронкой для воды и подачи обезвоженных конкреций с грохота в трюм транспортного судна, а воды из сборной воронки – на размещенные на базовом судне вдоль его бортов наклонные самотечные желоба с установленными между ними над расходным зумпфом поворотными патрубками, при этом срезы наклонных желобов размещены над шламосборником, над которым размещен приемный наклонный колосниковый грохот для добываемой гидросмеси, при этом в насосном отделении установлен водяной насос с возможностью забора им забортной воды и ее подачи по нагнетательному трубопроводу в расходный зумпф и на брызгало над приемным колосниковым грохотом.
2. Устройство по п.1, отличающееся тем, что Г-образная труба соединена с наклонным колосниковым грохотом, а упомянутый грохот связан с Г-образной трубой кронштейном.
3. Устройство по п.1, отличающееся тем, что на палубе базового судна по его бортам стационарно установлены два наклонных колосниковых грохота, продольные оси которых совпадают друг с другом и продольной осью напорного трубопровода грунтового насоса с возможностью подачи на грохота гидросмеси через Г-образную трубу, а обезвоженных конкреций с упомянутых грохотов – в трюм транспортного судна.
4. Устройство по п.1, отличающееся тем, что расходный зумпф и шламосборник соединены между собой П-образной трубой с задвижкой, при этом срезы трубы размещены в нижних зонах расходного зумпфа и шламосборника, а сама П-образная труба соединена с напорным трубопроводом чистой воды.
РИСУНКИ
MM4A – Досрочное прекращение действия патента СССР или патента Российской Федерации на изобретение из-за неуплаты в установленный срок пошлины за поддержание патента в силе
Дата прекращения действия патента: 12.06.2006
Извещение опубликовано: 27.02.2008 БИ: 06/2008
|
|