|
|
(21), (22) Заявка: 2004113075/03, 28.04.2004
(24) Дата начала отсчета срока действия патента:
28.04.2004
(45) Опубликовано: 27.12.2005
(56) Список документов, цитированных в отчете о поиске:
RU 2151839 C1, 27.06.2000. RU 2173372 C2, 10.09.2001. EP 368135 A1, 16.05.1990. EP 527115 A1, 10.02.1993. DE 19602779 A1, 31.07.1997.
Адрес для переписки:
141371, Московская обл., г.Хотьково, ул. Академика Королева, 7, корп.1, кв.12, А.В.Суханову
|
(72) Автор(ы):
Суханов А.В. (RU), Лебедев В.И. (RU), Асеев А.В. (RU)
(73) Патентообладатель(и):
Суханов Александр Викторович (RU), Лебедев Виктор Иванович (RU), Асеев Алексей Вадимович (RU)
|
(54) ШУМОИЗОЛИРУЮЩАЯ И ШУМОПОГЛОЩАЮЩАЯ АКУСТИЧЕСКАЯ СЭНДВИЧ-ПАНЕЛЬ (ВАРИАНТЫ)
(57) Реферат:
Изобретение относится к устройствам для защиты от шума, звуковых волн и их улавливания, подавления и поглощения и может быть использовано в сооружениях для обеспечения нормального акустического режима, в частности в защитных экранах придорожного шумопоглощения. Шумоизолирующая и шумопоглощающая акустическая сэндвич-панель образована задней и передней панелями. Между панелями размещен шумопоглощающий блок. Акустическая сэндвич-панель оснащена выполненными из профиля с резонирующей полостью разделителями шумового потока, которые расположены со стороны передней панели с наклонными пластинами с козырьками, смонтированными горизонтально и параллельно друг другу с образованием щелевых ловушек. Акустическая сэндвич-панель снабжена плоским модулем, выполненным, по меньшей мере, из одного слоя волокнистого материала, имеющего поверхностную плотность в пределах от 100 до 1500 г/м2, и плоской акустической мембраной из, по меньшей мере, одного слоя звукопроницаемого материала, имеющего поверхностную плотность в пределах от 25 до 200 г/м2. Последняя совместно с разделителями шумового потока и наклонными пластинами с козырьками смонтированы в объемный модуль из, по меньшей мере, двух вертикально ориентированных разделителей шумового потока, и последовательно зафиксированных на них плоской акустической мембраны и наклонных пластин с козырьками. Плоский и объемный модули смонтированы последовательно с наружной стороны передней панели, а шумопоглощающий блок зафиксирован относительно передней и задней панелей посредством клея и/или механически. Технический результат заключается в повышении защиты жилых и производственных комплексов, соответствующей инфраструктуры вдоль напряженных по движению различного рода транспортных магистралей, улучшении экологической обстановки. 3 н. и 45 з.п. ф-лы, 14 ил. 
Изобретение относится к устройствам для защиты от шума, звуковых волн и их улавливания, подавления и поглощения и может быть использовано в сооружениях для обеспечения нормального акустического режима, в частности в защитных экранах придорожного шумопоглощения.
Известен шумоизолирующий экран, образованный задней и передней панелями и размещенным между ними шумопоглощающим блоком, и снабженный выполненными из профиля с резонирующей полостью разделителями шумового потока и размещенными на передней панели наклонными пластинами с козырьками, смонтированными горизонтально и параллельно друг другу с образованием щелевых ловушек (прототип) [1].
В указанном защитном экране эффект звуко- и шумопоглощения потоков, проникших в экраны, достигается за счет подавления их особенностями структур и свойств материалов шумопоглощающих элементов, их комбинации. Такие конструкции защитных экранов обладают наибольшей эффективностью в диапазоне частот от 90 до 100 децибелл.
Повышенная рациональность конструкции этих панелей обеспечивает легкость транспортировки к месту установки и простоту монтажа из них защитных экранов придорожного шумопоглощения и шумоизолирования. Кроме того, экраны из шумопоглощающих и шумоизолирующих акустических панелей более универсальны по конструкции и разнообразны по своим архитектурным формам. Сборка экранов из таких панелей может осуществляться в различных условиях.
Однако, известные экраны, собранные из шумопоглощающих и шумоизолирующих акустических панелей, имеют малую эффективность при подавлении шумовых потоков с низкой частотой колебаний в диапазоне 100÷500 Гц.
Задача, на решение которой направлена заявляемая группа изобретений, связанных настолько, что образуют единый изобретательский замысел, является разработка таких конструкций шумопоглощающей и шумоизолирующей акустической сэндвич-панели (варианты), которые при сборке из них защитного экрана для придорожного шумопоглощения позволят получить дополнительно эффективное подавление звукошумовых потоков, имеющих в активной фазе низкие частоты колебаний в диапазоне 100÷500 Гц, а также создадут предпосылки для качественно нового уровня технологии монтажа защитного экрана.
Технический результат, который может быть получен при осуществлении заявляемой группы изобретений, связанных настолько, что образуют единый изобретательский замысел, заключается в обеспечении повышения защиты жилых и производственных комплексов, соответствующей инфраструктуры вдоль напряженных по движению различного рода транспортных магистралей, улучшении экологической обстановки.
Для достижения технического результата при решении поставленной задачи шумоизолирующая и шумопоглощающая акустическая сендвич-панель по варианту I, образованная задней и передней панелями, размещенным между ними шумопоглощающим блоком, оснащенная выполненными из профиля с резонирующей полостью разделителями шумового потока и расположенными со стороны передней панели наклонными пластинами с козырьками, смонтированными горизонтально и параллельно друг другу с образованием щелевых ловушек, снабжена плоским модулем, выполненным, по меньшей мере, из одного слоя волокнистого материала, имеющего поверхностную плотность в пределах от 100 до 1500 г/м2, и плоской акустической мембраной из, по меньшей мере, одного слоя звукопроницаемого материала, имеющего поверхностную плотность в пределах от 25 до 200 г/м2, последняя совместно с разделителями шумового потока и наклонными пластинами с козырьками смонтирована в объемный модуль из, по меньшей мере, двух вертикально ориентированных разделителей шумового потока, и последовательно зафиксированных на них плоской акустической мембраны и наклонных пластин с козырьками, при этом плоский и объемный модули смонтированы последовательно с наружной стороны передней панели, а шумопоглощающий блок зафиксирован относительно передней и задней панелей посредством клея и/или механически;
Также для достижения технического результата при решении поставленной задачи шумоизолирующая и шумопоглощающая акустическая сэндвич-панель по варианту II, образованная задней и передней панелями, размещенным между ними шумопоглощающим блоком, оснащенная выполненными из профиля с резонирующей полостью разделителями шумового потока и расположенными со стороны передней панели наклонными пластинами с козырьками, смонтированными горизонтально и параллельно друг другу с образованием щелевых ловушек, снабжена плоским модулем, выполненным, по меньшей мере, из одного слоя картона или войлока из базальтового, или стеклянного, или полимерного волокна, или из их смеси, и плоской акустической мембраной из, по меньшей мере, одного слоя звукопроницаемого материала, имеющего поверхностную плотность в пределах от 25 до 200 г/м2, последняя совместно с разделителями шумового потока и наклонными пластинами с козырьками смонтирована в объемный модуль из, по меньшей мере, двух вертикально ориентированных разделителей шумового потока и последовательно зафиксированных на них плоской акустической мембраны и наклонных пластин с козырьками, при этом плоский и объемный модули смонтированы последовательно с наружной стороны передней панели, а шумопоглощающий блок зафиксирован относительно передней и задней панелей посредством клея и/или механически;
Также для достижения технического результата при решении поставленной задачи в шумоизолирующей и шумопоглощающей акустической сэндвич-панели по варианту III, образованной задней и передней панелями, размещенным между ними шумопоглощающим блоком, оснащенной выполненными из профиля с резонирующей полостью разделителями шумового потока и расположенными со стороны передней панели наклонными пластинами с козырьками, смонтированными горизонтально и параллельно друг другу с образованием щелевых ловушек, снабженной плоской акустической мембраной из, по меньшей мере, одного слоя звукопроницаемого материала, имеющего поверхностную плотность в пределах от 25 до 200 г/м2, последняя совместно с разделителями шумового потока и наклонными пластинами с козырьками смонтирована в объемный модуль из, по меньшей мере, двух вертикально ориентированных разделителей шумового потока, и последовательно зафиксированных на них плоской акустической мембраны и наклонных пластин с козырьками, при этом плоский и объемный модули смонтированы последовательно с наружной стороны передней панели, а шумопоглощающий блок зафиксирован относительно передней и задней панелей посредством клея и/или механически;
Поставленная задача также достигается тем, что в шумоизолирующей и шумопоглощающей акустической сэндвич-панели – в шумоизолирующей и шумопоглощающей акустической сэндвич-панели по вариантам I или II плоский модуль может быть выполнен с толщиной =2÷20 мм, а слои материала плоского модуля могут быть зафиксированы друг относительно друга, например, механически и/или посредством клея.
Поставленная задача также достигается тем, что в шумоизолирующей и шумопоглощающей акустической сэндвич-панели по вариантам I÷III:
– каждый из разделителей шумового потока сформирован из или стеклопластика, или базальтопластика, или гибрида на их основе, или полимерного материала, или алюминия, или стали;
– каждый из разделителей шумового потока выполнен в виде линейного отрезка профиля, имеющего в сечении или трубчато-прямоугольную форму или корытную замкнутую форму или корытную незамкнутую с фланцами форму, при этом высота каждого из профилей выбрана в пределах =10÷70 мм;
– наклонные пластины с козырьками могут быть выполнены высотой h=10÷100 мм и смонтированы таким образом, что щелевые ловушки образованы посредством либо перекрытия друг друга соседними пластинами в пределах =0÷30 мм, либо с образованием зазора между соседними пластинами в пределах =0÷10 мм, при этом наклонные пластины могут быть выполнены с переменной высотой, изменяемой последовательно от нижнего к верхнему краю сэндвич-панели или по любому другому алгоритму;
– наклонные пластины с козырьками могут быть выполнены из стеклопластика, или базальтопластика, или гибридного материала на основе стекло- и базальтопластика, или полимерного материала, или стали, или алюминия, или из сплавов алюминия или стали;
– плоская акустическая мембрана и ее звукопроницаемые слои могут быть зафиксированы на разделителях шумового потока и друг относительно друга, механически и/или посредством клея, при этом звукопроницаемые слои плоской акустической мембраны могут быть выполнены либо из термоскрепленного нетканого материал на основе полиэфирных, полипропиленовых, или полиэтиленового волокон, или их смеси, либо из полимерной, или стеклянной, или базальтовой, или их смеси ткани;
– шумопоглощающий блок выполнен в виде плиты или мата толщиной =40÷150 мм;
– верхние отбортовки сэндвич-панели сформированы с фиксирующими элементами, например продольными выступами или углублениями, а нижние отбортовки сформированы с фиксирующими элементами, например углублениями или выступами, при этом профили фиксирующих верхних и нижних отбортовок выполнены зеркально отраженными и совмещаемыми;
– боковые торцы сэндвич-панели могут быть закрыты либо полимерной пленкой, фиксируемой на оболочке посредством клея и/или механически, либо металлическими или полимерными крышками, фиксируемыми механически;
– передняя панель может быть выполнена перфорированной, с любой формой перфорирующих отверстий и равномерным размещением их по плоскости, при этом процент перфорации по отношению к плоскости передней панели может составлять от 10 до 70%, а
задняя панель металлической оболочки может быть выполнена с ребрами жесткости.
Поставленная задача также достигается тем, что шумоизолирующая и шумопоглощающая акустическая сэндвич-панель по вариантам I÷III может быть снабжена вибродемпфирующими прокладками, выполненными из резины, или пенополиэтилена, или пластмассы и помещаемыми между верхними и/или нижними отбортовками передней и задней панелей, а последние могут быть выполнены из сплава стали или сплава алюминия.
Указанные признаки заявляемой группы изобретений являются существенными и взаимосвязанными между собой причинно-следственной связью с образованием совокупности существенных признаков, достаточных для достижения технического результата.
Указанные отличительные признаки являются новыми, так как их использование в известном уровне техники, аналогах и прототипе не обнаружено, что позволяет характеризовать предложенную группу изобретений, связанных настолько, что образуют единый изобретательский замысел, соответствием критерию «новизна»
Единая совокупность новых существенных признаков с общими известными существенными признаками позволяет решить поставленную задачу создания шумоизолирующей и шумопоглощающей акустической сендвич-панели (варианты) и достижения нового технического результата в совершенствовании конструкций придорожных экранов с обеспечением их повышенных шумоизолирующих и шумопоглощающих свойств, особенно в подавлении звукошумовых потоков в активной фазе с низкой частотой колебаний в диапазоне 100÷500 Гц, а также повышении точности и технологичности сборки элементов в экраны, что характеризует предложенную группу технических решений существенными отличиями от известного уровня техники, аналогов и прототипа.
Сущность группы изобретения поясняется чертежами, где на:
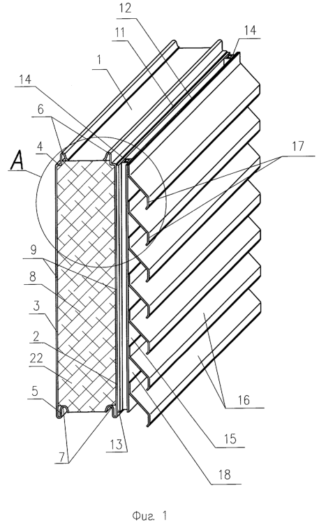
фиг.1 – общий вид сэндвич-панели. Вариант I;
фиг.2 – общий вид сэндвич-панели. Вариант II;
фиг.3 – общий вид сэндвич-панели. Вариант III;
фиг.4 – узел А фиг.1;
фиг.5 – узел Б фиг.2;
фиг.6 – узел В фиг.3;
фиг.7, 8, 9 – типы профилей разделителей шумового потока сендвич-панелей по вариантам I-III;
фиг.10, 11, 12 – схемы монтажа наклонных пластин с козырьками в сэндвич-панелях по вариантам I-III;
фиг.13 – модель выполнения сэндвич-панелей по вариантам I-III с перфорированной передней панелью;
фиг.14 – модель выполнения защитного экрана придорожного шумопоглощения с использованием сэндвич-панелей по вариантам I-III с различными схемами перфорирования их передних панелей.
Заявляемая группа изобретений поясняется конкретными примерами выполнения, которые наглядно демонстрирует возможность достижения данной совокупностью существенных признаков заданного технического результата.
Вариант I.
Шумоизолирующая и шумопоглощающая акустическая сэндвич-панель 1 (фиг.1, 4) состоит из передней 2 и задней 3 панелей, сформированных с верхними 4 и нижними 5 отбортовками. Верхние отбортовки 4 сформированы с фиксирующими элементами, например, продольными выступами 6, а нижние отбортовки 5 сформированы с фиксирующими элементами, например, углублениями 7. Возможен вариант исполнения, когда верхние отбортовки 4 могут быть сформированы с фиксирующими углублениями (на фиг.не показано), а нижние отбортовки 5 – с фиксирующими выступами (на фиг. не показано), но в любом варианте профили фиксирующих элементов верхних и нижних отбортовок выполнены зеркально отраженными и совмещаемыми.
Передняя 2 и задняя 3 панели могут быть выполнены из стали, или из алюминия, или из их сплавов.
Между передней 2 и задней 3 панелями размещен шумопоглощающий блок 8, выполненный в виде плиты или мата, имеющих плотность в пределах от 90 до 200 кг/ м3 и толщину =40÷150 мм. Шумопоглощающий блок 8 может быть сформирован либо из базальтовой или минеральной, или стекловолокнистой ваты, или из их смеси, либо из полистирола или пенополиуретана, или пенополиэтилена. Плита или мат шумопоглощающего блока 8 может быть обработана гидрофобизирующими материалами. Шумопоглощающий блок 8 зафиксирован относительно внутренних поверхностей панелей 2, 3 посредством клея и/или механически, образовывая тем самым с последней монолитный блок 9.
Сверху и снизу монолитный блок частично перекрывается отбортовками 4 и 5. Между отбортовками 4 и/или 5 шумопоглощающего монолитного блока 9 могут быть уложены вибродемпфирующие прокладки 10 (фиг.10-12). Вибродемпфирующие прокладки 10 могут быть выполнены, например, из резины или пенополиэтилена, или пластмассы.
С наружной стороны передней панели 2 монолитного блока 9 последовательно смонтированы плоский 11 и объемный 12 модули.
Плоский модуль 11 выполнен с толщиной =2÷20 мм, по меньшей мере, из одного слоя 13 волокнистого материала, имеющего поверхностную плотность в пределах от 100 до 1500 г/м2, например из иглопробивного нетканого материала на основе полиэфирных, или полипропиленовых, или полиэтиленовых волокон, или из их смеси. Плоский модуль 11 может быть зафиксирован на наружной стороне панели 2 механически и/или посредством клея. При исполнении плоского модуля 11 из нескольких слоев 13 материала последние могут быть зафиксированы друг относительно друга механически и/или посредством клея.
Объемный модуль 12 выполнен из, по меньшей мере, двух вертикально ориентированных разделителей шумового потока 14, акустической мембраны 15, зафиксированной на разделителях шумового потока 14, и наклонных пластин 16 с козырьками 17, причем последние смонтированы горизонтально и параллельно друг другу с образованием щелевых ловушек 18.
Каждый из вертикально ориентированных разделителей шумового потока 14, зафиксированных на передней панели 2 поверх плоского модуля 11, выполнен в виде линейного отрезка профиля (фиг.7-9) с резонирующей полостью 19, имеющего в сечении или трубчато-прямоугольную форму (фиг.7), или корытную незамкнутую с фланцами (фиг.8), или форму корытную замкнутую (фиг 9), при этом высота каждого из профилей выбрана в пределах =10÷70 мм.
Если для разделителей шумового потока 14 используется профиль корытно-незамкнутой формы с фланцами, то резонирующая полость 19 замыкается передней поверхностью панели 2.
Каждый из вертикально ориентированных разделителей шумового потока 14 сформирован из или стеклопластика, или базальтопластика, или гибрида на их основе, или полимерного материала, или алюминия, или стали.
Плоская акустическая мембрана 15 выполнена, по меньшей мере, из одного слоя звукопроницаемого материала 20, имеющего поверхностную плотность в пределах от 25 до 200 г/м2, и толщиной в пределах от 0,1 до 1,0 мм. Плоская акустическая мембрана 15 может быть зафиксирована на разделителях шумового потока 14 механически и/или посредством клея. При исполнении плоской акустической мембраны из нескольких звуконепроницаемых слоев 20 последние могут быть зафиксированы друг относительно друга механически и/или посредством клея. Каждый из звукопроницаемых слоев 20 может быть выполнен либо из термоскрепленного нетканого материала на основе полиэфирных, полипропиленовых или полиэтиленового волокон или их смеси, либо полимерной, или стеклянной, или базальтовой, или их смеси ткани.
Наклонные пластины 16 с козырьками 17 (фиг.10) могут быть выполнены высотой h=10÷100 мм и смонтированы таким образом, что щелевые ловушки 18 образованы посредством либо перекрытия друг друга соседними пластинами 16 в пределах =0÷30 мм, либо (фиг.11) с образованием зазора между соседними пластинами 16 в пределах 
Наклонные пластины 16 могут быть выполнены с переменной шириной, изменяемой либо последовательно от нижнего к верхнему краю сэндвич-панели, либо по любому другому алгоритму (фиг.12). Наклонные пластины 16 с козырьками 17 могут быть выполнены из стеклопластика, или базальтопластика, или гибридного материала на основе стекло и базальтопластика, или полимерного материала, или стали, или алюминия, или из сплавов алюминия или стали.
Боковые торцы 21 сэндвич-панели 1 (фиг.12) могут быть закрыты или полимерной пленкой, фиксируемой на оболочке посредством клея, или металлическими крышками (на фиг. не показано), фиксируемыми на оболочке механически.
Передняя панель 2 сэндвич-панели 1 (фиг.13) может быть выполнена перфорированной. Перфорации могут быть, например, в виде круглых отверстий 22, отверстий прямоугольной 23 (фиг.14) или щелевидной формы 24.
Перфорации 22-24 могут быть равномерно размещены по плоскости передней панели 2, при этом процент перфорации по отношению к плоскости последней может составлять от 10 до 70%;
Задняя панель 3 сэндвич-панели может быть выполнена с ребрами жесткости 25.
Вариант II.
Шумоизолирующая и шумопоглощающая акустическая сэндвич-панель 1 (фиг.2, 5) состоит из передней 102 и задней 103 панелей, сформированных с верхними 104 и нижними 105 отбортовками. Верхние отбортовки 104 сформированы с фиксирующими элементами, например, продольными выступами 106, а нижние отбортовки 105 сформированы с фиксирующими элементами, например, углублениями 107. Возможен вариант исполнения, когда верхние отбортовки 104 могут быть сформированы с фиксирующими углублениями (на фиг. не показано), а нижние отбортовки 105 – с фиксирующими выступами (на фиг. не показано), но в любом варианте профили фиксирующих элементов верхних и нижних отбортовок выполнены зеркально отраженными и совмещаемыми.
Передняя 102 и задняя 103 панели могут быть выполнены из стали, или из алюминия, или из их сплавов.
Между передней 102 и задней 103 панелями размещен шумопоглощающий блок 108, выполненный в виде плиты или мата, имеющих плотность в пределах от 90 до 200 кг/м3 и толщину =40÷150 мм. Шумопоглощающий блок 108 может быть сформирован либо из базальтовой или минеральной, или стекловолокнистой ваты, или из их смеси, либо из полистирола или пенополиуретана, или пенополиэтилена. Плита или мат шумопоглощающего блока 108 может быть обработана гидрофобизирующими материалами. Шумопоглощающий блок 108 зафиксирован относительно внутренних поверхностей панелей 102, 103 посредством клея и/или механически, образовывая тем самым с последней монолитный блок 109.
Сверху и снизу монолитный блок частично перекрывается отбортовками 104 и 105. Между отбортовками 104 и/или 105 шумопоглощающего монолитного блока 109 могут быть уложены вибродемпфирующие прокладки 110 (фиг.10-12). Вибродемпфирующие прокладки 110 могут быть выполнены, например, из резины, или пенополиэтилена, или пластмассы.
С наружной стороны передней панели 102 монолитного блока 109 последовательно смонтированы плоский 111 и объемный 112 модули.
Плоский модуль 111 выполнен с толщиной =2÷20 мм, по меньшей мере, из одного слоя 113 картона или войлока из базальтового, или стеклянного, или полимерного волокна, или из их смеси.
Плоский модуль 111 может быть зафиксирован на наружной стороне панели 102 механически и/или посредством клея. При исполнении плоского модуля 111 из нескольких слоев 113 материала последние могут быть зафиксированы друг относительно друга механически и/или посредством клея
Объемный модуль 112 выполнен из, по меньшей мере, двух вертикально ориентированных разделителей шумового потока 114, акустической мембраны 15, зафиксированной на разделителях шумового потока 114, и наклонных пластин 116 с козырьками 117, причем последние смонтированы горизонтально и параллельно друг другу с образованием щелевых ловушек 118.
Каждый из вертикально ориентированных разделителей шумового потока 114, зафиксированных на передней панели 102 поверх плоского модуля 111, выполнен в виде линейного отрезка профиля (фиг.7-9) с резонирующей полостью 119, имеющего в сечении или трубчато-прямоугольную форму (фиг.7), или корытную незамкнутую с фланцами (фиг.8), или форму корытную замкнутую (фиг 9), при этом высота каждого из профилей выбрана в пределах =10÷70 мм.
Если для разделителей шумового потока 114 используется профиль корытно-незамкнутой формы с фланцами, то резонирующая полость 119 замыкается передней поверхностью панели 102.
Каждый из вертикально ориентированных разделителей шумового потока 114 сформирован из или стеклопластика, или базальтопластика, или гибрида на их основе, или полимерного материала, или алюминия, или стали.
Плоская акустическая мембрана 115 выполнена, по меньшей мере, из одного слоя звукопроницаемого материала 120, имеющего поверхностную плотность в пределах от 25 до 200 г/м2, и толщиной в пределах от 0,1 до 1,0 мм. Плоская акустическая мембрана 115 может быть зафиксирована на разделителях шумового потока 114 механически и/или посредством клея. При исполнении плоской акустической мембраны из нескольких звуконепроницаемых слоев 120 последние могут быть зафиксированы друг относительно друга механически и/или посредством клея. Каждый из звукопроницаемых слоев 20 может быть выполнен либо из термоскрепленного нетканого материал на основе полиэфирных, полипропиленовых или полиэтиленового волокон или их смеси, либо полимерной или стеклянной, или базальтовой, или их смеси ткани.
Наклонные пластины 116 с козырьками 117 (фиг.10) могут быть выполнены высотой h=10÷100 мм и смонтированы таким образом, что щелевые ловушки 118 образованы посредством либо перекрытия друг друга соседними пластинами 116 в пределах =0÷30 мм, либо (фиг.11) с образованием зазора между соседними пластинами 116 в пределах 
Наклонные пластины 116 могут быть выполнены с переменной шириной, изменяемой либо последовательно от нижнего к верхнему краю сэндвич-панели, либо по любому другому алгоритму (фиг.12). Наклонные пластины 116 с козырьками 117 могут быть выполнены из стеклопластика, или базальтопластика, или гибридного материала на основе стекло- и базальтопластика, или полимерного материала, или стали, или алюминия либо из сплавов алюминия или стали.
Боковые торцы 121 сэндвич-панели 101 (фиг.12) могут быть закрыты или полимерной пленкой, фиксируемой на оболочке посредством клея, или металлическими крышками (на фиг. не показано), фиксируемыми на оболочке механически.
Передняя панель 102 сэндвич-панели 1 (фиг.13) может быть выполнена перфорированной. Перфорации могут быть, например, в виде круглых отверстий 122, отверстий прямоугольной 123 (фиг.14) или щелевидной формы 124.
Перфорации 122-124 могут быть равномерно размещены по плоскости передней панели 102, при этом процент перфорации по отношению к плоскости последней может составлять от 10 до 70%.
Задняя панель 103 сэндвич-панели может быть выполнена с ребрами жесткости 125.
Вариант III.
Шумоизолирующая и шумопоглощающая акустическая сэндвич-панель 201 (фиг.3, 6) состоит из передней 202 и задней 203 панелей, сформированных с верхними 204 и нижними 205 отбортовками. Верхние отбортовки 204 сформированы с фиксирующими элементами, например, продольными выступами 206, а нижние отбортовки 205 сформированы с фиксирующими элементами, например, углублениями 207. Возможен вариант исполнения, когда верхние отбортовки 204 могут быть сформированы с фиксирующими углублениями (на фиг. не показано), а нижние отбортовки 205 – с фиксирующими выступами (на фиг. не показано), но в любом варианте профили фиксирующих элементов верхних и нижних отбортовок выполнены зеркально отраженными и совмещаемыми.
Передняя 202 и задняя 203 панели могут быть выполнены из стали, или из алюминия, или из их сплавов.
Между передней 202 и задней 203 панелями размещен шумопоглощающий блок 208, выполненный в виде плиты или мата, имеющих плотность в пределах от 90 до 200 кг/м3 и толщину =40÷150 мм. Шумопоглощающий блок 208 может быть сформирован либо из базальтовой или минеральной, или стекловолокнистой ваты, или из их смеси, либо из полистирола или пенополиуретана, или пенополиэтилена. Плита или мат шумопоглощающего блока 208 может быть обработана гидрофобизирующими материалами. Шумопоглощающий блок 208 зафиксирован относительно внутренних поверхностей панелей 202, 203 посредством клея и/или механически, образовывая тем самым с последней монолитный блок 209.
Сверху и снизу монолитный блок частично перекрывается отбортовками 204 и 205. Между отбортовками 204 и/или 205 шумопоглощающего монолитного блока 209 могут быть уложены вибродемпфирующие прокладки 210 (фиг.10-12). Вибродемпфирующие прокладки 210 могут быть выполнены, например, из резины или пенополиэтилена, или пластмассы.
С наружной стороны передней панели 202 на монолитном блоке 209 смонтирован объемный 212 модуль.
Объемный модуль 212 выполнен из, по меньшей мере, двух вертикально ориентированных разделителей шумового потока 214, акустической мембраны 215, зафиксированной на разделителях шумового потока 214, и наклонных пластин 216 с козырьками 217, причем последние смонтированы горизонтально и параллельно друг другу с образованием щелевых ловушек 218.
Каждый из вертикально ориентированных разделителей шумового потока 214 зафиксирован на передней панели 202 и выполнен в виде линейного отрезка профиля (фиг.7-9) с резонирующей полостью 219, имеющего в сечении или трубчато-прямоугольную форму (фиг.7), или корытную незамкнутую с фланцами (фиг.8), или форму корытную замкнутую (фиг.9), при этом высота каждого из профилей выбрана в пределах =10÷70 мм.
Если для разделителей шумового потока 214 используется профиль корытно незамкнутой формы с фланцами, то резонирующая полость 219 замыкается передней поверхностью панели 202.
Каждый из вертикально ориентированных разделителей шумового потока 214 сформирован из или стеклопластика, или базальтопластика, или гибрида на их основе, или полимерного материала, или алюминия, или стали.
Плоская акустическая мембрана 215, выполнена, по меньшей мере, из одного слоя звукопроницаемого материала 220, имеющего поверхностную плотность в пределах от 25 до 200 г/м2, и толщиной в пределах от 0,1 до 1,0 мм. Плоская акустическая мембрана 215 может быть зафиксирована на разделителях шумового потока 214 механически и/или посредством клея. При исполнении плоской акустической мембраны из нескольких звуконепроницаемых слоев 220 последние могут быть зафиксированы друг относительно друга механически и/или посредством клея. Каждый из звукопроницаемых слоев 220 может быть выполнен либо из термоскрепленного нетканого материал на основе полиэфирных, полипропиленовых или полиэтиленового волокон или их смеси, либо полимерной или стеклянной, или базальтовой, или их смеси ткани.
Наклонные пластины 216 с козырьками 217 (фиг.10) могут быть выполнены высотой h=10÷100 мм и смонтированы таким образом, что щелевые ловушки 218 образованы посредством либо перекрытия друг друга соседними пластинами 216 в пределах =0÷30 мм, либо (фиг.11) с образованием зазора между соседними пластинами 216 в пределах 
Наклонные пластины 216 могут быть выполнены с переменной шириной, изменяемой либо последовательно от нижнего к верхнему краю сэндвич-панели либо по любому другому алгоритму (фиг.12). Наклонные пластины 216 с козырьками 217 могут быть выполнены из стеклопластика, или базальтопластика, или гибридного материала на основе стекло- и базальтопластика, или полимерного материала, или стали, или алюминия либо из сплавов алюминия или стали.
Боковые торцы 221 сэндвич-панели 201 (фиг.12) могут быть закрыты или полимерной пленкой, фиксируемой на оболочке посредством клея, или металлическими крышками (на фиг. не показано), фиксируемыми на оболочке механически.
Передняя панель 202 металлической оболочки 206 (фиг.13) может быть выполнена перфорированной. Перфорации могут быть, например, в виде круглых отверстий 222, отверстий прямоугольной 223 (фиг.14) или щелевидной формы 224.
Перфорации 222-224 могут быть равномерно размещены по плоскости передней панели 202, при этом процент перфорации по отношению к плоскости последней может составлять от 10 до 70%;
Задняя панель 203 сэндвич-панели может быть выполнена с ребрами жесткости 225.
Шумоизолирующая и шумопоглощающая акустическая сэндвич-панели 1 (101, 201) по каждому из вариантов I, или II, или III встраиваются в рамный каркасе 26 (фиг.11) и могут быть зафиксированы жестко или с зазором.
В защитном экране могут быть одновременно смонтированы шумоизолирующие и шумопоглощающие сэндвич-панели в различном исполнении. При этом могут быть использованы сэндвич-панели не только одного из вариантов I-III с различным исполнением перфорирующих отверстий на передней панели 2 (и, соответственно, 102 или 202), но и сэндвич-панели в любом сочетании заявленных вариантов.
Целесообразность выбора вариантности использования сэндвич-панелей в защитном экране определяется условиями его эксплуатации и задаваемыми параметрами шумоизолирования и шумопоглощения.
На защитный экран, собранный с использованием шумоизолирующих и шумопоглощающих акустических сэндвич-панелей по любому из заявляемых вариантов, со стороны, напряженной по движению различного рода транспортной магистрали, действует набегающий шумовой поток, взаимодействующий с покрытием магистрали. Набегающий шумовой поток имеет различные спектр, амплитуду и частоту колебаний в диапазоне от 100 до 8000 Гц. Часть шумового потока отражается и рассеивается, другая часть шумового потока уплотняется на наклонных пластинах 16 (и, соответственно, 116 или 216) объемного блока 12 (и, соответственно, 112 или 212), скользит по ним и попадает в щелевые ловушки 17 (и, соответственно, 117 или 217), частично гасится в них, теряет энергию, проходя плоскую акустическую мембрану 15 (и, соответственно, 115 или 215), попадает в резонирующие полости 19 (и, соответственно, 119 или 219) вертикально ориентированных разделителей шумового потока 14 (и, соответственно, 114 или 214), частично теряет в них также свою энергию. Далее в вариантах изобретения I-II шумовой поток проходит через слои 13 (и, соответственно, 113) плоского модуля 11 (и, соответственно, 111), энергия шумового потока поглощается.
Шумовой поток в любом из заявляемых вариантов изобретения окончательно гасится и поглощается при взаимодействии с передней панелью 2 (и, соответственно, 102 или 202), шумопоглощающим блоком 9 (и, соответственно, 109 или 209) и задней панелью 3 (и, соответственно, 103 или 203) металлической оболочки 6 (и, соответственно, 106 или 206).
Соотношение суммарного объема щелевых ловушек шумового потока, объема плоской акустической мембраны, объема и формы резонирующих полостей, объема плоского модуля и шумопоглощающего блока установлены по экспериментальным данным, полученным на лабораторных установках с использованием натурных фрагментов защитных экранов.
Все спектры частот шумовых потоков эффективно поглощаются и отражаются сэндвич-панелью по варианту I-III, что стало возможным благодаря тому, что шумопоглощающий блок зафиксирован относительно внутренних поверхностей передней и задней панелей металлической оболочки, а также эффективному использованию плоской акустической мембраны из, по меньшей мере, одного слоя звукопроницаемого материала, например из термоскрепленного нетканого материала на основе полиэфирных, полипропиленовых или полиэтиленового волокон, или их смеси, либо из полимерной или стеклянной, или базальтовой или их смеси ткани, а также плоского модуля из, по варианту I, по меньшей мере, одного слоя волокнистого материала, имеющего поверхностную плотность в пределах от 100 до 1500 г/м2, например, иглопробивного нетканого материала на основе полиэфирных, или полипропиленовых, или полиэтиленовых волокон, или из их смеси и, по варианту II, из одного слоя картона или войлока, из базальтового, или стеклянного, или полимерного волокна, или из их смеси.
Конструкция акустической шумоотражающей и шумопоглощающей сэндвич-панели по каждому из вариантов I-III выполнена с повышением поверхностной плотности в направленении от наклонных пластин к задней панели металлической оболочки.
Разделители шумового потока позволяют расчленить поток по его фронту набегания на плоскую акустическую мембрану, локализовать его по резонирующим полостям, что также способствует потере потоком энергии.
Могут быть различные варианты выполнения защитных экранов с использованием акустической шумоотражающей и шумопоглощающей сэндвич-панели по вариантам I-III в отношении формы, размеров и расположения отдельных элементов и их комбинации. Иллюстрирующий материал представляет собой только предпочтительность форм его осуществления и возможность реализации обнаруженных и других свойств, описанных в материалах заявки на основе новой версии и принципов подавления шумовых потоков, ранее не использовавшихся, если все это не выходит за пределы объема технического решения (варианты), изложенного в пунктах формулы.
Сведения, подтверждающие возможность получения технического результата при осуществлении заявляемой группы изобретений
Шумоизолирующая и шумопоглощающая акустическая сэндвич-панель 1 (по варианту I) состоит из передней 2 и задней 3 панелей, выполненных из оцинкованной стали с толщиной 0,55 мм, между которыми размещен шумопоглощающий блок 8, выполненный из минераловатной плиты плотностью 120 кг/м, зафиксированный относительно внутренних поверхностей панелей 2, 3 посредством клея фирмы «Nestaan» (Голландия), образовывая тем самым с последними монолитный блок 9. Сверху и снизу монолитный блок 9 частично перекрывается выполненными заодно с панелями 2, 3 отбортовками 4 и 5, между которыми уложены вибродемпфирующие прокладки 10 из резиновой ленты толщиной 4 мм. С наружной стороны передней панели 2 монолитного блока 9 последовательно смонтированы плоский 11 и объемный 12 модули. Плоский модуль 11 выполнен из одного слоя 13 полотна полиэфирного иглопробивного марки ПМ 1-2 с толщиной =5 м и с поверхностной плотностью 400 г/м2 (ТУ РБ 700117487.172-2001) и зафиксирован на наружной стороне панели 2 оцинкованными саморезами диаметром 4,2 мм и клеем на основе эпоксидной смолы К-153. Объемный модуль 12 включает два вертикально ориентированных разделителя шумового потока 14, выполненных из линейных отрезков профиля стеклопластикового пултрузионного марки АПр. Пр. 30/20/2,5 (ТУ 2296-003-57957887-2004), имеющего трубчато-прямоугольную форму сечения размером 30×20 мм с высотой 2,5 мм, акустическую мембрану 15, выполненную из одного слоя нетканого материала из термоскрепленных полипропиленовых волокон (марки «Typar», модель SF32) с поверхностной плотностью 110 кг/м2 и толщиной 5 мм, и наклонные пластины 16 с козырьками 17 высотой h=40 мм, смонтированные горизонтально и параллельно друг другу с образованием щелевых ловушек 18, имеющих зазор между соседними пластинами 16, равный 3 мм, и выполненных из профиля стеклопластикового пултрузионного марки АПр. Z 85/40 (ТУ 2296-003-57957887-2004). Акустическая мембрана 15 и наклонные пластины 16 закреплены на разделителях шумового потока 14 оцинкованными саморезами диаметром 4,2 мм и клеем на основе эпоксидной смолы К-153. Боковые торцы 21 сэндвич-панели 1 закрыты полимерной пленкой, фиксируемой на оболочке посредством клея. На передней панели 2 сэндвич-панели 1 выполнены перфорации в виде круглых отверстий 22 диаметром 8 мм, которые равномерно размещены по плоскости передней панели 2 и занимают 40% плоскости последней.
Данная сендвич-панель обеспечивает эффективное подавление звукошумовых потоков, имеющих в активной фазе низкие частоты колебаний в диапазоне 100÷300 Гц с коэффициентом поглощения 0,55, что в 3,5 раза превышает коэффициент поглощения известных конструкций.
Шумоизолирующая и шумопоглощающая акустическая сэндвич-панель 101 (по варианту II) состоит из передней 102 и задней 103 панелей, выполненных из оцинкованной стали с толщиной 0,55 мм, между которыми размещен шумопоглощающий блок 108, выполненный из минераловатной плиты плотностью 120 кг/м, зафиксированный относительно внутренних поверхностей панелей 102, 103 посредством клея фирмы «Nestaan» (Голландия), образовывая тем самым с последними монолитный блок 109. Сверху и снизу монолитный блок 109 частично перекрывается выполненными заодно с панелями 102,103 отбортовками 104 и 105, между которыми уложены вибродемпфирующие прокладки 110 из резиновой ленты, толщиной 4 мм. С наружной стороны передней панели 102 монолитного блока 109 последовательно смонтированы плоский 111 и объемный 112 модули. Плоский модуль 111 выполнен с толщиной =8 мм из одного слоя 113 картона марки МПБ-Г, прессованного на основе базальтового супертонкого волокна со связующим, плотностью 200 кг/м3 (ТУ 21-5328981-08-93). Плоский модуль 111 зафиксирован на наружной стороне панели 102 механически оцинкованным саморезами диаметром 4,2 мм и клеем на основе эпоксидной смолы К-153. Объемный модуль 112 включает два вертикально ориентированных разделителя шумового потока 114, выполненных из линейных отрезков профиля стеклопластикового пултрузионного, марки АПр. Пр. 30/20/2,5 (ТУ 2296-003-57957887-2004), имеющего трубчато-прямоугольную форму сечения размером 30×20 мм с высотой 2, 5 мм, акустическую мембрану 115, выполненную из одного слоя нетканого материала из термоскрепленных полипропиленовых волокон (марки «Typar», модель SF32) с поверхностной плотностью 110 кг/м2 и толщиной 5 мм, и наклонные пластины 116 с козырьками 117 высотой h=40 мм, смонтированные горизонтально и параллельно друг другу с образованием щелевых ловушек 18, имеющих зазор между соседними пластинами 116, равный 3 мм, и выполненных из профиля стеклопластикового пултрузионного марки АПр. Z 85/40 (ТУ 2296-003-57957887-2004). Акустическая мембрана 115 и наклонные пластины 116 закреплены на разделителях шумового потока 114 оцинкованными саморезами диаметром 4,2 мм и клеем на основе эпоксидной смолы К-153. Боковые торцы 121 сэндвич-панели 101 закрыты полимерной пленкой, фиксируемой на оболочке посредством клея. На передней панели 102 сэндвич-панели 101 выполнены перфорации в виде круглых отверстий 122 диаметром 8 мм, которые равномерно размещены по плоскости передней панели 102 и занимают 40% плоскости последней.
Данная сэндвич-панель обеспечивает эффективное подавление звукошумовых потоков, имеющих в активной фазе низкие частоты колебаний в диапазоне 100-300 Гц с коэффициентом поглощения 0,51, что в более чем в 3 раза превышает коэффициент поглощения известных конструкций.
Кроме того, на примере реализованных на практике вариантов сендвич-панелей установлено, что время монтажа звуко- и шумопоглощающих придорожных экранов сократилось на 30-40%.
Группа изобретений соответствует условию патентоспособности «промышленная применимость», поскольку его реализация возможна при использовании существующих средств производства с применением известных технологических операций.
Источник информации
1. RU, патент №2151839, Е 01 F 8/00 (прототип).
Формула изобретения
1. Шумоизолирующая и шумопоглощающая акустическая сэндвич-панель, образованная задней и передней панелями, размещенным между ними шумопоглощающим блоком, оснащенная выполненными из профиля с резонирующей полостью разделителями шумового потока и расположенными со стороны передней панели наклонными пластинами с козырьками, смонтированными горизонтально и параллельно друг другу с образованием щелевых ловушек, отличающаяся тем, что она снабжена плоским модулем, выполненным, по меньшей мере, из одного слоя волокнистого материала, имеющего поверхностную плотность в пределах от 100 до 1500 г/м2, и плоской акустической мембраной из, по меньшей мере, одного слоя звукопроницаемого материала, имеющего поверхностную плотность в пределах от 25 до 200 г/м2, последняя совместно с разделителями шумового потока и наклонными пластинами с козырьками смонтированы в объемный модуль из, по меньшей мере, двух вертикально ориентированных разделителей шумового потока и последовательно зафиксированных на них плоской акустической мембраны и наклонных пластин с козырьками, при этом плоский и объемный модули смонтированы последовательно с наружной стороны передней панели, а шумопоглощающий блок зафиксирован относительно передней и задней панелей посредством клея и/или механически.
2. Шумоизолирующая и шумопоглощающая акустическая сэндвич-панель по п.1, отличающаяся тем, что каждый из разделителей шумового потока сформирован из или стеклопластика, или базальтопластика, или гибрида на их основе, или полимерного материала, или алюминия, или стали.
3. Шумоизолирующая и шумопоглощающая акустическая сэндвич-панель по п.1, отличающаяся тем, что каждый из разделителей шумового потока выполнен в виде линейного отрезка профиля, имеющего в сечении или трубчато-прямоугольную форму, или корытную замкнутую форму, или корытную незамкнутую с фланцами форму, при этом высота каждого из профилей выбрана в пределах =10÷70 мм.
4. Шумоизолирующая и шумопоглощающая акустическая сэндвич-панель по п.1, отличающаяся тем, что наклонные пластины с козырьками могут быть выполнены высотой h=10÷100 мм и смонтированы таким образом, что щелевые ловушки образованы посредством либо перекрытия друг друга соседними пластинами в пределах  30 мм, либо с образованием зазора между соседними пластинами в пределах  10 мм.
5. Шумоизолирующая и шумопоглощающая акустическая сэндвич-панель по п.4, отличающаяся тем, что наклонные пластины могут быть выполнены с переменной высотой.
6. Шумоизолирующая и шумопоглощающая акустическая сэндвич-панель по п.1, отличающаяся тем, что наклонные пластины с козырьками могут быть выполнены из стеклопластика, или базальтопластика, или гибридного материала на основе стекла и базальтопластика, или полимерного материала, или стали, или алюминия, или из сплавов алюминия или стали.
7. Шумоизолирующая и шумопоглощающая акустическая сэндвич-панель по п.1, отличающаяся тем, что плоский модуль может быть выполнен с толщиной =2÷20 мм, а слои материала плоского модуля могут быть зафиксированы относительно друг друга, например, механически и/или посредством клея.
8. Шумоизолирующая и шумопоглощающая акустическая сэндвич-панель по п.1, отличающаяся тем, что слои плоского модуля могут быть выполнены из иглопробивного нетканого материала на основе полиэфирных, или полипропиленовых, или полиэтиленовых волокон, или из их смеси.
9. Шумоизолирующая и шумопоглощающая акустическая сэндвич-панель по п.1, отличающаяся тем, что плоская акустическая мембрана и ее звукопроницаемые слои могут быть зафиксированы на разделителях шумового потока и относительно друг друга, механически и/или посредством клея.
10. Шумоизолирующая и шумопоглощающая акустическая сэндвич-панель по п.1, отличающаяся тем, что звукопроницаемые слои плоской акустической мембраны могут быть выполнены либо из термоскрепленного нетканого материала на основе полиэфирных, полипропиленовых или полиэтиленового волокон или их смеси, либо из полимерной, или стеклянной, или базальтовой, или их смеси ткани.
11. Шумоизолирующая и шумопоглощающая акустическая сэндвич-панель по п.1, отличающаяся тем, что шумопоглощающий блок выполнен в виде плиты или мата толщиной =40÷150 мм.
12. Шумоизолирующая и шумопоглощающая акустическая сэндвич-панель по п.1, отличающаяся тем, что задняя и передняя панель могут быть сформированы в верхней и нижней части с отбортовками, при этом верхние отбортовки сэндвич-панели сформированы с фиксирующими элементами, например, продольными выступами или углублениями, а нижние отбортовки сформированы с фиксирующими элементами – углублениями или выступами, при этом профили фиксирующих верхних и нижних отбортовок выполнены зеркально отраженными и совмещаемыми.
13. Шумоизолирующая и шумопоглощающая акустическая сэндвич-панель по п.1, отличающаяся тем, что может быть снабжена вибродемпфирующими прокладками, выполненными из резины, или пенополиэтилена, или пластмассы и помещаемыми между верхними и/или нижними отбортовками металлической оболочки.
14. Шумоизолирующая и шумопоглощающая акустическая сэндвич-панель по п.1, отличающаяся тем, что передняя и задняя панели могут быть выполнены из сплава стали или сплава алюминия.
15. Шумоизолирующая и шумопоглощающая акустическая сэндвич-панель по п.1, отличающаяся тем, что боковые торцы сэндвич-панели могут быть закрыты либо полимерной пленкой, фиксируемой посредством клея и/или механически, либо металлическими или полимерными крышками, фиксируемыми механически.
16. Шумоизолирующая и шумопоглощающая акустическая сэндвич-панель по п.1, отличающаяся тем, что передняя панель может быть выполнена с любой формой перфорирующих отверстий и равномерным размещением их по плоскости, при этом процент перфорации по отношению к плоскости передней панели может составлять от 10 до 70%.
17. Шумоизолирующая и шумопоглощающая акустическая сэндвич-панель по п.1, отличающаяся тем, что задняя панель может быть выполнена с ребрами жесткости.
18. Шумоизолирующая и шумопоглощающая акустическая сендвич-панель, образованная задней и передней панелями, размещенным между ними шумопоглощающим блоком, оснащенная выполненными из профиля с резонирующей полостью разделителями шумового потока и расположенными со стороны передней панели наклонными пластинами с козырьками, смонтированными горизонтально и параллельно друг другу с образованием щелевых ловушек, отличающаяся тем, что она снабжена плоским модулем, выполненным, по меньшей мере, из одного слоя картона или войлока из базальтового, или стеклянного, или полимерного волокна, или из их смеси, и плоской акустической мембраной из, по меньшей мере, одного слоя звукопроницаемого материала, имеющего поверхностную плотность в пределах от 25 до 200 г/м2, последняя совместно с разделителями шумового потока и наклонными пластинами с козырьками смонтирована в объемный модуль из, по меньшей мере, двух вертикально ориентированных разделителей шумового потока и последовательно зафиксированных на них плоской акустической мембраны и наклонных пластин с козырьками, при этом плоский и объемный модули смонтированы последовательно с наружной стороны передней панели, а шумопоглощающий блок зафиксирован относительно передней и задней панелей посредством клея и/или механически.
19. Шумоизолирующая и шумопоглощающая акустическая сэндвич-панель по п.18, отличающаяся тем, что каждый из разделителей шумового потока сформирован из или стеклопластика, или базальтопластика, или гибрида на их основе, или полимерного материала, или алюминия, или стали.
20. Шумоизолирующая и шумопоглощающая акустическая сэндвич-панель по п.18, отличающаяся тем, что каждый из разделителей шумового потока выполнен в виде линейного отрезка профиля, имеющего в сечении или трубчато-прямоугольную форму, или корытную замкнутую форму, или корытную незамкнутую с фланцами форму, при этом высота каждого из профилей выбрана в пределах =10÷70 мм.
21. Шумоизолирующая и шумопоглощающая акустическая сэндвич-панель по п.18, отличающаяся тем, что наклонные пластины с козырьками могут быть выполнены высотой h=10÷100 мм и смонтированы таким образом, что щелевые ловушки образованны посредством либо перекрытия друг друга соседними пластинами в пределах  30 мм, либо с образованием зазора между соседними пластинами в пределах 
22. Шумоизолирующая и шумопоглощающая акустическая сэндвич-панель по п.21, отличающаяся тем, что наклонные пластины могут быть выполнены с переменной высотой.
23. Шумоизолирующая и шумопоглощающая акустическая сэндвич-панель по п.18, отличающаяся тем, что наклонные пластины с козырьками могут быть выполнены из стеклопластика, или базальтопластика, или гибридного материала на основе стекло- и базальтопластика, или полимерного материала, или стали, или алюминия, или из сплавов алюминия или стали.
24. Шумоизолирующая и шумопоглощающая акустическая сэндвич-панель по п.18, отличающаяся тем, что плоский модуль может быть выполнен с толщиной =2÷20 мм, а слои материала плоского модуля могут быть зафиксированы относительно друг друга, например, механически и/или посредством клея.
25. Шумоизолирующая и шумопоглощающая акустическая сэндвич-панель по п.18, отличающаяся тем, что плоская акустическая мембрана и ее звукопроницаемые слои могут быть зафиксированы на разделителях шумового потока и относительно друг друга, механически и/или посредством клея.
26. Шумоизолирующая и шумопоглощающая акустическая сэндвич-панель по п.18, отличающаяся тем, что звукопроницаемые слои плоской акустической мембраны могут быть выполнены либо из термоскрепленного нетканого материала на основе полиэфирных, полипропиленовых, или полиэтиленового волокон, или их смеси, либо из полимерной, или стеклянной, или базальтовой, или их смеси ткани.
27. Шумоизолирующая и шумопоглощающая акустическая сэндвич-панель по п.18, отличающаяся тем, что шумопоглощающий блок выполнен в виде плиты или мата толщиной =40÷150 мм.
28. Шумоизолирующая и шумопоглощающая акустическая сэндвич-панель по п.18, отличающаяся тем, что задняя и передняя панель сформированы в верхней и нижней части с отбортовками, при этом верхние отбортовки сэндвич-панели сформированы с фиксирующими элементами, продольными выступами или углублениями, а нижние отбортовки сформированы с фиксирующими элементами, например углублениями или выступами, при этом профили фиксирующих верхних и нижних отбортовок выполнены зеркально отраженными и совмещаемыми.
29. Шумоизолирующая и шумопоглощающая акустическая сэндвич-панель по п.18, отличающаяся тем, что может быть снабжена вибродемпфирующими прокладками, выполненными из резины, или пенополиэтилена, или пластмассы и помещаемыми между верхними и/или нижними отбортовками металлической оболочки.
30. Шумоизолирующая и шумопоглощающая акустическая сэндвич-панель по п.18, отличающаяся тем, что передняя и задняя панели могут быть выполнены из сплава стали или сплава алюминия.
31. Шумоизолирующая и шумопоглощающая акустическая сэндвич-панель по п.18, отличающаяся тем, что боковые торцы сэндвич-панели могут быть закрыты либо полимерной пленкой, фиксируемой посредством клея и/или механически, либо металлическими или полимерными крышками, фиксируемыми механически.
32. Шумоизолирующая и шумопоглощающая акустическая сэндвич-панель по п.18, отличающаяся тем, что передняя панель может быть выполнена с любой формой перфорирующих отверстий и равномерным размещением их по плоскости, при этом процент перфорации по отношению к плоскости передней панели может составлять от 10 до 70%.
33. Шумоизолирующая и шумопоглощающая акустическая сэндвич-панель по п.18, отличающаяся тем, что задняя панель может быть выполнена с ребрами жесткости.
34. Шумоизолирующая и шумопоглощающая акустическая сендвич-панель, образованная задней и передней панелями, размещенным между ними шумопоглощающим блоком, оснащенная выполненными из профиля с резонирующей полостью разделителями шумового потока и расположенными со стороны передней панели наклонными пластинами с козырьками, смонтированными горизонтально и параллельно друг другу с образованием щелевых ловушек, отличающаяся тем, что она снабжена плоской акустической мембраной из, по меньшей мере, одного слоя звукопроницаемого материала, имеющего поверхностную плотность в пределах от 25 до 200 г/м2, последняя совместно с разделителями шумового потока и наклонными пластинами с козырьками смонтированы в объемный модуль из, по меньшей мере, двух вертикально ориентированных разделителей шумового потока и последовательно зафиксированных на них плоской акустической мембраны и наклонных пластин с козырьками, при этом плоский и объемный модули смонтированы последовательно с наружной стороны передней панели, а шумопоглощающий блок зафиксирован относительно передней и задней панелей посредством клея и/или механически.
35. Шумоизолирующая и шумопоглощающая акустическая сэндвич-панель по п.34, отличающаяся тем, что каждый из разделителей шумового потока сформирован из стеклопластика, или базальтопластика, или гибрида на их основе, или полимерного материала, или алюминия, или стали.
36. Шумоизолирующая и шумопоглощающая акустическая сэндвич-панель по п.34, отличающаяся тем, что каждый из разделителей шумового потока выполнен в виде линейного отрезка профиля, имеющего в сечении или трубчато-прямоугольную форму, или корытную замкнутую форму, или корытную незамкнутую с фланцами форму, при этом высота каждого из профилей выбрана в пределах =10÷70 мм.
37. Шумоизолирующая и шумопоглощающая акустическая сэндвич-панель по п.34, отличающаяся тем, что наклонные пластины с козырьками могут быть выполнены высотой h=10÷100 мм и смонтированы таким образом, что щелевые ловушки образованы посредством либо перекрытия друг друга соседними пластинами в пределах  30 мм, либо с образованием зазора между соседними пластинами в пределах 
38. Шумоизолирующая и шумопоглощающая акустическая сэндвич-панель по п.37, отличающаяся тем, что наклонные пластины могут быть выполнены с переменной высотой.
39. Шумоизолирующая и шумопоглощающая акустическая сэндвич-панель по п.34, отличающаяся тем, что наклонные пластины с козырьками могут быть выполнены из стеклопластика, или базальтопластика, или гибридного материала на основе стекло- и базальтопластика, или полимерного материала, или стали, или алюминия, или из сплавов алюминия, или стали.
40. Шумоизолирующая и шумопоглощающая акустическая сэндвич-панель по п.34, отличающаяся тем, что плоская акустическая мембрана и ее звукопроницаемые слои могут быть зафиксированы на разделителях шумового потока и относительно друг друга, механически и/или посредством клея.
41. Шумоизолирующая и шумопоглощающая акустическая сэндвич-панель по п.34, отличающаяся тем, что звукопроницаемые слои плоской акустической мембраны могут быть выполнены либо из термоскрепленного нетканого материала на основе полиэфирных, полипропиленовых, или полиэтиленового волокон, или их смеси, либо из полимерной или стеклянной, или базальтовой, или их смеси ткани.
42. Шумоизолирующая и шумопоглощающая акустическая сэндвич-панель по п.34, отличающаяся тем, что шумопоглощающий блок выполнен в виде плиты или мата толщиной =40÷150 мм.
43. Шумоизолирующая и шумопоглощающая акустическая сэндвич-панель по п.34, отличающаяся тем, что задняя и передняя панель сформированы в верхней и нижней части с отбортовками, при этом верхние отбортовки сэндвич-панели сформированы с фиксирующими элементами – продольными выступами или углублениями, а нижние отбортовки сформированы с фиксирующими элементами, углублениями или выступами, при этом профили фиксирующих верхних и нижних отбортовок выполнены зеркально отраженными и совмещаемыми.
44. Шумоизолирующая и шумопоглощающая акустическая сэндвич-панель по п.34, отличающаяся тем, что может быть снабжена вибродемпфирующими прокладками, выполненными из резины, или пенополиэтилена, или пластмассы и помещаемыми между верхними и/или нижними отбортовками металлической оболочки.
45. Шумоизолирующая и шумопоглощающая акустическая сэндвич-панель по п.34, отличающаяся тем, что передняя и задняя панели могут быть выполнены из сплава стали или сплава алюминия.
46. Шумоизолирующая и шумопоглощающая акустическая сэндвич-панель по п.34, отличающаяся тем, что боковые торцы сэндвич-панели могут быть закрыты либо полимерной пленкой, фиксируемой посредством клея и/или механически, либо металлическими или полимерными крышками, фиксируемыми механически.
47. Шумоизолирующая и шумопоглощающая акустическая сэндвич-панель по п.34, отличающаяся тем, что передняя панель может быть выполнена с любой формой перфорирующих отверстий и равномерным размещением их по плоскости, при этом процент перфорации по отношению к плоскости передней панели может составлять от 10 до 70%.
48. Шумоизолирующая и шумопоглощающая акустическая сэндвич-панель по п.34, отличающаяся тем, что задняя панель может быть выполнена с ребрами жесткости.
РИСУНКИ
|
|