|
|
(21), (22) Заявка: 2004116934/03, 04.06.2004
(24) Дата начала отсчета срока действия патента:
04.06.2004
(45) Опубликовано: 27.10.2005
(56) Список документов, цитированных в отчете о поиске:
SU 322460 A1, 01.01.1971. SU 773201 A1, 23.10.1980. SU 533703 A1, 30.10.1976. SU 163962 A1, 01.01.1964. SU 916661 A, 30.03.1982. DE 2713613 A, 06.10.1977.
Адрес для переписки:
680021, г.Хабаровск, ул. Серышева, 47, ГОУ ВПО ДВГУПС МПС России, зав. отделом промышленной собственности Н.Ф. Щербаковой
|
(72) Автор(ы):
Супрун П.П. (RU)
(73) Патентообладатель(и):
ГОУ ВПО “Дальневосточный государственный университет путей сообщения МПС России” (ДВГУПС) (RU)
|
(54) УСТРОЙСТВО ДЛЯ СРЕЗКИ ГОЛОВ СВАЙ
(57) Реферат:
Изобретение относится к строительной технике, в частности к средствам механизации свайных работ по обработке оголовков железобетонных свай. Устройство для срезки голов свай содержит два шарнирно сочлененных рычага с закрепленными на них режущими ножами, рычаги расположены сбоку сваи, а режущие ножи закреплены ниже шарнирного сочленения рычагов на рубящих кромках, являющихся концами коротких плеч рычагов, и дополнительно снабжено стойками, служащими основанием устройства, направляющей трубой, связанной со стойками гибкими связями, шаботом, установленным в направляющей трубе и связанным с рычагами с помощью поводков, образующих с рычагами силовой параллелограмм, ударной массой, установленной в направляющей трубе и связанной с шаботом гибкой связью, и электромагнитом, соединенным с грузовым крюком башенного крана и направляющей трубой гибкими связями. Изобретение используется в качестве навесного оборудования на башенный кран. Повышается производительность устройства за счет сокращения времени на перенос его на очередную позицию и за счет срезки голов сваи за один прием. 2 ил. 
Изобретение относится к строительной технике, в частности к средствам механизации свайных работ по обработке оголовков железобетонных свай.
По окончании погружения свай для устройства ростверка верхние торцы свай требуется выровнять под заданную отметку, т.е. убрать (срубить) лишние участки (оголовки).
Известные устройства для срезки голов свай можно разделить на две группы – устройства разборного типа, перемещаемые по частям с одной позиции на очередную вручную, и устройства, навешиваемые на самоходные машины (стреловой кран или экскаватор типа “Беларусь”).
Известно устройство для отламывания оголовков свай (а.с. СССР №916661, Е 02 D 9/04), содержащее подвижный и неподвижный рычаги, одни концы которых соединены шарнирно, а другие – посредством силового цилиндра и поперечных балок, прикрепленных жестко к рычагам, причем в пазы свободных концов неподвижного рычага заводится съемный шкворень, на уровне которого при работе силового цилиндра происходит излом сваи.
Недостаток устройства – перенос рабочего оборудования по свайному полю вручную и значительные затраты времени на установку устройства в исходное для работы положение.
Наиболее близким по технической сущности к заявляемому решению является устройство для срезки голов свай (а.с. СССР №322460, Е 02 D 9/00), навешиваемое на крюк грузоподъемной машины (стреловой кран грузоподъемностью порядка 16 тс), содержащее раму, выполненную рычагами, шарнирно соединенными между собой жесткими тягами, на одном конце которых смонтированы блоки с пропущенными через них посредством полиспаста гибкими связями, взаимосвязанными с крюком. Рычаги соединены между собой посредством пружин и выполнены с гнездами, в которых укреплены режущие ножи, выполненные в виде клиновых пластин.
Устройство работает следующим образом, при подъеме грузового крюка крана полиспаст сводит верхние концы рычагов и устройство срабатывает как “кусачки”, отделяя своими ножами голову сваи.
Недостатками известного устройства являются высокая стоимость и дефицитность 16-ти тонного стрелового крана, а также сложность работы на свайном поле в сырую погоду по условиям плохой проходимости крана. Кроме того, при очень длинных оголовках на одной и той же свае приходится операцию по срубке делать в несколько приемов.
Принимая во внимание тот факт, что обычно к началу работ нулевого цикла на строительной площадке в качестве основной грузоподъемной машины устанавливается башенный кран, рабочая зона которого в обязательном порядке перекрывает все свайное поле, целесообразно использовать башенный кран на свайных работах в качестве базовой машины для срубки оголовков железобетонных свай.
Известное же устройство требует крана большой грузоподъемности (16-ти тонного стрелового крана) поскольку оно работает по статическому принципу, что требует больших усилий, направленных на срезание голов свай.
Поэтому для условий башенного крана, грузоподъемность которого (применительно к наиболее типичной ситуации) находится в пределах от 3 до 5 тс, это устройство не работоспособно (проверено опытом на стройках Главдальстроя).
Ставится задача создать устройство для срезки голов свай, которое могло бы использоваться в качестве навесного оборудования на башенный кран и повысить производительность устройства за счет сокращения времени на перенос его на очередную позицию и за счет срезки голов сваи за один прием.
Для решения поставленной задачи в известном устройстве для срезки голов свай, содержащем два шарнирно сочлененных рычага с закрепленными на них режущими ножами, рычаги расположены сбоку сваи, а ножи закреплены ниже шарнирного сочленения рычагов на рубящих кромках, являющихся концами коротких плеч рычагов, и дополнительно введены стойки, служащие основанием устройства, направляющая труба, связанная со стойками гибкими связями, шабот, установленный в направляющей трубе и связанный с рычагами с помощью поводков, образующих с рычагами силовой параллелограмм, ударная масса, установленная в направляющей трубе и связанная с шаботом гибкой связью, и электромагнит, связанный с грузовым крюком башенного крана и направляющей трубой гибкими связями.
Расположением режущих ножей ниже шарнирного сочленения рычагов достигается возможность срубки свай на сколь угодно малой высоте от дневной поверхности.
Расположение рычагов сбоку сваи позволяет за один прием срубить оголовок любой длины.
Выполнением рабочего органа по схеме силового параллелограмма, срабатывающего при воздействии на него свободно падающей ударной массы, достигается гарантия разрыва арматуры при относительно малой ударной массе, что позволяет использовать для подъема ударной массы и всего устройства электромагнит, сочлененный с крюком крана гибкой связью.
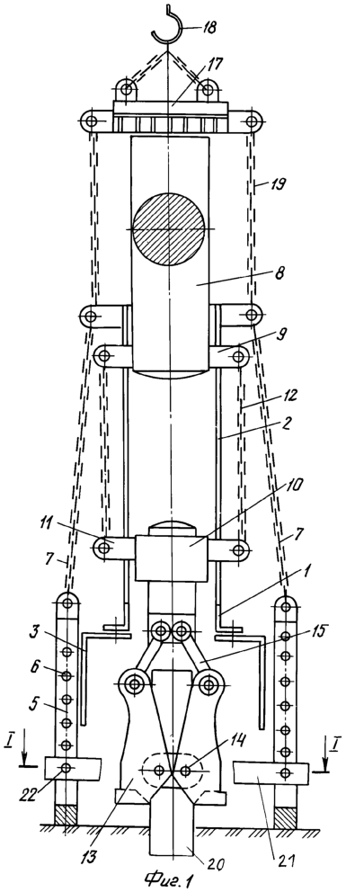
На фиг.1 показана схема устройства для срубки оголовков железобетонных свай, на фиг 2 – сечение I-I на фиг.1.
Устройство включает направляющую трубу 1 с двумя вертикальными щелями 2, жестко сочлененную с колпаком 3, опорную тумбу 4 с двумя стойками 5, на которых с заданным шагом устроены отверстия 6, которая с помощью двух гибких связей 7 сочленена с верхней частью направляющей трубы 1; ударную массу 8, установленную в направляющей трубе 1 с возможностью свободного перемещения вдоль последней и снабженную двумя проушинами 9, которыми ударная масса 8 заведена в щели направляющей трубы 2, шабот 10, установленный в направляющей трубе 1 под ударной массой 8 и который своими двумя проушинами 11 заведен в щели 2 направляющей трубы 1, причем ударная масса 8 и шабот 10 с помощью проушин 9 и 11 сочленены двумя гибкими связями 12; рычаги 13, образующие с помощью осей 14 рубящий рабочий орган челюстного типа, верхние концы рычагов с помощью поводков 15 шарнирно сочленены с шаботом 10, а нижние концы снабжены режущими ножами 16, электромагнит 17, подвешенный на грузовой крюк 18 башенного крана (не показан), который соединен с направляющей трубой 1 с помощью гибких связей 19.
Срубка голов железобетонных свай осуществляется следующим образом.
Устройство, будучи подвешено на грузовом крюке башенного крана, приставляется к обрабатываемой свае 20 таким образом, чтобы режущие ножи 16 (фиг.2) полностью перекрывали длины противоположных сторон поперечного сечения сваи, после чего устройство выставляется на отметку срубки и фиксируется в этом положении с помощью планки 21, которая своей средней частью наживляется на концы осей 14 рычагов 13, а своими концами с помощью пальцев 22 фиксируется на стойках 5.
При отключении электромагнита 17 ударная масса 8 в свободном падении соударяется с шаботом 10, который, перемещаясь, воздействует через поводки 15 на рычаги 13, и последние своими режущими ножами 16 разрушают бетон на заданной отметке с разрывом арматуры.
Планка 21 убирается, и с помощью электромагнита 17 ударная масса 8 вместе с направляющей трубой 1 и тумбой 4 краном поднимаются, и устройство переустанавливается на очередную позицию.
Формула изобретения
Устройство для срезки голов свай, содержащее два шарнирно сочлененных рычага с закрепленными на них режущими ножами, отличающееся тем, что рычаги расположены сбоку сваи, а режущие ножи закреплены ниже шарнирного сочленения рычагов на рубящих кромках, являющихся концами коротких плеч рычагов, устройство дополнительно снабжено стойками, служащими основанием устройства, направляющей трубой, связанной со стойками гибкими связями, шаботом, установленным в направляющей трубе и связанным с рычагами с помощью поводков, образующих с рычагами силовой параллелограмм, ударной массой, установленной в направляющей трубе и связанной с шаботом гибкой связью, и электромагнитом, соединенным с грузовым крюком башенного крана и направляющей трубой гибкими связями.
РИСУНКИ
|
|