|
(21), (22) Заявка: 2004116936/12, 04.06.2004
(24) Дата начала отсчета срока действия патента:
04.06.2004
(45) Опубликовано: 27.10.2005
(56) Список документов, цитированных в отчете о поиске:
ЛИКУТЬЕВА З.А. Прядильно-крутильные машины. М.: Легкая и пищевая промышленность, 1984, с.126-127. SU 456058 А, 25.04.1975. SU 825713 А, 05.05.1981. DE 3830852 A1, 15.03.1990. CH 471911 A, 13.06.1969.
Адрес для переписки:
156014, г.Кострома, ул. Димитрова, 14а, кв.46, Л.А. Кузнецову
|
(72) Автор(ы):
Кузнецов Л.А. (RU)
(73) Патентообладатель(и):
Кузнецов Леонид Александрович (RU)
|
(54) ПРИСПОСОБЛЕНИЕ ДЛЯ РАЗМЕЩЕНИЯ ПОВОРОТНОГО РЫЧАГА НАЖИМНОГО ВАЛИКА ПРЯЖЕВЫПУСКА
(57) Реферат:
Приспособление может быть использовано на бескольцевом прядильном оборудовании, например прядильных аппаратах, и позволяет повысить их эксплуатационные качества и улучшить условия эксплуатации. Приспособление содержит установленную между стойками и несущую поворотный рычаг с вращающимся нажимным валиком ось и спиральную пружину. Ось неподвижно закреплена между плоскими стойками, прикрепленными болтовыми выступами к вертикально размещенному базовому основанию, а спиральная пружина смонтирована на оси и ее концы зафиксированы на поворотном рычаге и на одной из стоек. Ось выполнена ступенчатой и имеет базовые концевые участки, оканчивающиеся резьбовыми частями. Плоские стойки имеют прямоугольные участки, переходящие в болтовые выступы. Размещенная со стороны конца пружины стойка имеет цилиндрическое отверстие для размещения прямолинейного конца пружины. В отверстии ступицы поворотного рычага на ее внутренней поверхности со стороны расположения пружины выполнено цилиндрическое углубление для размещения прямолинейного конца пружины. 5 з.п. ф-лы, 7 ил. 
Изобретение касается приспособления для размещения поворотного рычага нажимного валика пряжевыпуска, которое может быть использовано на бескольцевом прядильном оборудовании, например прядильных аппаратах.
В прядильном аппарате по всей его длине смонтирована отжимная линия рифцилиндров, содержащая для каждого пряжевыпуска рифленую тумбочку и прижатый к ней вращающийся нажимной валик, который установлен на поворотном рычаге, смонтированном на проходящей по всей длине прядильного аппарата общей неподвижной оси (SU 456058 А, 25.04.1975).
Недостаток известного приспособления состоит в сложности компактного и целесообразного расположения узлов аппарата и в необходимости наличия отводящих звездочек в цепных передачах каждого выпуска отжимной линии рифцилиндров.
Известно приспособление для размещения поворотного рычага нажимного валика пряжевыпуска, содержащее установленную между стойками и несущую поворотный рычаг с вращающимся нажимным валиком ось и спиральную пружину (ЛИКУТЬЕВА З.А. Прядильно-крутильные машины, Москва, Легкая и пищевая промышленность, 1984 г., с.126-127).
Задачей изобретения является создание приспособления для размещения поворотного рычага нажимного валика пряжевыпуска, обеспечивающего получение технического результата, состоящего в повышении эксплуатационных качеств прядильных аппаратов и улучшении условий их эксплуатации.
Этот технический результат в приспособлении для размещения поворотного рычага нажимного валика пряжевыпуска, содержащем установленную между стойками и несущую поворотный рычаг с вращающимся нажимным валиком ось и спиральную пружину, достигается тем, что ось неподвижно закреплена между плоскими стойками, прикрепленными болтовыми выступами к вертикально размещенному базовому основанию, а спиральная пружина смонтирована на оси и ее концы зафиксированы на поворотном рычаге и на одной из стоек.
Плоские стойки имеют прямоугольные участки, переходящие в болтовые выступы.
Ось выполнена ступенчатой и имеет базовые концевые участки, оканчивающиеся резьбовыми частями.
Плоские стойки имеют базовые углубления, соответствующие профилю базовых концевых участков неподвижной оси, и отверстия для размещения ее резьбовых частей.
Размещенная со стороны конца пружины стойка имеет цилиндрическое отверстие для размещения прямолинейного конца пружины.
В отверстии ступицы поворотного рычага на ее внутренней поверхности со стороны расположения пружины выполнено цилиндрическое углубление для размещения прямолинейного конца пружины.
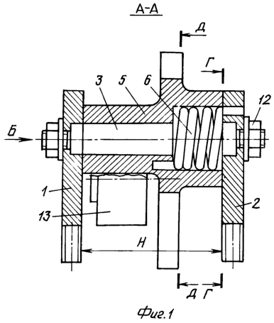
Приспособление поясняется чертежами, где на фиг.1 изображено сечение А-А приспособления на фиг.2; на фиг.2 – вид Б на фиг.1; на фиг.3 – индивидуальная неподвижная ось поворотного рычага; на фиг.4 – вид В на фиг.3; на фиг.5 – спиральная пружина; на фиг.6 – сечение Г-Г на фиг.1; на фиг.7 – сечение Д-Д на фиг.1.
Приспособление содержит плоские стойки 1 и 2, имеющие болтовые выступы 16 и 17, являющиеся продолжением прямоугольников, которыми стойки 1 и 2 вставляются в соответствующие отверстия базового вертикально установленного основания (не показано).
За счет наличия резьбовых участков у болтовых выступов 16 и 17 стойки 1 и 2 гайками (не показаны) прикреплены к вертикальному базовому основанию.
Между стойками 1 и 2 размещена ступенчатая ось 3. На имеющем меньший диаметр d1 участке оси 3 ступицей 5 установлен поворотный рычаг 4 с вращающимся нажимным валиком 13, размещенным на ступенчатой оси 14 (фиг.1 и 2).
На имеющем больший диаметр d2 участке оси 3 в соответствующем по диаметру цилиндрическом участке ступицы 5 поворотного рычага 4 смонтирована пружина, прямолинейные концы которой зафиксированы в цилиндрическом углублении 7 в ступице 5 и в отверстии 8 стойки 2 (фиг.1, 6 и 7).
Концевые части 9 и 10 оси 3 выполнены в виде прямоугольников овальной формы, переходящих в торцах в резьбовые части 18 и 19 (фиг.3, 4 и 6).
Крепление и конструкция размещенного на ступенчатой оси 14 вращающегося нажимного валика 13 в приспособлении не рассматриваются.
Плоские стойки 1 и 2 имеют базовые углубления, соответствующие форме и размеру базовых концевых частей 9 и 10 оси 3 и исключающие ее вращение (фиг.1 и 6).
При сборке приспособления в ступицу 5 поворотного рычага 4 участком с диаметром d1 вставляется ось 3. На участок оси 3, имеющий диаметр d2 и в соответствующее по диаметру отверстие ступицы 5 вставляется спиральная пружина 6, конец которой размещается в цилиндрическом углублении 7 ступицы 5 поворотного рычага 4 (фиг.1, 2 и 7).
На концевую часть 10 оси 3 устанавливается стойка 1 (фиг.1 и 3), а на концевую часть 9 устанавливается стойка 2 с одновременным размещением в ее отверстии 8 другого конца спиральной пружины 6 (фиг.6). Вслед за этим на резьбовые части 18 и 19 оси 3 навертываются соответствующие гайки 11 и 12 (фиг.1-3).
Оптимальное сжатие стоек 1 и 2 на оси 3, обеспечивающее свободные безлюфтовые вращение и продольное перемещение, достигается оптимальными значениями диаметров d1 оси 3 и ступицы 5 поворотного рычага 4 и оптимальными значениями размера С оси 3 (фиг.3) и размера Н (фиг.1), где С несколько больше Н.
Необходимый прижим нажимного валика 13 к рифленой тумбочке 15 отжимной пары рифцилиндров достигается за счет упругости работающей на скручивание спиральной пружины, полученной при допустимом раскручивании пружины для достижения заданного прижима нажимного валика к рифленой тумбочке.
В процессе работы рифцилиндров пряжевыпуска приспособление обеспечивает постоянное прижатие нажимного валика к рифленой тумбочке. При необходимости отвод валика от рифленой тумбочки осуществляется вручную путем некоторого приподнятия и незначительного поворота вверх рычага.
Смазывание приспособления осуществляется при сборке и техосмотрах.
Формула изобретения
1. Приспособление для размещения поворотного рычага нажимного валика пряжевыпуска, содержащее установленную между стойками и несущую поворотный рычаг с вращающимся нажимным валиком ось и спиральную пружину, отличающееся тем, что ось неподвижно закреплена между плоскими стойками, прикрепленными болтовыми выступами к вертикально размещенному базовому основанию, а спиральная пружина смонтирована на оси и ее концы зафиксированы на поворотном рычаге и на одной из стоек.
2. Приспособление по п.1, отличающееся тем, что плоские стойки имеют прямоугольные участки, переходящие в болтовые выступы.
3. Приспособление по п.1, отличающееся тем, что ось выполнена ступенчатой и имеет базовые концевые участки, оканчивающиеся резьбовыми частями.
4. Приспособление по п.2, отличающееся тем, что плоские стойки имеют базовые углубления, соответствующие профилю базовых концевых участков неподвижной оси, и отверстия для размещения ее резьбовых частей.
5. Приспособление по п.1, отличающееся тем, что размещенная со стороны конца пружины стойка имеет цилиндрическое отверстие для размещения прямолинейного конца пружины.
6. Приспособление по п.1, отличающееся тем, что в отверстии ступицы поворотного рычага на ее внутренней поверхности со стороны расположения пружины выполнено цилиндрическое углубление для размещения прямолинейного конца пружины.
РИСУНКИ
|