|
(21), (22) Заявка: 2003124402/06, 04.08.2003
(24) Дата начала отсчета срока действия патента:
04.08.2003
(43) Дата публикации заявки: 20.02.2005
(45) Опубликовано: 10.10.2005
(56) Список документов, цитированных в отчете о поиске:
СКУБАЧЕВСКИЙ Г.С. Авиационные газотурбинные двигатели. М.: Машиностроение, 1965, с.129-130, рис.5.52. SU 534573 A1, 05.11.1976. SU 1321838 A1, 07.07.1987. SU 1265381 A1, 23.10.1986. SU 193839 A1, 01.01.1967. СН 259566 А, 16.06.1949. JP 58-133402 А, 09.08.1983.
Адрес для переписки:
420111, г.Казань, ул. К. Маркса, 10, КГТУ им. А.Н. Туполева, отдел интеллектуальной собственности и информационного обслуживания
|
(72) Автор(ы):
Агачев Р.С. (RU), Сыченков В.А. (RU), Малишевская Н.А. (RU), Гортышов Ю.Ф. (RU), Валиев Ф.М. (RU)
(73) Патентообладатель(и):
Казанский государственный технический университет им. А.Н. Туполева (КГТУ им. А.Н. Туполева) (RU)
|
(54) ОХЛАЖДАЕМАЯ ДВУХСТУПЕНЧАТАЯ ТУРБИНА ГТД С ТРУБЧАТОЙ ИЛИ ТРУБЧАТО-КОЛЬЦЕВОЙ КАМЕРОЙ СГОРАНИЯ
(57) Реферат:
Охлаждаемая двухступенчатая турбина газотурбинного двигателя с трубчатыми или трубчато-кольцевыми камерами сгорания содержит сопловой аппарат первой ступени с охлаждаемыми лопатками, рабочее колесо первой ступени турбины, сопловой аппарат второй ступени с охлаждаемыми лопатками. Лопатки соплового аппарата первой ступени в количестве, равном количеству жаровых труб, расположены против промежутков жаровых труб. Лопатки соплового аппарата второй ступени в количестве, равном удвоенному количеству жаровых труб, выполнены с хордой профиля, определенной по защищаемой изобретением формуле. Лопатки соплового аппарата второй ступени смещены относительно двухрядных лопаток соплового аппарата первой ступени с окружным смещением, определяемым по защищаемой изобретение формуле. При этом коллектор подвода охлаждающего воздуха в лопатки соплового аппарата второй ступени, расположенный в следах двухрядных лопаток соплового аппарата первой ступени, снабжен дроссельным краном. Изобретение позволяет снизить расход охладителя (воздуха) и повысить коэффициент полезного действия охлаждаемой двухступенчатой турбины газотурбинного двигателя. 7 ил. 
Изобретение относится к области двигателестроения, а конкретно к высокотемпературным газотурбинным двигателям с трубчатыми или трубчато-кольцевыми стехиометрическими камерами сгорания для дальней авиации, в том числе беспилотной и, в частности, к устройству сопловых аппаратов ступеней высокотемпературных охлаждаемых газотурбинных двигателей (ГТД) с трубчатыми или трубчато-кольцевыми камерами сгорания.
Камеры сгорания (КС), работающие на стехиометрических режимах, создаются по модульным схемам фронтовых устройств (с индивидуальными жаровыми трубами), так как в ограниченных объемах легче добиться более совершенного смешения потоков топлива, воздуха и газа и осуществления рабочего процесса в целом (см. Янковский В.М., Сыченков В.А., Данильченко А.В., Кузнецов В.Я. Оптимизация процессов горения в цилиндрических модулях фронтовых устройств камер сгорания. / Интенсификация процессов тепломассообмена в энергетических и технологических установках: Сб. научных трудов. №177. М.: Моск. энерг. ун-т, 1988, с.104-112). Поле температур за такими камерами сгорания прогнозируется, оно является периодически неравномерным и может быть учтено при конструировании ступеней турбин.
Изобретение решает задачу рационального распределения охладителя и повышения газодинамической эффективности охлаждаемых сопловых аппаратов (СА) в ступенях ГТД с целью снижения расхода охладителя, уменьшения расхода топлива, снижения удельной массы и повышения коэффициента полезного действия сопловых аппаратов, установленных в ступенях ГТД с трубчатой или трубчато-кольцевой камерой сгорания, поле температур, за которыми имеет окружную периодическую неравномерность, обусловленную конечным количеством жаровых труб, поток газа за которыми, образуя «горячую» зону, имеет температуру на 350-500К выше температуры «холодной» зоны – потока газа, проходящего между жаровых труб, и сохраняет окружную периодическую неравномерность потока и за рабочим колесом первой ступени турбины.
Известна охлаждаемая двухступенчатая турбина ГТД с трубчато-кольцевой камерой сгорания, содержащая сопловой аппарат первой ступени с охлаждаемыми лопатками, рабочее колесо первой ступени турбины, сопловой аппарат второй ступени (см. Скубачевский Г.С. Авиационные газотурбинные двигатели. М.: Машиностроение, 1965, с.129-130, рис.5.52). Сопловые аппараты обеих ступеней такой турбины обычно содержат равномерно расположенные между наружным и внутренним кольцами лопатки, установленные с шагом, выбранным в соответствии с зависимостью, полученной для равномерной структуры потока перед сопловым аппаратом (см., например, В.И.Локай, М.К.Максутова, В.А.Стрункин. Газовые турбины двигателей летательных аппаратов. – М.: Машиностроение, 1979, с.86):

где – относительный оптимальный шаг;
– относительный оптимальный шаг решетки при нулевой толщине выходной кромки;
kкр – поправочный коэффициент, учитывающий толщину выходной кромки;
– поправочный коэффициент, учитывающий влияние режима работы.
Главным недостатком сопловых аппаратов с охлаждаемыми лопатками, установленными таким образом, является нерациональный расход охлаждающего воздуха в связи с тем, что все лопатки приходится охлаждать, исходя из максимальной температуры газа (в потоке за жаровыми трубами камер сгорания эта температура может превышать =2000К), а не с учетом температурной неравномерности по окружности турбины.
Известно, что на сопловом аппарате первой ступени турбины с лопатками, установленными только в «холодных» зонах, расход охлаждающего воздуха, предназначенного для первой ступени, можно снизить более чем в 2 раза (см., Гачегов Н.А., Магиденко Я.Е., Митюшкин Ю.И., Ронзин В.Д. Исследование кольцевых решеток с малым числом сопловых лопаток. – В кн.: Высокотемпературные охлаждаемые газовые турбины двигателей летательных аппаратов. – Казань, 1980: КАИ, с.78-84. См. также Черныш В.М., Ланговой С.М., Ронзин В.Д., Серегин Ю.Н. Исследование характеристик двухрядной сопловой решетки. – В кн.: Высокотемпературные охлаждаемые газовые турбины двигателей летательных аппаратов. – Казань, 1985: КАИ, с.80-85). Применение такого соплового аппарата открывает возможности освоения более высоких температур газа перед турбиной без увеличения расхода охлаждающего воздуха. Согласно принятым в этих работах конструктивным признакам двухрядная сопловая лопатка очерчена единым аэродинамическим профилем и должна рассматриваться как единичная лопатка в составе соплового аппарата первой ступени. Однако окружная периодическая неравномерность поля температур за таким сопловым аппаратом сохраняется.
Известно, что периодическая неравномерность потока в окружном направлении, сформированная кромочными следами сопловых лопаток, переносится через вращающееся рабочее колесо турбины и с некоторым окружным смещением приходит к сопловым лопаткам следующей ступени. Для двухступенчатого отсека экспериментально доказано существование оптимального с точки зрения кпд отсека взаимного окружного положения сопловых аппаратов соседних ступеней с одинаковым числом сопловых лопаток (см. Садовничий В.Н. и др. О распространении кромочных следов сопловых лопаток в турбинной ступени / Энергомашиностроение, 1977, №7, c.16-19, а также см. Лапшин К.Л., Садовничий В.Н. Экспериментальное определение окружного скоса кромочных следов направляющих лопаток в турбинной ступени / сборник «Известия Вузов» СССР Энергетика, №11, 1980, с.109-111). Таким образом, окружная периодическая неравномерность, обусловленная конечным количеством жаровых труб, сохраняется и перед сопловым аппаратом второй ступени, который, несмотря на общее снижение температуры газа в первой ступени турбины на 150-180К, необходимо охлаждать.
С целью снижения расхода охладителя и повышения коэффициента полезного действия устройство соплового аппарата второй ступени следует согласовывать с расположением жаровых труб камер сгорания.
Установка лопаток с относительным оптимальным шагом предопределяет достижение максимального кпд, но ко всем лопаткам подводить охлаждающий воздух в одинаковом количестве не рационально, так как часть лопаток находится в «горячих» зонах, другая часть лопаток находится в «холодных» зонах. Количественная оценка потребного расхода охлаждающего воздуха для лопаток «горячих» и «холодных» зон может быть проведена по статистически обоснованной зависимости (см. В.И.Локай, М.К.Максутова, В.А.Стрункин. Газовые турбины двигателей летательных аппаратов. – М.: Машиностроение, 1991, с.201, рис.7.7):

где – критерий эффективности системы охлаждения или величина относительной глубины охлаждения; , – температуры заторможенного потока соответственно газа и охлаждающего воздуха; Тл – температура материала лопатки, за которую следует принять допустимую температуру материала лопаток Тдоп. Современные материалы, из которых изготавливают сопловые лопатки, допускают нагрев до Тдоп=1150К. Температура газа «горячих» зон может быть равной =1600К, температура газа «холодных» зон может быть равной =1250K. Температура охлаждающего воздуха может быть равной =700K.
Вычислим потребный расход охлаждающего воздуха в процентах от расхода газа, протекающего через сопловой аппарат для лопаток «горячих» и «холодных» зон.
Критерий эффективности для «горячей» зоны равен:
.
Критерий эффективности для «холодной» зоны равен:

Потребный расход для охлаждения лопаток «горячей» зоны равен:
.
Потребный расход для охлаждения лопаток «холодной» зоны равен:
.
Из приведенных вычислений видно, что лопаткам «холодных» зон требуется охлаждающего воздуха в 13 раз меньше, чем лопаткам «горячих» зон. Очевидной становится необходимость решения задачи индивидуального подвода охлаждающего воздуха для лопаток «холодных» и «горячих» зон. Лопатки «холодных» зон должны быть подсоединены к одному общему коллектору, лопатки «горячих» зон подсоединены к другому общему коллектору. Оба коллектора присоединены к общей системе охлаждения ступеней турбин. Коллектор лопаток «холодной» зоны должен иметь дроссельный кран с клапаном отсечки коллектора от общей системы охлаждения, для работы на крейсерском режиме, когда лопатки «холодной» зоны охлаждать не требуется.
Необходимо учесть и то, что во вторую ступень поток приходит с окружным смещением из-за поворота в лопаточных аппаратах первой ступени и вращения рабочего колеса. Это окружное смещение зависит от режима работы ГТД. Для авиационного ГТД различают два основных режима – взлетный и крейсерский. На взлетном режиме наибольшее значение тяги Rmax двигателя достигается при максимальных значениях оборотов ротора турбины nmax и температуры газа перед турбиной . Крейсерский режим характеризуется пониженными значениями тяги и составляет Rкр (0,5…0,8)Rmax. Поэтому окружное смещение потока перед второй ступенью на крейсерском режиме будет значительно отличаться от окружного смещения на взлетном режиме.
Известно (см. Лукачев В.П., Данильченко В.П., Резник В.Е. Выбор параметров и инженерные основы проектирования систем охлаждения элементов турбин авиационных ГТД – Куйбышев: КуАИ, 1983, – с.111), что время работы турбины авиационного ГТД на взлетном и крейсерском режимах определяются в процентах от ресурса работы турбины, и может быть вычислено по уравнению

где Vп – средняя скорость полета (для дозвуковых самолетов она может быть принята равной 850 км/ч);
Lп – длина трассы полета самолета, км;
взл ц – время одного взлетного цикла, которое в соответствии с нормами ИКАО может быть принято равным 5,5 минут;
 р=100% – ресурс работы турбины.
Приняв длину трассы полета самолета равной Lп = 5000 км, получим

Это означает, что только 1,558% от ресурса работы авиационный двигатель работает на взлетном режиме, что составляет для: ресурса работы турбины равном  р=5000 часов, р взл 5000=77,9 час, а для  р=10000 часов, р взл 5000=155,8 час.
Следовательно, время работы турбины на взлетном режиме незначительно, и основная выработка ресурсного времени происходит на крейсерском режиме.
Устройство соплового аппарата второй ступени с лопатками, установленными в «горячих» и «холодных» зонах, должно учитывать это окружное смещение «горячих» и «холодных» зон на крейсерском режиме.
Недостатком известных устройств является большой расход охладителя (воздуха) на охлаждение сопловых лопаток первой и второй ступеней турбины, что снижает коэффициент полезного действия турбины.
Технический результат, на достижение которого направлено предлагаемое изобретение, заключается в снижении расхода охладителя (воздуха) и повышении коэффициента полезного действия охлаждаемой двухступенчатой турбины ГТД с трубчатыми или трубчато-кольцевыми камерами сгорания.
Технический результат достигается тем, что охлаждаемая двухступенчатая турбина ГТД с трубчатыми или трубчато-кольцевыми камерами сгорания, содержащая сопловой аппарат 1-й ступени с двухрядными охлаждаемыми лопатками, в количестве, равном количеству жаровых труб, равномерно расположенными против промежутков жаровых труб, рабочее колесо 1-й ступени турбины, сопловой аппарат 2-й ступени с охлаждаемыми лопатками в количестве, равном удвоенному количеству жаровых труб, все лопатки соплового аппарата 2-й ступени выполнены с хордой профиля, определенной по формуле

где bса2 – хорда профиля лопатки соплового аппарата 2-й ступени;
Dcp – средний диаметр соплового аппарата;
z – количество жаровых труб камер сгорания;
S – количество двухрядных лопаток соплового аппарата 1-й ступени;
– относительный оптимальный шаг установки лопаток соплового аппарата 2-й ступени,
и все лопатки соплового аппарата второй ступени смещены относительно двухрядных лопаток соплового аппарата первой ступени с окружным смещением, определяемым по формуле

где Фсм – величина окружного смещения, в радианах;
Dcp – средний диаметр турбины;
S(b+u)=Sb+Su=Sb+Su1+Su2+Su3 – суммарное окружное смещение следов «холодной» и «горячей» зоны в осевом зазоре перед сопловым аппаратом 2-й ступени;
Sb=bca1cos y1 – окружное смещение в сопловом аппарате 1-й ступени, (bca1 – хорда двухрядной лопатки соплового аппарата 1-й ступени, y1 – угол установки двухрядной лопатки в сопловом аппарате 1-й ступени);
– окружное смещение в осевом зазоре между сопловым аппаратом и рабочим колесом 1-й ступени, ( a1 – осевой зазор между сопловым аппаратом и рабочим колесом 1-й ступени, c1u – проекция абсолютной скорости на окружное направление в осевом зазоре 1-й ступени, c1a – проекция абсолютной скорости на осевое направление в осевом зазоре 1-й ступени);
– окружное смещение в рабочем колесе 1-й ступени,
(bл – ширина рабочего колеса 1-й ступени, с2u – проекция абсолютной скорости на окружное направление в осевом зазоре между рабочим колесом 1-й ступени и сопловым аппаратом 2-й ступени, с1a – проекция абсолютной скорости на осевое направление в осевом зазоре между рабочим колесом 1-й ступени и сопловым аппаратом 2-й ступени)
– окружное смещение в осевом зазоре между рабочим колесом и сопловым аппаратом 2-й ступени, ( а2 – осевой зазор между рабочим колесом 1-й ступени и сопловым аппаратом 2-й ступени);
при этом коллектор подвода охлаждающего воздуха в лопатки соплового аппарата 2-й ступени, расположенные в следах двухрядных лопаток соплового аппарата 1-й ступени, снабжен дроссельным краном.
Если учесть существенное снижение температуры газа на крейсерском режиме, то можно при переходе с взлетного режима на крейсерский существенно снизить расход воздуха, подаваемого в систему охлаждения лопаток, размещенных в «горячих» зонах, а систему охлаждения лопаток, размещенных в «холодных» зонах, перекрыть. Такая система охлаждения с отключением каналов подачи охлаждающего воздуха в лопатки «холодных» зон, соплового аппарата второй ступени при смене режимов приведет к высокой эффективности работы ГТД.
На фиг.1 представлена развертка сечения по среднему диаметру первой ступени и соплового аппарата второй ступени турбины ГТД, здесь же условно показаны жаровые трубы камеры сгорания, от которых начинается образование «горячих» зон в потоке, натекающем на ступени турбин. Показано как присоединяются лопатки соплового аппарата второй ступени к системе охлаждения турбины ГТД. Даны необходимые геометрические параметры (рабочее колесо турбины второй ступени не показано).
На фиг.2 показана условная эпюра распределения температуры потока перед сопловым аппаратом второй ступени, имеющегося при периодической неравномерности потока за трубчато-кольцевыми камерами сгорания.
На фиг.3 показана схема для определения окружного смещения соплового аппарата второй ступени относительно соплового аппарата первой ступени, из исходного меридионального сечения К1-К1 в рабочее меридиональное сечение К2-К2; приведены треугольники скоростей (рабочее колесо турбины второй ступени не показано).
На фиг.4 схематично показаны меридиональные сечения турбины по «холодной» зоне (X) и по «горячей» зоне (Г) и схема размещения дроссельных кранов-клапанов на коммуникациях подвода охлаждающего воздуха к сопловым аппаратам двухступенчатой турбины на крейсерском режиме.
На фиг.5 схематично показаны меридиональные сечения турбины по «холодной» зоне и по «горячей» зоне и схема размещения дроссельных кранов-клапанов на коммуникациях подвода охлаждающего воздуха к сопловым аппаратам двухступенчатой турбины на взлетном режиме (для данной схемы «холодная» и «горячая» зоны действительны только для первой ступени, так как на взлетном режиме эти зоны во второй ступени будут находиться в другом месте).
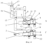
На фиг.6 схематично показано положение узлов ГТД вначале сборки охлаждаемой двухступенчатой турбины ГТД (стрелкой 24 показано исходное положение каждого узла при сборке; на этом месте может быть выполнена метка-клеймо):
(I) – камера сгорания (КС);
(II) – сопловой аппарат первой ступени (СА1);
(III) – сопловой аппарат второй ступени (СА2);
(IV) – показано взаимное расположение КС и СА1;
(V) – показано взаимное расположение КС, СА1 и СА2;
(VI) – показано взаимное расположение КС, СА1 и СА2 перед окончательной сборкой; для этого СА2 смещается в окружном направлении на угол Фсм и займет новое положение 25.
На фиг.7 схематично показаны коммуникации системы подвода охлаждающего воздуха к сопловым аппаратам первой и второй ступени.
Здесь:
1 – жаровые трубы камеры сгорания; 2 – «горячие» зоны перед сопловым аппаратом первой ступени и перед сопловым аппаратом второй ступени; 3 – «холодные» зоны перед сопловым аппаратом первой ступени; 4 – охлаждаемый сопловой аппарат первой ступени; 5 – двухрядные сопловые лопатки первой ступени; 6 – коллектор подвода охладителя к сопловым лопаткам первой ступени; 7 – рабочее колесо турбины первой ступени; 8 – охлаждаемый сопловой аппарат второй ступени; 9, 10 – сопловые лопатки второй ступени с конвективным охлаждением; 11 – коллектор подвода охладителя к сопловым лопаткам второй ступени, находящимся в «холодной» зоне; 12 – коллектор подвода охладителя к сопловым лопаткам второй ступени, находящимся в «горячей» зоне; 13 – патрубки, соединяющие лопатки 9 с коллектором 11; 14 – патрубки, соединяющие лопатки 10 с коллектором 12; 15 – дроссельный кран с отсечкой коллектора подвода охладителя к сопловым лопаткам второй ступени, находящимся в «холодной» зоне; 16 – общий коллектор для подачи охладителя к сопловым аппаратам первой и второй ступени; 17 – дроссельный кран в системе подачи охладителя к сопловым аппаратам первой и второй ступени; 18 – патрубок для подачи охлаждающего воздуха в коллектор подвода охладителя к сопловым лопаткам первой ступени; 19 – магистральный канал, подводящий охлаждающий воздух к охлаждаемой двухступенчатой турбине; 20 – окружная эпюра температур газа перед сопловым аппаратом второй ступени; 21 – схема расположения закромочного следа сопловой лопатки первой ступени, на крейсерском режиме работы ГТД; 22 – диск рабочего колеса второй ступени турбины; 23 – рабочие лопатки второй ступени турбины; 24 – метка для указания расположения узлов двухступенчатой турбины при последовательной сборке; 25 – метка, указывающая расположение соплового аппарата второй ступени после окружного смещения на расчетный угол Фсм.
Охлаждаемая двухступенчатая турбина ГТД с трубчато-кольцевой камерой сгорания, жаровые трубы 1 которых условно показаны на фиг.1, имеет охлаждаемый сопловой аппарат 4 первой ступени с равномерно установленными против промежутков жаровых труб двухрядными лопатками 5, имеющими общий коллектор подвода охладителя 6, рабочее колесо турбины 7 первой ступени, сопловой аппарат второй ступени 8, на котором равномерно установлены одинаковые лопатки 9 и 10 с одинаковым конвективным охлаждением и одинаковой хордой bca2 профиля; весь сопловой аппарат 8 второй ступени установлен относительно соплового аппарата 4 первой ступени с окружным смещением, все нечетные лопатки 9 присоединены к одному общему коллектору 11 подвода охлаждающего воздуха, который имеет дроссельный кран 15 для отсечки коллектора, а все четные лопатки 10 присоединены к другому общему коллектору 12 подвода охлаждающего воздуха. Оба коллектора 11 и 12 присоединены к системе подачи охладителя (охлаждающего воздуха) 16, на которой установлен дроссельный кран 17. Вся сеть системы охлаждения двухступенчатой турбины ГТД питается от системы охлаждения двигателя через магистральный канал 19.
Охлаждаемая двухступенчатая турбина ГТД с трубчатой или трубчато-кольцевой камерой сгорания во время работы имеет прогнозируемую периодическую неравномерность температурного поля 20 в осевых зазорах перед сопловым аппаратом второй ступени 8 (см. фиг.2), весь сопловой аппарат второй ступени 8 можно заранее установить с таким окружным смещением, чтобы лопатки 9 и 10 с заранее назначенным расходом (охлаждающего воздуха) разместились в соответствии с эпюрой температурного поля.
Охлаждаемая двухступенчатая турбина ГТД с трубчатой или трубчато-кольцевой камерой сгорания работает следующим образом. Из жаровых труб 1, установленных в камере сгорания с шагом tжт (фиг.1), продукты сгорания входят в сопловой аппарат первой ступени 4, двухрядные лопатки 5 которого установлены с шагом tca1=tжт. Продукты сгорания, сформированные в «горячие» зоны 2 потока, проходят между лопатками 5, не омывая их, выходят из соплового аппарата 4 (см. фиг.3) под углом 1 и натекают под углом 1 на лопатки вращающегося рабочего колеса первой ступени турбины 7. «Горячие» зоны 2 потока в результате поворота в сопловом аппарате 4, перемещения по осевому зазору a1, а также сноса и поворота в рабочем колесе турбины 7 выходят в осевой зазор а2 перед сопловым аппаратом второй ступени 8 под углом 2 и окружным смещением S(b+u). Воздух, проходящий между жаровых труб 1, сформированный в «холодные» зоны 3, входит в сопловой аппарат первой ступени 4, омывая лопатки 5. «Холодные» зоны потока 3 в результате поворота в сопловом аппарате 4, а также сноса и поворота в рабочем колесе турбины 7 выходят в зазор перед сопловым аппаратом второй ступени 8 под углом 2 и окружным смещением S(b+u). Таким образом, в зазоре перед сопловым аппаратом второй ступени 8 поток состоит из чередующихся между собой «горячих» 2 и «холодных» 3 зон, которые все вместе смещены в окружном направлении на величину S(b+u).
В сопловом аппарате второй ступени 8 лопатки 9 и 10 установлены с шагом tca2=tжт/2=tса1/2=bca2 , где – хорда профиля сопловой лопатки; z – количество жаровых труб 1 камер сгорания; S – количество двухрядных лопаток 5 в сопловом аппарате 4 первой ступени.
Подвод охлаждающего воздуха к сопловым аппаратам двухступенчатой турбины на всех режимах работы ГТД (и на взлетном, и на крейсерском) осуществляется из магистрального канала 19, через дроссельный кран 17 и по патрубку 18, коллектору 6 подается к сопловому аппарату первой ступени 4, на охлаждение двухрядных лопаток 5 (фиг.1, фиг.4, фиг.5).
На крейсерском режиме подвод охлаждающего воздуха к сопловому аппарату второй ступени 8, сопловым лопаткам 9 и 10, из магистрального канала 19 (фиг.4) осуществляется при частично открытом кране 17 и максимально прикрытом кране 15. Таким образом, через коллектор 11 в лопатки 9, находящиеся в «холодной» зоне (фиг.4, (X)), охлаждающий воздух будет поступать только в минимально необходимом количестве. (Это минимальное количество необходимо для того, чтобы газ из проточной части не проникал во внутреннюю полость лопаток через перфорации на поверхности лопаток.) А весь охлаждающий воздух может поступать через коллектор 12 в лопатки 10 соплового аппарата второй ступени 8, находящиеся в «горячей» зоне (фиг.4, (Г)).
На взлетном режиме (фиг.5) подвод охлаждающего воздуха к сопловому аппарату второй ступени 8, ко всем сопловым лопаткам 9 и 10, из магистрального канала 19 осуществляется при полностью открытом кране 17 и полностью открытом кране 15. Таким образом, через коллекторы 11 и 12, патрубки 13 и 14, в лопатки 9 и 10 охлаждающий воздух будет поступать в количестве, необходимом для высокотемпературного взлетного режима.
При сборке охлаждаемой двухступенчатой турбины необходимо руководствоваться метками-клеймами 24 (фиг.6), которые выполняются на всех узлах статора.
На корпусе камеры сгорания (схема I на фиг.6) метка-клеймо 24(КС) совпадает с меридиональным сечением, проходящим по середине между жаровых труб 1.
На корпусе соплового аппарата 4 первой ступени (схема II на фиг.6) метка-клеймо 24(СА1) совпадает с меридиональным сечением, проходящем по линии растекания на входной кромке первой лопатки двухрядных лопаток 5.
На корпусе соплового аппарата 8 второй ступени (схема III на фиг.6) метка-клеймо 24(СА2) совпадает с меридиональным сечением, проходящим по линии растекания на входной кромке сопловой лопатки 9 («нечетной»).
Последовательность сборки заключается в совмещении меток в одном меридиональном сечении; при стыковке камеры сгорания с сопловым аппаратом первой ступени (схема IV на фиг.6) метки-клейма 24 лежат в одной меридиональной плоскости и обозначены на схеме как 24(КС, СА1). При подстыковке соплового аппарата второй ступени (схема V на фиг.6) метки-клейма 24 сначала располагают в одной меридиональной плоскости с метками 24(КС, СА1) и обозначены на схеме как 24(КС, СА1, СА2). Затем сопловой аппарат второй ступени 8 смещается в окружном направлении (схема VI на фиг.6) вокруг оси двигателя на угол смещения , определенный по формуле (7). Метка-клеймо 24 занимает новое положение 25, которое обозначено на схеме как 25(СА2), после чего завершается окончательная сборка охлаждаемой двухступенчатой турбины ГТД с трубчатой или трубчато-кольцевой камерой сгорания.
Охлаждающий воздух из магистрального канала 19 (фиг.7) через кран 17 и общий коллектор 16 поступает к сопловым аппаратам первой 4 и второй 8 ступени турбины. Через отводящий патрубок 18 и общий коллектор 6 охлаждающий воздух подается к лопаткам 5 соплового аппарата первой ступени 4.
Из общего коллектора 16, через дроссельный кран 15, охлаждающий воздух поступает в коллектор 11 и по патрубкам 13 подается к лопаткам 9, которые на крейсерском режиме расположены в кромочных следах двухрядных лопаток 5 соплового аппарата первой ступени 4.
Из общего коллектора 16 охлаждающий воздух поступает в коллектор 12 и по патрубкам 14 подается к лопаткам 10, которые на крейсерском режиме расположены в следах жаровых труб 1.
Таким образом, предварительно (при сборке двухступенчатой турбины ГТД), сопловой аппарат второй ступени 8 размещается так, чтобы одни лопатки 10 размещались против жаровых труб 1, а другие 9 – против двухрядных лопаток 5 соплового аппарата первой ступени 4, затем весь сопловой аппарат второй ступени поворачивается для установки в рабочее положение на угол – угол смещения «горячих» и «холодных» зон и закрепляется окончательно для работы. Тогда на крейсерском режиме одни лопатки (четные) 10 (фиг.1) устанавливаются в «горячих» зонах 2, другие (нечетные) 9 – в «холодных» зонах 3. Лопатки 10, попавшие в «горячие» следы, присоединены к одному общему коллектору 12. Лопатки 9, попавшие в «холодные» следы, присоединены к другому общему коллектору 11. При переходе со взлетного режима на крейсерский коллектор 11 отключается от системы подачи охладителя 16 при помощи дроссельного крана 15.
При следующих конструктивных и режимных параметрах, полученных в результате расчета двигателя: bса1=0,108 м; cos y1=cos43°=0,7314; a1=20×10-3 м; а2=20×10-3 м; bл =50×10-3 м; Dcp =0,5 м; c1u=500 м/с; с1a=150 м/с; с2а =170 м/с; с2u=0,
величина окружного смещения, в радианах равна:

Таким образом, для приведенных в примере численных данных угол окружного смещения будет равным: град.
Формула изобретения
Охлаждаемая двухступенчатая турбина ГТД с трубчатыми или трубчато-кольцевыми камерами сгорания, содержащая сопловой аппарат первой ступени с охлаждаемыми лопатками, рабочее колесо первой ступени турбины, сопловой аппарат второй ступени с охлаждаемыми лопатками, отличающаяся тем, что все лопатки соплового аппарата первой ступени в количестве, равном количеству жаровых труб, расположены против промежутков жаровых труб, а все лопатки соплового аппарата второй ступени в количестве, равном удвоенному количеству жаровых труб, выполнены с хордой профиля, определенной по формуле
,
где bса2 – хорда профиля лопатки соплового аппарата второй ступени;
Dcp – средний диаметр соплового аппарата;
z – количество жаровых труб камер сгорания;
S – количество двухрядных лопаток соплового аппарата первой ступени;
– относительный оптимальный шаг установки лопаток соплового аппарата,
и все лопатки соплового аппарата второй ступени смещены относительно двухрядных лопаток соплового аппарата первой ступени с окружным смещением, определяемым по формуле
,
где Фсм – величина окружного смещения, в радианах;
Dcp – средний диаметр турбины;
S(b+u)=Sb+Su=Sb+Su1+Su2+Su3 – суммарное окружное смещение следов «холодной» и «горячей» зоны в осевом зазоре перед сопловым аппаратом 2-й ступени;
Sb=bca1cos y1 – окружное смещение в сопловом аппарате 1-й ступени, bcal – хорда двухрядной лопатки соплового аппарата 1-й ступени, y1 – угол установки двухрядной лопатки в сопловом аппарате 1-й ступени;
– окружное смещение в осевом зазоре между сопловым аппаратом и рабочим колесом 1-й ступени, а1 – осевой зазор между сопловым аппаратом и рабочим колесом 1-й ступени, с1u – проекция абсолютной скорости на окружное направление в осевом зазоре 1-й ступени, с1a – проекция абсолютной скорости на осевое направление в осевом зазоре 1-й ступени;
– окружное смещение в рабочем колесе 1-й ступени, bл – ширина рабочего колеса 1-й ступени, с2u – проекция абсолютной скорости на окружное направление в осевом зазоре между рабочим колесом 1-й ступени и сопловым аппаратом 2-й ступени, с1a проекция абсолютной скорости на осевое направление в осевом зазоре между рабочим колесом 1-й ступени и сопловым аппаратом 2-й ступени,
– окружное смещение в осевом зазоре между рабочим колесом и сопловым аппаратом второй ступени, а2 – осевой зазор между рабочим колесом 1-й ступени и сопловым аппаратом 2-й ступени, при этом коллектор подвода охлаждающего воздуха в лопатки соплового аппарата второй ступени, расположенный в следах двухрядных лопаток соплового аппарата первой ступени, снабжен дроссельным краном.
РИСУНКИ
|