|
|
(21), (22) Заявка: 2004118370/03, 17.06.2004
(24) Дата начала отсчета срока действия патента:
17.06.2004
(45) Опубликовано: 10.10.2005
(56) Список документов, цитированных в отчете о поиске:
RU 21930 U1, 27.02.2002. RU 2142552 C1, 10.12.1999. RU 2170329 C2, 10.07.2001. SU 1836541 А, 23.08.1993. SU 726316 А, 05.04.1980. US 4513816 А, 30.04.1985. US 4907650 А, 13.03.1990.
Адрес для переписки:
423230, Республика Татарстан, г. Бугульма, ул. М. Джалиля, 32, “ТатНИПИнефть”, сектор создания и развития промышленной собственности
|
(72) Автор(ы):
Махмутов И.Х. (RU), Страхов Д.В. (RU), Оснос В.Б. (RU), Зиятдинов Р.З. (RU)
(73) Патентообладатель(и):
Открытое акционерное общество “Татнефть” им. В.Д. Шашина (RU)
|
(54) УСТРОЙСТВО ДЛЯ ГЕРМЕТИЗАЦИИ УСТЬЯ СКВАЖИНЫ
(57) Реферат:
Изобретение относится к области нефтяной промышленности, в частности к обслуживанию нефтяных и газовых скважин, находящихся под давлением. Сущность изобретения: устройство содержит корпус, жестко связанный с гидроцилиндром, расположенный в гидроцилиндре полый поршень, размещенные в корпусе разъемные уплотнительный элемент, верхние и нижние направляющие кольца, установленные соответственно над и под уплотнительным элементом, и упор, взаимодействующий с верхним направляющим кольцом. Нижнее направляющее кольцо взаимодействует с полым поршнем. Корпус выполнен сборным из нижней и верхней частей, соединенных между собой регулировочной резьбой. В верхней части корпуса размещены разрезные дополнительные: уплотнительный элемент, верхние и нижние направляющие кольца, установленные соответственно над и под дополнительным уплотнительным элементом, и дополнительный упор, взаимодействующий с дополнительным верхним направляющем кольцом. Верхняя часть оборудована сверху полым регулировочным винтом, взаимодействующим с дополнительным упором, и ограничителем для упора дополнительного нижнего направляющего кольца. Нижняя кромка верхней части корпуса взаимодействует с упором. Полый поршень выполнен с возможностью перемещения только в пределах гидроцилиндра, надпоршневая полость которого сообщена с наружным пространством. Нижнее направляющее кольцо оснащено ловителем для фиксации спускаемого оборудования в крайнем верхнем его положении. Уплотнительные элементы могут быть выполнены из нескольких уплотнительных колец. Обеспечивает снижение материальных затрат на обслуживание, улучшение качества герметизации устья и исключение аварийных ситуаций при подъеме спускаемого оборудования. 1 з.п. ф-лы, 2 ил. 
Изобретение относится к области нефтяной промышленности, в частности к обслуживанию нефтяных и газовых скважин, находящихся под давлением.
Известен “Лубрикатор” (а.с. SU №1816843, Е 21 В 33/03, 47/00, опубл. БИ №19 от 25.05.93 г.), включающий превентор, приемную секцию и уплотнитель, содержащий цилиндрический корпус и уплотняющий элемент геофизического кабеля в виде чередующихся эластичных и металлических колец, при этом металлические и эластичные кольца выполнены с двойной конической поверхностью, причем у эластичных колец вершина конуса направлена к оси корпуса, а у металлических – к его периферии.
Недостатками данной конструкции является возможность аварийных ситуаций при подъеме спускаемого оборудования в крайнем верхнем положении, необходимость для изоляции геофизического кабеля дополнительного источника давления, для поддержания эластичных колец в поджатом состоянии при изоляции устья, требуется постоянный контроль за состоянием качества изоляции устья для увеличения или уменьшения давления, вырабатываемого дополнительным источником давления, чтобы уменьшить износ эластичных колец и обеспечить качество герметизации геофизического кабеля на устье, также не исключен контакт с уплотняющими элементами при спуске подъеме и, как следствие повышенный их износ, при этом процесс замены эластичных колец возможен только при полном извлечении геофизического кабеля.
Наиболее близким по технической сущности и достигаемому результату является “Устройство для герметизации устья скважины” (свидетельство на ПМ RU №21930, Е 21 В 33/03, опубл. Бюл. №6 от 27.02.2002 г.), содержащее цилиндрический корпус, жестко связанный с гидроцилиндром, расположенный в гидроцилиндре полый поршень, радиальные каналы для связи с источником давления, установленные в корпусе уплотнительный элемент, направляющие кольца, расположенные над и под уплотнительным элементом и опорную втулку, при этом устройство содержит упор, установленный в верхней части корпуса, причем упор, уплотнительный элемент и направляющие кольца выполнены разъемными, а уплотнительный элемент имеет поверхности разъема с чередующимися выступами и впадинами, сопрягаемыми между собой и образующие поверхности в форме эллипса, при этом направляющие кольца в месте разъема могут иметь косой срез.
Недостатками данной конструкции являются:
– во-первых, при критическом износе уплотнительного элемента не возможно исключить излив продукции скважины до смены уплотнительного элемента;
– во-вторых, не учитывается износ уплотнительных элементов в процессе работы;
– в-третьих, невозможно фиксировать спускаемое оборудование в крайнем верхнем положении, что затрудняет разборку и не исключает аварийные ситуации при подъеме спускаемого оборудования в крайнем верхнем положении (при несвоевременном отключении подъемного механизма может разрушиться устройство или произойти обрыв каната или геофизического кабеля и, как следствие, “потеря” спускаемого оборудования).
Технической задачей предлагаемого изобретения является: во-первых, снижение материальных затрат за счет повышения качества герметизации в результате дополнительной изоляции и дополнительного поджатия во время эксплуатации уплотнительных элементов в зависимости от их износа, при этом сохранение возможности замены уплотнительного элемента без излива продукции скважины в случае износа; во-вторых, исключение аварийных ситуаций при подъеме спускаемого в скважину оборудования за счет фиксации его в крайнем верхнем положении.
Поставленная техническая задача решается предлагаемым устройством для герметизации устья скважины, содержащим корпус, жестко связанный с гидроцилиндром, расположенный в гидроцилиндре полый поршень, размещенные в корпусе разъемные уплотнительный элемент, верхние и нижние направляющие кольца, установленные соответственно над и под уплотнительным элементом, и упор, взаимодействующий с верхним направляющим кольцом, при этом нижнее направляющее кольцо взаимодействует с полым поршнем.
Новым является то, что корпус выполнен сборным из нижней и верхней частей, соединенных между собой регулировочной резьбой, при этом верхняя часть, в которой размещены разрезные дополнительные уплотнительный элемент, верхние и нижние направляющие кольца, установленные соответственно над и под дополнительным уплотнительным элементом, и дополнительный упор, взаимодействующий с дополнительным верхним направляющим кольцом, оборудована сверху полым регулировочным винтом, взаимодействующим с дополнительным упором, и ограничителем для упора дополнительного нижнего направляющего кольца, причем нижняя кромка верхней части корпуса взаимодействует с упором, при этом полый поршень выполнен с возможностью перемещения только в пределах гидроцилиндра, надпоршневая полость которого сообщается с наружным пространством, а нижнее направляющее кольцо оснащено ловителем для фиксации спускаемого оборудования в крайнем верхнем его положении.
Новым является также то, что уплотнительные элементы выполнены из нескольких уплотнительных колец.
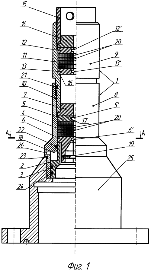
На Фиг.1 изображено устройство для герметизации устья скважины в осевом разрезе.
На Фиг.2 показан разрез А-А.
Устройство для герметизации устья скважины содержит корпус 1 (см. Фиг.1), жестко связанный с гидроцилиндром 2, расположенный в гидроцилиндре полый поршень 3, размещенные в корпусе 1 разъемные уплотнительный элемент 4, верхние 5 и нижние 6 направляющие кольца, установленные соответственно над и под уплотнительным элементом 4, и упор 7, взаимодействующий с верхним направляющим кольцом 5, при этом нижнее направляющее кольцо 6 взаимодействует с полым поршнем 3. Корпус 1 выполнен сборным из нижней 8 и верхней 9 частей, соединенных между собой регулировочной резьбой 10. Верхняя часть 9, в которой размещены разрезные дополнительные уплотнительный элемент 11, верхние 12 и нижние 13 направляющие кольца, установленные соответственно над и под дополнительным уплотнительным элементом 11, и дополнительный упор 14, взаимодействующий с дополнительным верхним направляющим кольцом 12, оборудована сверху полым регулировочным винтом 15. Регулировочный винт 15 взаимодействует с дополнительным упором 14. Верхний корпус 9 оснащен ограничителем 16 для упора дополнительного нижнего направляющего кольца 13. Нижняя кромка 17 верхней части 9 корпуса 1 взаимодействует с упором 7. Полый поршень 3 выполнен с возможностью перемещения только в пределах гидроцилиндра 2, надпоршневая полость 18 которого сообщается с наружным пространством. Нижнее направляющее кольцо 6 оснащено ловителем 19 для фиксации спускаемого оборудования (не показано) в крайнем верхнем его положении. При этом уплотнительные элементы 4 и 11 могут быть выполнены из нескольких уплотнительных колец 20. Несанкционированные перетоки жидкости предотвращаются неразъемными уплотнительными кольцами 21, 22, 23 и 24. Устройство для герметизации устья скважины работает следующим образом.
Корпус 1 с гидроцилиндром 2, поршнем 3, регулировочным винтом 15 через переводник 25 герметично крепится к устьевой арматуре (не показана). Геофизический кабель (не показан) со спускаемым оборудованием (не показано) на конце пропускается через корпус 1, гидроцилиндр 2 с поршнем 3 и переводник 25 в скважину. Затем сверху в нижнюю часть 8 корпуса 1 последовательно вставляют разъемные нижнее кольцо 6 (состоящее из двух частей 6 и 6′ см. Фиг.2) с ловителем 19 (например: подпружиненное кольцо) (см. Фиг.1) до упора на поршень 3, уплотнительный элемент 4, верхнее кольцо 5 (5 и 5′) и упор 7 (7 и 7′). Все вставляемые в нижнюю часть 8 корпуса 1 элементы 6, 4, 5 и 7 предварительно поджимают через упор 7 верхней кромкой 17 верхней части 9 корпуса 1. Далее сверху в верхнюю часть 9 корпуса 1 последовательно вставляют дополнительные разъемные нижнее кольцо 13 (состоящее из двух частей 13 и 13′) до упора на ограничитель 16, уплотнительный элемент 11, верхнее кольцо 12 (12 и 12′) и упор 14 (14 и 14′). Все вставляемые в верхнюю часть 8 корпуса 1 элементы 13, 11, 12 и 14 поджимают через упор 14 полым регулировочным винтом 15 до соприкосновения дополнительного уплотнительного элемента 11 с геофизическим кабелем, благодаря чему исключается излив внутрискважинной жидкости (выделение газа) через дополнительный уплотнительный элемент 11 во время спуска в требуемый интервал скважины оборудования, прикрепленного к геофизическому кабелю. Во время эксплуатации в скважине могут происходить спонтанные или вызванные работой оборудования всплески внутрискважинного давления, которое действует на полый поршень 3, заставляя перемещаться его вверх благодаря тому, что надпоршневая полость 18 гидроцилиндра 2 при помощи канала 26 сообщается с наружным пространством устройства, прижимая через нижнее кольцо 8 уплотнительный элемент 4 к геофизическому кабелю. В результате происходит дополнительная изоляция и исключается излив внутрискважинной жидкости (выделение газа) на устье при перепадах внутрискважинного давления. При износе дополнительного уплотнительного элемента 11 достаточно поджать его регулировочным полым винтом 15 через дополнительные упор 14 и направляющее кольцо 12, чтобы не нарушать герметизацию устья. В случаях частых скачков внутрискважинного давления происходит усиленный износ уплотнительного элемента 4, чтобы уменьшить увеличенный зазор, вызванный износом, уплотнительный элемент 4 поджимают через упор 7 и верхнее направляющее кольцо 5 нижней кромкой 17 верхней части 9 корпуса 1, благодаря регулировочной резьбе 10. В случаях критического износа, который нельзя выбрать за счет полого регулировочного винта 15, дополнительного уплотнительного элемента 11 (так как он несет основную нагрузку при изоляции геофизического кабеля), его заменяют, не извлекая спускаемого оборудования в следующей последовательности:
во-первых, уплотнительный элемент 4 поджимают через упор 7 и верхнее направляющее кольцо 5 нижней кромкой 17 верхней части 9 корпуса 1, благодаря регулировочной резьбе 10, до изоляции геофизического кабеля;
во-вторых, откручивают полый регулировочный винт 15, дополнительные упор 14, верхнее направляющее кольцо 12 и заменяют изношенный дополнительный уплотнительный элемент 11 на годный к работе;
в-третьих, вставляют дополнительные верхнее направляющее кольцо 12 и упор 14;
в-четвертых, после чего эти элементы 14, 12 и 11 поджимаются регулировочным винтом 15 до соприкосновения дополнительного уплотнительного элемента 11 с геофизическим кабелем;
в-пятых, ослабляют поджатие уплотнительного элемента 4 к геофизическому кабелю за счет регулировочной резьбы 10.
Геофизический кабель может во время работы спускаемого оборудования в скважине находиться как в неподвижном, так и в динамичном состоянии относительно устройства. При подъеме скважинного оборудования в крайнем верхнем положении оно фиксируется в ловителе 19 нижнего направляющего кольца 6. Благодаря чему исключается “потеря” спускаемого оборудования в случае обрыва геофизического кабеля, которое часто происходит при несвоевременном отключении подъемного оборудования. В результате исключаются аварийные ситуации.
Для простоты изготовления уплотнительные элементы 4 и 11 могут изготавливаться сборными из уплотнительных колец 20.
Использование предлагаемой конструкции устройства для герметизации устья скважины позволяет снизить материальные затраты на обслуживание из-за простоты эксплуатации, особенно при замене изношенных элементов, улучшить качество герметизации устья за счет двойной изоляции и за счет возможности дополнительного прижатия во время эксплуатации уплотнительных элементов с учетом их износа, а также исключить аварийные ситуации при подъеме спускаемого оборудования за счет фиксации в крайнем верхнем положении.
Формула изобретения
1. Устройство для герметизации устья скважины, содержащее корпус, жестко связанный с гидроцилиндром, расположенный в гидроцилиндре полый поршень, размещенные в корпусе разъемные уплотнительный элемент, верхние и нижние направляющие кольца, установленные соответственно над и под уплотнительным элементом, и упор, взаимодействующий с верхним направляющим кольцом, при этом нижнее направляющее кольцо взаимодействует с полым поршнем, отличающееся тем, что корпус выполнен сборным из нижней и верхней частей, соединенных между собой регулировочной резьбой, при этом верхняя часть, в которой размещены разрезные дополнительные уплотнительный элемент, верхние и нижние направляющие кольца, установленные соответственно над и под дополнительным уплотнительным элементом, и дополнительный упор, взаимодействующий с дополнительным верхним направляющем кольцом, оборудована сверху полым регулировочным винтом, взаимодействующим с дополнительным упором, и ограничителем для упора дополнительного нижнего направляющего кольца, причем нижняя кромка верхней части корпуса взаимодействует с упором, при этом полый поршень выполнен с возможностью перемещения только в пределах гидроцилиндра, надпоршневая полость которого сообщена с наружным пространством, а нижнее направляющее кольцо оснащено ловителем для фиксации спускаемого оборудования в крайнем верхнем его положении.
2. Устройство для герметизации устья скважины по п.1, отличающееся тем, что уплотнительные элементы выполнены из нескольких уплотнительных колец.
РИСУНКИ
QB4A Регистрация лицензионного договора на использование изобретения
Лицензиар(ы): Открытое акционерное общество “ТАТНЕФТЬ” им. В.Д.Шашина
НИЛ
Лицензиат(ы): Общество с ограниченной ответственностью “Татнефть-РемСервис”
Договор № РД0038342 зарегистрирован 11.07.2008
Извещение опубликовано: 20.08.2008 БИ: 23/2008
* ИЛ – исключительная лицензия НИЛ – неисключительная лицензия
QZ4A – Регистрация изменений (дополнений) лицензионного договора на использование изобретения
Лицензиар(ы): Открытое акционерное общество “ТАТНЕФТЬ” им. В.Д.Шашина
НИЛ
Лицензиат(ы): Общество с ограниченной ответственностью “Татнефть-РемСервис”
Характер внесенных изменений (дополнений):
Изменен размер и порядок выплаты вознаграждения. Уточнен срок действия патентов.
Дата и номер государственной регистрации договора, в который внесены изменения:
11.07.2008 № РД0038342
Извещение опубликовано: 10.02.2009 БИ: 04/2009
* ИЛ – исключительная лицензия НИЛ – неисключительная лицензия
QB4A Регистрация лицензионного договора на использование изобретения
Лицензиар(ы): Открытое акционерное общество “Татнефть” им. В.Д.Шашина
НИЛ
Лицензиат(ы): Открытое акционерное общество “Татнефть-ЛениногорскРемСервис”
Договор № РД0059795 зарегистрирован 01.02.2010
Извещение опубликовано: 10.03.2010 БИ: 07/2010
* ИЛ – исключительная лицензия НИЛ – неисключительная лицензия
|
|