|
|
(21), (22) Заявка: 2002116250/03, 28.11.2000
(24) Дата начала отсчета срока действия патента:
28.11.2000
(30) Конвенционный приоритет:
30.11.1999 US 09/451,989
(43) Дата публикации заявки: 20.01.2004
(45) Опубликовано: 10.10.2005
(56) Список документов, цитированных в отчете о поиске:
RU 2030551 С1, 10.03.1995. RU 2078904 С1, 10.05.1997. RU 8404 U1, 16.11.1998. US 4732364 А, 22.03.1988. US 4735229 А, 05.04.1988. US 5707214 А, 13.01.1998.
(85) Дата перевода заявки PCT на национальную фазу:
01.07.2002
(86) Заявка PCT:
US 00/32150 (28.11.2000)
(87) Публикация PCT:
WO 01/40614 (07.06.2001)
Адрес для переписки:
101000, Москва, М.Златоустинский пер., д.10, кв.15, ЕВРОМАРКПАТ, И.А.Веселицкой
|
(72) Автор(ы):
МЕНТЕШ Ибрахим М. (US), БЕНЗИГЕР Карл Р. (US)
(73) Патентообладатель(и):
КАРПЕНТЕР ЭДВАНСТ СИРЭМИКС, ИНК (US)
|
(54) ТРУБОПРОВОДНАЯ АРМАТУРА С ЭЛЕМЕНТАМИ ИЗ КЕРАМИКИ ДЛЯ НЕФТЯНЫХ СКВАЖИН ВЫСОКОГО ДАВЛЕНИЯ
(57) Реферат:
Изобретение относится к трубопроводной арматуре для нефтяных скважин высокого давления. Обеспечивает повышение долговечности трубопроводной арматуры. Сущность изобретения: клапан имеет металлический корпус с входным и выходным каналами, в которых расположены керамические вставки. Клапан имеет также сменный редуктор, который предпочтительно изготовлен из керамики. Соединенные с редукционным клапаном фланцевые переходники обеспечивают возможность перехода от сравнительно небольшого диаметра проходного отверстия редуктора до сравнительно большого диаметра трубы, ведущей к оборудованию для переработки нефти. Фланцевые переходники имеют изготовленный из металла корпус с проходным каналом, в котором расположена керамическая вставка. Проходные каналы этих керамических вставок предпочтительно выполнять коническими с диаметром, постепенно увеличивающимся от выходного отверстия редукционного клапана до внутреннего отверстия трубопровода, ведущего к оборудованию для переработки нефти. Применение керамических вставок в редукционном клапане позволяет повысить долговечность трубопроводной арматуры, используемой для регулирования потока нефти в нефтяных скважинах высокого давления. 4 н.и 37 з.п. ф-лы, 15 ил. 
Область техники, к которой относится изобретение
Настоящее изобретение относится к трубопроводной арматуре для нефтяных скважин высокого давления, в частности к использованию керамических материалов для изготовления изнашивающихся элементов в применяемых в таких скважинах сборных редукционных устройствах.
Предпосылки создания изобретения
В настоящее время во всем мире существует большое количество нефтяных скважин, работающих под высоким давлением. Добыча нефти из таких скважин осуществляется без применения насосов, и поэтому в них необходимо поддерживать довольно высокое давление (порядка 3000-5000 фунтов на кв. дюйм). Сырая нефть из скважины высокого давления выходит на поверхность с большой скоростью и содержит песок и обломки породы, воздействие которых на внутреннюю поверхность арматуры, установленной на скважинных трубопроводах, сопровождается ее интенсивным износом. С целью уменьшить количество песка и обломков породы в добываемой нефти в устье скважины обычно устанавливают редукционный клапан, который поддерживает на выходе из скважины высокое давление. Установив на идущем из скважины трубопроводе несколько переходников с разным внутренним диаметром, внутренний диаметр трубопровода можно постепенно уменьшить, например, от шести дюймов до трех. Дальнейшее изменение (уменьшение) диаметра трубопровода осуществляется в редукционном клапане, который позволяет уменьшить диаметр проходного отверстия трубопровода до одного или даже одной второй дюйма.
Известные в настоящее время редукционные устройства обычно изготавливают из углеродистой стали, а для защиты от износа внутренних поверхностей их проходных каналов применяют износостойкие элементы внутренней облицовки или вставки из карбида вольфрама. Абразивная смесь нефти и песка не только повреждает внутренние поверхности проходных каналов, но и, попадая в зазоры между рабочим элементом клапана (дросселем, или редуктором) и его стальным корпусом, изнашивает при течении в обратном направлении корпус, что в конечном итоге приводит к выходу из строя всего редукционною клапана. Очень часто металлический корпус, в котором находится редуктор, оказывается серьезно изношенным. Постоянный эрозионный износ редуктора (дросселя) со временем приводит к постепенному снижению рабочего давления в скважине и в результате требует замены всего редукционного клапана. Снижение рабочего давления в скважине (из-за износа редукционного клапана) сопровождается увеличением количества содержащегося в добываемой нефти песка и, как следствие, падением дебита скважины. Средний срок службы используемых в настоящее на трубопроводах нефтяных скважин высокого давления редукционных клапанов обычно колеблется от 4 до 12 недель. Для замены редуктора и/или других элементов клапана добычу нефти приходится прерывать на четыре-восемь часов. Из скважин высокого давления добывают, как правило, от 5000 до 12000 баррелей нефти в день. Простой анализ потерь, связанных с износом редукционных клапанов, позволяет со всей очевидностью сделать вывод о целесообразности применения в трубопроводах нефтяных скважин предлагаемых в изобретении сборных редукционных устройств, обладающих повышенной износостойкостью и долговечностью.
Краткое изложение сущности изобретения
Исходя из вышеизложенного, в основу настоящего изобретения была положена задача увеличить срок службы элементов оборудования нефтяных скважин высокого давления и, как следствие этого, повысить эффективность процесса нефтедобычи.
Другая задача изобретения состояла в уменьшении абразивного износа поверхностей изготовленных из стали элементов оборудования нефтяных скважин высокого давления.
Еще одна задача изобретения состояла в уменьшении до минимума количества каналов для прохода текущей в обратном направлении нефти, образующихся в редукционном клапане в результате эрозии, путем уплотнения зазора между корпусом клапана и редуктором.
Задача настоящего изобретения состояла также в повышении износостойкости поверхностей проходных каналов трубопроводной арматуры, подверженных эрозионному износу.
Еще одна задача изобретения состояла в снижении турбулентности потока и, как следствие этого, ограничении количества каналов для прохода нефти, образующихся между корпусом редукционного клапана и его редуктором, и уменьшении эрозии их поверхностей.
Указанные выше, а также другие положенные в основу изобретения задачи решаются с помощью предлагаемого в нем редукционного клапана с керамическими элементами внутренней облицовки или вставками и изготовленным целиком из твердого керамического материала редуктором и трубопроводной арматурой с проходными отверстиями малого диаметра с керамическими вставками с оптимально в отношении режима течения выполненными проходными каналами (отверстиями). В качестве материала для изготовления редуктора и вставок можно использовать различные типы технической керамики, обладающей высокими механическими свойствами.
Внутренние и наружные поверхности редуктора, изготовленного из керамики, гораздо меньше подвержены эрозии, чем у редуктора, изготовленного из стали. Изготовленный из керамики редуктор устанавливают в выходном канале редукционного клапана, имеющего керамические вставки. Керамика, из которой изготовлены сменные вставки редукционного клапана, обладает намного большей износостойкостью по сравнению со сталью и надежно защищает от износа внутренние поверхности каналов изготовленных из стали элементов редукционного клапана. Кроме того, керамические вставки более эффективно уплотняют зазор между редуктором и стенкой корпуса редукционною клапана. Керамика, из которой изготавливаются вставки трубопроводной арматуры с отверстиями малого диаметра и редукционного клапана, не только обладает большей износостойкостью, чем сталь или карбидные материалы, но и позволяет с большей точностью выдержать форму и размеры проходных отверстий и снизить тем самым разрушающее воздействие на клапан и арматуру возникающей в потоке нефти турбулентности.
Краткое описание чертежей
Приведенное выше краткое изложение сущности изобретения, а также последующее подробное описание предпочтительного варианта его выполнения иллюстрируются прилагаемыми к описанию чертежами, на которых показано:
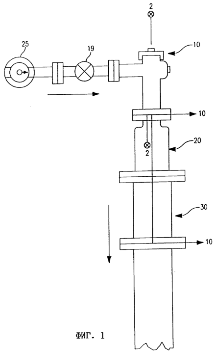
на фиг.1 – вид сбоку применяемого в нефтяных скважинах высокого давления сборного редукционного устройства,
на фиг.2 – разрез плоскостью 2-2 по фиг.1, на котором изображена внутренняя конструкция редукционного клапана,
на фиг.3 – разрез плоскостью 3-3 по фиг.2 керамической вставки, расположенной во входном канале редукционного клапана,
на фиг.4 – вариант выполнения керамической вставки, альтернативный варианту, изображенному на фиг.3,
на фиг.5 А – вид сбоку предназначенной для изменения направления потока нефти вставки, являющейся деталью редукционного клапана, изображенного на фиг.2,
на фиг.5 Б – вид снизу из плоскости 5В-5В предназначенной для изменения направления потока вставки, изображенной на фиг.5А,
на фиг.6А – вид сбоку шайбы со шпоночным выступом, являющейся деталью редукционного клапана, изображенного на фиг.2,
на фиг.6Б – вид с торца из плоскости 6В-6В шайбы со шпоночным выступом, изображенной на фиг.6А,
на фиг.7 – разрез плоскостью 7-7 по фиг.2 цилиндрической вставки, установленной в выходном канале редукционного клапана,
на фиг.8 – вид сбоку изготовленного целиком из керамики редуктора, являющегося деталью редукционного клапана, изображенного на фиг.2,
на фиг.9 – вариант выполнения редуктора, альтернативный варианту, изображенному на фиг.8,
на фиг.10 – разрез плоскостью 10-10 по фиг.1 фланцевых переходников, используемых в сборном редукционном устройстве, изображенном на фиг.1,
на фиг.11 – вид сбоку альтернативного варианта выполнения редукционного клапана по настоящему изобретению,
на фиг.12 – разрез плоскостью 12-12 по фиг.11 керамической вставки, установленной во входном канале редукционного клапана, изображенного на фиг.11, и
на фиг.13 – разрез плоскостью 13-13 по фиг.11 керамической вставки, установленной в выходном канале редукционного клапана, изображенного на фиг.11.
Предпочтительный вариант выполнения изобретения
Ниже со ссылкой на соответствующие чертежи, на которых одни и те же или равнозначные детали обозначены одинаковыми позициями, описан один из вариантов возможного выполнения предлагаемого в изобретении редуцирующего давление нефти устройства, которое может быть смонтировано в устье нефтяной скважины высокого давления. На чертежах стрелками показано направление потока нефти, протекающей через сборное редукционное устройство из скважины в трубопровод, идущий к оборудованию для переработки нефти. Показанный на чертеже редукционный клапан 10 соединен через запорный клапан 19 с коллектором 25 устья скважины. Нижний фланец редукционного клапана 10 соединен с первым фланцевым переходником 20, который в свою очередь соединен со вторым фланцевым переходником 30. Второй переходник 30 соединен с трубопроводом, ведущим к оборудованию для переработки нефти (не показано).
Металлический корпус редукционного клапана 10, показанного на фиг.2, имеет входной канал или входное отверстие 11, внутреннюю полость 16, в которой происходит изменение направления потока нефти, выходной канал или выходное отверстие 17 и углубление 18 под шайбу со шпоночным выступом. В выходном отверстии 17 расположен дроссель или редуктор 40 с шестигранной головкой 42 и уплотняющим буртиком 43, который находится в полости 16 рядом с входным отверстием 11. Во входном отверстии 11 редукционного клапана установлен элемент внутренней облицовки или вставка 50, а в выходном отверстии 17 установлена вставка 80. Вставки 50 и 80 защищают соответствующие внутренние стенки отверстий 11 и 17 от эрозии, связанной с воздействием на них выходящей из скважины смеси нефти и песка. Во внутренней полости 16 расположена вставка 60, изменяющая направление потока нефти и защищающая внутренние стенки полости 16 от эрозии и износа. В углублении 18 у конца полости 16 рядом с выходным отверстием 17 расположена шайба 70 со шпоночным выступом. Эта шайба 70 защищает от эрозии и износа металлические поверхности углубления 18.
Внутренняя полость 16 клапана закрыта сверху крышкой 15. Сняв крышку, во внутреннюю полость 16 клапана можно вставить или извлечь из нее вставку 60, изменяющую направление потока, и шайбу 70 со шпоночным выступом. Для доступа в полость 16 необходимо отвинтить и снять крышку 15. После этого вставку 60 можно извлечь из полости 16. Вынув вставку 60 и наклонив шайбу 70, из полости 16 через освободившееся углубление 18 можно извлечь шайбу 70, предварительно наклонив ее. Вынув из корпуса вставку 60 и шайбу 70, можно получить доступ к шестигранной головке 42 и установить в корпус или извлечь из него редуктор 40.
В крышке 15 выполнено отверстие 13, предназначенное для присоединения манометра или другого прибора, измеряющего давление нефти. Еще одно отверстие 14, предназначенное для той же цели, предусмотрено в корпусе редукционного клапана 10 рядом с углублением 18, в которое устанавливается шайба со шпоночным выступом.
Входное отверстие 11 цилиндрической формы имеет входной участок и выходной участок 52, диаметр которого меньше диаметра входного участка. На стыке этих двух участков выполнен буртик 12, служащий упором для вставки 50. Вставка 50 входного отверстия, выполненная в соответствии с настоящим изобретением, показана на фиг.3. Как и само входное отверстие, устанавливаемая в него цилиндрическая вставка 50 также имеет входной и выходной участки. Наружные диаметры входного и выходного участков вставки 50 соответственно равны внутренним диаметрам входного и выходного участков отверстия 11. При установке внутреннего конца 52 вставки 50 в отверстие 11 буртик 53 вставки 50, образовавшийся из-за разницы диаметров ее входного и выходного участков, упирается во внутренний буртик 12 входного отверстия. Буртик 53, упирающийся в буртик 12, препятствует при прохождении через клапан потока нефти перемещению вставки во внутреннюю полость 16 клапана. По всей длине вставки 50 от ее входа 51 до выхода 52 проходит сквозной канал или отверстие. На входе 51 в это отверстие предпочтительно выполнить скругленную фаску, уменьшающую образование турбулентности в потоке нефти, протекающей через вставку 50. В варианте, показанном на фиг.3, внутреннее отверстие вставки сужается к ее выходному концу 52. Конический участок 54 отверстия несколько снижает давление и уменьшает образование турбулентности в потоке нефти, протекающей через входное отверстие 11 клапана. Расположенная во входном отверстии клапана вставка 50 изготовлена из керамики.
На фиг.4 показан другой вариант выполнения элемента внутренней облицовки клапана или вставки 50. В варианте, показанном на фиг.4, внутреннее отверстие 55 вставки имеет постоянное поперечное сечение, что позволяет повысить количество протекающей через вставку нефти.
На фиг.2, 5А и 5Б показана вставка 60, в которой происходит изменение направления потока нефти и которая расположен во внутренней полости 16 редукционного клапана 10 (см. фиг.2). Вставка 60 также изготовлена из керамики. Эта вставка представляет собой цилиндр, наружный диаметр которого обеспечивает ее плотную посадку в отверстие внутренней полости 16. На конце вставки 60 имеется вырез 64. Размеры выреза позволяют разместить в нем головку 42 и буртик 43 редуктора 40, полностью ввернутого в выходное отверстие 17. В центре вставки 60 выполнен сквозной канал или сквозное отверстие 61, соединяющее вырез 64 с отверстием 13, предназначенным для присоединения манометра. На цилиндрической поверхности вставки 60 выполнен паз 62, проходящий вдоль части длины образующей цилиндра. Сквозное отверстие 63, соединяющее вырез 64 и паз 62, предназначено для прохода нефти из выреза 64 к отверстию 14, которое проходит к манометру.
На фиг.2, 6А и 6Б показана шайба 70 со шпоночным выступом, расположенная в углублении 18 редукционного клапана 10 (см. фиг.2). Шайба 70 имеет отверстие 71, ось которого совпадает с осями отверстий 14 и 63 и через которое нефть попадает из выреза 64 в отверстие 14. Шпоночный выступ 72 шайбы 70, толщина которого соответствует ширине паза 62 вставки 60, обеспечивает правильное взаимное расположение вставок 70 и 60. Шайба 70 также изготовлена из керамики.
На фиг.2 и 7 показана вставка 80, расположенная в выходном отверстии 17 редукционного клапана 10 (см. фиг.2). Эта вставка выполнена в виде цилиндра, наружный диаметр которого обеспечивает ее плотную посадку в выходном отверстии 17. Плотная посадка вставки 80 препятствует попаданию нефти при ее обратном течении в зазор между вставкой и внутренней поверхностью отверстия 17. Длина вставки 80 меньше длины отверстия 17, в котором поэтому остается место для крепления редуктора 40 к корпусу клапана 10. В рассматриваемом варианте редуктор 40 соединен резьбой с выходным отверстием 17 корпуса. Вставка 80 изготовлена из керамики.
Как показано на фиг.2, редуктор 40 клапана расположен в его выходном отверстии 17 и частично входит внутрь полости 16, в которой происходит изменение направления потока нефти. На фиг.8 показан предпочтительный вариант конструкции редуктора 40. В этом варианте редуктор 40 выполнен в виде цилиндра, наружный диаметр которого равен внутреннему диаметру вставки 80, установленной в выходном отверстии клапана. На наружной поверхности редуктора рядом с буртиком 43 выполнена резьба 44. Редуктор 40 изготовлен из керамики. По всей длине редуктора проходит центральный канал или отверстие 45 с входным и выходным участками 41 и 49. Диаметр отверстия 45 увеличивается от входа в редуктор к выходу из редуктора, и поэтому давление протекающей через редуктор нефти, которая попадает в него через входной участок, снижается. У редуктора 40, до упора ввернутого в выходное отверстие 17, уплотняющий буртик 43 упирается в прокладку, препятствуя проникновению абразивной смеси нефти и песка из внутренней полости 16 клапана в зазор между редуктором и корпусом клапана. Прокладку предпочтительно изготовить из обычно применяемого для изготовления прокладок материала на основе Buena-N или другого эквивалентного ему материала.
На фиг.9 показан другой вариант конструкции предлагаемого в изобретении редуктора 40. В этом варианте цилиндрический корпус редуктора имеет головку 92 с большим количеством входных отверстий 46, через которые нефть попадает внутрь редуктора. По длине редуктора проходит центральное отверстие 48. Это отверстие имеет по всей длине постоянное сечение и проходит от головки 92 до расположенного на другом конце редуктора 40 выхода 94. Входные отверстия 46 головки сообщаются с центральным отверстием 48 редуктора. К головке 92 примыкает шестигранный буртик 47, расположенный на внешней цилиндрической поверхности редуктора. Шестигранный буртик 47 заменяет собой шестигранную головку 42 и буртик 43 в варианте, показанном на фиг.8.
Как показано на фиг.2, для извлечения керамических вставок 50 и 80 из корпуса клапана необходимо отсоединить друг от друга фланцы соединений на обоих концах редукционного клапана 10, вынуть редукционный клапан из трубопровода и затем вытащить вставки 50 и 80 соответственно из входного и выходного каналов (отверстий) 11 и 17 клапана. Для установки редукционного клапана с новыми (после замены) вставками на трубопровод все указанные операции выполняются в обратном порядке.
На фиг.10 показаны соединенные фланцами первый переходник 20 и второй переходник 30. Первый переходник 20 имеет стальной корпус с центральным продольным каналом или отверстием 21 с постоянным по всей длине поперечным сечением. Размер наружного диаметра 23 изготовленного из керамики элемента внутренней облицовки или вставки 22, одинаковый по всей ее длине, обеспечивает возможность установки вставки в центральное отверстие 21 переходника 20 по легкопрессовой посадке. Длина вставки 22 равна всей длине отверстия 21. Вставка имеет центральное проходное отверстие 24, проходящее по всей ее длине. Диаметр отверстия 24 постепенно увеличивается в направлении течения нефти от входного фланца переходника 20, соединенного с редукционным клапаном 10, до выходного фланца, соединенного с входным фланцем второго переходника 30. Постепенное увеличение диаметра отверстия 24, по которому проходит абразивная смесь нефти и песка, уменьшает возникающую в потоке турбулентность, способствующую износу и эрозии стенок отверстия, и способствует тем самым увеличению долговечности переходника 20.
Второй переходник 30 также имеет стальной корпус с центральным продольным каналом или отверстием 31. Размер наружного диаметра 33 керамической вставки 32, постоянный по всей ее длине, обеспечивает возможность установки вставки в центральное отверстие 31 переходника 30 по легкопрессовой посадке. Во вставке 32 имеется центральное проходное отверстие 36, проходящее от ее входного фланца, соединенного с выходным фланцем первого переходника, до выходного фланца, соединенного с фланцем трубопровода, идущего к оборудованию для переработки нефти (не показано). Центральное отверстие 36 имеет расширяющийся участок 34 и участок 35 с постоянным поперечным сечением. Расширяющийся участок 34 начинается на входе в отверстие и занимает определенную часть длины керамической вставки 32. Конусность расширяющегося участка совпадает с конусностью отверстия 24 первого переходника 20, и поэтому отверстие 36 фактически является продолжением отверстия 24. Внутренний диаметр участка 35 с постоянным поперечным сечением равен внутреннему диаметру соединенного с переходником 30 трубопровода.
Как отмечено выше, редуктор 40, вставка 50, установленная во входном отверстии клапана, вставка 60, в которой происходит изменение направления потока нефти, шайба 70 со шпоночным выступом, вставка 80, установленная в выходном отверстии клапана, и вставки 22 и 32 переходников изготовлены из керамики. Для изготовления редуктора и вставок используются различные технические керамические материалы, обладающие максимальной износостойкостью и прочностью. К предпочтительным керамическим материалам относятся оксид алюминия (алюмооксидная керамика), оксид хрома, высокопрочная алюмооксидная керамика, оксид титана, керамика из диоксида циркония (цирконийдиоксидная керамика), в том числе полностью или частично стабилизированная цирконийдиоксидная керамика, и различные комбинации из этих оксидов. Почти любой тип такой металлооксидной керамики обладает требуемыми свойствами. Исключительно высокие результаты были получены при испытаниях различных элементов трубопроводной арматуры, оснащенных вставками из керамики, изготовленных из частично стабилизированной цирконийдиоксидной керамики (ЧСЦ). К такого рода ЧСЦ-керамике, которую можно с успехом использовать для изготовления описанных выше деталей, относятся Mg-ЧСЦ и стекловидная ЧСЦ-керамика. Для изготовления редуктора и вставок можно также использовать керамику из нитрида кремния, кварца и карбида кремния.
На фиг.11 показан другой вариант конструкции редукционного клапана, предлагаемого в настоящем изобретении. Такой редукционный клапан 110 имеет металлический корпус 120 с входным каналом (отверстием) 111 и выходным каналом (отверстием) 117. Входное отверстие 111 имеет входной участок 115 и выходной участок 116, на стыке между которыми расположен буртик 112. Во входное отверстие 111 клапана установлен элемент внутренней облицовки или вставка 150, а в выходное отверстие 117 – вставка 180. Помимо других своих функций вставки 150 и 180 защищают внутренние поверхности отверстий 111 и 117 от эрозии и воздействия протекающей через редукционный клапан 110 смеси нефти с песком. В металлическом корпусе 120 имеется отверстие 114 для присоединения манометра или другого прибора для измерения давления. Отверстие 114 соединено с выходным отверстием 117 клапана.
Во входное отверстие 111 клапана по скользящей посадке установлена вставка 150. Как показано на фиг.12, эта вставка 150 выполнена в виде цилиндра и имеет входной участок 151 и выходной участок 152, диаметр которого меньше диаметра входного участка. Наружные диаметры входного и выходного участков вставки 150 соответственно равны внутренним диаметрам входного участка 115 и выходного участка 116 отверстия 111. При установке вставки 150 в отверстие 111 ее расположенный на наружной поверхности буртик 153 упирается во внутренний буртик 112 отверстия. Буртик 153, упирающийся в буртик 112, препятствует перемещению вставки 150 в направлении вставки 180 под действием потока протекающей через редукционный клапан 110 нефти. По всей длине вставки 150 от ее входного участка 151 до расположенного на конце выходного участка 152 проходит центральное внутреннее отверстие 154. Отверстие 154 предпочтительно выполнить коническим, уменьшив тем самым турбулентность, возникающую в протекающем через вставку 150 потоке нефти. В варианте, показанном на фиг.12, внутреннее отверстие (внутренний канал) вставки сужается к ее выходному концу 152. Для изготовления вставки 150 предпочтительно использовать упомянутые выше керамические материалы.
Как показано на фиг.11, в выходном отверстии 117 клапана по скользящей посадке установлен элемент внутренней облицовки или вставка 180. Вставка 180 выполнена в виде цилиндра и имеет входной участок 181 и выходной участок 182, как это показано на фиг.13. Вставка 180 имеет радиальное отверстие 183, расположенное на оси отверстия 114 под манометр. Радиальное отверстие 183 вставки 180 соединено с ее центральным каналом (отверстием) 184. У входного конца 181 вставки 180 предусмотрено окно 185. Размеры и положение по существу цилиндрического окна 185 позволяют разместить в нем внутренний конец 155 вставки 150. По длине вставки 180 от ее входного конца 181 до выходного конца 182 проходит отверстие 184. Диаметр отверстия 184 у выходного конца 182 вставки постепенно увеличивается, что позволяет уменьшить турбулентность, возникающую в потоке смеси нефти и песка и ускоряющую износ и эрозию стенок центрального отверстия вставки. Вставку 180 предпочтительно изготовить из упомянутых выше керамических материалов.
Редукционный клапан, выполненный по этому варианту изобретения, имеет вставки, установленные только в его входном и выходном отверстиях. Вставки установлены в эти отверстия по скользящей посадке и защищают металлические стенки отверстий от эрозионного износа. Выполненный таким образом редукционный клапан имеет меньше элементов, чем рассмотренный выше, и поэтому прост в сборке-разборке. Вставки, установленные во входном и выходном отверстиях клапана, соединены между собой и надежно зафиксированы внутри клапана.
Приведенное выше описание и приложенные к нему чертежи подтверждают, что в настоящем изобретении предложены новые средства повышения долговечности элементов трубопроводной арматуры нефтяных скважин высокого давления и поддержания в скважине необходимого рабочего давления за счет существенного уменьшения интенсивности абразивного износа элементов сборных редукционных устройств, встраиваемых в трубопровод в устье скважины высокого давления. Следует отметить, что помимо рассмотренных в описании конкретных деталей и узлов этих устройств, таких как керамический редуктор, редукционный клапан с керамическими вставками, фланцевые переходники с керамическими вставками, настоящее изобретение относится к любым изготовленным из металла элементам подобных устройств, которые подвержены эрозионному износу под воздействием потока смеси нефти с песком в скважинах очень высокого давления и которые можно целиком изготовить из керамики или облицевать керамикой, существенно снизив тем самым интенсивность их износа и эрозии. Существенным преимуществом изобретения является возможность работы нефтяных скважин высокого давления, оснащенных выполненной по настоящему изобретению арматурой с керамическими элементами, при необходимом высоком давлении и при низком содержании песка в добываемой нефти. Минимальный износ предлагаемых в изобретении устройств позволяет по сравнению с известными устройствами такого типа намного дольше поддерживать в работающей скважине необходимое высокое давление. При этом существенно снижаются потери, вызванные простоями скважины из-за необходимости замены арматуры, поскольку керамические элементы арматуры обладают повышенной износостойкостью и более совершенной в отношении режима течения геометрией проходных каналов.
Для специалистов в данной области техники очевидно, что в описанные выше варианты возможного выполнения изобретения могут быть внесены различные не нарушающие основных принципов изобретения изменения и усовершенствования. Очевидно, что изобретение не ограничено какими-либо конкретными вариантами его осуществления, а охватывает все возможные модификации и изменения рассмотренных выше конструкций, не выходящие за объем изобретения, определяемый формулой изобретения.
Формула изобретения
1. Редуктор давления для нефтяной скважины высокого давления, имеющий вытянутый в длину, по существу цилиндрический корпус с входным и выходным концами, изготовленный из технической керамики, выбранной из группы, включающей оксид алюминия, оксид хрома, оксид титана, диоксид циркония, частично стабилизированный диоксид циркония и их различные комбинации, а также нитрид кремния, карбид кремния, канал для прохода нефти, который проходит в корпусе редуктора вдоль его центральной продольной оси от входного конца до выходного конца и заканчивается у выходного конца выходным отверстием, входное отверстие, которое выполнено во входном конце корпуса редуктора и сообщено с выполненным в нем каналом для прохода нефти, устройство для крепления корпуса редуктора в отверстии корпуса редукционного клапана, ограничивающее возможность его перемещения в отверстии корпуса редукционного клапана давления в осевом направлении, и уплотняющее устройство, выполненное на входном конце корпуса редуктора и образующее герметичное уплотнение между корпусом редуктора и корпусом редукционного клапана, препятствующее проникновению нефти в зазор между корпусом редуктора и корпусом редукционного клапана.
2. Редуктор давления по п.1, в котором канал для прохода нефти выполнен таким образом, что в нем происходит снижение давления протекающей по нему нефти.
3. Редуктор давления по п.1, в котором цилиндрический корпус изготовлен из керамики на основе частично стабилизированного диоксида циркония.
4. Редуктор давления по п.3, в котором частично стабилизированным диоксидом циркония является частично стабилизированный диоксид циркония, содержащий магний.
5. Редуктор давления по п.3, в котором частично стабилизированным диоксидом циркония является стабилизированный диоксид циркония, содержащий иттрий.
6. Редуктор давления по любому из пп.1-5, в котором входное отверстие выполнено на продольной оси корпуса и в нем оканчивается канал для прохода нефти.
7. Редуктор давления по любому из пп.1-5, в котором устройство крепления содержит наружную резьбу, выполненную на корпусе редуктора, совпадающую по размерам и форме с внутренней резьбой, выполненной в отверстии корпуса редукционного клапана, и плоские грани, выполненные на входном конце корпуса редуктора и предназначенные для использования инструмента, которым корпус редуктора можно ввернуть или вывернуть из отверстия корпуса редукционного клапана.
8. Редуктор давления по п.7, в котором уплотнительное устройство выполнено на корпусе редуктора в виде расположенного рядом с его входным концом цилиндрического буртика.
9. Редуктор давления по любому из пп.1-5, в котором уплотнительное устройство выполнено на корпусе редуктора в виде расположенного рядом с его входным концом цилиндрического буртика.
10. Редуктор давления по п.9, в котором устройство крепления содержит наружную резьбу, выполненную на корпусе редуктора, совпадающую по размерам и форме с внутренней резьбой, выполненной в отверстии корпуса редукционного клапана, и цилиндрический буртик с плоскими гранями, предназначенный для использования инструмента, которым корпус редуктора можно ввернуть или вывернуть из отверстия корпуса редукционного клапана.
11. Редуктор давления по п.9, в котором входное отверстие расположено под углом к продольной оси.
12. Редуктор давления по любому из пп. 1-5, в котором канал для прохода нефти выполнен расширяющимся с изменением диаметра от минимального на входе до максимального на выходе.
13. Сборный редукционный клапан нефтяной скважины высокого давления, имеющий изготовленный из металла корпус с входным каналом, выходным каналом и полостью, выполненной с возможностью изменения направления потока нефти, первую керамическую вставку, расположенную во входном канале, неподвижный редуктор давления, расположенный в выходном канале и имеющий вытянутый в длину, по существу цилиндрический корпус с входным и выходным концами, изготовленный из технической керамики, выбранной из группы, включающей оксид алюминия, оксид хрома, оксид титана, диоксид циркония, частично стабилизированный диоксид циркония и их различные комбинации, а также нитрид кремния, карбид кремния, канал для прохода нефти, который проходит в корпусе редуктора вдоль его центральной продольной оси от входного конца до выходного конца и заканчивается у выходного конца выходным отверстием, входное отверстие, которое выполнено во входном конце корпуса редуктора и сообщено с выполненным в нем каналом для прохода нефти, устройство для крепления корпуса редуктора в отверстии корпуса редукционного клапана, ограничивающее возможность его перемещения в отверстии корпуса редукционного клапана в осевом направлении, уплотняющее устройство, выполненное на входном конце корпуса редуктора и образующее герметичное уплотнение между корпусом редуктора и корпусом редукционного клапана, препятствующее проникновению нефти в зазор между корпусом редуктора и корпусом редукционного клапана, вторую керамическую вставку, расположенную в выходном канале между внутренней поверхностью выходного канала и редуктором давления, и третью керамическую вставку, расположенную в полости, в которой происходит изменение направления потока нефти, и служащую для облицовки внутренней поверхности полости, при этом керамические вставки, равно как и редуктор давления, изготовлены из технической керамики, выбранной из группы, включающей оксид алюминия, оксид хрома, оксид титана, диоксид циркония, частично стабилизированный диоксид циркония и их различные комбинации, а также нитрид кремния и карбид кремния.
14. Сборный редукционный клапан по п.13, в котором канал для прохода нефти выполнен таким образом, что в нем происходит снижение давления протекающей по нему нефти.
15. Сборный редукционный клапан по п.13, в котором цилиндрический корпус редуктора, первая керамическая вставка, вторая керамическая вставка и третья керамическая вставка изготовлены из керамики на основе частично стабилизированного диоксида циркония.
16. Сборный редукционный клапан по п.15, в котором частично стабилизированным диоксидом циркония является частично стабилизированный диоксид циркония, содержащий магний.
17. Сборный редукционный клапан по п.15, в котором частично стабилизированным диоксидом циркония является частично стабилизированный диоксид циркония, содержащий иттрий.
18. Сборный редукционный клапан по любому из пп. 13-17, в котором входной канал имеет входной участок с определенным внутренним диаметром и выходной участок, внутренний диаметр которого меньше внутреннего диаметра входного участка, первая керамическая вставка имеет входной участок, наружный диаметр которого по своим размерам соответствует внутреннему диаметру входного участка входного канала, и выходной участок, наружный диаметр которого по своим размерам соответствует внутреннему диаметру выходного участка входного канала, при этом входной участок первой керамической вставки соединен с ее выходным участком и образует на первой керамической вставке упорный буртик.
19. Сборный редукционный клапан по п.18, в котором внутренний диаметр первой керамической вставки имеет форму сужающегося конуса, диаметр которого постепенно меняется с диаметра входного участка к диаметру выходного участка, который меньше диаметра входного участка.
20. Сборный редукционный клапан по любому из пп. 13-17, в котором третья керамическая вставка состоит из вставки с полостью для изменения потока нефти и шайбы со шпоночным выступом.
21. Сборный редукционный клапан по п.20, в котором вставка с полостью для изменения направления потока нефти представляет собой цилиндр со шпоночным пазом и вырезом, выполненным на одном из концов цилиндра, первым сквозным отверстием, соединяющим между собой шпоночный паз и вырез, и вторым сквозным отверстием, соединяющим вырез со вторым концом цилиндра.
22. Сборный редукционный клапан по п.21, в котором шайба со шпоночным выступом представляет собой диск с выполненным на его плоской поверхности шпоночным выступом для вставления при сборке редукционного клапана в шпоночный паз вставки с полостью для изменения направления потока нефти.
23. Сборный редукционный клапан по любому из пп. 13-17, который также имеет фланцевый переходник, соединенный с корпусом клапана у выходного конца выходного канала и состоящий из металлического корпуса с центральным продольным каналом и расположенной в этом канале четвертой керамической вставкой с продольным каналом для прохода нефти.
24. Сборный редукционный клапан по п.23, в котором канал для прохода нефти четвертой керамической вставки имеет входной конец и выходной конец и выполнен в виде конуса с поперечным сечением, постепенно увеличивающимся от входного конца к выходному концу.
25. Элементы внутренней конструкции сборного редукционного клапана, состоящие из корпуса (150), расположенного выше по ходу потока канала для прохода нефти, который имеет входной конец (151), выходной конец (152) и соединяющее их отверстие (154), расположенное на продольной оси корпуса, и корпуса (180), расположенного ниже по ходу потока канала для прохода нефти, который имеет входной конец (181), выходной конец (182) и соединяющее их отверстие (184), расположенное на продольной оси корпуса, с выполненным на его входном конце, расположенным определенным образом и имеющим определенные размеры, боковым окном (185), в котором можно разместить выходной конец (152) корпуса (150), расположенного выше по ходу потока канала, и которое сообщается с первым участком продольного отверстия (184) корпуса, расположенного ниже по ходу потока канала, которое имеет второй участок, ось которого совпадает с осью первого участка и который проходит от первого участка до выходного конца (182) корпуса, расположенного ниже по ходу потока канала, при этом этот второй участок продольного отверстия корпуса, расположенного ниже по ходу потока канала, имеет выходное отверстие, выполненное на выходном конце (182) корпуса, расположенного ниже по ходу потока канала, первый участок продольного отверстия корпуса, расположенного ниже по ходу потока канала, имеет внутреннее поперечное сечение, которое меньше внутреннего поперечного сечения продольного отверстия корпуса, расположенного выше по ходу потока канала, а его второй участок имеет внутреннее поперечное сечение, которое постепенно увеличивается в размерах от первого участка до выходного отверстия и корпуса, расположенных выше и ниже по ходу потока каналов, изготовлены из технической керамики, выбранной из группы, включающей оксид алюминия, оксид хрома, оксид титана, диоксид циркония, частично стабилизированный диоксид циркония и их различные комбинации, а также нитрид кремния, карбид кремния.
26. Элементы внутренней конструкции сборного редукционного клапана по п.25, в которых расположенный выше по ходу потока канал имеет первый участок, который начинается у его входного конца, и второй участок, который расположен на оси первого участка и соединяет его с выходным концом, и имеет внутреннее поперечное сечение, которое постепенно уменьшается от первого участка к выходному концу.
27. Элементы внутренней конструкции сборного редукционного клапана по п.25, в которых корпус расположенного ниже по ходу потока канала имеет выполненное в боковом окне расположенное определенным образом и имеющее определенные размеры входное отверстие, которое совпадает со вторым участком расположенного выше по ходу потока канала.
28. Элементы внутренней конструкции сборного редукционного клапана по п.25, в которых корпус расположенного ниже по ходу потока канала имеет радиальное, выполненное на входе в канал отверстие, расположенное под углом к боковому окну и соединенное на конце с расположенным ниже по ходу потока каналом.
29. Элементы внутренней конструкции сборного редукционного клапана по п.25, в которых корпус расположенного ниже по ходу потока канала имеет, по существу, цилиндрическую форму.
30. Элементы внутренней конструкции сборного редукционного клапана по п.25, в которых корпуса расположенных выше и ниже по ходу потока каналов изготовлены из керамики на основе частично стабилизированного диоксида циркония.
31. Элементы внутренней конструкции сборного редукционного клапана по п.30, в которых частично стабилизированным диоксидом циркония является частично стабилизированный диоксид циркония, содержащий магний.
32. Элементы внутренней конструкции сборного редукционного клапана по п.30, в которых частично стабилизированным диоксидом циркония является частично стабилизированный диоксид циркония, содержащий иттрий.
33. Редукционный клапан для нефтяной скважины высокого давления, содержащий изготовленный из металла корпус (120), который имеет входной канал и соединенный с ним выходной канал, расположенную во входном канале корпуса вставку (150) с расположенным выше по ходу потока каналом для прохода нефти, который имеет входной конец (151), выходной конец (152) и соединяющее их отверстие (154), расположенное на продольной оси вставки, и вставку (180) с расположенным ниже по ходу потока каналом для прохода нефти, который имеет входной конец (181), выходной конец (182) и соединяющее их отверстие (184), расположенное на продольной оси вставки, и выполненным на ее входном конце расположенным определенным образом и имеющим определенные размеры боковым окном (185), в котором можно разместить выходной конец вставки (150) с расположенным выше по ходу потока каналом и которое сообщено с первым участком продольного отверстия (184) вставки с расположенным ниже по ходу потока каналом, которое имеет второй участок, ось которого совпадает с осью первого участка и который проходит от первого участка до выходного конца (182) вставки с расположенным ниже по ходу потока каналом, при этом этот второй участок продольного отверстия вставки с расположенным ниже по ходу потока каналом имеет выходное отверстие, выполненное на выходном конце (182) вставки с расположенным ниже по ходу потока каналом, первый участок продольного отверстия вставки с расположенным ниже по ходу потока каналом имеет внутреннее поперечное сечение, которое меньше внутреннего поперечного сечения продольного отверстия (154), вставки с расположенным выше по ходу потока каналом, а его второй участок имеет внутреннее поперечное сечение, которое постепенно увеличивается в размерах от первого участка до выходного отверстия, и вставки с расположенными выше и ниже по ходу потока каналами изготовлены из технической керамики, выбранной из группы, включающей оксид алюминия, оксид хрома, оксид титана, диоксид циркония, частично стабилизированный диоксид циркония и их различные комбинации, а также нитрид кремния и карбид кремния.
34. Редукционный клапан для нефтяной скважины высокого давления по п. 33, в котором расположенный выше по ходу потока канал имеет первый участок, который начинается у его входного конца, и второй участок, который расположен на оси первого участка и соединяет его с выходным концом, и имеет внутреннее поперечное сечение, которое постепенно уменьшается от первого участка к выходному концу.
35. Редукционный клапан для нефтяной скважины высокого давления по п.33, в котором вставка с расположенным ниже по ходу потока каналом имеет выполненное в боковом окне, расположенное определенным образом и имеющее определенные размеры входное отверстие, которое совпадает со вторым участком расположенного выше по ходу потока канала.
36. Редукционный клапан для нефтяной скважины высокого давления по п.33, в котором вставка с расположенным ниже по ходу потока каналом имеет радиальное, выполненное на входе в канал отверстие, расположенное под углом к боковому окну и соединенное на конце с расположенным ниже по ходу потока каналом.
37. Редукционный клапан для нефтяной скважины высокого давления по п. 33, в котором входной канал изготовленного из металла корпуса имеет входной участок (115) и выходной участок (116), на стыке между которыми расположен буртик (112), в который упирается буртик (153), выполненный на вставке (150) с расположенным выше по ходу потока каналом.
38. Редукционный клапан для нефтяной скважины высокого давления по п.33, в котором вставка с расположенным ниже по ходу потока каналом имеет, по существу, цилиндрическую форму.
39. Редукционный клапан для нефтяной скважины высокого давления по п.33, в котором вставки с расположенными выше и ниже по ходу потока каналами изготовлены из керамики на основе частично стабилизированного диоксида циркония.
40. Редукционный клапан для нефтяной скважины высокого давления по п.39, в котором частично стабилизированным диоксидом циркония является частично стабилизированный диоксид циркония, содержащий магний.
41. Редукционный клапан для нефтяной скважины высокого давления по п. 33, в котором частично стабилизированным диоксидом циркония является частично стабилизированный диоксид циркония, содержащий иттрий.
РИСУНКИ
MM4A – Досрочное прекращение действия патента СССР или патента Российской Федерации на изобретение из-за неуплаты в установленный срок пошлины за поддержание патента в силе
Дата прекращения действия патента: 29.11.2005
Извещение опубликовано: 10.01.2008 БИ: 01/2008
|
|