|
(21), (22) Заявка: 2003106380/12, 06.03.2003
(24) Дата начала отсчета срока действия патента:
06.03.2003
(30) Конвенционный приоритет:
10.09.2002 (пп.1-7) DE 10242208.7
(43) Дата публикации заявки: 20.10.2004
(45) Опубликовано: 10.09.2005
(56) Список документов, цитированных в отчете о поиске:
FR 2707328 A1, 13.01.1995. FR 2256304 A1, 25.07.1975. DE 3332360 A1, 28.03.1985. ЕР 0856627 А2, 05.08.1998. RU 2107798 С1, 27.03.1998.
Адрес для переписки:
129010, Москва, ул. Б.Спасская, 25, стр.3, ООО “Юридическая фирма Городисский и Партнеры”, пат.пов. Е.И.Емельянову
|
(72) Автор(ы):
ГЕРХАРТ Гюнтер (DE)
(73) Патентообладатель(и):
РАУМПЛЮС ГУДДАС ГМБХ УНД КО.КГ (DE)
|
(54) СТЕНОВОЙ ИЛИ ДВЕРНОЙ ЭЛЕМЕНТ С ХОДОВЫМИ РОЛИКАМИ
(57) Реферат:
Стеновой и дверной элемент установлен с возможностью перемещения нижними ходовыми роликами на напольных ходовых рельсах с проходящей в продольном направлении направляющей канавкой. Каждый ходовой ролик установлен на соответствующей опоре для роликов, с которой соединен предохранительный элемент, входящий предохранительными крюками в ходовой рельс. Предохранительный элемент состоит из профильной детали, установленной с возможностью поворота на оси вращения ходового ролика, и независим от возможных движений приподнимания стенового и дверного элемента относительно ходового ролика. Каждый ходовой ролик установлен с возможностью вращения на соосной неподвижной втулке, а предохранительный элемент установлен на втулке. Данное техническое решение повышает надежность в работе стенового и дверного элемента. 6 з.п. ф-лы, 6 ил. 
Изобретение относится к стеновому или дверному элементу с (нижними) ходовыми роликами, которые могут перемещаться по напольным, выполненным пустотелыми, ходовым рельсам с проходящей в продольном направлении канавке, причем ходовые ролики установлены на регулируемой опоре роликов, и она соединена с элементом.
Подобные стеновые или дверные элементы называются также скользящими стенками и скользящими дверями. Обычно они состоят из проходящей по периферии, замкнутой несущей рамы с полыми профилями, предпочтительно из алюминия. Вверху и внизу на элементах установлены ходовые ролики. Нижние ходовые ролики входят в канавку напольного ходового рельса и перемещаются с обеспечением боковой направляющей вдоль ходового рельса. Обычно с рамой соединен наполнитель, состоящий из пластинчатых элементов(FR 2707328 A1).
Для подгонки стенового или дверного элемента к строительным условиям на месте имеется возможность регулирования по высоте. Так как ходовые ролики должны иметь постоянный контакт с напольными ходовыми рельсами, элемент имеет возможность подъема и опускания относительно ходовых роликов. С этой целью опора роликов регулируется и выполнена предпочтительно как поворотный рычаг. При закрытых с обеих сторон элементах опора роликов приводится в действие с узкой стороны элемента, а именно для регулировки элемента по высоте отклоняется в одном или другом направлении.
В основе изобретения лежит задача улучшения работы стеновых или дверных элементов вышеописанного типа, в частности ходовых роликов на нижних ходовых рельсах. Задача в стеновом и дверном элементе, установленном с возможностью перемещения нижними ходовыми роликами на напольных, выполненных в виде полого профиля ходовых рельсах с проходящей в продольном направлении направляющей канавкой, причем каждый ходовой ролик установлен на соответствующей установленной с возможностью перемещения опоре для роликов, с которой соединен предохранительный элемент, входящий предохранительными крюками в ходовой рельс, согласно изобретению решается тем, что предохранительный элемент состоит из профильной детали, установленной с возможностью поворота на оси вращения ходового ролика, и независим от возможных движений приподнимания стенового и дверного элемента относительно ходового ролика, при этом каждый ходовой ролик установлен с возможностью вращения на соосной неподвижной втулке, а предохранительный элемент установлен на втулке.
Предохранительный элемент содержит две выполненные с промежутком друг от друга несущие стены, установленные по обеим сторонам ходового ролика на втулке.
Предохранительный элемент образует нижнюю распорку, причем предохранительные крюки установлены по обеим сторонам ходового ролика на концевых участках распорки.
Предохранительный элемент имеет треугольную форму, причем верхний соосный угловой участок установлен на втулке.
Ходовой ролик установлен на опоре для роликов, которая соединена с возможностью вращения с рамой, причем опора имеет две установленные с промежутком друг от друга опорные полки, а ось ролика проходит между опорными полками так, что ходовой ролик установлен между опорными полками.
Обе установленные с промежутком друг от друга несущие стены предохранительного элемента установлены между опорными полками опоры для роликов.
Ходовые ролики имеют соосные направляющие венцы для входа в направляющую канавку ходового рельса и с обеих сторон направляющего венца прилегающие к ходовому рельсу опорные поверхности, причем опорные поверхности имеют направленный наружу сходящий наклон около 5°.
Стеновой или дверной элемент согласно изобретению замещен предохранительным элементом в результате анкерного крепления в полом ходовом рельсе от приподнимания. Предохранительный элемент выполнен предпочтительно в виде перекидного рычага, установленного с возможностью поворота на оси вращения ходового ролика, и анкерными концами входит с геометрическим замыканием в ходовой рельс. Анкерные концы при этом выполнены в виде крючковых элементов с утолщениями или крючковыми элементами на концах в ходовом рельсе.
Вследствие расположения предохранительного элемента (исключительно) на оси вращения ходового ролика предохранительный элемент независим от возможных движений приподнимания элемента относительно ходового ролика. Тем самым опора для ролика может быть выполнена в виде соединительного элемента между ходовым роликом и элементом как орган, опрокидывающийся в вертикальной плоскости, который приводится в действие от узкой стороны закрытого элемента соответствующим инструментом.
Предохранительный элемент выполнен просто, состоит, в частности, из пластмассы. Вследствие установки предохранительного элемента на оси вращения ходового ролика блок ходового ролика выполняется просто и монтируется обычным образом.
Другие особенности изобретения поясняются ниже подробнее с помощью чертежей:
Фиг.1 – нижний участок стенового или дверного элемента, вид сбоку,
Фиг.2 – часть II фиг.1 в увеличенном масштабе,
Фиг.3 – блок ходового ролика с ходовым рельсом в перспективе в еще раз увеличенном масштабе,
Фиг.4 – блок ходового ролика по фиг.3, вид сбоку,
Фиг.5 – вертикальный разрез блока ходового ролика по фиг.4 в плоскости разреза V-V,
Фиг.6 – блок ходового ролика с вертикальным частичным разрезом и в виде спереди в нижней части.
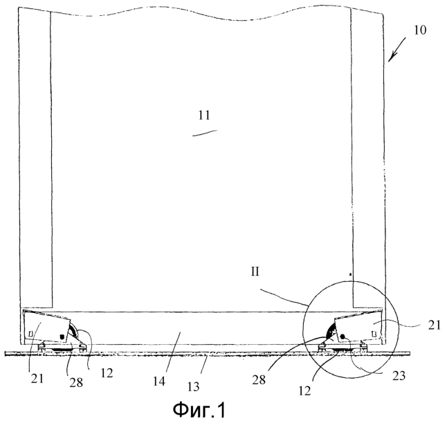
На фиг.1 показан нижний частичный участок стенового или дверного элемента, имеющего проходящую по периферии замкнутую раму 10. С обеих сторон рамы установлены крышки 11 так, что стеновой или дверной элемент закрыт с обеих сторон.
Стеновой или дверной элемент перемещается нижними ходовыми роликами 12 на установленном на полу ходовом рельсе 13. Два ходовых ролика 12 установлены на концах нижней поперечной перекладины 14 рамы 10.
Закрепленные на полу или в полу ходовые рельсы 13 выполнены в виде полого профиля, а именно с нижним фланцем 15 и двумя уголковыми опорными профилями 16, образующими собственно ходовые рельсы. Опорные профили 16 имеют обращенные друг к другу ходовые полки 17. Между ними образована средняя направляющая канавка 18.
Ходовые ролики 12 профилированы в соответствии с формой и габаритами ходового рельса 13. Средний проходящий вокруг центральной части направляющий венец 19 входит в направляющую канавку 18 ходового рельса 13 и создает таким образом боковую направляющую для ходовых роликов 12 и, тем самым, стенового и дверного элемента. Круговые опорные поверхности, образованные с обеих сторон направляющего венца 19, расположены на ходовых полках 17 с обеих сторон направляющей канавки 18 и обкатываются по ним. Ходовые ролики выполнены относительно формы этих опорных поверхностей 20 или буртиков особым образом, а именно с направленным наружу наклоном порядка (около) 5. Посредством такого несколько наклонного выполнения опорных поверхностей 20 достигаются улучшенные ходовые свойства ходовых роликов 20, в частности, так, что выравниваются неровности ходовых рельсов 13.
Каждый ходовой ролик 12 соединен регулируемым фиксатором с элементом или рамой 10. При этом речь идет об опоре 21 для роликов, которая в показанном примере выполнена в виде U-образной опорной детали, в частности из соответствующим образом обработанной жести. Ходовой ролик 12 позиционирован между вертикальными опорными полками 22. Направленная поперечно ось 23 ролика соединяет обе опорные полки 22 между собой. Ходовой ролик 12 установлен в шарикоподшипнике 24 на оси 23 ролика с возможностью вращения. В настоящем примере выполнения на оси 23 ролика установлена проходящая между опорными полками 22 втулка 25. На втулке вращается шарикоподшипник 24.
Ходовой ролик 12 несоосно, а именно на участке нижнего со стороны кромки угла, соединен с опорой 21 для роликов. На участке противолежащего угла опора 21 для ролика соединена с элементом или поперечиной 14, а именно через отверстие 26. Опора 21 для роликов регулируется, в данном случае путем движения поворота вокруг оси 23 ролика. Ходовой ролик 12 остается постоянно в положении прилегания к ходовому рельсу 13. Посредством движения поворота опоры 21 для роликов дверной или стеновой элемент приподнимается или опускается относительно ходового ролика 12. Для регулирования опоры 21 для роликов служит (непоказанная) исполнительная передача, которую можно приводить в действие через узкую сторону дверного или стенового элемента, то есть через правую поперечину рамы 10.
Дверной или стеновой элемент снабжен постоянным фиксатором от нежелательного подъема ходового ролика 12 от ходового рельса 13. Каждый блок 27 роликов, образованный из ходового ролика 12 и опоры 21 для ролика, имеет крепежный элемент и, соответственно, предохранительный элемент 28. Он снабжен анкерными или крючковыми элементами, которые с геометрическим замыканием, но все-таки с небольшим зазором могут входить в ходовой рельс 13 и путем опирания на ходовые полки 17 предотвращать подъем ходового ролика 12. В настоящем примере выполнения предохранительный элемент 28 состоит из профильной детали, в частности из пластмассы, состоящей из нижней распорки 29 и вертикальных несущих стен 30.
В показанном примере выполнения предохранительный элемент 28 (в виде сбоку) имеет треугольную форму. На верхнем участке несущие стены 30 соединены соосно с блоком 27 роликов, а именно с осью 23 ролика. Предохранительный элемент 28 согласно этому исключительно через ось 23 ролика соединен опорой 21 для роликов. Предохранительный элемент 28 имеет для этой цели две установленные с промежутком друг от друга несущие стены 30, которые позиционированы между опорными полками 22 опоры 21 для роликов и соответствующим отверстием насажены на втулку 25. Втулка 25 выполнена с этой целью с уступом на своих концах. На этом участке несущие стены установлены на втулку 25.
В соответствии с этим ходовой ролик 12 может свободно вращаться независимо от положения предохранительного элемента 28. На концах, а именно на концах распорки 29, установлены крепежные элементы, входящие утолщением в ходовой рельс 13. В настоящем примере выполнения предусмотрены два предохранительных крюка, закрепленные крюковыми выступами 33 в ходовом рельсе 13 с геометрическим замыканием. Выступы 33 обоих предохранительных крюков 31, 32 направлены в разные стороны.
Посредством такого выполнения блока 27 роликов с предохранительным элементом 28 обеспечивается, что дверной и стеновой элемент может придвигаться и отодвигаться, не влияя на положение предохранительного элемента 28.
Формула изобретения
1. Стеновой и дверной элемент, установленный с возможностью перемещения нижними ходовыми роликами (12) на напольных, выполненных в виде полого профиля ходовых рельсах (13) с проходящей в продольном направлении направляющей канавкой (18), причем каждый ходовой ролик (12) установлен на соответствующей установленной с возможностью перемещения опоре (21) для роликов, с которой соединен предохранительный элемент (28), входящий предохранительными крюками (31,32) в ходовой рельс (13), отличающийся тем, что предохранительный элемент (28) состоит из профильной детали, установленной с возможностью поворота на оси вращения ходового ролика (12), и независим от возможных движений приподнимания стенового и дверного элемента относительно ходового ролика, при этом каждый ходовой ролик (12) установлен с возможностью вращения на соосной неподвижной втулке (25), а предохранительный элемент (28) установлен на втулке.
2. Стеновой и дверной элемент по п.1, отличающийся тем, что предохранительный элемент (28) содержит две выполненные с промежутком друг от друга несущие стены (30), установленные по обеим сторонам ходового ролика (12) на втулке (25).
3. Стеновой и дверной элемент по п.1, отличающийся тем, что предохранительный элемент (28) образует нижнюю распорку (29), причем предохранительные крюки (31, 32) установлены по обеим сторонам ходового ролика (12) на концевых участках распорки (29).
4. Стеновой и дверной элемент по п.1, отличающийся тем, что предохранительный элемент (28) имеет треугольную форму, причем верхний соосный угловой участок установлен на втулке (25).
5. Стеновой и дверной элемент по п.1, отличающийся тем, что ходовой ролик (12) установлен на опоре (21) для роликов, которая соединена с возможностью вращения с рамой (10), причем опора (21) имеет две установленные с промежутком друг от друга опорные полки (22), а ось (23) ролика проходит между опорными полками (22) так, что ходовой ролик (12) установлен между опорными полками (22).
6. Стеновой и дверной элемент по п.1, отличающийся тем, что обе установленные с промежутком друг от друга несущие стены (30) предохранительного элемента (28) установлены между опорными полками (22) опоры (21) для роликов.
7. Стеновой и дверной элемент по п.1, отличающийся тем, что ходовые ролики (12) имеют соосные направляющие венцы (19) для входа в направляющую канавку (18) ходового рельса (13) и с обеих сторон направляющего венца (19) прилегающие к ходовому рельсу (13) опорные поверхности (20), причем опорные поверхности (20) имеют направленный наружу сходящий наклон около 5°.
РИСУНКИ
PD4A – Изменение наименования обладателя патента Российской Федерации на изобретение
(73) Новое наименование патентообладателя:
РАУМПЛЮС ГМБХ УНД КО. КГ (DE)
Адрес для переписки:
129090, Москва, ул. Б. Спасская, 25, стр. 3, ООО «Юридическая фирма Городисский и Партнеры»
Извещение опубликовано: 10.08.2009 БИ: 22/2009
|