|
|
(21), (22) Заявка: 2004102351/15, 27.01.2004
(24) Дата начала отсчета срока действия патента:
27.01.2004
(45) Опубликовано: 10.09.2005
(56) Список документов, цитированных в отчете о поиске:
SU 818475 A, 30.03.1981. SU 86030 A, 23.05.1964. SU 1003503 А, 10.08.1999. RU 2129988 C1, 10.05.1999. ЕР 0504764 В1, 01.03.1995. GB 1314385 А, 18.04.1973.
Адрес для переписки:
400074, г.Волгоград, ул. Академическая, 1, ВолгГАСУ, отдел интеллектуальной собственности
|
(72) Автор(ы):
Андрианов И.С. (RU), Сидоренко В.Ф. (RU), Полковников Ю.Ф. (RU), Андрианова Т.В. (RU)
(73) Патентообладатель(и):
Государственное образовательное учреждение высшего профессионального образования “Волгоградский государственный архитектурно-строительный университет” (ВолгГАСУ) (RU)
|
(54) СПОСОБ ПОЛУЧЕНИЯ АЛЮМИНИЯ ХЛОРИДА
(57) Реферат:
Изобретение относится к способам получения алюминия хлорида, который может быть использован в качестве катализатора при крекинге нефтепродуктов, в органическом синтезе, крашении тканей. Способ получения алюминия хлорида включает хлорирование алюминийсодержащего сырья, в качестве которого используют порошок алюминия высокой очистки. Хлорирование ведут в потоке хлорной высокочастотной плазмы в газовой фазе, где хлор является плазмообразующим газом и компонентом реакции. Изобретение позволяет упростить способ и повысить чистоту конечного продукта. 1 ил. 
Изобретение относится к способам получения алюминия хлорида, который может быть использован в качестве катализатора при крекинге нефтепродуктов, в органическом синтезе, крашении тканей.
Известен способ получения алюминия хлорида путем хлорирования алюминийсодержащего сырья в присутствии восстановителя при температуре 788°С с последующим отделением конечного продукта (Патент РФ № 738506, 1980 г.).
Недостатком способа является низкая скорость хлорирования; использование восстановителя, возможность загрязнения конечного продукта, многостадийность процесса.
Известен способ получения алюминия хлорида путем хлорирования алюминийсодержащего сырья – каолина в присутствии восстановителя при температуре 550-650°С с последующим отделением продукта от тетрахлорида кремния, процесс ведут в присутствии хлоралюмината калия. А в качестве хлорирующего и восстанавливающего агента используют фосген (Патент РФ № 818475, 1981 г. – прототип).
Недостатком способа является низкая скорость хлорирования и, следовательно, недостаточная полнота превращения хлора в AlCl3.
Недостатком способа также является использование в качестве хлорирующего и восстанавливающего реагента ядовитого газа фосгена, что способствует загрязнению окружающей атмосферы.
Недостатком способа также является использование в качестве алюминийсодержащего сырья каолина, содержащего примеси, что способствует загрязнению конечного продукта.
Недостатком способа также является многостадийность процесса, что усложняет технологический процесс в целом, а также возникает необходимость установки громоздкого оборудования.
Техническая задача предлагаемого изобретения – упрощение способа получения алюминия хлорида с повышением чистоты конечного продукта за счет упрощения химизма процесса и сокращения участвующих в нем компонентов.
Результатом решения технической задачи является то, что в способе получения алюминия хлорида, включающем хлорирование алюминийсодержащего сырья, в качестве алюминийсодержащего сырья используется порошок алюминия высокой очистки, а процесс хлорирования ведут в потоке хлорной высокочастотной плазмы.
Процесс получения алюминия хлорида осуществляется в газовой фазе путем хлорирования алюминия в хлорной высокочастотной плазме, где хлор является одновременно плазмообразующим газом и компонентом реакции.
Т.о., процесс получения алюминия хлорида является гомогенным, а отсутствие в процессе дополнительных компонентов, входящих в состав алюминийсодержащего сырья (например, каолина), исключает загрязнение конечного продукта, что и является новым техническим эффектом заявляемого изобретения.
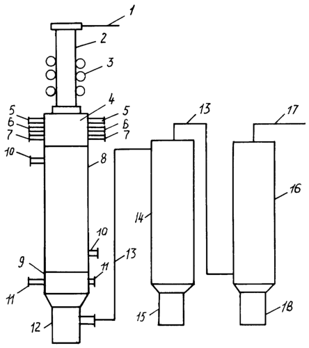
Способ получения алюминия хлорида осуществляется с помощью установки, представленной на чертеже.
По трубопроводу 1 в плазмоголовку 2 вводится плазмообразующий газ – хлор высокой очистки, который под действием высокочастотного электромагнитного поля, создаваемого индуктором 3, ионизируется и при поджигании с помощью поджигающего устройства (на чертеже не показано) переходит в плазменное состояние. Полученная хлорная плазма при температуре 5800К поступает в камеру смешения 4, куда по патрубкам 5 в хлорный плазменный поток подается порошок алюминия высокой очистки. Под действием высокой температуры плазменного потока происходит испарение металлического порошка, и процесс получения алюминия хлорида протекает в газовой фазе при температуре 5800К и длительности процесса (2,5-3,5)·10-3с по реакции:
tпл., Cl
2Al+3Cl 2AlCl3
Затем проводят закалку продукта реакции. Для этого в водоохлаждаемую камеру смешения 4 по патрубкам 6 подается закалочный агент, причем водяное охлаждение камеры смешения осуществляется подачей воды через патрубки 7. При этом хлорид алюминия, находящийся в парообразном состоянии, конденсируется и коагулируется в твердые частицы.
Полное превращение конечного продукта происходит в реакторе 8, внутри которого установлена водоохлаждаемая решетка 9, а охлаждение реактора и решетки осуществляется подачей воды через патрубки 10 и 11 соответственно. Причем охлажденные твердые частицы алюминия хлорида частично оседают и поступают в накопительный бункер 12, остальная же часть через газоходы 13 улавливается циклоном 14 с установленным под ним бункером 15 и фильтром 16, где происходит окончательное улавливание частиц алюминия хлорида, при этом отходящий газ по газопроводу 17 направляется на утилизацию остаточного хлора, а конечный продукт в виде частиц алюминия хлорида скапливается в бункере 18.
Т.о., упрощение химизма процесса получения алюминия хлорида позволяет использовать малогабаритное высокопроизводительное оборудование, а исключение из процесса ядовитого газа фосгена исключает возможность загрязнения окружающей атмосферы.
Формула изобретения
Способ получения алюминия хлорида, включающий хлорирование алюминийсодержащего сырья, отличающийся тем, что в качестве алюминийсодержащего сырья используется порошок алюминия высокой очистки, а процесс хлорирования ведут в потоке хлорной высокочастотной плазмы.
РИСУНКИ
MM4A – Досрочное прекращение действия патента СССР или патента Российской Федерации на изобретение из-за неуплаты в установленный срок пошлины за поддержание патента в силе
Дата прекращения действия патента: 28.01.2007
Извещение опубликовано: 20.02.2008 БИ: 05/2008
|
|