|
|
(21), (22) Заявка: 2003135697/11, 08.12.2003
(24) Дата начала отсчета срока действия патента:
08.12.2003
(45) Опубликовано: 10.09.2005
(56) Список документов, цитированных в отчете о поиске:
RU 2198102 C1, 10.02.2003. SU 1258320 A3, 15.09.1986. ЕР 0180030 А2, 07.05.1986.
Адрес для переписки:
606100, Нижегородская обл., г. Павлово, ул. Коммунистическая, 78, ОАО “ПМЗ ВОСХОД”
|
(72) Автор(ы):
Редько П.Г. (RU), Амбарников А.В. (RU), Трофимов С.Е. (RU), Верин Н.А. (RU), Волков А.В. (RU), Шапков В.И. (RU)
(73) Патентообладатель(и):
Открытое акционерное общество “Павловский машиностроительный завод ВОСХОД” (ОАО “ПМЗ ВОСХОД”) (RU)
|
(54) ПНЕВМОПРИВОД ДВЕРЕЙ АВТОТРАНСПОРТНОГО СРЕДСТВА С АНТИБЛОКИРОВОЧНЫМ УСТРОЙСТВОМ
(57) Реферат:
Пневмопривод дверей автотранспортного средства с антиблокировочным устройством относится к области пневматики и может быть использован в качестве исполнительного механизма открывания-закрывания створок дверей автотранспортных средств. Пневмопривод состоит из рабочего пневмоцилиндра с микропереключателем, пневмораспределителя и антиблокировочного устройства с микропереключателем, соединенных гибкими трубопроводами. В золотнике антиблокировочного устройства выполнен бурт с конической поверхностью и закруглением в вершине, производящий воздействие при перемещении золотника на нажимную пластину микропереключателя, для которого выполнен сквозной паз в корпусе антиблокировочного устройства. Технический результат – исключение защемления пассажира в проеме дверей и самопроизвольного открытия дверей при их принудительном перемещении. 1 ил. 
Предлагаемое изобретение относится к области пневматики и может быть использовано в качестве исполнительного механизма открывания-закрывания створок дверей автотранспортных средств.
Известны приводы дверей, состоящие из панели, на которой установлен пневмоцилиндр (пневмоцилиндры), используемый в качестве исполнительного механизма, антиблокировочного устройства, предназначенного для автоматического открывания дверей при защемлении в проеме дверей пассажира, пневмораспределителя, предназначенного для направления давления сжатого воздуха в ту или иную рабочую полость пневмоцилиндра в зависимости от электрического сигнала, подаваемого из кабины водителя, микропереключателя, предназначенного для отключения антиблокировочного устройства в закрытом положении дверей, электрического блока, предназначенного для дублирования отключения антиблокировочного устройства (см. каталог “Пневматика “, изд. Таврида, г. Симферополь, 1999 г., стр.97).
Близким по технической сущности является пневмопривод дверей автотранспортного средства с антиблокировочным устройством, содержащий на общей панели рабочий пневмоцилиндр с микропереключателем, пневмораспределитель и антиблокировочное устройство с микропереключателем, соединенные гибкими трубопроводами (Патент РФ №2198102, 7 В 60 J 5/00, 10.02.2003 г. Бюл. №4).
Известны достоинства указанного пневмопривода, основным из которых является отсутствие в пневмоприводе электрического блока, вносящего в конструкцию дополнительную вероятность отказа пневмопривода в работе.
Недостатком известной конструкции является наличие в золотнике антиблокировочного устройства 2-х канавок со сферическими поверхностями, близкое и точное расположение канавок друг относительно друга для уменьшения хода золотника, влияющего на жесткость характеристики пружины при срабатывании золотника, что в свою очередь определяет и без того более широкий, чем в заявленном пневмоприводе с антиблокировочным устройством того же габарита вдоль оси золотника, разброс усилия на дверях при наличии препятствия, при котором происходит срабатывание антиблокировочного устройства, а также наличие в антиблокировочном устройстве нажимного шарика, как дополнительного элемента, вносящего в конструкцию дополнительную вероятность заклинки в момент перехода его в отверстие в корпусе антиблокировочного устройства.
Технической задачей предлагаемого изобретения является исключение указанных недостатков. Данная задача решается тем, что в пневмоприводе дверей автотранспортного средства с антиблокировочным устройством, содержащем установленные на общей панели рабочий пневмоцилиндр с микропереключателем, пневмораспределитель и включающее корпус, золотник, пружину и микропереключатель антиблокировочное устройство, соединенные гибкими трубопроводами, золотник антиблокировочного устройства выполнен с буртом, имеющим коническую поверхность с закруглением в вершине, являющимся нажимным элементом, взаимодействующим при движении золотника с нажимной пластиной, входящей в состав микропереключателя антиблокировочного устройства, для размещения которого в корпусе антиблокировочного устройства выполнен сквозной паз.
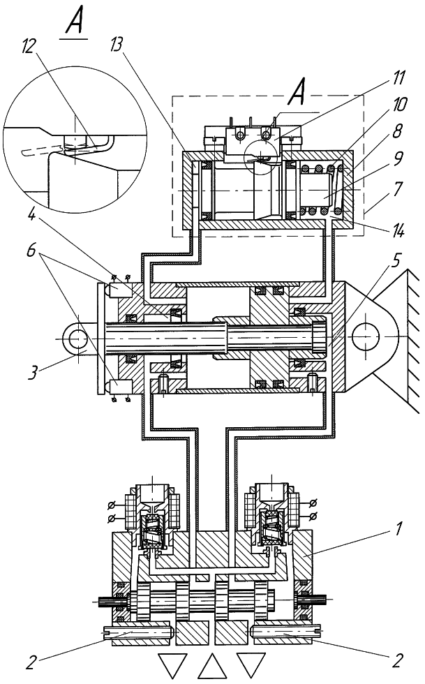
Сущность заявленного технического решения поясняется чертежом, где приведена общая схема.
Пневмопривод дверей автотранспортного средства с антиблокировочным устройством содержит пневмораспределитель 1 с дросселями 2 на выходе для регулировки скорости штока, рабочий пневмоцилиндр 3 с рабочими полостями 4 и 5, микропереключатели 6, антиблокировочное устройство 7, которые соединены гибкими трубопроводами. Антиблокировочное устройство 7 состоит из корпуса 8 со сквозным пазом, золотника 9, пружины 10, микропереключателя 11 с нажимной пластиной 12, рабочих полостей 13 и 14.
Работа пневмопривода дверей автотранспортного средства с антиблокировочным устройством осуществляется следующим образом.
Для осуществления процесса закрывания дверей пневмораспределитель 1 подает давление в рабочую полость 4 рабочего пневмоцилиндра 3. Одновременно давление подается в рабочую полость 13 антиблокировочного устройства 7. Шток рабочего пневмоцилиндра 3 начинает движение, закрывая створки двери. При этом в полости 5 рабочего пневмоцилиндра 3 и соединенной с ней полости 14 антиблокировочного устройства 7 благодаря дросселям 2 регулировки скорости штока создается противодавление. Золотник 9 антиблокировочного устройства 7 находится в крайнем левом по чертежу положении, поскольку действие противодавления в полости 14 и пружины 10 пересиливают действие рабочего давления в полости 13.
При наличии препятствия в дверях шток рабочего пневмоцилиндра 3 останавливается, противодавление в полостях 5 и 14 пропадает, рабочее давление в полости 13 пересиливает действие пружины 10, золотник 9 антиблокировочного устройства 7 начинает перемещаться вправо, бурт золотника 9 своей конической поверхностью воздействует на нажимную пластину 12 микропереключателя 11, утапливая его концевик, затем переходит нажимную пластину 12, приводя концевик в исходное ненажатое положение. При нажатии на концевик подается электросигнал на один из магнитов пневмораспределителя 1. Полость 5 рабочего пневмоцилиндра 3 соединяется с рабочим давлением, а полость 4 – с атмосферой. Шток рабочего пневмоцилиндра 3 начинает движение в противоположную сторону, двери открываются, предотвращая защемление пассажира в дверном проеме. При этом золотник 9 антиблокировочного устройства 7 в процессе открывания дверей под действием рабочего давления в полости 14 перемещается в крайнее левое исходное положение, нажимая при перемещении концевик микропереключателя 11 через нажимную пластину 12, снова включая электромагнит пневмораспределителя 1 и не оказывая влияния при этом на работу пневмораспределителя 1, направленную на открывание дверей.
После полного закрытия дверей происходит аналогичный процесс. Противодавление в полостях 5 и 14 пропадает, золотник 9 антиблокировочного устройства 7 начинает движение вправо, при этом также нажимается концевик микропереключателя 11, но реверса движения уже не происходит, поскольку в данный момент микропереключатель 6 отключил антиблокировочное устройство 7 от электропитания. При установке золотника 9 антиблокировочного устройства 7 на упор в крайнее правое положение нажимная пластина 12 перешла закругленную вершину бурта золотника 9 и не воздействует на концевик микропереключателя 11. В этом положении даже при принудительном перемещении штока рабочего пневмоцилиндра 3 влево, включении микропереключателя 6 и подаче электропитания на микропереключатель 11 антиблокировочного устройства 7 самопроизвольного открытия дверей не происходит, поскольку концевик микропереключателя 11 не нажат.
Формула изобретения
Пневмопривод дверей автотранспортного средства с антиблокировочным устройством, содержащий установленные на общей панели рабочий пневмоцилиндр с микропереключателем, пневмораспределитель и включающее корпус, золотник, пружину и микропереключатель антиблокировочного устройства, соединенные гибкими трубопроводами, отличающийся тем, что золотник антиблокировочного устройства выполнен с буртом, имеющим коническую поверхность с закруглением в вершине, являющимся нажимным элементом, взаимодействующим при движении золотника с нажимной пластиной, входящей в состав микропереключателя антиблокировочного устройства, для размещения которого в корпусе антиблокировочного устройства выполнен сквозной паз.
РИСУНКИ
MM4A Досрочное прекращение действия патента Российской Федерации на изобретение из-за неуплаты в установленный срок пошлины за поддержание патента в силе
Дата прекращения действия патента: 09.12.2005
Извещение опубликовано: 27.01.2007 БИ: 03/2007
|
|