|
|
(21), (22) Заявка: 2001124334/11, 28.11.2000
(24) Дата начала отсчета срока действия патента:
28.11.2000
(30) Конвенционный приоритет:
30.11.1999 (пп.1-7) DE 19957628.9
(43) Дата публикации заявки: 20.07.2003
(45) Опубликовано: 10.09.2005
(56) Список документов, цитированных в отчете о поиске:
DE 4338651 A1, 09.03.1995. DE 19521874 A1, 19.12.1996. WO 95/28294 A2, 26.10.1995. ЕР 0949093 А2, 13.10.1999. US 2607617 А, 19.08.1952.
(85) Дата перевода заявки PCT на национальную фазу:
30.08.2001
(86) Заявка PCT:
DE 00/04217 (28.11.2000)
(87) Публикация PCT:
WO 01/40001 (07.06.2001)
Адрес для переписки:
127055, Москва, а/я 11, пат.пов. Н.К.Попеленскому
|
(72) Автор(ы):
БУБЛИС Хольгер (DE), БУЛ Рейнхард (DE)
(73) Патентообладатель(и):
ЦФ Лемфёрдер Металлварен АГ (DE)
|
(54) ПОДВЕСКА ДЛЯ НЕРАЗРЕЗНЫХ МОСТОВ ТРАНСПОРТНЫХ СРЕДСТВ
(57) Реферат:
Изобретение относится к подвеске для неразрезных мостов транспортных средств, в частности грузовых автомобилей с пневматическим подрессориванием. Сущность изобретения заключается в том, что в подвеске для неразрезных мостов транспортных средств над мостом (3) транспортного средства расположен податливый на кручение рычаг (4) четырехточечной подвески, установленный соединенным с одной стороны с конструкцией (1а, 1b) транспортного средства посредством пары шарниров (5, 6), расположенных разнесенными поперек продольной оси транспортного средства, а с другой стороны – с мостом (3) транспортного средства посредством другой пары шарниров (7, 8), расположенных разнесенными поперек продольной оси транспортного средства. С каждой боковой стороны транспортного средства установлены по крайней мере одна штанга (11, 12) направления движения моста, расположенная в направлении продольной оси транспортного средства и соединяющая мост (3) транспортного средства с конструкцией (1a, 1b) транспортного средства с возможностью их перемещения относительно друг друга по вертикали, а также по крайней мере один рессорный узел (19, 20) амортизации между мостом (3) и конструкцией (1а, 1b) транспортного средства. Каждая штанга (11, 12) установлена соединенной с конструкцией (1а, 1b) и мостом (3) транспортного средства посредством шарнира (13, 14, 15, 16), содержащего корпус, размещенный в корпусе внутренний шарнирный элемент, а также эластомер, расположенный между внутренним шарнирным элементом и корпусом с возможностью восприятия указанным шарниром усилий в нескольких направлениях, а также перекосов с кручением между сопряженными элементами. Шарнир (13, 14), связывающий штангу (11, 12) с конструкцией транспортного средства, имеет более жесткую характеристику, чем шарниры (15, 16), связывающие штангу (11, 12) с мостом транспортного средства. Техническим результатом является оптимизация динамики движения, достижение меньших вибраций, снижение износа, достижение повышенной боковой жесткости конструкции оси, сокращение количества отдельных деталей, повышение ремонтной технологичности и уменьшение веса применяемых неподрессоренных деталей. 6 з.п. ф-лы, 6 ил. 
Область техники, к которой относится изобретение
Изобретение относится к подвеске для неразрезных мостов транспортных средств, в частности грузовых автомобилей с пневматическим подрессориванием.
Уровень техники
Подобные типовые устройства подвески известны, например, из DE 19521874. Конструктивное исполнение таких подвесок в принципе является очень простым, экономичным с точки зрения занимаемого пространства и стоимости и повсюду хорошо зарекомендовало себя на практике. Однако такие типовые подвески, наряду с другими известными из уровня техники конструкциями, имеют недостаток, заключающийся в том, что соединение моста транспортного средства с примыкающими к нему штангами является неподвижным. Такого рода крепление в сочетании с конструкцией моста в целом приводит к чрезмерному кинематическому ограничению степеней свободы ходовой части шасси транспортного средства. Это в свою очередь в определенных ситуациях приводит к неопределенности кинематики конструкции моста на отдельных стадиях ее работы, что при известных условиях отрицательно сказывается на согласованности действия и динамике элементов ходовой части шасси при движении в вертикальном и боковом направлениях.
Кроме того, в случае ведущих мостов упомянутое выше чрезмерное кинематическое ограничение степеней свободы может привести к появлению вибраций приводного вала с вытекающими отсюда повышенным износом приводного вала привода и высокими нагрузками на картер моста.
Сущность изобретения
Технической задачей, поставленной перед данным изобретением, является усовершенствование известной подвески, которое позволило бы улучшить кинематические характеристики с целью оптимизации динамики движения и достижения меньших вибраций и снижения износа, а также достижения повышенной боковой жесткости конструкции оси. Кроме того, изобретение направлено на сокращение количества отдельных деталей, повышение ремонтной технологичности, а также к дальнейшему уменьшению веса применяемых неподрессоренных деталей.
Изобретательское решение этой задачи достигнуто в подвеске для неразрезных мостов транспортных средств, в частности грузовых автомобилей с пневматическим подрессориванием, в которой над мостом транспортного средства расположен податливый на кручение рычаг четырехточечной подвески, шарнирно соединенный с одной стороны с мостом транспортного средства, а с другой стороны – с конструкцией транспортного средства. Рычаг четырехточечной подвески соединен с мостом и конструкцией транспортного средства соответствующими парами шарниров, разнесенных поперек продольной оси транспортного средства. С каждой боковой стороны транспортного средства установлены по меньшей мере одна штанга направления движения моста, расположенная в направлении продольной оси транспортного средства и соединяющая мост транспортного средства с конструкцией транспортного средства с возможностью их перемещения относительно друг друга по вертикали, а также по меньшей мере один рессорный узел для амортизации между мостом и конструкцией транспортного средства.
Отличие предложенного решения от уровня техники заключается в том, что согласно изобретению штанга должна соединяться с мостом транспортного средства посредством шарнира, содержащего корпус, размещенный в корпусе внутренний шарнирный элемент, а также эластомер, расположенный между внутренним шарнирным элементом и корпусом, с возможностью восприятия указанным шарниром усилий в нескольких направлениях, а также перекосов с кручением между сопряженными элементами. Такой шарнир в дальнейшем называется также молекулярным шарниром.
В отличие от известных в технике конструкций мостов, благодаря установке моста транспортного средства при помощи таких шарнирных опор достигается заметно более благоприятная эластичность всей системы подвески моста и взаимно-однозначное соответствие кинематических соотношений (характеристик) при любых условиях движения, в результате чего прогиб или скручивание моста не оказывает отрицательного влияния на поведение моста при сжатии и обратном ходе рессор, а также на его колебательные характеристики.
Среди частных вариантов выполнения объекта изобретения, раскрытых признаками зависимых пунктов формулы изобретения, особенно рациональным оказался вариант, в котором штанги имеют опору для применяемого в подвеске рессорного узла и/или амортизатора. С этой целью штанги со стороны их свободного конца, не соединенного шарнирно с конструкцией транспортного средства, могут быть выполнены удлиненными с выступанием за точку шарнирного соединения конца штанги с мостом транспортного средства, причем на этот конец опирается рессорный узел, который в известных транспортных средствах обычно установлен отдельно между мостом и конструкцией транспортного средства и кузовом. Согласно изобретению опора рессорного узла может быть жесткой (неподвижной) или шарнирной, причем использование шарнирной опоры дополнительно снижает износ рессорного узла. Помимо этого, вышеописанная функциональная интеграция дает уменьшение количества деталей и тем самым уменьшение стоимости всей конструкции подвески моста за счет, среди прочих факторов, сокращения времени монтажа и складских затрат. Рессорный узел может быть расположен перед мостом транспортного средства и/или за ним.
Простота конструкции, предлагаемой в изобретении, позволяет оптимально соединять рессорные узлы с соответствующим мостом, причем штанги моста вполне могут быть расположены V-образно в пространстве, что дает дополнительную боковую устойчивость. Естественно, в этой связи также возможен вариант, где штанга моста снабжена опорой не только для одного рессорного узла, но, например, и для четырех или более рессорных узлов, преимущественно пневматических рессорных узлов, для подрессоривания моста транспортного средства.
Кроме того, для еще лучшей совместимости кинематических характеристик подвески моста с предложенным изобретательским решением определенное достоинство имеет вариант, в котором штанга установлена на конструкции транспортного средства также посредством молекулярного шарнира. В предпочтительном случае этот дополнительный молекулярный шарнир должен иметь более жесткую характеристику, чем молекулярный шарнир, соединяющий штангу с мостом транспортного средства, так как это позволяет уменьшить изгибно-крутильные деформации по типу кардана, в особенности испытываемые воздушными сильфонами, применяемыми в качестве рессорных элементов.
Кроме того, пространственная кинематика расположенного сверху рычага четырехточечной подвески и молекулярных шарнирных опор расположенной снизу штанги с двумя шарнирами обеспечивает относительное перемещение этих двух элементов конструкции по типу идеального параллелограммного механизма, что в свою очередь оказывает положительное влияние на всю кинематику моста и создает изготовителю транспортных средств идеальные условия для монтажа данных элементов. В частности, связь между элементами с обеспечением их относительного перемещения по типу идеального параллелограммного механизма гарантирует то, что износ сочленений карданного вала будет оставаться на минимально возможном уровне.
Перечень чертежей
Примеры осуществления изобретения излагаются более подробно на следующих чертежах.
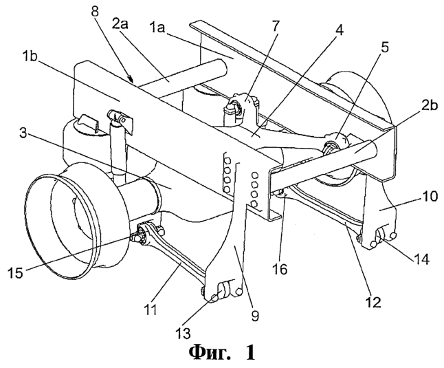
Фиг.1 – общий вид первого примера выполнения предложенной подвески при взгляде сбоку-спереди по направлению движения транспортного средства.
Фиг.2 – общий вид подвески, показанной на фиг.1 при взгляде сбоку-сзади.
Фиг.3 – вид сверху другого примера выполнения предложенной подвески.
Фиг.4 – используемый в предложенной подвеске молекулярный шарнир в разрезе.
Фиг.5 – общий вид еще одного примера выполнения предложенной подвески при взгляде сбоку-спереди по направлению движения транспортного средства.
Фиг.6 – вид по стрелке VI на фиг.5, но без колеса транспортного средства.
Сведения, подтверждающие возможность осуществления изобретения
На фиг.1 изображена предложенная подвеска моста на шасси грузового автомобиля (подробно не изображен), имеющем продольные балки (лонжероны) 1а и 1b. Продольные балки 1а и 1b расположены на расстоянии друг от друга в поперечном направлении и жестко соединены друг с другом поперечинами 2а и 2b. Под продольными балками 1а и 1b расположен мост 3 автомобиля, который соединяется с продольными балками 1а и 1b через рычаг 4 четырехточечной подвески. Рычаг 4 четырехточечной подвески имеет в общей сложности четыре шарнира 5, 6, 7 и 8, причем два шарнира 5 и 6 закреплены на раме автомобиля, и два шарнира 7 и 8 – на мосту автомобиля. Шарниры, установленные на мосту автомобиля и на его кузове, разнесены поперек продольной оси автомобиля.
Кроме того, на фиг.1 видно, что на каждой из двух продольных балок 1а и 1b закреплены боковые кронштейны 9 и 10 соответственно, к нижним свободным концам которых посредством молекулярных шарниров 13 и 14 присоединены штанги 11 и 12 направления движения моста соответственно.
Под молекулярным шарниром, в принципе, понимается шарнир, как он изображен в виде шарового шарнира на фиг.4. При этом молекулярный шарнир состоит из расположенного внутри шарового шарнирного элемента 30, корпуса 32, в котором размещен шаровой шарнирный элемент 30, а также эластомера 31, расположенного между шаровым шарнирным элементом 30 и корпусом 32. В варианте, показанном на фиг.4, шаровой шарнирный элемент 30 выполнен из двух частей, причем он состоит из внутренней металлической шарнирной оси 33 и выполненного на ней внешнего шарика 34 из эластомера. Другие варианты исполнения молекулярного шарнира могут предусматривать выполнение шарового шарнирного элемента 30 полностью из металла или использование внутреннего цилиндрического элемента вместо шарового. Путем подбора эластомера, размещенного между шаровым шарнирным элементом 30 и корпусом 32, конструкцию таких молекулярных шарниров можно оптимизировать соответственно нагрузкам, действующим на шарнир. Кроме того, внутри эластомера и/или корпуса во внутреннем элементе шарнира могут быть предусмотрены выемки, целенаправленно влияющие на характеристику шарнира. Так, например, молекулярные шарниры могут иметь меньшую амортизационную (демпфирующую) способность в одном направлении и соответственно большую амортизационную (демпфирующую) способность по меньшей мере в одном другом направлении, расположенном относительно первого с угловым смещением.
Штанги 11 и 12, соединенные через молекулярные шарниры 13 и 14 с боковыми кронштейнами 9 и 10, расположены в основном в горизонтальном направлении и на их концах, противоположных молекулярным шарнирам 13 и 14, согласно изобретению соединены с местом 3 через другие молекулярные шарниры, соответственно 15 и 16. Молекулярные шарниры 15 и 16 имеют в принципе вышеописанную конструкцию и позволяют воспринимать как продольные, так и вертикальные усилия, а также перекосы с кручением между сопряженными элементами (по типу карданного шарнира), которые, возникая вследствие движений моста, передаются на ходовую часть шасси. Использование молекулярных шарниров препятствует чрезмерному ограничению кинематических степеней свободы, что позволяет добиться оптимальных характеристик при движении вперед в отношении динамики ходовой части в вертикальном и поперечном (боковом) направлениях.
На проекции, представленной на фиг.2, видно, что штанги 11, 12 выполнены удлиненными с выступанием за точку присоединения молекулярных шарниров 15 и 16, а на их свободных концах предусмотрены опоры 17 и 18 рессорных узлов 19 и 20 соответственно. Кроме того, каждая штанга 11, 12 связана с элементами конструкции 1а, 1b автомобиля через соответствующий амортизатор 35, 36. Удлинение штанг 11 и 12 с выполнением на них опор 17, 18 ведет к сокращению деталей, используемых обычно в традиционных транспортных средствах и, как следствие, снижает для предложенной конструкции складские расходы и время монтажа.
Из показанного на фиг.3 (вид сверху) следующего примера выполнения предложенной подвески для моста транспортного средства видно, что штанги 11, 12 направления движения моста могут при этом сходиться в направлении средней части транспортного средства, начиная от передних точек их крепления посредством молекулярных шарниров 13 и 14 к концу транспортного средства. Кроме того, на этом виде сверху показано расположение рычага 4 четырехточечной подвески транспортного средства, а также его шарнирных соединений с кузовом и мостом транспортного средства.
Само собой разумеется, что предложенное шарнирное соединение моста транспортного средства со штангами можно использовать и для конструкций, в которых вместо представленных двух рессорных узлов используется три, четыре или более, или в которых рессорные узлы 19, 20 расположены перед мостом 3 транспортного средства или за ним при взгляде в направлении движения транспортного средства.
Вариант подвески, в котором рессорные узлы 19, 20 расположены перед мостом 3 транспортного средства, показан на фиг.5. В этом варианте амортизатор 35 (36) крепится на опоре 18 (17), а рессорный узел 19 (20) с воздушным сильфоном установлен на штанге 11 (12).
Формула изобретения
1. Подвеска для неразрезных мостов транспортных средств, в частности, грузовых автомобилей с пневматическим подрессориванием, в которой над мостом (3) транспортного средства расположен податливый на кручение рычаг (4) четырехточечной подвески, установленный соединенным с одной стороны с конструкцией (1a, 1b) транспортного средства посредством пары шарниров (5, 6), расположенных разнесенными поперек продольной оси транспортного средства, а с другой стороны – с мостом (3) транспортного средства посредством другой пары шарниров (7, 8), расположенных разнесенными поперек продольной оси транспортного средства, при этом с каждой боковой стороны транспортного средства установлены по крайней мере одна штанга (11, 12) направления движения моста, расположенная в направлении продольной оси транспортного средства и соединяющая мост (3) транспортного средства с конструкцией (1а, 1b) транспортного средства с возможностью их перемещения относительно друг друга по вертикали, а также по крайней мере один рессорный узел (19, 20) амортизации между мостом (3) и конструкцией (1а, 1b) транспортного средства, отличающаяся тем, что каждая штанга (11, 12) установлена соединенной с конструкцией (1а, 1b) и мостом (3) транспортного средства посредством шарнира (13, 14, 15, 16), содержащего корпус (32), размещенный в корпусе внутренний шарнирный элемент (30), а также эластомер (31), расположенный между внутренним шарнирным элементом и корпусом с возможностью восприятия указанным шарниром усилий в нескольких направлениях, а также перекосов с кручением между сопряженными элементами, причем шарнир (13, 14), связывающий штангу (11, 12) с конструкцией транспортного средства, имеет более жесткую характеристику, чем шарниры (15, 16), связывающие штангу (11, 12) с мостом транспортного средства.
2. Подвеска по п.1, отличающаяся тем, что штанги (11, 12) имеют опоры (17, 18) рессорных узлов (19, 20) или амортизаторов (35, 36).
3. Подвеска по п.2, отличающаяся тем, что опоры (17, 18) рессорных узлов (19, 20) или амортизаторов (35, 36) выполнены в виде шарниров.
4. Подвеска по п.3, отличающаяся тем, что указанные шарниры представляют собой шаровые шарниры.
5. Подвеска по любому из пп.1-4, отличающаяся тем, что каждая штанга (11, 12) дополнительно связана с конструкцией (1a, 1b) транспортного средства по меньшей мере через один амортизатор (35, 36).
6. Подвеска по любому из пп.1-5, отличающаяся тем, что рессорный узел (19, 20) расположен перед мостом (3) транспортного средства или за ним.
7. Подвеска по любому из пп.1-6, отличающаяся тем, что перед мостом (3) транспортного средства и за ним установлено по одному рессорному узлу (19, 20).
РИСУНКИ
|
|