|
|
(21), (22) Заявка: 2003104378/12, 13.02.2003
(24) Дата начала отсчета срока действия патента:
13.02.2003
(30) Конвенционный приоритет:
12.09.2002 (пп.1-6, 47-49) JP 2002-266824 04.10.2002 (пп.7-17, 26, 32-39) JP 2002-292337 06.12.2002 (пп.18-25) JP 2002-355470 09.12.2002 (пп.27-31, 40-46) JP 2002-357040
(43) Дата публикации заявки: 27.10.2004
(45) Опубликовано: 10.09.2005
(56) Список документов, цитированных в отчете о поиске:
EP 1199178 А1, 24.04.2002. EP 0709207 А2, 01.05.1996. US 5653251 А, 05.08.1997. US 4602662 А, 29.07.1986. US 4971527 А, 20.11.1990. RU 2164826 C2, 27.01.2000.
Адрес для переписки:
129010, Москва, ул. Б.Спасская, 25, стр.3, ООО “Юридическая фирма Городисский и Партнеры”, пат.пов. Г.Б. Егоровой
|
(72) Автор(ы):
МИЯЗАВА Хисаси (JP), КОБАЯСИ Ацуси (JP), СИНАДА Сатоси (JP)
(73) Патентообладатель(и):
СЕЙКО ЭПСОН КОРПОРЕЙШН (JP)
|
(54) КАРТРИДЖ ДЛЯ ЧЕРНИЛ (ВАРИАНТЫ), УСТРОЙСТВО И СПОСОБ РЕГУЛИРОВКИ ПОТОКА ЖИДКОСТИ ИЗ КАРТРИДЖА
(57) Реферат:
Изобретение относиться к картриджу для чернил, посредством которого осуществляют подачу чернил при надлежащем отрицательном давлении в пишущую головку, а также к устройству и способу регулировки потока жидкости из картриджа для чернил в головку для струйной печати. Картридж для чернил содержит механизм для создания отрицательного давления, расположенный между резервуаром для хранения чернил и выходным отверстием для подачи чернил. Механизм для создания отрицательного давления имеет перегородку, поверхность которой снабжена двумя сквозными отверстиями для потока чернил, и клапанный элемент, входящий в соприкосновение со сквозным отверстием и отходящий от него за счет воспринимаемого давления со стороны выходного отверстия для подачи чернил. Чернила, протекающие через сквозное отверстие, подают через сквозное отверстие в выходное отверстие для подачи чернил. Это обеспечивает снижение гидравлического сопротивления проточного канала в механизме для создания отрицательного давления, за счет чего увеличивается объем чернил, расходуемых пишущей головкой. 6 н. и 43 з.п. ф-лы, 24 ил. 
Настоящее изобретение относится к картриджу для чернил, посредством которого осуществляют подачу чернил при надлежащем отрицательном давлении в пишущую головку, которая выпускает капельки чернил в ответ на сигналы печати, и к устройству и способу регулировки потока жидкости из картриджа для чернил в головку для струйной печати.
Устройство для струйной печати обычно устроено таким образом, что пишущая головка для струйной печати, посредством которой выпускают капельки чернил в ответ на сигналы печати, закреплена на каретке, совершающей возвратно-поступательное движение вдоль направления, соответствующего ширине листа бумаги, на которой осуществляют печать, а подачу чернил в пишущую головку производят из внешнего резервуара для чернил. В случае малогабаритного устройства для печати емкость для хранения чернил, например резервуар для чернил, выполняют съемной по отношению к каретке, что обеспечивает удобство в обслуживании и облегчает замену израсходованного резервуара для чернил новым резервуаром для чернил, содержащим в себе новый запас чернил (или различных чернил в том случае, если резервуар представляет собой резервуар для цветной печати).
Для предотвращения утечки чернил из пишущей головки подобная емкость для хранения чернил обычно содержит в себе пропитанный чернилами пористый элемент, обеспечивающий удержание чернил за счет капиллярных сил в пористом элементе.
Кроме того, существует тенденция увеличения объема расхода чернил с течением времени, поскольку непрекращающаяся разработка новых усовершенствованных принтеров приводит к необходимости увеличения количества сопловых отверстий для обеспечения соответствия современным требованиям улучшенного качества печати и повышенной скорости печати.
Для обеспечения соответствия этому прогрессу в области разработки струйных принтеров целесообразным вариантом является увеличение количества чернил, которое может храниться в емкости для хранения чернил, но это приводит к увеличению объема пористого элемента. Однако в случае наличия пористого элемента, который удерживает чернила за счет капиллярных сил, высота пористого элемента, то есть вводной столб в нем, является ограниченной и, следовательно, для увеличения объема сосуда необходимо увеличивать площадь дна емкости для хранения чернил, что приводит к возникновению проблемы, заключающейся в необходимости увеличения размера каретки и, следовательно, общего размера устройства для печати.
Для решения этой проблемы в опубликованном патенте Японии №8-174860 (абзацы 0041-0043) предложен изображенный на фиг.10 картридж для чернил, в центре которого расположен элемент, представляющий собой мембрану, способную деформироваться под действием давления чернил и снабженную сквозным отверстием, посредством которого создано седло мембранного клапана, а в месте, расположенном напротив седла мембранного клапана, расположен клапанный элемент. Для решения этой проблемы в опубликованной международной заявке PCT 00/103877 предложен картридж для чернил, в котором клапанный элемент выполнен из обладающего упругостью полимерного материала способом прессования под давлением, в центре клапанного элемента выполнено сквозное отверстие. В этом картридже соприкосновение тыльной поверхности клапанного элемента с герметизирующим элементом обеспечено за счет прижима посредством пружины, а перемещение клапанного элемента происходит за счет воздействия отрицательного давления на тыльную поверхность клапанного элемента, посредством чего обеспечивают вытекание чернил через сквозное отверстие в выходное отверстие для подачи чернил.
Между тем, для удовлетворения потребности в подобных картриджах, используемых для высокоскоростной печати, необходим картридж для чернил, обеспечивающий высокую производительность подачи чернил, посредством которого может быть осуществлена подача большого объема чернил в пишущую головку. Наиболее важным фактором, который тесно связан с производительностью подачи чернил в пишущую головку, является гидравлическое сопротивление проточного канала, находящегося в картридже.
В патенте США №4602662 описан клапан с внешним управлением, используемый в системах маркировки посредством жидкостей. В этой ссылке предложена идея клапана, входное и выходное отверстия которого расположены с одной стороны подвижного элемента, а с другой стороны подвижного элемента находятся пружина и внешний источник пониженного давления. В патенте, в частности, изложено, что пружину используют не для герметизации клапана, а только лишь для предотвращения сифонирования, а для удержания клапана в закрытом состоянии служит внешний источник пониженного давления.
В патенте США №4971527 описан регулирующий клапан для систем маркировки посредством чернил. Диафрагма зажата между двумя пружинами и, таким образом, служит для демпфирования пульсаций давления в чернилах, протекающих между входным и выходным отверстиями, которые расположены на одной и той же стороне диафрагмы.
Патент США №5653251 относится к трубчатому клапану, приводимому в действие пониженным давлением. Несмотря на то, что входное и выходное отверстия расположены с одной и той же стороны мембраны клапана, сама эта мембрана может быть выполнена перфорированной, что позволяет жидкости перетекать на другую сторону мембраны. Кроме того, мембрана натянута на изогнутый выступ, а регулировку давления, “создающего щель” в клапане, осуществляют без использования пружины. В частности, в патенте США №5653251 раскрыта конструкция клапана, содержащего клапанный элемент, выполненный в виде упругодеформируемой мембраны, выпуклую часть, с которой клапанный элемент способен входить в соприкосновение, и проточный канал, выполненный в выпуклой части и перекрываемый клапанным элементом. В этой конструкции клапана отрицательное давление со стороны потребителя приложено к одной из поверхностей клапанного элемента, за счет чего происходит отделение клапанного элемента от проточного канала, обеспечивая тем самым управление подачей и прекращением подачи жидкости. Однако в открытом состоянии клапана площадь области клапанного элемента, воспринимающей давление жидкости (площадь области, воспринимающей давление), чрезвычайно мала, а это означает, что разность между площадью передней и задней поверхностей клапанного элемента велика. Поэтому малое изменение давления в результате расхода чернил пишущей головкой не может удерживать клапан в открытом состоянии. В том случае, когда клапан, имеющий подобную конструкцию, переходит в закрытое состояние, площадь области, воспринимающей давление, оказывается чрезвычайно большой, что обеспечивает возврат клапана в открытое состояние. Следовательно, существует проблема, состоящая в наличии многократных повторений этой процедуры, что является нежелательным и приводит к пульсациям при подаче чернил, которые, очевидно, могут оказать неблагоприятное воздействие на процесс печати.
В картридже для чернил, раскрытом в указанной опубликованной международной заявке PCT 00/103877, гидравлическое сопротивление обусловлено наличием сквозного отверстия, которое образует канал для протекания чернил в элементе, представляющем собой мембрану, и кроме того, наличие большого гидравлического сопротивления также обусловлено наличием зазора между сквозным отверстием и клапанным элементом, который взаимодействует со сквозным отверстием.
В европейской заявке на патент №1199178 описан картридж для чернил, имеющий механизм дифференциального клапана давления (аналогом его является картридж, описанный в опубликованной заявке на патент США №2002/0109760). В этой ссылке описаны клапаны, в которых принудительное примыкание отверстия в подвижной мембране к твердому выступу обеспечивают посредством пружины.
Для снижения гидравлического сопротивления, вызванного наличием сквозного отверстия в элементе, представляющем собой мембрану, сквозное отверстие можно сделать имеющим больший диаметр, но поскольку элемент, представляющий собой мембрану, должен быть выполнен из упругого полимерного материала, то увеличение сквозного отверстия приведет к снижению нагрузки на единичную площадь, что вызовет уменьшение герметизирующего давления и, следовательно, ухудшение герметизирующей способности клапана и ухудшение рабочих характеристик картриджа.
Поэтому может быть выполнено видоизменение, в котором для улучшения герметизирующей способности, в области клапанного элемента, который расположен напротив герметизирующего элемента, сформирована выступающая часть, а сквозное отверстие проходит через эту выступающую часть. Однако вследствие наличия силы смещения пружины закрытое состояние клапана обеспечивают путем упругой деформации и сплющивания выступающей части.
Следовательно, даже в том случае, когда на клапанный элемент отрицательное давление действует таким образом, что он перемещается в обратном направлении от герметизирующего элемента на величину, соответствующую воспринятому отрицательному давлению, выступающая часть, которая была подвергнута упругой деформации, возвращается в исходное состояние, и следовательно, гидравлическое сопротивление проточного канала в открытом состоянии клапана является высоким. В том случае, когда требуется большой расход чернил, например, при печати изображений, существует вероятность того, что подача достаточного количества чернил не сможет быть обеспечена.
Кроме того, для обеспечения устойчивости закрытого состояния клапанного элемента выступающая часть должна быть сплющена в достаточной степени для того, чтобы она вошла в плотное соприкосновение с герметизирующим элементом. Для этого выступающая часть клапанного элемента выполнена в виде упругого элемента из эластомера. К тому же, выступающая часть клапанного элемента является толстой по сравнению с поверхностью мембраны клапанного элемента, воспринимающей перепад давления. Поэтому существует вероятность возникновения турбулентного потока полимера при прессовании под давлением, и следовательно, появляется вероятность появления швов, возникающих в результате прессования, что создает трудности при создании выступающей части клапанного элемента, которая имеет значительный выступ по отношению к поверхности мембраны.
Кроме того, поскольку наличие отклонений от заданной точности при изготовлении деталей и при их монтаже приводит к смещению соосности между выступающей частью клапанного элемента и герметизирующим элементом, контактная поверхность герметизирующего элемента должна быть выполнена большой по сравнению с диаметром выступающей части клапанного элемента для обеспечения надлежащего совмещения.
Эти обстоятельства обуславливают то, что герметизирующий элемент занимает собой большую область вокруг выступающей части клапанного элемента, вследствие чего возникает проблема наличия большого гидравлического сопротивления проточного канала.
Кроме того, поскольку необходимо сформировать сквозное отверстие, проходящее через выступающую часть клапанного элемента, то существует вероятность образования в герметизирующей области складок или канавок, обусловленных наличием сварных швов, наличие которых приводит к снижению коэффициента выхода годных изделий, что является нежелательным.
Более того, в том случае, когда в качестве попытки уменьшения гидравлического сопротивления проточного канала для сквозного отверстия, выполненного в элементе, представляющем собой мембрану, используют такую конфигурацию сквозного отверстия, как, например, конусная конфигурация, нижняя часть выступающей части имеет малую толщину стенки, что приводит к возникновению проблемы, заключающейся в том, что происходит деформация выступающей части во внутреннюю часть сквозного отверстия. То есть возникает дополнительная проблема наличия ограничений, налагаемых на конфигурацию сквозного отверстия.
Настоящее изобретение было создано, отчасти, для решения этих вышеуказанных проблем.
Техническим результатом настоящего изобретения является создание картриджа для чернил, посредством которого может быть уменьшено гидравлическое сопротивление проточного канала вокруг сквозного отверстия в механизме для создания отрицательного давления, обеспечивая тем самым соответствие требованиям в отношении подачи большого объема чернил, расходуемых пишущей головкой.
Другим техническим результатом настоящего изобретения является создание картриджа для чернил, производство которого может быть осуществлено с высоким коэффициентом выхода годных изделий.
Еще одним техническим результатом настоящего изобретения является создание механизма регулировки потока жидкости для пишущей головки, который может обеспечить уменьшение гидравлического сопротивления вокруг сквозного отверстия в механизме для создания отрицательного давления, посредством чего обеспечивают возможность подачи большого объема чернил, расходуемых пишущей головкой.
Эти технические результаты достигаются тем, что картридж для чернил содержит резервуар для хранения чернил, выходное отверстие для подачи чернил, сообщающееся с резервуаром для хранения чернил через канал для протекания чернил, и механизм для создания отрицательного давления, избирательно перекрывающий и открывающий канал для протекания чернил вследствие расхода чернил и содержащий элемент, образующий канал для подачи чернил, расположенный между резервуаром для хранения чернил и выходным отверстием для подачи чернил и образующий канал для протекания чернил, сообщающийся с выходным отверстием для подачи чернил, и упругий элемент, расположенный в элементе, образующем канал для подачи чернил, и имеющий первую поверхность, воспринимающую первое давление в резервуаре для хранения чернил через первый проточный канал, созданный в элементе, образующем канал для подачи чернил, и вторую поверхность, воспринимающую второе давление в выходном отверстии для подачи чернил через второй проточный канал, созданный в элементе, образующем канал для подачи чернил, посредством чего обеспечено соприкосновение упругого элемента с открываемой частью канала для протекания чернил и его отделение от нее за счет приложенной силы упругости, зависящей, по меньшей мере, частично, от разности между первым давлением и вторым давлением, при этом упругий элемент способен перемещаться таким образом, чтобы он открывал открываемую часть канала для протекания чернил при уменьшении давления в выходном отверстии для подачи чернил до величины, меньшей или равной заранее заданному значению, обеспечивая тем самым открывание канала для протекания чернил и подачу чернил в выходное отверстие для подачи чернил.
Согласно вышеуказанной конструкции существует возможность подачи через сквозное отверстие, выполненное в упругом элементе, и следовательно, упругий элемент может быть выполнен имеющим, по существу, плоскую поверхность. Возможность устранения сужения проточного канала, вызванного возвращением выступающей части в исходное положение, существует даже в том случае, когда воздействие отрицательного давления возвращает упругий элемент обратно. Кроме того, существует возможность избежать появления сварных швов, которые могут возникать при прессовании под давлением, за счет чего обеспечивают увеличение коэффициента выхода годных изделий.
Кроме того, та область упругого элемента, которую используют для герметизации открываемой части канала для протекания чернил, может быть выполнена в виде плоской поверхности. Посредством такой конструкции может быть обеспечен большой зазор между открываемой частью канала для протекания чернил и клапанным элементом, а также может быть уменьшена его глубина. Поэтому существует возможность уменьшить гидравлическое сопротивление проточного канала, обеспечивая тем самым возможность большого расхода чернил пишущей головкой. То есть существует возможность создания картриджа для чернил, пригодного для высокоскоростной печати.
Упругий элемент сможет иметь плоскую поверхность, по меньшей мере, вблизи области, соприкасающейся с открываемой частью канала для протекания чернил.
Картридж может дополнительно содержать смещающий элемент, и вторая поверхность упругого элемента принудительно смещена смещающим элементом по направлению к открываемой части канала для протекания чернил.
Канал для протекания чернил и первый и второй проточные каналы, по меньшей мере, могут быть частично образованы частями, снабженными выемками, выполненными в элементе, образующем канал для подачи чернил, и по меньшей мере, одной пленкой для герметизации частей, снабженных выемками.
Открываемая часть канала для протекания чернил может содержать сквозное отверстие, выполненное в элементе, образующем канал для подачи чернил, может дополнительно содержать корпус, имеющий выходное отверстие для подачи чернил и открытую поверхность, и крышку, герметично закрывающую открытую поверхность корпуса, при этом механизм для создания отрицательного давления расположен в области, которая выполнена либо в виде единого целого с корпусом, либо в виде отдельной детали по отношению к корпусу. Резервуар для хранения чернил разделен на верхнюю область резервуара для хранения чернил, может быть, герметичную по отношению к окружающей среде, и нижнюю область резервуара для хранения чернил, сообщающуюся с окружающей средой, причем верхняя и нижняя области резервуара для хранения чернил являются взаимно сообщающимися между собой через всасывающий проточный канал, механизм для создания отрицательного давления размещен в верхней области резервуара для хранения чернил, а элемент, образующий канал для подачи чернил, расположен между верхней областью резервуара для хранения чернил и выходным отверстием для подачи чернил.
Верхняя область резервуара для хранения чернил может быть разделена разделительной перегородкой на резервуар для хранения чернил, находящийся ниже по течению потока, сообщающийся с выходным отверстием для подачи чернил, и резервуар для хранения чернил, находящийся выше по течению потока, сообщающийся со всасывающим проточным каналом, и механизм для создания отрицательного давления размещен в резервуаре для хранения чернил, находящемся ниже по течению потока.
Элемент, образующий канал для подачи чернил, может быть выполнен в виде единого целого с основным корпусом резервуара, ограничивающим резервуар для хранения чернил.
Канал для протекания чернил, сообщающийся с выходным отверстием для подачи чернил, может быть ограничен, по меньшей мере, частично частью, снабженной выемкой, выполненной в основном корпусе резервуара, ограничивающем резервуар для хранения чернил, и пленкой для герметизации части, снабженной выемкой.
Элемент, образующий канал для подачи чернил, может содержать часть в виде кольцевой рамки и донную часть, служащие в качестве перегородок в резервуаре для хранения чернил, в донной части выполнена открываемая часть канала для протекания чернил, а упругий элемент установлен в той части рамки, которая расположена напротив открываемой части канала для протекания чернил.
Ширина элемента, образующего канал для подачи чернил, может быть равна ширине основного корпуса резервуара, ограничивающего резервуар для хранения чернил, а элемент, образующий канал для подачи чернил, может быть герметизирован посредством пленки, герметизирующей часть основного корпуса резервуара и служащей границей резервуара для хранения чернил.
Ширина элемента, образующего канал для подачи чернил, может быть меньше, чем ширина основного корпуса резервуара, ограничивающего резервуар для хранения чернил, элемент, образующий канал для подачи чернил, герметизирован посредством первой пленки, а часть основного корпуса резервуара герметизирована посредством второй пленки, которая служит границей резервуара для хранения чернил.
Открываемая часть канала для протекания чернил может содержать сквозное отверстие, выполненное в выступающей части, периферийная часть которой выполнена в виде плоской поверхности.
Открываемая часть канала для протекания чернил может быть выполнена в виде сквозного отверстия в выступающей части, имеющей в сечении коническую форму. Указанные технические результаты достигаются также и тем, что картридж для чернил содержит резервуар для хранения чернил, выходное отверстие для подачи чернил, сообщающееся с резервуаром для хранения чернил через канал для протекания чернил, и механизм для создания отрицательного давления, избирательно перекрывающий и открывающий канал для протекания чернил вследствие расхода чернил и содержащий упругий элемент, имеющий первую и вторую поверхности, канал для протекания чернил, сообщающийся с выходным отверстием для подачи чернил и имеющий открываемую часть в том месте, в котором первая поверхность упругого элемента входит в соприкосновение с открываемой частью и отделяется от нее, сообщающаяся часть, обращенная к первой поверхности упругого элемента и сообщающаяся с резервуаром для хранения чернил, и часть в виде пространственного промежутка, обращенная ко второй поверхности упругого элемента и сообщающаяся с выходным отверстием для подачи чернил.
Механизм для создания отрицательного давления может дополнительно содержать разделительную перегородку, расположенную с той стороны упругого элемента, которая находится выше по течению потока и служит границей камеры, расположенной между упругим элементом и разделительной перегородкой, при этом разделительная перегородка имеет выступающую часть, к которой прижата первая поверхность упругого элемента, и открываемую часть канала для протекания чернил, выполненную в выступающей части.
Механизм для создания отрицательного давления может дополнительно содержать смещающий элемент, расположенный напротив выступающей части и обеспечивающий принудительное смещение упругого элемента в направлении выступающей части.
Принудительное смещение упругого элемента в направлении выступающей части может быть обеспечено за счет упругой деформации упругого элемента.
Открываемая часть выступающей части может быть выполнена таким образом, что, по существу, обращена к центру упругого элемента.
Часть в виде пространственного промежутка может содержать камеру, обращенную ко второй поверхности упругого элемента и выполненную таким образом, что расход чернил вызывает изменение давления, приложенного к той стороне упругого элемента, которая находится ниже по течению потока, а измененное давление приложено, по существу, ко всей площади второй поверхности упругого элемента.
Чернила, находящиеся в камере для хранения чернил, могут протекать в выходное отверстие для подачи чернил в следующем порядке: через проточный канал, соединяющий камеру хранения чернил с первой поверхностью упругого элемента, через открываемую часть канала для протекания чернил, через проточный канал, соединенный с открываемой частью канала для протекания чернил, через часть в виде пространственного промежутка, обращенного ко второй поверхности упругого элемента, и через проточный канал, соединяющий часть в виде пространственного промежутка с выходным отверстием для подачи чернил.
Проточный канал канала для протекания чернил содержит первую часть, обеспечивающую сообщение открываемой части выступающей части с выходным отверстием для подачи чернил, проточный канал разветвлен в промежуточной части, служащей границей разветвленного канала, часть в виде пространственного промежутка содержит замкнутое пространство, давление в котором приложено, по существу, ко всей площади второй поверхности упругого элемента, при этом разветвленный канал сообщается с замкнутым пространством.
Первая и вторая поверхности упругого элемента могут иметь, по существу, одинаковую площадь контакта с чернилами.
Открываемая часть канала для протекания чернил может содержать цилиндрическую часть, расположенную со стороны упругого элемента, и расширенную часть, расширяющуюся наружу при прохождении вдоль расширенной части в направлении потока чернил к выходному отверстию для подачи чернил.
Следовательно, существует возможность обеспечить надежную герметизацию посредством цилиндрической части и снизить полное гидравлическое сопротивление проточного канала за счет наличия расширенной части.
Указанные технические результаты достигаются и тем, что устройство для регулировки потока жидкости для пишущей головки содержит упругий элемент, имеющий первую и вторую поверхности, и способный перемещаться в ответ на перепад давлений между первой и второй поверхностями, сообщающуюся часть, обращенную к первой поверхности упругого элемента и выполненную таким образом, что обеспечивает сообщение с резервуаром для чернил, в котором хранят чернила, отверстие для вытекания чернил, открываемую часть канала для протекания чернил, сообщающуюся с отверстием для вытекания чернил, при этом первая поверхность упругого элемента выполнена таким образом, что способна входить в соприкосновение с открываемой частью и отделяться от нее, и часть в виде пространственного промежутка, обращенную ко второй поверхности упругого элемента и сообщающуюся с отверстием для вытекания чернил.
Поскольку согласно вышеуказанной конструкции площадь отверстия части в виде пространственного промежутка превышает площадь отверстия открываемой части канала для протекания чернил, сообщающегося с отверстием для вытекания чернил, то изменение давления с той стороны, которая находится ниже по течению потока, то есть со стороны отверстия для вытекания чернил, вызванное расходом чернил, может быть эффективно приложено к упругому элементу, обеспечивая надежное перемещение упругого элемента в состояние, в котором клапан открыт.
Устройство может содержать разделительную перегородку, расположенную с той стороны упругого элемента, которая находится выше по течению потока и служит границей камеры, расположенной между упругим элементом и разделительной перегородкой, при этом разделительная перегородка имеет выступающую часть, к которой прижата первая поверхность упругого элемента, и открываемую часть канала для протекания чернил, сообщающегося с отверстием для вытекания чернил, выполненную в выступающей части.
Следовательно, поскольку в состоянии подачи чернил, в котором упругий элемент отделен от открываемой части, может быть обеспечено наличие большого пространства вокруг выступающей части, то существует возможность уменьшить потери динамического давления, обусловленные потоком чернил. То есть выступающая часть может быть выполнена из того же самого материала, что и основной корпус резервуара, может быть задан желательный размер выступа (высота) выступающей части и, кроме того, может быть предоставлена большая свобода при конструировании формы выступающей части и формы сквозного отверстия.
Устройство может содержать смещающий элемент, расположенный напротив выступающей части и принудительно смещающий упругий элемент в направлении выступающей части.
Следовательно, это обеспечивает возможность надежного контакта упругого элемента с выступающей частью вне зависимости от положения упругого элемента, посредством чего обеспечивают герметизацию между ними вне зависимости от наличия воспринимаемых внешних колебаний, например, колебаний, вызванных перемещением каретки. Кроме того, может быть установлено оптимальное значение контактного усилия (герметизирующего усилия), с которым упругий элемент давит на выступающую часть, то есть значение, которое может предотвращать соприкосновение упругого элемента с выступающей частью и его отделение от нее вследствие перемещения каретки, и которое, тем не менее, может обеспечивать эффективную подачу чернил при поддержании оптимального отрицательного давления.
Принудительное смещение упругого элемента в направлении выступающей части может быть обеспечено за счет упругой деформации упругого элемента.
Открываемая часть выступающей части может быть выполнена таким образом, что, по существу, обращена к центру упругого элемента.
Центральная область упругого элемента сохраняет, по существу, плоскую форму, при симметричной деформации упругого элемента относительно точки, и следовательно, центральная область упругого элемента может обеспечивать эффективную герметизацию открываемой части, что приводит к увеличению герметизирующей способности.
Указанные технические результаты достигаются и тем, что съемный картридж для чернил, предназначенный для установки на иглу для подачи чернил, имеющуюся в устройстве для струйной печати, содержит резервуар для чернил, имеющий внутреннюю часть и выходное отверстие для подачи чернил, в которое при установке картриджа входит игла для подачи чернил, и устройство регулировки потока, расположенное внутри резервуара для чернил и содержащее корпус, имеющий дно, которое имеет внутреннюю сторону и внешнюю сторону, выполненное в дне входное отверстие, проходящее между внутренней и внешней сторонами и обеспечивающее сообщение с внутренней частью резервуара для чернил, стенку, проходящую по его периметру с внутренней стороны дна, выступ, расположенный с внутренней стороны дна и снабженный проходящим через него выходным отверстием, и канавку, выполненную на внешней стороне и обеспечивающую сообщение с выходным отверстием и выходным отверстием для подачи чернил, крышку, соприкасающуюся со стенкой, проходящей по периметру, упругий элемент, расположенный между крышкой и внутренней стороной дна, и элемент, обеспечивающий принудительное смещение, расположенный между крышкой и упругим элементом, посредством которого к упругому элементу приложена сила, обеспечивающая прижим упругого элемента к выступу.
По меньшей мере, крышка или стенка, проходящая по периметру, может иметь выемку, расположенную таким образом, что пространство между упругим элементом и крышкой через эту выемку сообщается выходным отверстием для подачи чернил.
Часть упругого элемента, обращенная к выступу, может быть выполнена плоской.
Часть выступа, обращенная к упругому элементу, выполнена плоской.
Упругий элемент может иметь выпуклую часть, обращенную к крышке и входящую в контакт с элементом, обеспечивающим принудительное смещение.
Картридж может дополнительно содержать внутреннюю перегородку, разделяющую внутреннюю часть резервуара для чернил на множество камер.
Входное отверстие может быть выполнено в виде круглого отверстия.
Выходное отверстие может быть выполнено в виде круглого отверстия.
Указанные технические результаты достигаются и тем, что устройство для регулировки потока жидкости, предназначенное для установки в чернильном картридже для струйной печати, имеющем камеру для хранения чернил и выходное отверстие для подачи чернил, и осуществляющее регулировку потока жидкости из камеры для хранения чернил в выходное отверстие для подачи чернил, содержит корпус, имеющий дно, которое имеет внутреннюю сторону и внешнюю сторону, выполненное в дне входное отверстие, проходящее между внутренней и внешней сторонами и обеспечивающее после установки устройства регулировки потока жидкости сообщение с камерой для хранения чернил, стенку, проходящую по его периметру с внутренней стороны дна, выступ, расположенный с внутренней стороны дна и снабженный проходящим через него выходным отверстием, и канавку, выполненную на внешней стороне и обеспечивающую сообщение с выходным отверстием, а после установки устройства регулировки потока жидкости также и с выходным отверстием для подачи чернил, крышку, соприкасающуюся со стенкой, проходящей по периметру, упругий элемент, расположенный между крышкой и внутренней стороной дна, и элемент, обеспечивающий принудительное смещение, расположенный между крышкой и упругим элементом, посредством которого к упругому элементу приложена сила, обеспечивающая прижим упругого элемента к выступу.
По меньшей мере, крышка или стенка, проходящая по периметру, может иметь выемку, расположенную таким образом, что после установки устройства регулировки потока жидкости пространство между упругим элементом и крышкой через эту выемку сообщается с выходным отверстием для подачи чернил.
Часть упругого элемента, обращенная к выступу, может быть выполнена плоской.
Часть выступа, обращенная к упругому элементу, может быть выполнена плоской.
Упругий элемент может иметь выпуклую часть, обращенную к крышке и входящую в контакт с элементом, обеспечивающим принудительное смещение.
Входное отверстие может быть выполнено в виде круглого отверстия.
Выходное отверстие может быть выполнено в виде круглого отверстия.
Указанные технические результаты достигаются и тем, что в способе регулировки потока чернил из картриджа для чернил, имеющего выходное отверстие для подачи чернил, в головку для струйной печати создают клапанную камеру, представляющую собой часть картриджа для чернил, имеющую крышку и основание, снабженное входным отверстием и выходным отверстием, и содержащую упругую мембрану, при этом входное отверстие и выходное отверстие, расположены на первой стороне упругой мембраны, а между второй стороной упругой мембраны и крышкой имеется некоторое пространство, и прижимают упругую мембрану к основанию посредством приложенной силы таким образом, чтобы соприкасающаяся часть упругой мембраны вошла в соприкосновение с выходным отверстием и обеспечила его герметизацию, при этом при понижении давления в указанном пространстве ниже заданного значения возникающая в результате этого разность давлений, воздействующих на упругую мембрану, приводит к тому, что соприкасающаяся часть упругой мембраны отходит от выходного отверстия в направлении, противоположном направлению действия приложенной силы.
В способе дополнительно могут обеспечивать изменение давления в указанном пространстве таким образом, чтобы оно было равным давлению в выходном отверстии для подачи чернил. Изменение давления можно осуществлять путем создания проточного канала между указанным пространством и выходным отверстием для подачи чернил.
Раскрытие сущности настоящего изобретения относится к предмету изобретения, содержащемуся в заявках на патент Японии №2002-266824 (с датой подачи 12 сентября 2002 г.), №2002-292337 (с датой подачи 4 октября 2002 г.), №2002-355470 (с датой подачи 6 декабря 2002 г.) и №2002-357040 (с датой подачи 9 декабря 2002 г.), каждая из которых прямо включена сюда путем ссылки в полном объеме.
Далее приводится подробное описание изобретения со ссылками на чертежи, на которых изображено следующее:
фиг.1 – перспективный вид с пространственным разделением деталей, на котором показан картридж для чернил согласно варианту осуществления настоящего изобретения на виде со стороны камеры для хранения чернил;
фиг.2А – перспективный вид картриджа для чернил из фиг.1 на виде со стороны другой поверхности;
фиг.2Б – перспективный вид другого варианта осуществления части, в которой находится клапанный элемент;
фиг.3 – вид картриджа для чернил в разрезе, на котором изображена структура его сечения вблизи от механизма для создания отрицательного давления;
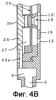
фиг.4А и фиг.4Б изображают в увеличенном масштабе вид в разрезе механизма для создания отрицательного давления в картридже для чернил, соответственно, в закрытом состоянии клапана и в открытом состоянии клапана;
фиг.4В изображает вид в разрезе канала для протекания чернил из механизма для создания отрицательного давления к выходному отверстию для подачи чернил;
фиг.5А и фиг.5Б показывают движение потока чернил в картридже для чернил;
фиг.6А и фиг.6Б изображают различные варианты осуществления клапанного элемента;
фиг.7 показывает перспективный вид клапанного элемента, который используют в обычном картридже для чернил;
фиг.8А и фиг.8Б показывают в увеличенном масштабе клапан обычного картриджа для чернил, соответственно, в закрытом состоянии клапана и в открытом состоянии клапана;
фиг.8В показывает в увеличенном масштабе форму выступающей части в закрытом состоянии клапана;
фиг.9 изображает другой вариант осуществления, в котором элемент, определяющий собой область, в которой устанавливают механизм для создания отрицательного давления, выполнен в виде отдельного элемента;
фиг.10 показывает перспективный вид картриджа для чернил в сборе согласно другому варианту осуществления настоящего изобретения, на котором, в частности, показана конструкция основного корпуса резервуара с открывающейся стороны;
фиг.11 показывает перспективный вид картриджа для чернил в сборе, на котором, в частности, показана его конструкция со стороны передней поверхности;
фиг.12 – вид спереди основного корпуса резервуара с открывающейся стороны;
фиг.13 – вид спереди нижней стороны основного корпуса резервуара;
фиг.14 – вид в разрезе области основного корпуса резервуара, в которой установлен механизм для создания отрицательного давления;
фиг.15 – вид в разрезе части проточного канала основного корпуса резервуара, проходящего от области, в которой установлен механизм для создания отрицательного давления, до выходного отверстия для подачи чернил;
фиг.16 – увеличенный вид в разрезе области, в которой установлен механизм для создания отрицательного давления;
фиг.17 – перспективный вид с пространственным разделением деталей картриджа для чернил в сборе согласно другому варианту осуществления настоящего изобретения, на котором, в частности, показан основной корпус резервуара с открывающейся стороны;
фиг.18 – вид в разрезе области основного корпуса резервуара, в которой установлен механизм для создания отрицательного давления;
фиг.19 – увеличенный вид в разрезе той области, в которой установлен механизм для создания отрицательного давления;
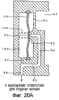
фиг.20А и фиг.20Б показывают схематические изображения конструкции проточного канала в механизме для создания отрицательного давления в картридже для чернил согласно настоящему изобретению, соответственно, в закрытом состоянии клапана и в открытом состоянии клапана;
фиг.21А и фиг.21Б – схематические виды конструкции проточного канала в механизме для создания отрицательного давления в обычном картридже для чернил, соответственно, в закрытом состоянии клапана и в открытом состоянии клапана;
фиг.22А и фиг.22Б – другие варианты осуществления конструкции проточного канала в механизме для создания отрицательного давления в картридже для чернил согласно настоящему изобретению;
фиг.23 изображает вид в разрезе другого варианта осуществления механизма для создания отрицательного давления;
фиг.24 изображает вид в разрезе варианта осуществления устройства регулировки потока жидкости для пишущей головки, в котором реализованы принципы настоящего изобретения.
Ниже приведено подробное описание настоящего изобретения, в основе которого лежат изображенные на иллюстрациях варианты его осуществления.
На фиг.1 и фиг.2А приведены перспективные изображения с пространственным разделением деталей, на которых показана конструкция картриджа для чернил в сборе согласно варианту осуществления настоящего изобретения на виде, соответственно, спереди и сзади. На фиг.3 показана конструкция картриджа для чернил на виде в разрезе. Границами картриджа для чернил являются каркас 2, на обеих сторонах которого имеются отверстия 1, и детали 3 и 4, представляющие собой крышки, посредством которых герметично закрывают соответствующие отверстия 1. Картридж для чернил снабжен выходным отверстием 5 для подачи чернил, которое расположено со стороны переднего конца картриджа в направлении вставки, например, в этом варианте осуществления – на нижней поверхности. Согласно настоящему изобретению выходное отверстие для подачи чернил содержит элемент или, иными словами, открывающуюся часть, к которой присоединяют или в которую вставляют соединительный элемент, например, полую иглу или трубку, обеспечивающий разъемное соединение между картриджем для чернил и пишущей головкой, расположенной на каретке.
Элемент 6, образующий канал для подачи чернил и являющийся частью механизма 30 для создания отрицательного давления, выполнен в виде единого целого вблизи той части каркаса 2, которая обращена к выходному отверстию 5 для подачи чернил, таким образом, чтобы часть элемента 6, образующего канал для подачи чернил, на одной из открывающихся сторон поверхности каркаса 2 представляла собой открываемую часть 7.
Элемент 6, образующий канал для подачи чернил, по существу, разделен на часть 8, которая предназначена для размещения в ней, по существу, круглого клапанного элемента 20 (также именуемого упругим элементом), и часть 9, представляющую собой проточный канал, посредством которого обеспечивают сообщение для жидкости с узлом 5 для подачи чернил. Выступающая часть 11 имеет первое сквозное отверстие 10, предназначенное для вытекания чернил, которое расположено в центре части 8, в которой расположен клапанный элемент, и второе сквозное отверстие 12, служащее в качестве отверстия для притока чернил, расположенное в месте, которое смещено относительно выступающей части 11. Часть 9, представляющая собой проточный канал, образована посредством третьего сквозного отверстия 13, служащего для притока чернил, посредством которого обеспечивают сообщение с областью передней поверхности клапанного элемента 20. Как показано на чертежах с фиг.4А по фиг.4В, первое сквозное отверстие 10 имеет, по существу, цилиндрическую прямую часть S со стороны упругого элемента, и воронкообразную часть R, которая расширяется в направлении наружу при прохождении вдоль сквозного отверстия 10 в направлении потока чернил, идущего к выходному отверстию 5 для подачи чернил. Эта воронкообразная часть R выполнена в виде единого целого с прямой частью S и находится ниже ее по течению потока. То есть сторона сквозного отверстия 10, через которую вытекают чернила, имеет расширение в направлении наружу. Такая конструкция обеспечивает надежную герметизацию посредством прямой части S и снижение гидравлического сопротивления движению жидкости во всем первом сквозном отверстии 10 проточного канала за счет воронкообразной части R.
На поверхности 6а перегородки в части 15 поверхности 14 создают выемку, служащую в качестве границы элемента 6, образующего канал для подачи чернил, таким образом, чтобы посредством нее было обеспечено соединение первого сквозного отверстия 10 в выступающей части 11 с третьим сквозным отверстием 13 в части 9, представляющей собой проточный канал. Границы соединительного канала 15′ задают путем заклеивания части 15, снабженной выемкой, пленкой 16.
В созданном таким способом элементе 6, образующем канал для подачи чернил, устанавливают упругодеформируемый клапанный элемент 20 посредством установочной рамки 21, которая регулирует его местоположение, как показано на фиг.4. Клапанный элемент 20 имеет толстую часть 20а, расположенную вдоль его периферийной окружности, образующую собой плоскую поверхность, обращенную к выступающей части 11. В выступающую часть 20б, созданную в центре клапанного элемента 20, помещена пружина 22, посредством которой осуществляют регулировку перепада давления, и которая соприкасается с задней поверхностью (с тыльной поверхностью) клапанного элемента 20. Кроме того, посредством фиксирующего элемента 23 создано водонепроницаемое уплотнение между внешней стороной и резервуаром для хранения чернил, обеспечивающее при этом сообщение между частью 9, представляющей собой проточный канал, и тыльной поверхностью клапанного элемента 20. Кстати, в изображенной конструкции может быть обеспечено улучшение прилегания между клапанным элементом 20 и выступающей частью 11 в том случае, если сопряженные части этих элементов выполнены плоскими, поскольку это способствует их совмещению и позволяет избежать необходимости учета искривления или неровностей примыкающих поверхностей.
Поэтому для обеспечения такого сообщения между частью 9, представляющей собой проточный канал, и задней стороной клапанного элемента 20, в области элемента 6, образующего канал для подачи чернил, и в фиксирующем элементе 23 выполнена, по меньшей мере, одна либо обе из частей 9а и 23а в виде выемки, которые обращены к части 9, представляющей собой проточный канал.
Клапанный элемент 20 в предпочтительном варианте изготовлен из полимерного материала, например, из обладающего упругостью эластомера, который обладает упругостью и может быть создан посредством прессования под давлением. Клапанный элемент 20 снабжен выступающей частью 20б, на которую надета пружина и которая находится в области, расположенной напротив выступающей части 11, то есть в центральной его части.
К разделительной перегородке 6б, которая представляет собой часть элемента 6, образующего канал для подачи чернил, присоединена или прикреплена пленка 24 таким образом, чтобы она покрывала собой поверхность фиксирующего элемента 23 и обеспечивала герметизацию части 8, в которой расположен клапан, и части 9, представляющей собой проточный канал, посредством чего обеспечивается их надежная герметизация и изоляция от резервуара для хранения чернил.
В описанном выше варианте осуществления второе сквозное отверстие 12 имеет, по существу, тот же самый размер, что и первое сквозное отверстие 1. Однако настоящее изобретение не ограничено этим вариантом и, как показано на фиг.2Б, вместо второго сквозного отверстия 12 может быть использовано окно 12′, выполненное путем удаления большей части поверхности 6а стенки, но при этом оставлено достаточное количество материала для создания части, которая не подвержена деформации за счет действия силы прижима пружины 22, вызывающей смещение клапанного элемента 20, и которая может позволить создать часть 15 в виде выемки, служащей в качестве соединительного канала. Такая конструкция обеспечивает получение того же самого результата, что и конструкция, описанная выше.
В этом варианте осуществления при установке картриджа для чернил в устройство для печати и при снижении давления жидкости со стороны выходного отверстия 5 для подачи чернил, то есть из области, расположенной в наиболее низкой точке по течению потока, в которой обеспечено вытекание чернил из картриджа для чернил, вследствие потребления чернил пишущей головкой или аналогичным устройством давление жидкости в части 9, представляющей собой проточный канал, в части 15′, представляющей собой проточный канал, которая образована частью 15, представляющей собой выемку, и пленкой 16, а также в замкнутом пространстве (также именуемом камерой регулировки давления) 27, расположенном позади клапанного элемента 20, которое сообщается с ними только через проточный канал, образованный частью 23а в виде углубления, также снижается, поэтому пониженное давление действует на поверхность, на которую также оказывает давление сила смещения пружины 22 (сообщение с жидкостью, находящейся в замкнутом пространстве 27, может происходить только через канал, образованный частью 23а в виде углубления). Однако в том случае, когда отрицательное давление в выходном отверстии 5 для подачи чернил не достигает заранее заданного значения, клапанный элемент 20 сохраняет герметичное состояние первого сквозного отверстия 10 за счет действия силы смещения пружины 22. Кроме этого, даже несмотря на то, что это отрицательное давление действует также и на первое сквозное отверстие 10 через соединительный канал 15′ и, следовательно, приложено к передней поверхности клапанного элемента 20, площадь сквозного отверстия 10 является чрезвычайно малой, поэтому сила, действующая на переднюю поверхность клапанного элемента, является пренебрежимо малой по сравнению с силой, приложенной к задней поверхности этого клапанного элемента. На фиг.4В частично показан вид в разрезе части 9, представляющей собой проточный канал, механизма 30 для создания отрицательного давления. При снижении отрицательного давления до уровня, меньшего чем усилие, приложенное за счет пружины 22 и собственной жесткости клапанного элемента 20, отрицательное давление в выходном отверстии 5 для подачи чернил действует на камеру 27 регулировки давления клапанного элемента 20, которая сообщается с выходным отверстием для подачи чернил через часть 23а или 9а (фиг.4В), представляющую собой выемку. Следовательно, к клапанному элементу 20 приложена сила, обусловленная перепадом давления, которая является достаточной для его перемещения в направлении, противоположном направлению действия силы смещения пружины 22, что обеспечивает его отделение от выступающей части 11 (фиг.4Б) и позволяет чернилам из камеры 17 для хранения чернил втекать в соединительный канал 15′ через второе сквозное отверстие 12 (на фиг.5А это обозначено стрелкой А) и через первое сквозное отверстие 10 в выступающей части 11. Чернила, втекающие в соединительный канал 15′, протекают через третье сквозное отверстие 13 (на фиг.5А это обозначено стрелкой Б) и через часть 9, представляющую собой проточный канал, в выходное отверстие 5 для подачи чернил (на фиг.5Б это обозначено стрелкой В).
После втекания заранее заданного количества чернил в выходное отверстие 5 для подачи чернил подобным способом, вызывая увеличение давления на тыльную поверхность клапанного элемента 20, изменение разности давления на клапанный элемент 20 приводит к тому, что клапанный элемент 20 входит в упругое соприкосновение с выступающей частью 11 за счет силы смещения пружины 22, обеспечивая герметизацию сквозного отверстия 10 (фиг.4А).
Впоследствии эту операцию повторяют для обеспечения подачи чернил в пишущую головку, при этом давление со стороны выходного отверстия для подачи чернил поддерживают равным заранее заданному отрицательному давлению.
Следует отметить, что такая регулировка потока чернил происходит автоматически в ответ на расход чернил из отверстия для подачи чернил. Это устраняет необходимость наличия специальной внешней регулирующей системы, которая периодически открывает и закрывает клапан для регулировки потока чернил, протекающих из резервуара для чернил в отверстие для подачи чернил и, следовательно, упрощает и обеспечивает усовершенствование конструкции картриджа для чернил.
Как показано на фиг.6А, герметизирующая сторона клапанного элемента согласно настоящему изобретению выполнена в виде плоской поверхности. Этот вариант отличается от обычного клапанного элемента 40, показанного на фиг.7, и в варианте клапанного элемента согласно настоящему изобретению отсутствует выступающая часть 42 со сквозным отверстием 41 в области, которая соприкасается с седлом клапана. Поэтому за счет такой конструкции в клапанном элементе, выполненном согласно настоящему изобретению, отсутствуют сварные швы, то есть канавки (щели, показанные на фиг.7), которые могут возникать при прессования под давлением, и, следовательно, может быть увеличен коэффициент выхода годных клапанных элементов при их производстве.
Кроме того, поскольку область клапанного элемента 20, соприкасающаяся с выступающей частью 11, может быть выполнена имеющей настолько большую плоскую поверхность, насколько это возможно, при этом вариант точного совмещения небольшой плоской области с выступающей частью не рассматривают, то может быть реализован надежный и плотный контакт большой плоской области с выступающей частью 11, служащей в качестве седла клапана, посредством чего обеспечивают высокую степень герметизации.
В отличие от этого, как показано на фиг.8А и фиг.8Б, обычный клапанный элемент 40 создает состояние, в котором выступающую часть 41 принудительно прижимают к герметизирующему элементу 44 под действием силы упругости пружины 43, в результате чего она оказывается сплющенной и упругодеформированной.
С другой стороны, поскольку в тот момент времени, когда клапанный элемент 40 находится в открытом состоянии, отрицательное давление, действующее на клапанный элемент 40, является постоянным даже в том случае, если он отделен от герметизирующего элемента 44, происходит возвращение области 42а, подвергнутой упругой деформации, в исходное состояние, а это приводит к тому, что зазор L’ проточного канала становится чрезвычайно малым, в результате чего возникает проблема наличия большого гидравлического сопротивления проточного канала.
Помимо этого, с учетом того обстоятельства, что сквозное отверстие 41 проходит сквозь клапанный элемент 40, который выполнен из упругодеформируемого материала, необходимо, чтобы площадь герметизирующего элемента 44 была большой для того, чтобы он закрывал собой сквозное отверстие 41 при наличии сдвига его местоположения вследствие отклонения клапанного элемента 40 от заданного местоположения и т.п. Это приводит к возникновению дополнительной проблемы наличия повышенного гидравлического сопротивления, обусловленного неизбежно большой протяженностью области узкого зазора в окрестности сквозного отверстия 41.
В отличие от этого, поскольку согласно настоящему изобретению герметизирующая сторона клапанного элемента 20 выполнена в виде плоской поверхности, подобное восстановление исходного состояния не происходит даже в том случае, если клапанный элемент 20 возвращается в исходное состояние под действием отрицательного давления, в результате чего может быть сохранен большой зазор L. Кроме того, поскольку первое сквозное отверстие 10, которое образует собой канал для протекания чернил в течение того времени, когда клапан находится в открытом состоянии, может быть выполнено проходящим через часть, в которой расположен клапанный элемент, и которая в предпочтительном варианте выполнена из более жесткого материала, чем клапанный элемент, то выступающая часть 11 может быть выполнена настолько малой, насколько это возможно и при этом обеспечивать наличие большого проточного канала между клапанным элементом 20 и торцевой поверхностью сквозного отверстия 10 вследствие ее жесткости. Следовательно, существует возможность снизить гидравлическое сопротивление в окрестности сквозного отверстия 10. В описанном выше варианте осуществления поверхность, соприкасающаяся с седлом клапана, выполнена в виде плоской поверхности. В альтернативном варианте, который показан на фиг.6Б, выступающей части 28 может быть придана такая конфигурация, которая обеспечивает отсутствие появления сварных швов и при этом дает тот же самый полезный эффект, который был описан применительно к плоской поверхности. В этом случае выступающая часть 28 может быть выполнена в виде конуса и иметь такой размер, который обеспечивает ее введение в сквозное отверстие 10, выполненное в выступающей части 11, при принудительном совмещении этих двух деталей.
В вышеописанном варианте осуществления клапанный элемент и элемент, представляющий собой каркас, выполнены в виде отдельных деталей. Однако они могут быть выполнены в виде единой детали посредством совместного прессования под давлением с использованием соответствующих пригодных материалов.
В вышеописанном варианте осуществления перегородку, ограничивающую собой область, в которой устанавливают механизм для создания отрицательного давления, выполняют таким образом, чтобы она составляла единое целое с элементом, представляющим собой резервуар для хранения чернил. В альтернативном варианте, показанном на фиг.9, элемент, посредством которого задают ту область, в которой устанавливают механизм для создания отрицательного давления, может быть выполнен в виде отдельной детали 31, вставленной в отверстие 5а, расположенное с той стороны выходного отверстия 5 для подачи чернил, которая находится выше по течению потока. Ниже приведено описание другого варианта осуществления настоящего изобретения.
На фиг.10, 11, 12 и 13 показана конструкция картриджа для чернил на видах спереди и сзади со снятой открывающейся герметичной крышкой. На фиг.14, 15 и 16 подробно показан механизм для создания отрицательного давления в разрезе. Со ссылкой на фиг.10 внутренняя часть основного корпуса 50 резервуара, образующая резервуар для хранения чернил, разделена по вертикали перегородкой 52, проходящей, по существу, в горизонтальном направлении и, в частности, проходящей таким образом, что сторона перегородки 52, находящаяся ближе к выходному отверстию 51 для подачи чернил, имеет небольшой наклон вниз. В выходном отверстии 51 для подачи чернил расположены клапанный элемент 54, фиксирующий элемент 55 и пружина 53, поэтому в том состоянии, когда картридж для чернил не установлен на основном корпусе устройства для печати, клапанный элемент 54 удерживается посредством пружины 53 в упругом соприкосновении с фиксирующим элементом 55, посредством чего обеспечивают герметичное перекрытие выходного отверстия 51 для подачи чернил.
Нижняя область, расположенная ниже перегородки 52, образует первую камеру 56 для хранения чернил, а верхняя область, расположенная выше перегородки 52, ограничена рамкой 59, для которой перегородка 52 служит нижней поверхностью и которая отделена от стенки 57 основного корпуса 50 резервуара на некоторое расстояние, которое в предпочтительном варианте является одинаковым, образуя соединительный канал 58 с окружающей средой. Внутренняя область рамки 59 дополнительно разделена вертикальной перегородкой 60, расположенной на ее дне и снабженной соединительным каналом 60а, таким образом, что одна из областей, полученных в результате разделения (то есть область в правой части чертежа), служит в качестве второй камеры 61 для хранения чернил, а другая область служит в качестве третьей камеры 62 для хранения чернил.
В области, расположенной напротив первой камеры 56 для хранения чернил, создан всасывающий проточный канал 63, посредством которого обеспечивают сообщение второй камеры 61 для хранения чернил с нижней поверхностью 50а основного корпуса 50 резервуара. Всасывающий проточный канал 63 выполнен путем создания на передней поверхности основного корпуса 50 резервуара части 64, снабженной выемкой (фиг.11), и герметизации этой части 64, снабженной выемкой, воздухонепроницаемой пленкой 104, более подробное описание которой приведено ниже.
В третьей камере 62 для хранения чернил расположен элемент 67, образующий канал для подачи чернил, который выполнен путем создания перегородки 65 кольцевой рамки, находящейся на одном уровне с рамкой 59, и плоской поверхности 66, разделяющей внутреннюю часть перегородки кольцевой рамки на переднюю и заднюю стороны. Между нижней частью перегородки 65 рамки и перегородкой 52 создана вертикальная перегородка 68, которая ограничивает собой четвертую камеру 69 для хранения чернил. В нижней части перегородки 68 имеется часть 68а в виде выемки, которая служит для сообщения с ней.
Между четвертой камерой 69 для хранения чернил и частью 59 рамки расположена разделительная перегородка 70, посредством которой создан канал 71 для протекания чернил. Верхняя часть канала 71 для протекания чернил сообщается с передней стороной поверхности основного корпуса 50 резервуара через сквозное отверстие 72, которое в случае необходимости может служить фильтровальной камерой.
Границей сквозного отверстия 72 служит перегородка 73, составляющая единое целое с перегородкой 70, при этом сквозное отверстие 72 сообщается с верхним краем канала 71 для протекания чернил через часть 73а, снабженную выемкой. Сквозное отверстие 72 также сообщается с внутренней частью перегородки 65 рамки через часть 74, снабженную выемкой, в предпочтительном варианте имеющей каплеобразную форму, расположенной со стороны передней поверхности, и соединительный канал 73б.
Как показано на фиг.11, нижняя часть элемента 67, образующего канал для подачи чернил, сообщается с выходным отверстием 51 для подачи чернил через проточный канал, образованный снабженной выемкой частью 86, выполненной на поверхности основного корпуса 50 резервуара, и воздухонепроницаемой пленкой 104, посредством которой обеспечивают герметизацию этой части 86, снабженной выемкой. Элемент 67, образующий канал для подачи чернил, имеет плоскую поверхность 66 и кольцевую перегородку 80, которые находятся со стороны передней поверхности основного корпуса 50 резервуара и расположены напротив резервуара для хранения чернил, ограничивая таким образом ту часть, в которой размещен клапанный элемент 81. Плоская поверхность 66 выполнена таким образом, что в своей, приблизительно, центральной части имеет выступающую часть 83, снабженную сквозным отверстием 82. Плоская поверхность 66 также выполнена таким образом, что в местах, отстоящих от выступающей части 83, она снабжена соединительным каналом 85, сообщающимся с передней поверхностью клапанного элемента 84. Это сквозное отверстие 82 является аналогичным тому, которое показано на фиг.4А, и выполнено в виде, по существу, цилиндрической прямой части S, находящейся со стороны упругого элемента, и воронкообразной части R, которая постепенно расширяется в направлении потока чернил, идущего к выходному отверстию 51 для подачи чернил, и которая выполнена в виде единого целого с прямой частью S и находится ниже ее по течению потока (то есть сквозное отверстие 82 расширено в направлении наружу с той стороны, с которой происходит вытекание чернил), посредством чего обеспечивают надежную герметизацию прямой части S при одновременном снижении гидравлического сопротивления проточного канала за счет воронкообразной части R.
Около нижнего края перегородки 80 расположена часть 87, снабженная насечками, которая сообщается с частью 86, снабженной выемкой, которая проходит вниз к выходному отверстию 51 для подачи чернил. Глубина этой части 87, снабженной насечками, выбрана таким образом, чтобы после установки клапанного элемента 84 часть 87, снабженная насечками, сообщалась только с тыльной стороной поверхности клапанного элемента 84. Со стороны задней поверхности, расположенной напротив сквозного отверстия 82, то есть в верхнем резервуаре для хранения чернил, находится перегородка 88, которая проходит до верхнего края части 86, снабженной выемкой, обеспечивая возможность избежать просачивания из соединительного канала 85, и посредством которой отделено некоторое пространство от окружающей области таким образом, чтобы это пространство сообщалось с областью верхнего края части 86, снабженной выемкой, через сквозное отверстие 89, расположенное в нижней части перегородки 88.
Передняя поверхность основного корпуса 50 резервуара снабжена узкой извилистой канавкой 90, которая служит для увеличения гидравлического сопротивления проточного канала в максимально возможной степени, широкой канавкой 91, расположенной вокруг узкой канавки 90, и частью 92 в виде прямоугольной выемки, расположенной в области, находящейся напротив второй камеры 61 для хранения чернил. В части 92 в виде прямоугольной выемки имеется деталь 93 в виде рамки, расположенная в том месте, которое находится немного ниже открытого края части 92 в виде выемки, а внутри детали 93 в виде рамки создают ребра 94, расположенные на некотором расстоянии друг от друга. Для создания камеры связи с внешней средой на деталь 93 в виде рамки натягивают и налепляют воздухопроницаемую пленку 95, не пропускающую чернила.
Как показано на фиг.12 и фиг.13, на нижней поверхности части 92 в виде выемки выполнено сквозное отверстие 96, обеспечивающее сообщение с узкой областью 98, которая отделена перегородкой 97, расположенной во внутренней части второй камеры 61 для хранения чернил. С другого края область 98 сообщается через сквозное отверстие 99, созданное в области 98, канавку 108, выполненную на передней поверхности основного корпуса 50 резервуара, и сквозное отверстие 99а с клапанной камерой 101, в которой расположен клапан 100 сообщения с окружающей средой, открывающийся при установке картриджа для чернил в устройство для печати. Область поверхности части 92 в виде выемки, которая является боковой по отношению к воздухопроницаемой пленке 95, сообщается с одним из концов 90а узкой канавки 90.
Часть 81 основного корпуса резервуара 50, предназначенная для размещения клапана, имеет конструкцию, аналогичную той, которая была описана выше в предыдущем варианте осуществления, изображенном на фиг.1. Как показано на фиг.11, установка клапанного элемента 84 и пружины 102 выполнена аналогичным способом, закрепление фиксирующего элемента 103 выполнено точно таким же способом, а пленка 104 прикреплена так, что передняя поверхность основного корпуса 50 резервуара покрыта ею точно таким же способом. Фиксирующий элемент 103 выполнен имеющим канавку 105, сообщающуюся с частью 87, снабженной насечками, и проточные каналы 106 и 107, сообщающиеся с тыльной поверхностью клапанного элемента 84.
Следовательно, посредством частей 74, 86 и 105, снабженных выемками, в совокупности с пленкой 104 образован канал для протекания чернил, а посредством узких канавок 90 и 91 и частей 92 и 108 в виде выемок в совокупности с пленкой образован капилляр и соединительный канал с окружающей средой.
С открывающейся стороны основного корпуса 50 резервуара герметизацию отверстий камер 61, 67 и 69 для хранения чернил, находящихся в верхней части, и отверстий элемента 67, образующего канал для подачи чернил, осуществляют посредством пленки 110 для отделения этих областей от камеры 56 для хранения чернил и соединительного канала 58 с окружающей средой, которые расположены в нижней части. После этого к основному корпусу 50 резервуара герметично присоединяют деталь 111, представляющую собой крышку, в результате чего завершают создание камеры 56 для хранения чернил, которая расположена в нижней части.
Кроме того, на фиг.10 и фиг.11 показана опознавательная деталь 120, которую используют для предотвращения ошибочной установки картриджа для чернил, и запоминающее устройство 121, в котором запоминают информацию о чернилах и т.д. и которое устанавливают в снабженную выемкой часть 122 основного корпуса резервуара.
При установке созданного таким способом картриджа для чернил в иглу для подачи чернил, которая сообщается с пишущей головкой, игла для подачи чернил перемещает клапанный элемент 54 назад в направлении, противоположном направлению действия силы смещения пружины 53, открывая тем самым выходное отверстие 51 для подачи чернил. Поскольку давление в выходном отверстии для подачи чернил 51 в этом состоянии является пониженным вследствие расхода чернил пишущей головкой в результате выполнения ею операции печати и т.д., пониженное давление воздействует на проточный канал, образованный частью 86, снабженной выемкой, и пленкой 104, и на тыльную поверхность клапанного элемента 84 через часть 87, снабженную насечками, то есть на ту поверхность, где клапанный элемент 84 воспринимает прижимную силу пружины 102. В том случае, когда давление в выходном отверстии 51 для подачи чернил не снижается до величины, меньшей чем заранее заданное значение, которая является достаточной для перемещения клапанного элемента 84, клапанный элемент 84 остается прижатым за счет силы смещения пружины 102 в состоянии упругого контакта с выступающей частью 83, за счет чего сквозное отверстие 82 остается в закрытом состоянии. Следовательно, чернила не вытекают из камеры для хранения чернил в выходное отверстие 51 для подачи чернил.
В том случае, когда давление в выходном отверстии 51 для подачи чернил (то есть в проточном канале того элемента или открытой части, с которым соединен или в который вставлен соединительный элемент, например, полой иглы или трубки, посредством которой обеспечивают разъемное соединение картриджа для чернил с пишущей головкой, находящейся на каретке) снижается до заранее заданного значения вследствие продолжающегося расхода чернил пишущей головкой, давление, действующее на тыльную поверхность клапанного элемента 84 через упомянутый выше проточный канал, преодолевает силу воздействия пружины 102, и поэтому клапанный элемент 84 отделяется от выступающей части 83. Следовательно, чернила вытекают из соединительных каналов 85 в область между клапанным элементом 84 и плоской поверхностью 66, при этом чернила протекают из сквозного отверстия 82 через канал, образованный частью 88, снабженной выемкой, и пленкой 110, через сквозное отверстие 89, через проточный канал, образованный между частью 86, снабженной выемкой, и пленкой 104, и через выходное отверстие 51 для подачи чернил в пишущую головку устройства для печати.
После того, как давление на тыльную поверхность клапанного элемента 84 возрастает в результате перетекания заранее заданного объема чернил на тыльную сторону поверхности клапанного элемента 84, клапанный элемент 84 снова входит в принудительное соприкосновение с выступающей частью 83 за счет силы смещения пружины 102, закрывая собой сквозное отверстие 82, посредством чего обеспечивают перекрытие проточного канала. Следовательно, существует возможность удержания жидкости в выходном отверстии 51 для подачи чернил при таком отрицательном давлении, которое является достаточным для предотвращения утечки чернил из пишущей головки, но при этом позволяет осуществлять подачу чернил в пишущую головку.
По мере расхода чернил чернила из четвертой камеры 69 для хранения чернил перетекают через проточный канал 71 и сквозное отверстие 72 в сторону передней поверхности клапанного элемента 84. Затем, поскольку в окружающую среду открыта только первая камера 56 для хранения чернил, то по мере расхода чернил из четвертой камеры 69 для хранения чернил чернила из третьей камеры 62 для хранения чернил перетекают в четвертую камеру 69 для хранения чернил через часть 68a, снабженную выемкой, а по мере расхода чернил из третей камеры 62 для хранения чернил чернила из второй камеры 59 для хранения чернил перетекают в третью камеру 62 для хранения чернил через часть 60a, снабженную выемкой. По мере расхода чернил из второй камеры 61 для хранения чернил чернила из первой камеры 56 для хранения чернил перетекают во вторую камеру 61 для хранения чернил через всасывающий проточный канал 63. Следовательно, камеры для хранения чернил, расположенные выше по течению потока, последовательно опустошаются раньше, поэтому сначала расходуются чернила из первой камеры 56 для хранения чернил, затем расходуются чернила из второй камеры 61 для хранения чернил и т.д.
На фиг.17 показан другой вариант осуществления изобретения, в котором увеличена емкость чернил, содержащихся в вышеупомянутом картридже для чернил. Основной корпус 50′ резервуара в этом варианте осуществления имеет такую же самую конструкцию, как и основной корпус 50 резервуара из вышеуказанного варианта осуществления, за исключением того, что он имеет большую ширину W.
Поскольку в результате этого видоизменения высота разделительной перегородки 65 элемента 67, образующего канал для подачи чернил, отличается от высоты рамки 59′, то для герметизации открытой части разделительной перегородки 65 элемента 67, образующего канал для подачи чернил, используют третью пленку 130.
В варианте осуществления изобретения, который показан на чертежах с фиг.10 по фиг.16, передняя поверхность выступающей части 83 элемента 67, образующего канал для подачи чернил, в несколько раз превышает диаметр сквозного отверстия 82. Как показано на фиг.18 и фиг.19, оба элемента: сквозное отверстие 82′ и выступающая часть 83′, могут быть выполнены имеющими в сечении коническую форму, посредством чего обеспечивают уменьшение гидравлического сопротивления проточного канала за счет увеличения диаметра сквозного отверстия 82′, а также дополнительное уменьшение гидравлического сопротивления проточного канала за счет увеличения области, занимаемой проточным каналом между клапанным элементом 84 и перегородкой 83а’ вблизи сквозного отверстия 82′.
Ниже приведено дополнительное описание функционирования устройства генерации отрицательного давления в картридже для чернил, описание которого приведено выше со ссылкой на фиг.10-фиг.16, со ссылкой на принципиальные схемы, изображенные на Фиг.20А и фиг.20Б, на которых дополнительно показана упрощенная конструкция картриджа согласно настоящему изобретению. фиг.20А и фиг.20Б представляют собой принципиальные схемы, на которых показан клапан, соответственно, в закрытом состоянии и в открытом состоянии, а конструкция устройства генерации отрицательного давления изображена в упрощенном виде. Для ясности изложения и для обеспечения соответствия с описанной выше конструкцией устройства генерации отрицательного давления на этих чертежах используют те же самые номера позиций, которые были использованы для варианта осуществления, показанного на фиг.10-фиг.16.
В закрытом состоянии клапана, которое показано на фиг.20A, сквозное отверстие 82 закрыто клапанным элементом 84 в ответ на силу смещения, приложенную к нему посредством пружины 102, и поэтому поток чернил из камеры чернил 62 к выходному отверстию для подачи чернил перекрыт. В этом состоянии по мере расхода чернил пишущей головкой давление со стороны выходного отверстия для подачи чернил соответственно уменьшается, при этом снизившееся за счет этого давление воздействует на клапанный элемент 84 через соединительный канал 87 и проточный канал 88. В этом варианте осуществления тыльная сторона поверхности клапанного элемента 84, сообщающаяся с соединительным каналом 87, обращена к камере 109, которая расположена между клапанным элементом 84 и соединительным каналом 87, при этом жидкость в камере 109 сообщается с жидкостью во внешней части только лишь через соединительный канал 87. То есть камера 109 служит в качестве камеры регулировки давления, обеспечивающей передачу изменения давления в выходном отверстии для подачи чернил к тыльной поверхности клапанного элемента 84.
Следовательно, тыльная поверхность клапанного элемента 84 воспринимает пониженное давление со стороны выходного отверстия для подачи чернил всей большой площадью поверхности, в то время как другая (передняя) поверхность клапанного элемента 84 воспринимает пониженное давление со стороны выходного отверстия для подачи чернил только лишь ограниченной площадью поверхности через отверстие 82. Поэтому вследствие разности размеров областей, воспринимающих давление, которые находятся на передней и задней поверхностях клапанного элемента 84, возникает сила, приложенная в направлении, обеспечивающем сжатие пружины 102. В том случае, когда давление со стороны выходного отверстия для подачи чернил понижается настолько, что становится ниже давления, заданного пружиной 102, клапанный элемент 84 отделяется от выступающей части 83, как показано на фиг.20Б, и открывает отверстие 82, за счет чего чернила из камеры 62 для хранения чернил перетекают через соединительный канал 85 и проточный канал 88 в пишущую головку.
Так как во время этого перетекания чернил чернила протекают только через переднюю сторону поверхности клапанного элемента 84, то даже в случае всасывания воздушного пузыря, содержащегося в камере для хранения чернил 62, и его прохождении через переднюю сторону поверхности клапанного элемента 84 воздушный пузырь протекает вместе с потоком чернил в пишущую головку без изменений. То есть, поскольку тыльная сторона поверхности клапанного элемента 84 выполнена таким образом, что полностью закупоривает замкнутое пространство (известное также как камера регулировки давления) 109 для предотвращения вытекания потока чернил с высокой скоростью из камеры 62 для хранения чернил через соединительный канал 87, маловероятно, что воздушный пузырь войдет в соединительный канал 87 и пройдет на тыльную сторону поверхности клапанного элемента 84.
Поэтому любое изменение давления со стороны выходного отверстия для подачи чернил наверняка воздействует на тыльную поверхность клапанного элемента 84 через чернила, что предотвращает остановку подачи чернил. Кроме того, любой воздушный пузырь, поступающий в пишущую головку, может быть легко удален при приложении к пишущей головке отрицательного давления для принудительного выпуска из нее чернил, например, в процессе возвращения в режим всасывания.
В отличие от этого в обычном картридже для чернил, в котором клапанный элемент 40 выполнен так, как показано на фиг.7, и снабжен сквозным отверстием 41, служащим в качестве канала для протекания чернил, существует вероятность того, что воздушный пузырь достигнет тыльной стороны поверхности клапанного элемента 40, то есть области, воспринимающей давление из выходного отверстия для подачи чернил, и в таком случае наличие воздушного пузыря снижает тяговое усилие, приложенное к клапанному элементу.
В частности, на фиг.21А и фиг.21Б показаны упрощенные принципиальные схемы устройства генерации отрицательного давления в обычном картридже для чернил. На этих чертежах клапан показан, соответственно, в закрытом состоянии и в открытом состоянии. В состоянии, в котором клапанный элемент 40 изолирует резервуар 200 для хранения чернил от выходного отверстия 201 для подачи чернил (фиг.21А), при уменьшении давления в выходном отверстии 201 для подачи чернил, соответственно, уменьшается давление в области 203 тыльной поверхности клапанного элемента 40, и поэтому клапанный элемент 40 принудительно перемещается назад против силы смещения пружины 204, что показано на фиг.21Б. При перемещении клапанного элемента 40 сквозное отверстие 41, служащее в качестве канала для протекания чернил, отделяется от выступающей части 206, и чернила, находящиеся в резервуаре 200 для хранения чернил проходят через сквозное отверстие 41 и протекают через область 203 тыльной поверхности клапанного элемента 40 в выходное отверстие 201 для подачи чернил. Сообщение между резервуаром 200 для хранения чернил и клапанным элементом 40 обеспечивают посредством обозначено проходного отверстия 208.
Если во время этого перетекания чернил появляется воздушный пузырь B, втекающий из сквозного отверстия 41, то существует вероятность того, что воздушный пузырь останется в области 203 тыльной поверхности клапанного элемента 202. Воздушный пузырь B, поступающий в область 203 тыльной поверхности клапанного элемента 40, то есть в область, воспринимающую давление в выходном отверстии 201 для подачи чернил, легко увеличивается в объеме, поглощая и тем самым ослабляя любое уменьшение давления в этой области 203, и следовательно, перемещения клапанного элемента 40 и подачи чернил в пишущую головку становятся невозможным при наличии пузыря.
С учетом того обстоятельства, что выступающая часть 206 должна обеспечивать герметизацию сквозного отверстия 41 клапанного элемента 40, предпочтительным вариантом является тот, в котором сквозное отверстие 41 клапанного элемента 40 выполнено в выступающей части 42. Однако размер S выступающей части 206, обеспечивающей герметизацию сквозного отверстия 41 клапанного элемента 40, необходимо выполнять большим, чтобы она перекрывала любое возможное смещение местоположения сквозного отверстия 41, вызванное деформацией клапанного элемента 40. Это создает проблему, заключающуюся в наличии увеличенного гидравлического сопротивления, обусловленного увеличением площади выступающей части 206 и ее окрестностей и, соответственно, большой площадью узкого зазора между выступающей частью 206 и клапанным элементом 40.
В отличие от этого в варианте согласно настоящему изобретению, который показан на фиг.20А и фиг.20Б, поскольку отверстие 82, расположенное в выступающей части 83, является герметично закрытым, то достаточно обеспечить плотный контакт передней поверхности клапанного элемента 84 с отверстием 82. Поэтому размер выступающей части 83 может быть уменьшен, насколько это возможно, до такой степени, которая обеспечивает возможность выполнения открываемой части 82. Следовательно, существует возможность уменьшения размера области узкого зазора, находящегося около отверстия 82 между клапанным элементом 84 и выступающей частью 83, посредством чего обеспечивают уменьшение гидравлического сопротивления проточного канала.
В вышеописанном варианте осуществления тыльная сторона поверхности клапанного элемента 84 выполнена таким образом, что обращена к замкнутому пространству 109, которое имеет сообщение с внешней областью только через соединительный канал 87, и перекрывает его. Однако изобретение не ограничено этим вариантом. Например, как показано на фиг.22А или фиг.22Б, проточный канал 88, обеспечивающий сообщение жидкости между отверстием 82 и выходным отверстием для подачи чернил, может быть соединен с одной стороны с замкнутым пространством 109, находящимся позади клапанного элемента 84, а проточный канал, обеспечивающий сообщение жидкости с выходным отверстием для подачи чернил может быть выполнен в камере регулировки давления таким образом, чтобы каналом для протекания чернил служила область тыльной поверхности клапанного элемента 84. Кроме того, вертикальная компоновка клапанного элемента 84, показанная на фиг.22А, помогает обеспечить то, что любой пузырь, проходящий через отверстие 85, всплывет вверх вдоль клапанного элемента в верхнюю часть камеры и не будет втянут в отверстие 82.
Путем выполнения канала 86′ для вытекания чернил, сообщающегося с камерой 109 регулировки давления, находящейся позади клапанного элемента 84, который расположен перпендикулярно поверхности клапанного элемента 84 так, как показано на фиг.22Б, обеспечена возможность использования картриджа для чернил с клапанным элементом 84, расположенным горизонтально.
Кроме того, например, в варианте осуществления, показанном на фиг.4, пружина 22 регулировки перепада давления расположена на тыльной поверхности клапанного элемента 20 и обеспечивает принудительный упругий контакт клапанного элемента 20 с выступающей частью 11. Однако настоящее изобретение не следует ограничивать этим вариантом. Например, как показано на фиг.23, клапанный элемент 20 может быть выполнен из упругого материала, например из резины, а выступающая часть 11 может иметь выступ относительно плоскости P, образованной самим недеформированным телом 20 клапана без выступающей части, который выходит за ее пределы в направлении клапанного элемента 20. В этом варианте клапанный элемент 20 может сохранять упругий контакт с выступающей частью 11 за счет собственной упругости самого клапанного элемента 20. Посредством такой конструкции можно обойтись без смещающего элемента, например пружины 22.
В альтернативном варианте смещение тела 20 клапана может быть выполнено за счет совокупности его собственной деформации относительно выступающей части 11 и надлежащим образом расположенной смещающей пружины.
Несмотря на то, что описание настоящего изобретения было приведено со ссылкой на съемный картридж для чернил, который может быть установлен на пишущей головке, настоящее изобретение применимо и к резервуару для чернил (картриджу для чернил) такого типа, в котором пишущая головка прикреплена к узлу для хранения чернил, например, к резервуару для чернил. В этом варианте описанное выше выходное отверстие для подачи чернил охватывает граничную область, в которой узел для хранения чернил соединен с пишущей головкой, то есть выходное отверстие для подачи чернил представляет собой входное отверстие для поступления чернил или часть пишущей головки.
На фиг.24 показан вариант осуществления устройства регулировки потока жидкости или устройства подачи жидкости, в котором непосредственно использован принцип действия вышеописанного клапанного элемента для обеспечения подачи чернил в пишущую головку при сохранении отрицательного давления в канале 86, из которого чернила протекают во входное отверстие 147 для поступления чернил, имеющееся в пишущей головке. В этом варианте осуществления область, расположенная вверх по течению потока непосредственно рядом с клапанным элементом 84 (то есть область, соответствующая камере 62 для хранения чернил из фиг.20А и фиг.20Б), отсутствует, а вместо нее конструкция клапанного устройство 141 в этом варианте осуществления содержит соединительный элемент, например, полую иглу 140. Клапанное устройство 141 является сменным и может быть соединено с внешним устройством, например, с резервуаром для чернил или с резервуаром 142 для чернил, в котором хранят запас чернил, через соединительный элемент.
В нижней части резервуара 142 для чернил расположено отверстие 143 для вытекания чернил, с которым может входить в непроницаемый для жидкости контакт полая игла 140. В новом неиспользованном резервуаре 142 для чернил отверстие 143 для вытекания чернил заклеено герметизирующей пленкой (не показана), предотвращающей утечку чернил, которая может быть проткнута полой иглой 140. Кроме того, на чертеже показана кольцевая прокладка 144, выполненная таким образом, что обеспечивает упругий контакт с внешней окружностью полой иглы 140. Резервуар снабжен отверстием 145 для сообщения с окружающей средой.
Блоки из этого изобретения, необходимые для обеспечения вышеизложенного функционирования клапанного элемента 84, могут быть выполнены в виде независимого устройства, то есть клапанного устройства 141. В этой конструкции пишущая головка 146 прикреплена к нижней части клапанного устройства 141, а имеющееся в пишущей головке 146 входное отверстие 147 для поступления чернил соединено с отверстием для вытекания чернил (с проточным каналом 86) клапанного устройства 141. Резервуар 142 для чернил может быть установлен путем вставки резервуара 142 для чернил в направлении, указанном стрелкой А, обеспечивая подачу чернил в пишущую головку 146, и может быть заменен путем перемещения резервуара 142 для чернил в противоположном направлении и его извлечения.
Кроме того, функционирование и результат действия клапанного устройства 141 в этом варианте осуществления являются такими же, как и в вышеупомянутых вариантах осуществления, и следовательно, клапанное устройство 141 в совокупности с резервуаром 142 для чернил функционируют точно таким же образом, как и описанный выше картридж для чернил.
Несмотря на то, что в вышеупомянутом варианте осуществления резервуар 142 для чернил непосредственно соединен с соединительным элементом (которым является полая игла 140) (установлен на нем), тот же самый эффект может быть получен и в том случае, когда соединительный элемент соединен с картриджем для чернил, установленным в основном корпусе устройства для печати, через трубку.
Несмотря на то, что настоящее изобретение было подробно описано и проиллюстрировано, конечно же, понятно, что описанные варианты его осуществления приведены лишь в качестве иллюстраций и примеров и не ограничивают изобретение, а сущность и объем патентных притязаний настоящего изобретения определяются только рамками сопроводительной формулы изобретения.
Формула изобретения
1. Картридж для чернил, содержащий резервуар для хранения чернил, выходное отверстие для подачи чернил, сообщающееся с резервуаром для хранения чернил через канал для протекания чернил, и механизм для создания отрицательного давления, избирательно перекрывающий и открывающий канал для протекания чернил вследствие расхода чернил и содержащий элемент, образующий канал для подачи чернил, расположенный между резервуаром для хранения чернил и выходным отверстием для подачи чернил и образующий канал для протекания чернил, сообщающийся с выходным отверстием для подачи чернил, и упругий элемент, расположенный в элементе, образующем канал для подачи чернил, и имеющий первую поверхность, воспринимающую первое давление в резервуаре для хранения чернил через первый проточный канал, созданный в элементе, образующем канал для подачи чернил, и вторую поверхность, воспринимающую второе давление в выходном отверстии для подачи чернил через второй проточный канал, созданный в элементе, образующем канал для подачи чернил, посредством чего обеспечено соприкосновение упругого элемента с открываемой частью канала для протекания чернил и его отделение от нее за счет приложенной силы упругости, зависящей, по меньшей мере частично, от разности между первым давлением и вторым давлением, при этом упругий элемент способен перемещаться таким образом, чтобы он открывал открываемую часть канала для протекания чернил при уменьшении давления в выходном отверстии для подачи чернил до величины, меньшей или равной заранее заданному значению, обеспечивая тем самым открывание канала для протекания чернил и подачу чернил в выходное отверстие для подачи чернил.
2. Картридж для чернил по п.1, отличающийся тем, что упругий элемент имеет плоскую поверхность, по меньшей мере, вблизи области, соприкасающейся с открываемой частью канала для протекания чернил.
3. Картридж для чернил по п.1, отличающийся тем, что дополнительно содержит смещающий элемент и вторая поверхность упругого элемента принудительно смещена смещающим элементом по направлению к открываемой части канала для протекания чернил.
4. Картридж для чернил по п.1, отличающийся тем, что канал для протекания чернил и первый и второй проточные каналы, по меньшей мере частично, образованы частями, снабженными выемками, выполненными в элементе, образующем канал для подачи чернил, и по меньшей мере, одной пленкой для герметизации частей, снабженных выемками.
5. Картридж для чернил по п.1, отличающийся тем, что открываемая часть канала для протекания чернил содержит сквозное отверстие, выполненное в элементе, образующем канал для подачи чернил.
6. Картридж для чернил по п.1, отличающийся тем, что дополнительно содержит корпус, имеющий выходное отверстие для подачи чернил и открытую поверхность, и крышку, герметично закрывающую открытую поверхность корпуса, при этом механизм для создания отрицательного давления расположен в области, которая выполнена либо в виде единого целого с корпусом, либо в виде отдельной детали по отношению к корпусу.
7. Картридж для чернил по п.1, отличающийся тем, что резервуар для хранения чернил разделен на верхнюю область резервуара для хранения чернил, герметичную по отношению к окружающей среде, и нижнюю область резервуара для хранения чернил, сообщающуюся с окружающей средой, причем верхняя и нижняя области резервуара для хранения чернил является взаимно сообщающимися между собой через всасывающий проточный канал, механизм для создания отрицательного давления размещен в верхней области резервуара для хранения чернил, а элемент, образующий канал для подачи чернил, расположен между верхней областью резервуара для хранения чернил и выходным отверстием для подачи чернил.
8. Картридж для чернил по п.7, отличающийся тем, что верхняя область резервуара для хранения чернил разделена разделительной перегородкой на резервуар для хранения чернил, находящийся ниже по течению потока, сообщающийся с выходным отверстием для подачи чернил, и резервуар для хранения чернил, находящийся выше по течению потока, сообщающийся со всасывающим проточным каналом, и механизм для создания отрицательного давления размещен в резервуаре для хранения чернил, находящемся ниже по течению потока.
9. Картридж для чернил по п.7, отличающийся тем, что элемент, образующий канал для подачи чернил, выполнен в виде единого целого с основным корпусом резервуара, ограничивающим резервуар для хранения чернил.
10. Картридж для чернил по п.7, отличающийся тем, что канал для протекания чернил, сообщающийся с выходным отверстием для подачи чернил, ограничен, по меньшей мере, частично частью, снабженной выемкой, выполненной в основном корпусе резервуара, ограничивающем резервуар для хранения чернил, и пленкой для герметизации части, снабженной выемкой.
11. Картридж для чернил по п.7, отличающийся тем, что элемент, образующий канал для подачи чернил, содержит часть в виде кольцевой рамки и донную часть, служащие в качестве перегородок в резервуаре для хранения чернил, в донной части выполнена открываемая часть канала для протекания чернил, а упругий элемент установлен в той части рамки, которая расположена напротив открываемой части канала для протекания чернил.
12. Картридж для чернил по п.7, отличающийся тем, что ширина элемента, образующего канал для подачи чернил, равна ширине основного корпуса резервуара, ограничивающего резервуар для хранения чернил, а элемент, образующий канал для подачи чернил, герметизирован посредством пленки, герметизирующей часть основного корпуса резервуара и служащей границей резервуара для хранения чернил.
13. Картридж для чернил по п.7, отличающийся тем, что ширина элемента, образующего канал для подачи чернил, является меньшей, чем ширина основного корпуса резервуара, ограничивающего резервуар для хранения чернил, элемент, образующий канал для подачи чернил, герметизирован посредством первой пленки, а часть основного корпуса резервуара герметизирована посредством второй пленки, которая служит границей резервуара для хранения чернил.
14. Картридж для чернил по п.7, отличающийся тем, что открываемая часть канала для протекания чернил содержит сквозное отверстие, выполненное в выступающей части, периферийная часть которой выполнена в виде плоской поверхности.
15. Картридж для чернил по п.7, отличающийся тем, что открываемая часть канала для протекания чернил выполнена в виде сквозного отверстия в выступающей части, имеющей в сечении коническую форму.
16. Картридж для чернил по любому из пп.1, 2, 3, 5, 7, 14, 15, отличающийся тем, что открываемая часть канала для протекания чернил содержит цилиндрическую часть, расположенную со стороны упругого элемента, и расширенную часть, расширяющуюся наружу при прохождении вдоль расширенной части в направлении потока чернил к выходному отверстию для подачи чернил.
17. Картридж для чернил, содержащий резервуар для хранения чернил, выходное отверстие для подачи чернил, сообщающееся с резервуаром для хранения чернил через канал для протекания чернил, и механизм для создания отрицательного давления, избирательно перекрывающий и открывающий канал для протекания чернил вследствие расхода чернил и содержащий упругий элемент, имеющий первую и вторую поверхности, канал для протекания чернил, сообщающийся с выходным отверстием для подачи чернил и имеющий открываемую часть в том месте, в котором первая поверхность упругого элемента входит в соприкосновение с открываемой частью и отделяется от нее, сообщающаяся часть, обращенная к первой поверхности упругого элемента и сообщающаяся с резервуаром для хранения чернил, и часть в виде пространственного промежутка, обращенная ко второй поверхности упругого элемента и сообщающаяся с выходным отверстием для подачи чернил.
18. Картридж для чернил по п.17, отличающийся тем, что механизм для создания отрицательного давления дополнительно содержит разделительную перегородку, расположенную с той стороны упругого элемента, которая находится выше по течению потока и служит границей камеры, расположенной между упругим элементом и разделительной перегородкой, при этом разделительная перегородка имеет выступающую часть, к которой прижата первая поверхность упругого элемента, и открываемую часть канала для протекания чернил, выполненную в выступающей части.
19. Картридж для чернил по п.18, отличающийся тем, что механизм для создания отрицательного давления дополнительно содержит смещающий элемент, расположенный напротив выступающей части и обеспечивающий принудительное смещение упругого элемента в направлении выступающей части.
20. Картридж для чернил по п.18, отличающийся тем, что принудительное смещение упругого элемента в направлении выступающей части обеспечено за счет упругой деформации упругого элемента.
21. Картридж для чернил по п.18, отличающийся тем, что открываемая часть выступающей части выполнена таким образом, что, по существу, обращена к центру упругого элемента.
22. Картридж для чернил по п.17, отличающийся тем, что часть в виде пространственного промежутка содержит камеру, обращенную ко второй поверхности упругого элемента и выполненную таким образом, что расход чернил вызывает изменение давления, приложенного к той стороне упругого элемента, которая находится ниже по течению потока, а измененное давление приложено, по существу, ко всей площади второй поверхности упругого элемента.
23. Картридж для чернил по п.17, отличающийся тем, что чернила, находящиеся в камере для хранения чернил, протекают в выходное отверстие для подачи чернил в следующем порядке: через проточный канал, соединяющий камеру хранения чернил с первой поверхностью упругого элемента, через открываемую часть канала для протекания чернил, через проточный канал, соединенный с открываемой частью канала для протекания чернил, через часть в виде пространственного промежутка, обращенного ко второй поверхности упругого элемента, и через проточный канал, соединяющий часть в виде пространственного промежутка с выходным отверстием для подачи чернил.
24. Картридж для чернил по п.17, отличающийся тем, что проточный канал канала для протекания чернил содержит первую часть, обеспечивающую сообщение открываемой части выступающей части с выходным отверстием для подачи чернил, проточный канал разветвлен в промежуточной части, служащей границей разветвленного канала, часть в виде пространственного промежутка содержит замкнутое пространство, давление в котором приложено, по существу, ко всей площади второй поверхности упругого элемента, при этом разветвленный канал сообщается с замкнутым пространством.
25. Картридж для чернил по п.17, отличающийся тем, что первая и вторая поверхности упругого элемента имеют, по существу, одинаковую площадь контакта с чернилами.
26. Картридж для чернил по п.17, отличающийся тем, что открываемая часть канала для протекания чернил содержит цилиндрическую часть, расположенную со стороны упругого элемента, и расширенную часть, расширяющуюся наружу при прохождении вдоль расширенной части в направлении потока чернил к выходному отверстию для подачи чернил.
27. Устройство для регулировки потока жидкости для пишущей головки, содержащее упругий элемент, имеющий первую и вторую поверхности, и способный перемещаться в ответ на перепад давлений между первой и второй поверхностями, сообщающуюся часть, обращенную к первой поверхности упругого элемента и выполненную таким образом, что обеспечивает сообщение с резервуаром для чернил, в котором хранят чернила, отверстие для вытекания чернил, открываемую часть канала для протекания чернил, сообщающуюся с отверстием для вытекания чернил, при этом первая поверхность упругого элемента выполнена таким образом, что способна входить в соприкосновение с открываемой частью и отделяться от нее, и часть в виде пространственного промежутка, обращенную ко второй поверхности упругого элемента и сообщающуюся с отверстием для вытекания чернил.
28. Устройство по п.27, отличающееся тем, что содержит разделительную перегородку, расположенную с той стороны упругого элемента, которая находится выше по течению потока и служит границей камеры, расположенной между упругим элементом и разделительной перегородкой, при этом разделительная перегородка имеет выступающую часть, к которой прижата первая поверхность упругого элемента, и открываемую часть канала для протекания чернил, сообщающегося с отверстием для вытекания чернил, выполненную в выступающей части.
29. Устройство по п.28, отличающееся тем, что содержит смещающий элемент, расположенный напротив выступающей части и принудительно смещающий упругий элемент в направлении выступающей части.
30. Устройство по п.28, отличающееся тем, что принудительное смещение упругого элемента в направлении выступающей части обеспечено за счет упругой деформации упругого элемента.
31. Устройство по п.28, отличающееся тем, что открываемая часть выступающей части выполнена таким образом, что, по существу, обращена к центру упругого элемента.
32. Съемный картридж для чернил, предназначенный для установки на иглу для подачи чернил, имеющуюся в устройстве для струйной печати, и содержащий резервуар для чернил, имеющий внутреннюю часть и выходное отверстие для подачи чернил, в которое при установке картриджа входит игла для подачи чернил, и устройство регулировки потока, расположенное внутри резервуара для чернил и содержащее корпус, имеющий дно, которое имеет внутреннюю сторону и внешнюю сторону, выполненное в дне входное отверстие, проходящее между внутренней и внешней сторонами и обеспечивающее сообщение с внутренней частью резервуара для чернил, стенку, проходящую по его периметру с внутренней стороны дна, выступ, расположенный с внутренней стороны дна и снабженный проходящим через него выходным отверстием, и канавку, выполненную на внешней стороне и обеспечивающую сообщение с выходным отверстием и выходным отверстием для подачи чернил, крышку, соприкасающуюся со стенкой, проходящей по периметру, упругий элемент, расположенный между крышкой и внутренней стороной дна, и элемент, обеспечивающий принудительное смещение, расположенный между крышкой и упругим элементом, посредством которого к упругому элементу приложена сила, обеспечивающая прижим упругого элемента к выступу.
33. Картридж для чернил по п.32, отличающийся тем, что, по меньшей мере, крышка или стенка, проходящая по периметру, имеет выемку, расположенную таким образом, что пространство между упругим элементом и крышкой через эту выемку сообщается с выходным отверстием для подачи чернил.
34. Картридж для чернил по п.32, отличающийся тем, что часть упругого элемента, обращенная к выступу, выполнена плоской.
35. Картридж для чернил по п.32, отличающийся тем, что часть выступа, обращенная к упругому элементу, выполнена плоской.
36. Картридж для чернил по п.32, отличающийся тем, что упругий элемент имеет выпуклую часть, обращенную к крышке и входящую в контакт с элементом, обеспечивающим принудительное смещение.
37. Картридж для чернил по п.32, отличающийся тем, что дополнительно содержит внутреннюю перегородку, разделяющую внутреннюю часть резервуара для чернил на множество камер.
38. Картридж для чернил по п.32, отличающийся тем, что входное отверстие выполнено в виде круглого отверстия.
39. Картридж для чернил по п.32, отличающийся тем, что выходное отверстие выполнено в виде круглого отверстия.
40. Устройство для регулировки потока жидкости, предназначенное для установки в чернильном картридже для струйной печати, имеющем камеру для хранения чернил и выходное отверстие для подачи чернил, и осуществляющее регулировку потока жидкости из камеры для хранения чернил в выходное отверстие для подачи чернил, которое содержит корпус, имеющий дно, которое имеет внутреннюю сторону и внешнюю сторону, выполненное в дне входное отверстие, проходящее между внутренней и внешней сторонами и обеспечивающее после установки устройства регулировки потока жидкости сообщение с камерой для хранения чернил, стенку, проходящую по его периметру с внутренней стороны дна, выступ, расположенный с внутренней стороны дна и снабженный проходящим через него выходным отверстием, и канавку, выполненную на внешней стороне и обеспечивающую сообщение с выходным отверстием, а после установки устройства регулировки потока жидкости также и с выходным отверстием для подачи чернил, крышку, соприкасающуюся со стенкой, проходящей по периметру, упругий элемент, расположенный между крышкой и внутренней стороной дна, и элемент, обеспечивающий принудительное смещение, расположенный между крышкой и упругим элементом, посредством которого к упругому элементу приложена сила, обеспечивающая прижим упругого элемента к выступу.
41. Устройство по п.40, отличающееся тем, что, по меньшей мере, крышка или стенка, проходящая по периметру, имеет выемку, расположенную таким образом, что после установки устройства регулировки потока жидкости пространство между упругим элементом и крышкой через эту выемку сообщается с выходным отверстием для подачи чернил.
42. Устройство по п.40, отличающееся тем, что часть упругого элемента, обращенная к выступу, выполнена плоской.
43. Устройство по п.40, отличающееся тем, что часть выступа, обращенная к упругому элементу, выполнена плоской.
44. Устройство по п.40, отличающееся тем, что упругий элемент имеет выпуклую часть, обращенную к крышке и входящую в контакт с элементом, обеспечивающим принудительное смещение.
45. Устройство по п.40, отличающееся тем, что входное отверстие выполнено в виде круглого отверстия.
46. Устройство по п.40, отличающееся тем, что выходное отверстие выполнено в виде круглого отверстия.
47. Способ регулировки потока чернил из картриджа для чернил, имеющего выходное отверстие для подачи чернил, в головку для струйной печати, при котором создают клапанную камеру, представляющую собой часть картриджа для чернил, имеющую крышку и основание, снабженное входным отверстием и выходным отверстием, и содержащую упругую мембрану, при этом входное отверстие и выходное отверстие расположены на первой стороне упругой мембраны, а между второй стороной упругой мембраны и крышкой имеется некоторое пространство, прижимают упругую мембрану к основанию посредством приложенной силы таким образом, чтобы соприкасающаяся часть упругой мембраны вошла в соприкосновение с выходным отверстием и обеспечила его герметизацию, при этом при понижении давления в указанном пространстве ниже заданного значения возникающая в результате этого разность давлений, воздействующих на упругую мембрану, приводит к тому, что соприкасающаяся часть упругой мембраны отходит от выходного отверстия в направлении, противоположном направлению действия приложенной силы.
48. Способ по п.47, отличающийся тем, что дополнительно обеспечивают изменение давления в указанном пространстве таким образом, чтобы оно было равным давлению в выходном отверстии для подачи чернил.
49. Способ по п.47,отличающийся тем, что изменение давления осуществляют путем создания проточного канала между указанным пространством и выходным отверстием для подачи чернил.
Приоритет по пунктам:
12.09.2002 по пп.1-6, 47-49;
04.10.2002 по пп.7-17, 26, 32-39;
06.12.2002 по пп.18-25;
09.12.2002 по пп.27-31, 40-46.
РИСУНКИ
|
|