|
|
(21), (22) Заявка: 2002129287/12, 28.02.2001
(24) Дата начала отсчета срока действия патента:
28.02.2001
(30) Конвенционный приоритет:
03.04.2000 CN 00106428.2 02.06.2000 CN 00109059.3 31.07.2000 CN 00122540.5 12.10.2000 CN 00131642.7 18.11.2000 CN 00133063.2
(43) Дата публикации заявки: 10.04.2004
(45) Опубликовано: 10.09.2005
(56) Список документов, цитированных в отчете о поиске:
US 4677447 A, 30.06.1987. US 4555719 A, 26.11.1985. EP 0827836 A1, 11.03.1998. EP 0808871 A2, 26.11.1997.
(85) Дата перевода заявки PCT на национальную фазу:
04.11.2002
(86) Заявка PCT:
CN 01/00312 (28.02.2001)
(87) Публикация PCT:
WO 01/78988 (25.10.2001)
Адрес для переписки:
103735, Москва, ул.Ильинка, 5/2, ООО “Союзпатент”, пат.пов. Л.И.Ятровой
|
(72) Автор(ы):
КСИАО Кинггуо (CN), ЛИ Ю. (CN)
(73) Патентообладатель(и):
ЮНИКОРН ИМИДЖ ПРОДАКТС КО. ЛТД. ОФ ЖУХАЙ (CN)
|
(54) КАРТРИДЖ ДЛЯ ЧЕРНИЛ, СПОСОБ И УСТРОЙСТВО ДЛЯ ЗАЛИВКИ ЧЕРНИЛ
(57) Реферат:
Изобретение относится к клапану для чернил для использования в головке струйной печати или головке принтера. Односторонний клапан расположен в камере для чернил картриджа для чернил и включает в себя опорную часть подножия, опорную часть стенки, выступающую под углом от внутренней стороны опорной части подножия, опорную часть буртика, изгибающуюся по направлению к внутренней стороне опорной части стенки, и опорную часть головки, выступающую из опорной части буртика и выполненную со сквозным отверстием. При этом уплотнительный узел для клапана избирательно поддерживается в контакте со сквозным отверстием опорной части головки за счет разности давлений. Этот уплотнительный узел выполнен как единое целое с блочной частью и расположен в выпускном канале для чернил. За счет этого достигается повышение чувствительности к изменениям давления, что улучшает качество печати. В то же время уплотнительный узел картриджа имеет улучшенную функцию уплотнения в нерабочем состоянии, а также в рабочем состоянии. 4 н. и 34 з.п. ф-лы, 29 ил. 
Область техники
Изобретение относится к картриджу для чернил, предназначенному для хранения жидких чернил с целью использования совместно с головкой струйной печати или головкой принтера и подачи в нее чернил. Конкретно, настоящее изобретение относится к картриджу, имеющему односторонний клапан для регулирования подачи чернил в печатающую головку. Картридж также включает в себя уплотнительный элемент, выполненный как единое целое с уплотнительной частью и блочной частью.
Изобретение также относится к способу и устройству для заливки чернил в картридж для чернил, в котором применяется односторонний клапан для регулирования расхода чернил, в частности путем использования разности давлений, обуславливающей либо избыточное давление (положительное давление), либо разрежение (отрицательное давление), для заполнения картриджа.
Предшествующий уровень техники
Обычно в принтере струйной печати желательно поддерживать подходящее разрежение внутри резервуара для чернил. В патенте Китая №1185379А описано устройство (фиг.1), используемое для поддержания состояния разрежения в резервуаре для чернил. В резервуар 10 для чернил заливают чернила 12, а пористое тело 14, например из вспененного материала, поглощает эти чернила. В удержании чернил в междоузлиях или ячейках вспененного материала играет роль механика поверхностной энергии. Вместе с тем, объемная эффективность при использовании вспененного материала составляет примерно 60-65%. Поэтому такие конструкции считаются менее эффективными, чем желательно.
В патенте США №4677447, выданном Нильсену (Nielsen), говорится об использовании обратного клапана 22 и резервуара 20 для чернил с целью регулирования расхода чернил, как показано на фиг.2. Упругая зонтичная диафрагма обеспечивает избирательное уплотнение вокруг отверстия 25. При эксплуатации разрежение воздействует на диафрагменный клапан, позволяя чернилам 24 протекать из резервуара в малую полость 26 рядом с соплами печатной головки для струйной термопечати. Однако обратный клапан этой конструкции не способен предотвратить появление пузырьков воздуха. Пузырьки воздуха улавливаются внутри полости 26, а также претерпевают расширение и сжатие при изменениях давления или температуры, препятствуя выходу чернил из полости. За счет расширения и сжатия пузырьков воздуха, способствующих выталкиванию чернил из малой полости через сопла, может произойти утечка чернил через эти сопла.
В публикации CN 1133784A патента Китая описан воронкообразный герметизирующий элемент 100, выполненный со сквозным отверстием, как показано на фиг.3А. Герметизирующий элемент также снабжен конической поверхностью 102, находящейся в контакте с иглой 104, для подачи чернил в соответствующий печатающий механизм. Чтобы предотвратить утечку чернил, необходимо наносить дополнительную уплотнительную пленку 106 в канале подачи чернил, что должно увеличить стоимость.
В патенте США №5790158 описан картридж для чернил, в котором тоже имеется уплотнительное кольцо 120 круглого поперечного сечения (известное также как «кольцевое уплотнение») с отверстием, как показано на фиг.3В. Такой вид уллотнительной структуры играет положительную роль в уплотнении, но и в этом случае необходимо наносить уплотнительную пленку 124 снаружи камеры 122 в целях транспортировки.
В патенте США №5949458 описан уплотнительный элемент 130, показанный на фиг.3С. Этот уплотнительный элемент 130 выполнен как единое целое с пробиваемым уплотнительным мембранным элементом 132. В случае применения, этот мембранный элемент 132 иногда достаточно трудно пробить, поскольку мембранный элемент 132 обдает большой растяжимостью.
Очевидно, что вышеупомянутые уплотнительные структуры требуют применения уплотнительной пленки, привариваемой к внешней поверхности картриджа для чернил с целью предотвращения утечки чернил после введения подающей иглы для чернил, и по-прежнему требуют наличия уплотненной упаковки во время транспортировки и в случаях, когда картридж не используется.
Известно, как нужно изготавливать картридж для чернил в массовом производстве и эффективно заливать чернила в картриджи, чтобы повысить производительность.
В патенте США №5280299 описан картридж для чернил, в котором применяется пористый материал, показанный на фиг.4, и способ заливки чернил, показанный на фиг.5. Пористый материал 15 помещают в резервуар и подсоединяют этот резервуар к печатающей головке. Способ заливки чернил, осуществляемый в картридже для чернил, показан на фиг.5. То есть, на этапе 1 (р1) способ включает в себя этап получения незаполненного картриджа для чернил; на этапе 2 (р2) в резервуар укладывают пористый материал; на этапе 3 (р3) запечатывают впускное отверстие резервуара, через которое вводили пористый материал; на этапе 4 (р4) осуществляют проверку на утечку; на этапе 5 (р5) уменьшают давление; на этапе 6 (р6) заливают чернила в резервуар; на этапе 7 (р7) удаляют остаточные свободные чернила; и на этапе 8 (р8) уплотняют выпускной канал для жидких чернил.
Вышеупомянутый способ трудно осуществить. Между пористым материалом и внутренней поверхностью картриджа для чернил имеется некоторое пространство или зазор, в котором сохраняется немного жидких чернил, называемых «свободными чернилами». В конце концов, «свободные чернила» могут вытечь из картриджа, поэтому их остаток необходимо удалить. Но эти «свободные чернила» могут не находиться или не скапливаться в одном и том же месте, и местонахождение «свободных чернил» является разным в зависимости от разных картриджей для чернил. В частности, «свободные чернила» не всегда находятся около впускного отверстия для жидких чернил, а появляются в отдаленных от него зонах картриджа. В этом случае трудно удалить «свободные чернила», и вполне возможно, что в качестве «свободных чернил» будут удалены жидкие чернила, сохраняющиеся в пористом материале, а это может привести к изменению общего объема введенных чернил, а также распределению чернил в пористых материалах.
Следует подчеркнуть, что операция удаления «свободных чернил» происходит в печатающей головке. Заливка жидких чернил осуществляется около печатной головки для чернил, так что «свободные чернила» из других зон картриджа могут удаляться вместе с сохраняемыми чернилами, а это может привести к тому, что чернила иссякнут во время работы.
Как упоминалось выше, трудно реализовать способ заливки чернил в пористые материалы картриджа для чернил и трудно удалить «свободные чернила». Поскольку пористый материал занимает некоторую часть пространства картриджа для чернил, какое-то количество чернил остается в пористых материалах после печати, что ограничивает количество жидких чернил, которое должен подавать картридж для чернил, и увеличивает стоимость.
Поэтому было бы желательно разработать усовершенствованные картридж для чернил, а также способ и устройство для заливки, которые позволяют решить эти и другие проблемы.
Сущность изобретения
Возможный конкретный вариант осуществления изобретения представляет собой картридж для чернил, имеющий простую конструкцию, легкий в обращении, легко изготавливаемый, имеющий большую механическую прочность, не допускающий смешивание воздуха с жидкими чернилами, подаваемыми из картриджа, и предотвращающий утечку чернил из картриджа.
В настоящем изобретении предложен картридж для чернил, в котором применяется односторонний клапан, оперативно связанный с каналом подачи чернил и предназначенный для регулирования расхода чернил. В настоящем изобретении предложен односторонний клапан ступенчатой формы, выполненный с возможностью легкого деформирования.
В настоящем изобретении предложен картридж, в котором выпускной канал уплотнен посредством уплотнительного элемента, выполненного как единое целое с уплотнительной частью и блочной частью. Это приспособление обеспечивает надежное функционирование уплотнения картриджа как во время транспортировки, так и во время эксплуатации после введения иглы принтера.
В настоящем изобретении предложен способ заливки жидких чернил в картридж для чернил посредством одностороннего клапана в условиях разрежения. В настоящем изобретении предложено устройство для заливки чернил в картридж, и при этом используется игла для удаления воздуха с образованием разрежения, а также для заливки чернил до предварительно определенного уровня.
В настоящем изобретении предложен способ заливки в картридж для чернил, в котором используется односторонний клапан для сохранения жидких чернил и регулирования их расхода.
Картридж для чернил, предназначенный для устройства струйной печати, содержит корпус картриджа, предназначенный для заключения в нем чернил и снабженный, по меньшей мере, одной камерой для чернил, при этом корпус картриджа содержит,
по меньшей мере, одно воздухоприемное отверстие для обеспечения сообщения посредством текучей среды между камерой для чернил и наружным воздухом,
по меньшей мере, один выпускной канал для чернил, приспособленный для подачи чернил из камеры для чернил, и
по меньшей мере, один уплотнительный элемент, предусмотренный внутри выпускного канала для чернил,
по меньшей мере, один односторонний клапан, расположенный внутри камеры для чернил, для регулирования расхода чернил, причем этот односторонний клапан снабжен выполненными как единое целое с ним
опорной частью подножия, уплотняющей внутреннюю стенку выпускного канала для чернил,
опорной частью стенки, выступающей изнутри опорной части подножия, опорной частью буртика, изогнутой во внутрь опорной части стенки, опорной частью головки, выступающей из опорной части буртика и выполненной со сквозным отверстием, и
уплотнительным узлом для клапана, предназначенным для блокировки сквозного отверстия опорной части головки.
В картридже для чернил опорная часть стенки выступает под углом из опорной части подножия.
В картридже для чернил опорная часть буртика снабжена выемкой, образуемой опорной частью стенки, изогнутой во внутрь.
В картридже для чернил опорная часть головки выступает под углом из опорной части буртика.
В картридже для чернил опорная часть головки является конической. В картридже для чернил размер угла наклона опорной части головки больше, чем размер угла наклона опорной части стенки.
В картридже для чернил размер толщины опорной части подножия больше, чем размер толщины опорной части головки, а размер толщины опорной части головки больше, чем размер толщины опорной части буртика.
В картридже для чернил выемка образована внутренней стенкой выпускного канала для чернил и предназначена для размещения клапана.
В картридже для чернил выемка дополнительно включает в себя ступенчатую круглую область, ограниченную нижней стенкой выемки, для размещения фильтрующего элемента.
В картридже для чернил опорная часть головки одностороннего клапана находится в несколько сжатом состоянии под воздействием уплотнительного узла для клапана.
В картридже для чернил для предотвращения утечки чернил из воздухоприемного отверстия в этом воздухоприемном отверстии расположено приспособление, предотвращающее утечку чернил.
В картридже для чернил приспособление, предотвращающее утечку чернил, представляет собой выступ, проходящий из воздухоприемного отверстия наружу, в камеру для чернил.
В картридже для чернил приспособление, предотвращающее утечку чернил, представляет собой изгибающуюся трубку, окружающую периферию воздухоприемного отверстия, причем один конец трубки соединен с этим воздухоприемным отверстием, а другой ее конец выступает из чернил.
В картридже для чернил приспособление, предотвращающее утечку чернил, представляет собой мешкообразный элемент, расположенный внутри камеры для чернил и содержащий открытый конец, для соединения с воздухоприемным отверстием, а также крошечное отверстие, предусмотренное в стенке мешкообразного элемента.
В картридже для чернил мешкообразный элемент представляет собой упругий баллон.
В картридже для чернил предусмотрена чашеобразная крышка для крепления упругого баллона, которая содержит сквозное отверстие, имеющее широкий конец, размеры которого обеспечивают контакт с внешней периферией выступа воздухоприемного отверстия, и узкий конец, действующий как продолженная часть воздухоприемного отверстия, при этом имеется буртик, на котором установлен открытый конец упругого баллона.
В картридже для чернил нижняя стенка камеры для чернил имеет уклон или наклон к выпускному каналу для чернил.
В картридже для чернил в поверхности нижней стенки камеры для чернил выполнена, по меньшей мере, одна направляющая канавка для чернил.
В картридже для чернил на нижней стенке камеры для чернил предусмотрен выступ для предотвращения блокировки отверстия уплотнительного элемента для клапана мешкообразным элементом.
В картридже для чернил открытый конец мешкообразного элемента имеет отверстие, размер которого по существу, равен размеру стенки корпуса картриджа, внутри которой предусмотрено воздухоприемное отверстие.
В картридже для чернил мешкообразный элемент имеет несколько перекрывающихся слоев.
В картридже для чернил воздухоприемное отверстие сообщается с наружным пространством или атмосферой через воздуховод неправильной формы, выполненный в стенке корпуса картриджа.
В картридже для чернил часть воздуховода расположена у внутренней поверхности стенки.
В картридже для чернил на внешней поверхности стенки, на которой предусмотрено воздухоприемное отверстие, расположена воздухонаправляющая пленка.
В картридже для чернил в стенке корпуса картриджа предусмотрено отверстие для заливки чернил, которое уплотнено уплотнительной пробкой.
В картридже для чернил уплотнительный элемент, предусмотренный внутри выпускного канала для чернил, содержит опорную часть, выполненную как единое целое с камерой внутри нее, опирающуюся на внутреннюю стенку выпускного канала для чернил, уплотнительную часть, выступающую из опорной части, блочную часть, соединенную с уплотнительной частью, и соединительную часть, расположенную вдоль окружности между уплотнительной частью и блочной частью, для опирания блочной части, отделяющейся от соединительной части под воздействием некоторого давления.
В картридже для чернил внутри уплотнительного элемента предусмотрена коническая поверхность.
В картридже для чернил предусмотрена окружная канавка для размещения опорной части уплотнительного узла с целью облегчения отделения блочной части от уплотнительного элемента.
В картридже для чернил толщина соединительной части является разной.
В картридже для чернил толщина соединительной части уменьшается от одной стороны к другой.
В картридже для чернил на стенке выпускного канала для чернил предусмотрено газоотводное отверстие.
Односторонний клапан для регулирования расхода чернил содержит
опорную часть подножия,
опорную часть стенки, выступающую изнутри опорной части подножия,
опорную часть буртика, изогнутую во внутрь опорной части стенки, и
опорную часть головки, выступающую из опорной части буртика и выполненную со сквозным отверстием.
В одностороннем клапане опорная часть буртика снабжена выемкой, образуемой опорной частью стенки, изгибающейся во внутрь.
В соответствии с односторонним клапаном опорная часть головки выступает под углом из опорной части буртика.
В соответствии с односторонним клапаном размер толщины опорной части подножия больше, чем размер толщины опорной части головки, а размер толщины опорной части головки больше, чем размер толщины опорной части буртика.
Способ заливки чернил, предназначенный для заливки их в картридж для чернил, включает в себя этапы, на которых
a) уплотняют картридж для чернил,
b) создают разрежение в полости путем отсоса воздуха в направляющей полости для чернил и в камере для чернил,
c) заливают предварительно определенное количество чернил в картридж для чернил.
В соответствии со способом заливки чернил, этап b) включает в себя этапы, на которых
d) проделывают газоотводное отверстие в стенке направляющей полости для чернил, образованной однопутевым клапаном и уплотнительным узлом,
e) вставляют отсасывающую иглу в газоотводное отверстие. В соответствии со способом заливки чернил, этот способ включает в себя этап, на котором
f) вынимают отсасывающую иглу из газоотводного отверстия, когда давление воздуха достигает предварительно определенного значения.
Предложено устройство для заливки чернил, предназначенное для заливки их в картридж для чернил, причем этот картридж для чернил содержит
воздухоприемное отверстие для обеспечения сообщения посредством текучей среды между камерой для чернил и наружным воздухом,
канал подачи чернил, предназначенный для подачи чернил из камеры для чернил, и
уплотнительный элемент, выполненный внутри выпускного канала для чернил с целью уплотнения чернил в нем,
односторонний клапан, сочлененный с уплотнительным узлом для клапана, блокирующим его сквозное отверстие, находящийся в опорной части головки, расположенный на дне резервуара для чернил и образующий направляющую полость для чернил вместе с уплотнительным элементом с целью удержания чернил и регулирования их расхода,
причем
устройство для заливки чернил содержит
сжимаемое устройство, используемое для уплотнения крышки упомянутого картриджа для чернил,
контейнер, являющийся источником чернил,
заполняющую иглу для чернил, вставляемую в упомянутый картридж для чернил и соединяемую с упомянутым контейнером, являющимся источником для чернил, через трубку,
регулятор расхода, предназначенный для регулирования расхода чернил из упомянутого контейнера, являющегося источником чернил, в упомянутый картридж для чернил,
воздушный насос,
поглощающую иглу, одной стороной соединяемую с упомянутым воздушным насосом, а другой стороной пронизывающую газоотводное отверстие упомянутого картриджа для чернил, при этом на трубках между упомянутым регулятором расхода и упомянутым контейнером, являющимся источником чернил, а также между упомянутым регулятором расхода и упомянутой иглой для заливки чернил расположены по отдельности два клапана.
Способ заливки чернил, предназначенный для заливки их в картридж для чернил, включает этапы, на которых:
a) вставляют иглу для подачи чернил, соединенную с контейнером, являющимся источником чернил, в канал подачи чернил картриджа для чернил,
b) заливают предварительно определенное количество чернил в картридж для чернил непосредственно через насос, создающий избыточное давление.
В соответствии со способом заливки чернил, дополнительно
c) проделывают газоотводное отверстие в стенке направляющей полости для чернил, образованной односторонним клапаном и уплотнительным узлом,
d) вставляют поглощающую иглу для чернил, соединяемую с насосом, создающим разрежение, в газоотводное отверстие,
e) отсасывают воздух из направляющей полости для чернил картриджа для чернил с помощью разрежения, чтобы отделить однопутевой клапан от уплотнительного узла для клапана за счет разности давлений и обеспечить направление чернил в направляющую полость для чернил.
В соответствии со способом заливки чернил, дополнительно уплотняют канал для заливки чернил.
В соответствии с одним аспектом настоящего изобретения, образование воздушного пузыря будет предотвращено за счет обеспечения малой полости между клапаном и уплотнительным элементом, а также наличия резервной жидкости в этой малой полости.
В соответствии с еще одним аспектом настоящего изобретения, образование воздушного пузыря будет предотвращено ввиду такой конфигурации полости для чернил или направляющей камеры для чернил, в соответствии с которой они являются малыми, а также ввиду того, что воздух, улавливаемый в направляющей камере для чернил, можно отсасывать за счет очищающего воздействия работы принтера.
В соответствии с еще одним аспектом настоящего изобретения, жидкие чернила будут заливаться в малую полость из резервуара для поддержания печати, поскольку односторонний клапан срабатывает, реагируя на очень малые изменения давления, причем этот клапан выполнен с возможностью эксплуатации в расширенном диапазоне давлений и простой адаптации к ним. Важно, что при этом чернила расходуются полностью, стоимость изготовления клапана для чернил уменьшается, способ заливки оказывается простым, а регулирование работы улучшается.
В соответствии с еще одним аспектом настоящего изобретения, картридж для чернил согласно настоящему изобретению выполнен с возможностью предотвращать утечку чернил.
В соответствии с еще одним аспектом настоящего изобретения, картридж для чернил выполнен с возможностью гарантированного получения уплотнительной детали, выдерживающей как приложение усилия некоторой величины, так и контакт с иглой после вставления иглы для подачи чернил.
В соответствии с дополнительным аспектом настоящего изобретения, работа уплотнительного элемента проста, а стоимость мала, потому что уплотнительная деталь выполнена так, что опорная часть, уплотнительная часть, блочная часть и соединительная часть представляют собой единое целое.
Краткое описание чертежей
Настоящее изобретение будет понятно специалисту в данной области после изучения описания вместе с прилагаемыми чертежами, а также предпочтительных конкретных вариантов осуществления. На фигурах чертежей:
– фиг.1 изображает известный картридж для чернил, причем в этом картридже использован вспененный материал;
– фиг.2 – пример известного картриджа для чернил, причем в этом картридже использован предварительно нагруженный обратный клапан;
– фиг.3А – пример воронкообразного уплотнительного элемента;
– фиг.3В – пример уплотнительного кольца круглого поперечного сечения;
– фиг.3С – пример уплотнительного элемента, снабженного мембранным элементом;
– фиг.4 – пример вспененного материала, примененного в картридже для чернил, в котором между камерой для чернил и вспененным материалом находятся «свободные чернила»;
– фиг.5 – способ заливки чернил, предназначенный для заливки их в картридж для чернил, изображенный на фиг.4;
– фиг.6 – в разрезе односторонний сильфонный клапан согласно настоящему изобретению;
– фиг.7А – в разрезе картридж для чернил в соответствии с первым конкретным вариантом осуществления настоящего изобретения;
фиг.7В – в разрезе картридж для чернил в соответствии с первым конкретным вариантом осуществления настоящего изобретения, схематически иллюстрирующим работу этого картриджа;
– фиг.8 – в разрезе картридж для чернил в соответствии со вторым конкретным вариантом осуществления настоящего изобретения, показывающий пружину, упирающуюся в сильфонный клапан;
– фиг.9 – в разрезе картридж для чернил в соответствии с третьим конкретным вариантом осуществления настоящего изобретения, с отдельным крепежным элементом для клапана;
– фиг.10 – в разрезе картридж для чернил в соответствии с четвертым конкретным вариантом осуществления настоящего изобретения, с выступающим крепежным элементом для клапана и пористым телом, расположенным в воздухоприемном отверстии, для предотвращения утечки чернил из картриджа;
– фиг.11 – в разрезе картридж для чернил, показывающий элемент цилиндрического клапана для предотвращения утечки чернил из воздухоприемного отверстия;
– фиг.12А – в разрезе в увеличенном масштабе цилиндрический клапан, показанный на фиг.11;
– фиг.12В – в разрезе в увеличенном масштабе элемент цилиндрического клапана, показанного на фиг.12А;
– фиг.13 – в разрезе картридж для чернил, показывающий элемент шарового клапана, который предотвращает утечку чернил из воздухоприемного отверстия;
– фиг.14 – в разрезе в увеличенном масштабе шаровой клапан, показанный на фиг.13;
– фиг.15 – в разрезе предпочтительный конкретный вариант осуществления изобретения, включающий в себя U-образную трубку, наклонную нижнюю стенку и уплотнительный элемент, предусмотренный внутри канала подачи чернил;
– фиг.16А – в разрезе предпочтительный конкретный вариант осуществления настоящего изобретения, включающий в себя упругий мешочек, соединенный с воздухоприемным отверстием, для предотвращения утечки чернил;
– фиг.16В – в разрезе крепежную крышку мешочка, показанного на фиг.16А;
– фиг.16С – в разрезе упругий мешочек, показанный на фиг.16А;
– фиг.16D – в разрезе упругий мешочек, показанный на фиг.16А;
– фиг.16Е – в разрезе картридж для чернил, показывающий направляющее ребро для чернил на нижней стенке и лабиринт в крышке;
– фиг.16F – вид сверху крышки картриджа для чернил, показывающий воздухонаправляющую пленку, покрывающую лабиринт;
– фиг.17 – в разрезе картридж для чернил, показывающий мембрану, соединяемую с крышкой, причем воздухоприемное отверстие расположено внутри этой крышки;
– фиг.18А – в разрезе картридж для чернил, показывающий сильфонообразный элемент, соединенный с крышкой, причем сильфонообразный элемент находится в своем нерабочем состоянии;
– фиг.18В – в разрезе картридж для чернил, показывающий сильфонообразный элемент, соединенный с крышкой, причем сильфонообразный элемент находится в своем рабочем состоянии;
– фиг.18С – в разрезе сильфонообразный элемент, показанный на фиг.18А;
– фиг.19А – 19Е – в разрезе альтернативные уплотнительные элементы внутри канала подачи чернил, предусмотренные в выходном отверстии этого канала, показанном на фиг.15;
– фиг.20А – в разрезе альтернативные уплотнительные элементы, выполненные как единое целое в пределах шарообразной блочной части;
– фиг.20В – в разрезе шарообразная блочная часть, представленная на фиг.20А, отделенная от уплотнительного элемента после вставления иглы принтера;
– фиг.21 А – в разрезе альтернативные уплотнительные элементы, выполненные как единое целое в пределах цилиндрической блочной части;
– фиг.21В – в разрезе цилиндрическая блочная часть, показанная на фиг.21 А, отделенная от уплотнительного элемента после вставления иглы принтера;
– фиг.22 – в разрезе альтернативный уплотнительный элемент, имеющий внутреннюю коническую поверхность;
– фиг.23А – предпочтительный конкретный вариант осуществления соединительной части, выполненной на уплотнительном элементе как одно целое с ним, показывающий, что соединительная часть обладает средней толщиной;
– фиг.23В – другой предпочтительный конкретный вариант осуществления соединительной части, выполненной на уплотнительном элементе как одно целое с ним, показывающий, что соединительная часть обладает разной толщиной;
– фиг.24 – в разрезе еще один альтернативный предпочтительный конкретный вариант осуществления уплотнительного элемента;
– фиг.25А – 25В – в перспективе изображения упаковочного уплотнения, используемого с целью уплотнения картриджа для чернил во время транспортировки и погрузочно-разгрузочных работ;
– фиг.26 – в перспективе изображение устройства для заливки чернил согласно настоящему изобретению в случае заливки под избыточным давлением (положительным давлением);
– фиг.27 – в перспективе изображение еще одного конкретного варианта осуществления устройства для заливки чернил согласно настоящему изобретению в случае заливки при разрежении (под отрицательным давлением);
– фиг.28 – в перспективе изображение устройства для заливки чернил в соответствии с дополнительным конкретным вариантом осуществления настоящего изобретения в случае заливки под избыточным давлением;
– фиг.29 – в перспективе изображение устройства для заливки чернил согласно настоящему изобретению в случае заливки при разрежении.
Предпочтительные варианты осуществления изобретения
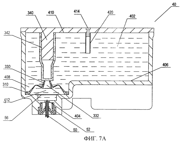
На фиг.7А изображен первый предпочтительный конкретный вариант осуществления изобретения. Клапан 30 избирательно блокирует свое отверстие 332 для отделения чернил, находящихся в камере 402 для чернил, от выпускного канала 404 для чернил.
На фиг.6 видно, что сильфонный клапан 30 предпочтительно выполнен из каучука, у которого градусная мера твердости по Шору составляет 30°-40°, а предпочтительный профиль сильфона представляет собой усеченный конус. Сильфонный клапан включает в себя опорную часть 310 подножия, как показано на фиг.7А, которая находится в контакте, обеспечивающем упор, с внутренней стенкой камеры 402 для чернил рядом с каналом 404 и опирается на эту стенку. Опорная часть 310 подножия имеет размеры, обеспечивающие уплотняющий контакт с этой стенкой. Увеличенная толщина опорной стенки 310 подножия уменьшается и сходит на конус вдоль опорной части 322 стенки. То есть, поперечное сечение становится тоньше и внутри сходит на конус до уменьшенного диаметра по мере продвижения вдоль сильфонного клапана от опорной части подножия по направлению к опорной части 324 буртика. В опорной части 324 буртика контур сильфонного клапана очерчен обратной кривой 325, причем опорная часть 324 буртика переходит в проходящий внутри опорный участок, который ограничивает углубление или выемку и который служит опорой части 330 головки. Часть головки имеет отверстие 332. Часть 324 буртика изгибается во внутрь вдоль опорной части 322 стенки для опирания опорной части 324 буртика. Контур сильфонного клапана реагирует на малые или едва различимые разности давлений, так что этот клапан обеспечивает настройку и регулирование расхода чернил в выпускной канал 404.
Когда принтер работает, между двумя сторонами клапана существует разность давлений, обеспечивающая протекание в направлении, показанном стрелками на фиг.7В, а результатом этой разности давлений является деформация клапана. Опорная часть 322 стенки, которая изгибается во внутрь опорной части 324 буртика и образует сточную раковину, гарантирует, что опорная часть 330 головки перемещается в ответ на малые изменения давления. Фактически, конфигурация опорной части 324 буртика гарантирует, что едва различимые изменения оказывают влияние на опорную часть 330 головки. Следовательно, конфигурация опорной части 324 буртика обеспечивает ощутимый сброс давления.
Перемещение опорной части 330 головки становится больше, когда имеется разность давлений, обуславливающая избыточное давление, чтобы быстро обеспечить как регулирование расхода чернил, так и восстановление формы опорной части 330 головки. Поэтому толщина опорной части 310 подножия больше, чем толщина опорной части 330 головки и опорной части 324 клапана. Опорная часть 330 головки может реагировать на малое разрежение, а толщина опорной части 324 буртика сделана меньшей, чем толщина опорной части 330 головки, и, в частности, размер толщины в опорной части 324 буртика составляет 0,15-0,5 мм. Отверстие 332 опорной части 322 стенки выполнено коническим. Опорная часть 330 головки наклонена внутрь под углом 1, который больше обозначаемого символом 2 угла наклона опорной части 310 подножия. Условие равновесия достигается, когда угол 1 наклона уменьшается в ответ на разрежение в камере для чернил, как показано на фиг.6.
Сильфонный клапан 30 выполнен внутри картриджа 40 для чернил с целью создания запаса жидких чернил и регулирования расхода чернил. Возвращаясь к фиг.7А, отмечаем, что сильфонный клапан 30 расположен над выпускным каналом камеры 402 для чернил, а опорное подножие этого клапана соединено с дном 406. Для поддержания устойчивости клапана 30 нижняя стенка картриджа снабжена частью 408 сточной раковины или выемки. Уплотнительное приспособление 340 для клапана выступает непосредственно из крышки 410 картриджа, уплотняет опорную часть 330 головки и оказывает на нее небольшой нажим. Предпочтительным способом является нанесение упругой маски 342, покрывающей периферию уплотнительного приспособления 340 и обеспечивающей упругое уплотнение на стыке с опорной частью 330 головки.
Существуют различные варианты выбора уплотнительного приспособления 340, например комбинированная конструкция, показанная на фиг.7А, или простое крепление уплотнительного приспособления в стенке 410. В соответствии с потребностью, например, если необходима высокая степень устойчивости, над выемкой 408 закрепляют цилиндрическое тело 416. Уплотнительное приспособление 340 для клапана представляет собой цилиндрическое тело с крышкой и протоком 418, показанными на фиг.9, причем такая конфигурация обеспечивает крепление как клапана 30, так и самого уплотнительного приспособления 340 для клапана. По этому протоку 418 происходит подача чернил из камеры 402 для чернил в направляющую камеру 412 для чернил. В альтернативном варианте, крепежным приспособлением для клапана может быть цилиндрическая стойка 416, проходящая от стенки резервуара.
Как показано на фиг.7А, направляющая камера 412 для чернил образована сильфонным клапаном 30 и частями 408 выемки стенки 406 резервуара, а диаметр этой камеры меньше, чем диаметр опорного подножия 310. В направляющую камеру 412 предварительно залиты чернила, так что в головку принтера подается достаточно чернил во время операции печати. Иглу 50 головки принтера вставляют во внешний конец выпускного канала для чернил через упругий уплотнительный элемент 52. Во время работы, в направляющей камере для чернил имеется разрежение, и существует разность давлений между камерой для чернил и направляющей камерой для чернил. Поэтому опорная часть 330 головки сильфонного клапана перемещается вниз, когда величина давления достигает определенного уровня, например 120 мм водяного столба, и отверстие 332 открывается, когда клапан отделяется от уплотнительного приспособления 340, при этом жидкие чернила заливаются в направляющую камеру 412 для чернил, как показывает направление стрелки, и чернила подаются в печатающую головку. Для клапана 30 согласно этому изобретению рабочее давление составляет от -200 до 0 мм водяного столба, а оптимальное рабочее давление составляет от -150 до -30 мм водяного столба.
Когда работа прекращается, сильфонный клапан 30 возвращается в свое исходное положение, и этот сильфонный клапан регулирует расход чернил из камеры 402 для чернил.
Во время эксплуатации воздухоприемное отверстие должно быть открыто для выравнивания давления воздуха внутри и снаружи картриджа. Если разрежение внутри картриджа для чернил увеличивается по мере расходования чернил, находящихся в камере для чернил, воздух поступает в камеру 402 для чернил через воздухоприемное отверстие 414, поддерживая, по существу, постоянное разрежение. Но при перемещении картриджа для чернил из него будут вытекать оставшиеся чернила. Поэтому для предотвращения утечки чернил из воздухоприемного отверстия 414 это воздухоприемное отверстие 414 простирается в камеру 402 для чернил примерно на треть или половину глубины камеры. Этого достаточно для предотвращения утечки чернил через воздухоприемное отверстие. Увеличенную длину можно реализовать посредством каучуковой трубки, соединяемой с воздухоприемным отверстием 414.
Для предотвращения проникновения воздуха и грязи из иглы и повышения качества работы внутри выпускного канала для чернил расположен фильтр 56.
На фиг.8 показано, что между сильфоном и нижней стенкой картриджа расположена пружина 54. Эта пружина 54 принудительно вводит сильфонный клапан 30 в уплотняющий контакт с уплотнительным элементом 340 для клапана с целью регулирования чувствительности к давлению. Внутри камеры для чернил, на треть ее глубины, проходит мягкая трубка 420 для предотвращения утечки чернил.
Воздухоприемное отверстие можно выполнить так, что оно само будет проходить примерно на треть глубины камеры для чернил, как показано на фиг.9.
Чтобы предотвратить утечку чернил, в воздухоприемном отверстии 414 предусмотрено наличие пористого материала 436, резервирующего или сохраняющего чернила, как показано на фиг.10.
Лучшим средством предотвращения утечки чернил при извлечении картриджа для чернил из принтера является установка одностороннего клапана в воздухоприемном отверстии 414, как показано на фиг.11. Сварка цилиндрического блока 428 с горловиной 426, идущей в камеру клапана 422, приводит к появлению протока 430, размер которого увеличивается от конца А блока к концу В, как показано на фиг.12А- В. Размер конца А цилиндрического блока 428 больше, чем диаметр воздухоприемного отверстия 414. Но в то же время размер конца В цилиндрического блока 428 меньше, чем тот, который блок с горловиной 426 обеспечивает как для плавного потока воздуха, так и для уплотнения воздухоприемного отверстия 414 с помощью блока 428, когда картридж для чернил извлекают из головки принтера. Если односторонний клапан 428 располагают в воздухоприемном отверстии 414 для предотвращения утечки чернил, то необходимо открывать отверстие 440 для заливки чернил, чтобы осуществить заливку чернил и уплотнять его заглушкой 438, как показано на фиг.11. Оставляя заглушку 438 на своем месте, можно достаточно легко пополнять чернила в картридже для чернил.
Как показано на фиг.13, в воздухоприемном отверстии 414 расположен односторонний клапан, что также можно увидеть на разрезе в увеличенном масштабе на фиг.14. Односторонний клапан представляет собой шаровой блок и опирается на упругую пластинку 434 с продувочным отверстием для плавного протекания воздуха между воздухоприемным отверстием 414 и камерой 402.
Как показано на фиг.15, направление дна картриджа для чернил имеет уклон или наклон к выпускному каналу, чтобы чернила направлялись к этому выпускному каналу. Сильфонный клапан 30 и уплотнительное приспособление 340 для сильфонного клапана находятся в части 408 сточной раковины или выемки. В стенке части 408 выемки имеется ступенька 442. Вверху уплотнительного приспособления 340 для сильфонного клапана имеются продувочное отверстие 418 и фланец 344. Фланец 344 соответствует ступеньке 442. Материалом U-образной трубки является коррозионно-стойкая сталь, и один конец этой трубки соединен с воздухоприемным отверстием 414, а другой конец расположен выше уровня жидкости и достигает внутренней поверхности фиксированного лотка 446. На дне части 408 сточной раковины у выпускного канала выполнен круглый лоток 444. На дне круглого лотка 444 приварен сетчатый фильтр 56 для предотвращения попадания загрязнений и пузырьков воздуха в выпускной канал 404. Уплотнительная деталь 52, выполненная как единое целое с блоком 526, уплотняет выпускной канал 404 для чернил.
Чтобы обеспечить опору для чернил, градусная мера твердости по Шору, которой должен соответствовать каучук уплотнительного узла, составляет 25-65, предпочтительно – 30-55. В число предпочтительных материалов входят следующие: термопластичный сополимер стирола и бутадиена (ТССиБ), статистический сополимер этилена с пропиленом (ССЭсП), каучук на основе сополимера этилена, пропилена и диенового мономера (КнОСЭПиДМ), бутилкаучук, хлоропреновый каучук, уретановый каучук, этиленовый каучук, акриловый каучук и бутадиен-стирольный каучук (БСК).
Как видно на фиг.16В, крепежная крышка 490 представляет собой чашу с камерой 494, кольцом буртика 492 и продувочным отверстием 496 в середине.
Как видно на фиг.16А, 16В, 16С и 16D, воздухоприемное отверстие 414 расположено в середине верхней крышки 410 картриджа. Крепежная крышка 490 накрывает воздухоприемное отверстие. Вдоль контура буртика 492 крепежной крышки 490 и вдоль контура раструба 452 расположен баллон 450. Продувочное отверстие 496 соединено с воздухоприемным отверстием 414 и образует расширяющиеся части воздухоприемного отверстия 414. В стенке баллона 450 имеется продувочное отверстие 454, которое проделано с помощью иглы диаметром примерно 0,12 мм. Диаметр раструба 452 составляет около 6 мм. Объем шара баллона составляет около 1,8 мл, толщина баллона составляет около 0,1 мм. Около выпускного канала 404 расположен односторонний клапан 330. Уплотнительная крышка 340 уплотняет отверстие одностороннего клапана. В уплотнительной крышке клапана имеются три протока 418 для обеспечения протекания чернил из камеры 402 для чернил в направляющую камеру 412 для чернил под клапаном 330 и протекания через сетчатый фильтр 56 и в выпускной канал 404. В дне 406 картриджа 400 для чернил имеются две канавки или желобки 469 для поддержания достаточного количества чернил. В частности, когда баллон надут, дно баллона может вступать в контакт с дном картриджа для чернил, предотвращать прохождение чернил, оставляя при этом канавку 469 с достаточным количеством чернил. Чтобы можно было легко залить чернила в картридж для чернил, в правой стороне верхней крышки 410 имеется отверстие 440. По окончании заливки заглушка 438 уплотняет отверстие 440. В середине уплотнительного элемента 52 имеется блок 526. Игла головки принтера отталкивает блок 526 и позволяет чернилам протекать через иглу в принтер, когда этот принтер работает.
Когда принтер работает, баллон 450 постепенно надувается в связи с непрерывным расходом чернил. Когда баллон увеличивается до некоторого объема, отверстие 454 в стенке баллона открывается и происходит дополнительный выброс воздуха в камеру для чернил для выравнивания давления, а также для гарантии качества печати. По окончании работы упомянутое отверстие закрывается за счет упругости баллона и предотвращает протекание чернил в камеру баллона. Отверстие 454 в стенке баллона 450 играет определенную роль, аналогичную роли одностороннего клапана, и открывается или закрывается в соответствии с потребностями печати. Между прочим, при изменении температуры окружающей среды воздух в картридже для чернил будет расширяться, чему будут соответствовать повышенная температура и нажим на баллон. В результате, находящийся в баллоне воздух вытесняется для поддержания баланса давления в картридже для чернил и предотвращения утечки чернил. В частности, когда картриджи для чернил выбрасывают после использования или по иным причинам, в последней ситуации – вне зависимости от того, есть ли еще чернила в картридже для чернил, этот картридж для чернил может перевернуться верхней стороной вниз. В вышеописанной ситуации, в соответствии с принципом расширения, если объем картриджа для чернил составляет 14 мл, температура поднимается до 30 градусов, и доля увеличения объема составляет 10% от исходного значения, то объем воздуха увеличивается до 1,4 мл, но объем баллона составляет 1,8 мл. Это означает, что увеличенный объем баллона достаточен для компенсации объема расширяющегося воздуха в камере для чернил. Таким образом, воздух, расширившийся в камере для чернил, вытесняет воздух из баллона для выравнивания давления в камере для чернил и предотвращения утечки чернил.
На фиг.16Е показан случай, соответствующий предпочтительному конкретному варианту осуществления настоящего изобретения. Для подачи жидких чернил дно 406 камеры для чернил имеет уклон или наклон к выпускному каналу 404. Баллон расширяется и может блокировать отверстие 418 уплотнительного приспособления для клапана, прекращая расход чернил, поэтому в нижней стенке 406 имеется направляющее ребро 409 для опирания баллона 450 и предотвращения блокировки им отверстия 418.
В стенке картриджа предусмотрены несколько неупорядоченных лабиринтных канавок 484, 485 и 486, которые по отдельности соединены с воздухоприемным отверстием 414. Во время работы воздух протекает из лабиринтной канавки 486 в канавку 484, а из отверстия 485 – в камеру 456 баллона. Лабиринтные канавки 484-486 расположены на поверхности крышки 410, поэтому поверхности неупорядоченных лабиринтных канавок 484, 485 и 486 по отдельности уплотнены упаковочными уплотнениями 491 и 495 для транспортировки, как показано на фиг.16Е. Перед использованием картриджа упаковочное уплотнение 495 отслаивают, раскрывая часть лабиринтной канавки. Пленочное уплотнение 96 будет пробито иглой для подачи чернил. В стенке камеры имеется окружной выступ 405 для опирания уплотнительных деталей 520 уплотнительного элемента 52. Внутренняя поверхность выступа 405 контактирует с вышерасположенной или верхней стороной 524 уплотнительных деталей для придания им жесткости и облегчения отделения блочной части от уплотнительного элемента.
В качестве особенности, предусматриваемой способом заливки, отметим отверстие 470, предусмотренное в стенке выпускного канала. Это отверстие соединено с верхней камерой уплотнительной части и уплотнено пробкой 472.
На фиг.17 изображен другой пример приспособления, предотвращающего утечку чернил, в соответствии с конкретным предпочтительным вариантом осуществления настоящего изобретения. Это приспособление представляет собой упругую мембрану 480, соединяемую с крышкой 410 картриджа 400 посредством горловины 481. В дне упругой мембраны 480 имеется продувочное отверстие 484. Принцип действия картриджа для чернил и предотвращения утечки чернил является таким же, как описанный со ссылками на фиг.16А.
На фиг.18А и 18В изображен другой конкретный вариант осуществления настоящего изобретения, в котором те же позиции используются для обозначения тех же элементов, что и на фиг.16А. Пластичный баллон 460 изготовлен из неупругих материалов и имеет складчатые слои. Пластичный баллон 460 соединен с крышкой 410 резервуара 400 в отверстии 462. Отверстие 440 для заливки чернил находится в стенке картриджа 400 для чернил. Во время работы чернила вытекают из выпускного канала 404, а воздух попадает в пластичный баллон 460 через отверстие 414 и обеспечивает медленное растяжение пластичного баллона до тех пор, пока складчатые слои 464 не расправятся полностью, что будет соответствовать растянутому баллону 460. Горловина пластичного баллона 460 является прямоугольной, ее длина составляет 47 мм, а ширина – 14 мм, как показано на фиг.18В. Если складчатые слои полностью расправлены, а чернила не используются, в дне пластичного баллона 460 требуется прорезь для подачи некоторого количества воздуха с целью выравнивания давления в резервуаре для чернил при продолжении печати. Принцип действия картриджа для чернил и предотвращения утечки чернил является таким же, как описанный со ссылками на фиг.16А.
На фиг.19А-19Е описаны дополнительные альтернативные конкретные варианты осуществления уплотнительных узлов, заключенных в канале 404 подачи чернил. Таким образом, должно быть понятно, что остальная часть конструкции, по существу, идентична той, которая показана и описана со ссылками на конкретный вариант осуществления, показанный на фиг.16А. Хотя уплотнительные узлы, показанные на фиг.19А-19Е, имеют разные формы и конфигурации, каждый уплотнительный узел функционирует и работает в основном одним и тем же образом. В конструкции, показанной на фиг.19А, пластмассовая уплотнительная деталь 64 сплавлена с пластмассовым кольцом 66, предусмотренным между первым и вторым уплотнительными кольцами 62 круглого поперечного сечения. На фиг.19В показано, что пластмассовая уплотнительная деталь 68 расположена во внешнем отверстии канала 404 подачи чернил. На фиг.19С показано, что уплотнительный элемент 70 правильной формы вместе с мембранным элементом 72 расположен внутри канала 404 подачи чернил. На фиг.19D показано, что чашеобразный уплотнительный элемент 74 оснащен мембранным элементом 72 и расположен в канале 404 подачи чернил. И, наконец, на фиг.19Е показан чашеобразный уплотнительный элемент 76, снабженный стальным кольцом 78, расположенным внутри канала 404 подачи чернил, который включает в себя мембранный элемент 72.
На фиг.20А изображен еще один предпочтительный конкретный вариант осуществления настоящего изобретения, который включает в себя уплотнительный узел 52, имеющий блочную часть 526, которая избирательно отделяется посредством разрывного соединения 528. Уплотнительный узел 52 изготовлен из упругого материала, у которого твердость по Шору составляет 30 – 50 градусов. Когда иглу для подачи чернил вставляют через уплотнительную часть 524, блочная часть уплотнительного узла, по меньшей мере, частично отделяется от остальной части уплотнительного узла. Предпочтительное значение ширины для разрывной перемычки 528 находится в диапазоне 0-0,3 мм, а предпочтительная толщина разрывной перемычки находится в диапазоне 0,15-0,4 мм. Блочная часть 526 предпочтительно имеет, в основном, плоскую поверхность для контакта с иглой для подачи чернил, что облегчает отталкивание перемычки. Горизонтальные размеры уплотнительной части 524 обеспечивают поддержание блочной части после вставления иглы 50 для подачи чернил. Как показано на фиг.20В, уплотнительный узел 52 обеспечивает прохождение иглы для подачи чернил сквозь него за счет разрыва разрывной перемычки 528. Таким образом, по внешнему диаметру иглы для подачи чернил имеет место уплотняющий контакт с уплотнительной частью 524.
На фиг.21А показано, что соединительная часть 528 на одной стороне тоньше, чем на другой стороне. Это обуславливает тот эффект, что блочная часть 526 отделяется вдоль более тонкой перемычки и остается соединенной с уплотнительной частью вдоль более толстой перемычки, как показано на фиг.21В. На фиг.22 показано, что основным отличием по сравнению с другими конкретными вариантами осуществления уплотнительного узла является конфигурация блочной части, и в данном случае блочная часть имеет, по существу, цилиндрическую форму. И вновь следует отметить, что блочная часть соединена с уплотнительным узлом посредством части 528 тонкой разрывной перемычки на одной стороне и части более толстой перемычки на другой стороне, и эта более толстая часть удерживает цилиндрический блок сразу же после его пробивки иглой. Внутри уплотнительного узла предусмотрена коническая поверхность 524 для облегчения отделения блочной части 526 от тонкой перемычки. Коническая поверхность 525 нужна для облегчения отталкивания блочной части вверх, а угол наклона, образованный между конической поверхностью 525 и поперечным направлением, предпочтительно составляет 30-45 градусов. Конфигурация, представленная на фиг.23А, показывает, что соединительная часть 528 имеет среднюю толщину, а на фиг.23В показано, что перемычка на стороне 529 может быть тоньше, чем на другой стороне 529′. Самая толстая часть 529′ перемычки имеет толщину в диапазоне 0,3-0,4 мм, а самая тонкая часть 529 перемычки имеет толщину в диапазоне 0,15-0,25 мм.
Уплотнительная часть 524 в конкретном варианте осуществления, показанном на фиг.24, удлинена в направлении вставления иглы. Запорная часть 526 имеет в основном цилиндрическую форму и расположена вблизи одного конца уплотнительной части 524. Соединительная часть или тонкая разрывная перемычка 528 на одной стороне тоньше, чем на другой стороне, обеспечивая расположение уплотнительной части вдоль участка 524 так, будто она подвешена на петле. Когда иглу для подачи чернил (не показана) продвигают вперед сквозь уплотнительный узел, тонкая разрывная перемычка разрывается, и уплотнительная часть поворачивается вокруг петли 524′. Кроме того, удлиненная уплотнительная часть 524 вступает в уплотняющий контакт с иглой для подачи чернил, и этот контакт имеет место по внешнему диаметру иглы.
Уплотнительная часть в целом выполнена так, что удовлетворяет требованиям, предъявляемым как при сборке и транспортировке, так и при работе, поэтому уплотнительная пленка, пробиваемая иглой для подачи чернил в выпускном канале, уже не играет важной роли, вследствие чего преодолевается затруднение, возникающее при прокалывании мембранного элемента исполнительного элемента и характерное в традиционном картридже для подачи чернил.
Обращаясь к фиг.25А, отмечаем, что воздухоприемное отверстие 414 отстоит от выпускного канала для чернил. Поэтому упаковочному уплотнению 96 придана конфигурация, позволяющая ему закрыть и воздухоприемное отверстие 414, и канал 404 для чернил. Часть упаковочного уплотнения, представленная стрелками, показанными на чертеже, должна быть удалена сразу же после того, как картридж оказывается готов к вставлению, путем подъема за язычок перед вставлением картриджа. Тогда остаток этой уплотнительной полоски фольги проходит по направлению к каналу 404 подачи чернил, который также открывают путем удаления упаковочного уплотнения. Удаление упаковочного уплотнения раскрывает воздухоприемное отверстие 414 и канал 404 подачи чернил. Таким образом, обеспечено сообщение посредством текучей среды между камерой для чернил и воздухоприемным отверстием. Затем канал 404 подачи чернил располагают напротив иглы для подачи чернил (не показана).
Конкретный вариант осуществления, показанный на фиг.25В, иллюстрирует конструкцию, в которой и воздухоприемное отверстие, и канал подачи чернил заключены в одной и той же вертикальной стороне картриджа. Уплотнение 98 в виде фольги предназначено для постоянного уплотнения отверстия 440 для подачи чернил, предусмотренного в закрывающей панели или крышке 410 картриджа для чернил. Упаковочное уплотнение 96, соединенное с соединительной частью 94, прикреплено к картриджу для чернил во время транспортировки, но при эксплуатации его нужно удалять, оттягивая вверх.
Обращаясь теперь к фиг.26 и фиг.16Е, отмечаем, что здесь показана заливка чернил в картридж 400 под давлением, подводимым из источника избыточного давления. Сначала чернила находятся в сосуде 618, причем этот сосуд 618 соединен посредством трубки 616 для чернил с одной стороной насоса 614, другая сторона которого соединена посредством трубки 610 с картриджем 400 для чернил. В середине трубки 610 имеется расходомер 612 для регулирования количества чернил. Когда картридж залит до определенного уровня, заливку прекращают. Затем вставляют иглу 604 в отверстие 470, при этом другой конец иглы соединен с насосом 602 посредством мягкой трубки 606. В соединительной части между мягкой трубкой 606 и иглой 604 имеется разделитель 608 воздуха и жидкости, предназначенный для разделения воздуха и жидкости. Когда насос работает, будет происходить удаление воздуха, находящегося в камере 402 для чернил, и в это время существует разность давлений между противоположными сторонами клапана 30, которая заставляет клапан 30 отделяться от уплотнительной крышки 340 для клапана. В результате, происходят удаление чернил из камеры 402 для чернил и заливка направляющей камеры 412 для чернил через отверстие 418 уплотнительной крышки 340 для клапана и отверстие 332 клапана 30. Вставление пробки 438 в отверстие 440 для подачи чернил завершает операцию заливки.
Как показано на фиг.27, картридж 400 для чернил перевернут каналом подачи чернил вниз. Контейнер 618 для чернил соединен с картриджем 400 для чернил посредством трубки 616 в уплотненном состоянии. В середине трубки 616 имеется регулятор 612 расхода чернил, предназначенный для регулирования количества чернил. Иглой, снабженной трубкой 606, прокалывают каучуковую заглушку 472, находящуюся в отверстии 470 картриджа 400 для чернил, вследствие чего осуществляется соединение упомянутой трубки с направляющей камерой 412 для чернил картриджа для чернил. Другой конец трубки соединен с воздушным насосом 602. К трубке 606 подсоединен разделитель 608 воздуха и жидкости. Когда удаляют воздух, находящийся в камере 412 для чернил картриджа 400 для чернил, и происходит изменение разности давлений между противоположными сторонами клапана, этот клапан открывается, и воздух удаляется также из камеры 402, а в эту камеру 402 текут чернила. Картридж 400 для чернил перевернут, что позволяет чернилам из камеры 402 быстро втекать в направляющую камеру для чернил и заполнять ее. Когда достигается определенный объем чернил, заливку прекращают. На практике, картридж для чернил можно положить набок, и процесс будет тем же самым. Как показано на фиг.7А, когда большой диаметр клапана 30 составляет менее 11 мм, а объем воздуха, улавливаемого в направляющей камере 412 для чернил, составляет менее 0,4 кубического миллиметра, то необходимо заливать чернила в направляющую камеру 412 для чернил. Воздух, улавливаемый в направляющей камере для чернил, следует отсасывать, например, во время операции чистки принтера. Остальные чернила можно заливать при нормальном атмосферном давлении или при давлении, которое существенно ниже атмосферного давления.
В условиях разрежения давление в малой полости под клапаном 30 составляет от -700 мПа до -750 мПа, тогда как давление над клапаном возрастает по мере увеличения количества чернил в резервуаре для чернил. По достижении определенного объема чернил клапан 30 открывается и позволяет чернилам протекать в нижнюю часть резервуара. Объем нижней части клапана настолько мал, что она может заполниться почти за то же время, в течение которого открыт клапан 30. Затем клапан закрывается ввиду собственной упругости, и происходит заполнение верхней части вплоть до окончания процесса заливки.
Как показано на фиг.28, максимальный диаметр опорного подножия составляет 9 мм, так что нет необходимости резервировать чернила и располагать отверстие в стенке выпускного канала, а есть необходимость расположить отверстие для заливки в закрывающей панели картриджа. Кроме того, нет необходимости удалять воздух в процессе заливки. Сосуд 618 подсоединен посредством трубки 616 к одной стороне насоса 614 для жидкости, другая сторона которого соединена с отверстием картриджа 400 для чернил трубкой 610 для чернил. В середине трубки 610 имеется регулятор 612 расхода чернил, предназначенный для регулирования количества чернил. При заливке чернил эти чернила текут из отверстия 440 для заливки чернил непосредственно в камеру 402 для чернил и разрушают мениск чернил, образующийся за счет избыточного давления в отверстии 440 для заливки чернил. Для заливки чернил в картридж для чернил согласно изобретению также можно использовать разрежение, что показано на фиг.16Е и фиг.29. При заливке чернил сначала вставляют собранный картридж 400 для чернил (в зажимное приспособление), располагая его вертикально или на боку, и вставляют иглу 506 в отверстие 440 для заливки в закрывающей панели 410 картриджа. Другой конец иглы 506 соединен с трубкой 508, которая соединена с сосудом контейнера 502, являющегося источником чернил. Уровень сосуда контейнера 502, являющегося источником чернил, выше, чем уровень картриджа 400 для чернил. Отверстие 470 для воздуха, имеющееся в стенке выпускного канала 404, закупорено заглушкой 472. Игла 560 для воздуха пронизывает заглушку 472 одним концом и соединена с разделителем 580 воздуха и жидкости посредством электромагнитного клапана 540. Разделитель 580 воздуха и жидкости соединен с вакуумным насосом 590 посредством регулятора 570 расхода чернил. При заливке прижимное устройство 510 уплотняет закрывающую панель картриджа 400 и в то же время включает вакуумный насос 590. Когда вакуумный насос 590 работает, электромагнитный клапан 540 открыт, а электромагнитный клапан 520 закрыт, и воздух удаляется из нижней части клапана 30. Клапан 30 открывается в ответ на разность давлений, в результате чего осуществляется также удаление воздуха, находящегося в верхней части клапана 30. Во время удаления воздуха из камеры 456 баллона в стенке баллона 450 открывается отверстие 454. Когда вакуумный измерительный прибор показывает давление в диапазоне от -700 до -750 мПа, электромагнитный клапан 540 закрывается, а электромагнитный клапан 520 и электромагнитный клапан 530 открываются. В картридже для чернил имеется разрежение, и осуществляется отвод чернил из контейнера 502, являющегося источником чернил, в картридж для чернил. По мере увеличения количества чернил в картридже для чернил давление в верхней части клапана увеличивается до некоторой величины, тогда как в направляющей камере для чернил остается разрежение (его абсолютная величина составляет примерно 700-750 мПа), а клапан 30 открывается и обеспечивает протекание чернил в направляющую камеру для чернил. Нижнюю часть клапана можно заполнить почти за то же время, в течение которого открыт клапан 30. Потом клапан закрывается за счет собственной упругости, и верхняя часть полностью заполняется, после чего процесс заливки заканчивается.
В соответствии с изобретением, вакуумметр 570 одной стороной соединен с вакуумным насосом 590, а другой – с электромагнитным клапаном 540. Когда вакуумметр показывает давление в диапазоне от -700 до -750 мПа, электромагнитный клапан 540 закрывается и выводит иглу 534 для воздуха из заглушки 472 отверстия 470 для воздуха.
Клапан 30 в альтернативном варианте выполнения изобретения может быть размещен в выемке, образованной внутренней стенкой выпускного канала для чернил. Также предусмотрено, что выемка во внутренней стенке выпускного канала для чернил может включать в себя ступенчатую круглую область, ограниченную нижней стенкой выемки, для размещения фильтрующего элемента 56.
Изобретение описано со ссылками на предпочтительные конкретные варианты осуществления. Очевидно, что в рамках объема притязаний данной заявки возможны модификации и изменения. Заявку следует считать охватывающей все такие модификации и изменения.
Промышленная применимость
Настоящее изобретение позволяет разработать односторонний клапан для регулирования расхода чернил, существенно повысить его общую эффективность и значительно снизить его стоимость, а также разработать способ заливки чернил, удобный для обеспечения надлежащей производительности во всем диапазоне рабочих параметров.
Формула изобретения
1. Картридж для чернил для устройства струйной печати, содержащий корпус картриджа, предназначенный для хранения в нем чернил и снабженный, по меньшей мере, одной камерой для чернил, содержащий по меньшей мере, одно воздухоприемное отверстие, выполненное с обеспечением сообщения посредством текучей среды между камерой для чернил и наружным воздухом, по меньшей мере, один выпускной канал для чернил, выполненный с обеспечением подачи чернил из камеры для чернил, по меньшей мере, один уплотнительный элемент, размещенный внутри выпускного канала для чернил с обеспечением его уплотнения, по меньшей мере, один односторонний клапан, расположенный внутри камеры для чернил, для регулирования расхода чернил, снабженный выполненными как единое целое с ним опорной частью подножия, уплотняющей внутреннюю стенку выпускного канала для чернил, опорной частью стенки, выступающей изнутри опорной части подножия, опорной частью буртика, изгибающейся вовнутрь опорной части стенки, опорной частью головки, выступающей из опорной части буртика и выполненной со сквозным отверстием, и по меньшей мере, один уплотнительный узел для клапана, избирательно поддерживаемый в контакте со сквозным отверстием опорной частью головки за счет разности давлений.
2. Картридж для чернил по п.1, отличающийся тем, что опорная часть стенки выступает под углом из опорной части подножия.
3. Картридж для чернил по п.1, отличающийся тем, что опорная часть буртика снабжена выемкой, образуемой опорной частью стенки, изогнутой вовнутрь.
4. Картридж для чернил по п.1, отличающийся тем, что опорная часть головки выступает под углом из опорной части буртика.
5. Картридж для чернил по п.4, отличающийся тем, что опорная часть головки является конической.
6. Картридж для чернил по п.5, отличающийся тем, что величина угла наклона опорной части головки больше, чем величина угла наклона опорной части стенки.
7. Картридж для чернил по п.1, отличающийся тем, что толщина опорной части подножия больше, чем толщина опорной части головки, а толщина опорной части головки больше, чем толщина опорной части буртика.
8. Картридж для чернил по п.7, отличающийся тем, что внутренняя стенка выпускного канала для чернил образует выемку для размещения клапана.
9. Картридж для чернил по п.8, отличающийся тем, что выемка дополнительно включает в себя ступенчатую круглую область, ограниченную нижней стенкой выемки, для размещения фильтрующего элемента.
10. Картридж для чернил по п.1, отличающийся тем, что опорная часть головки одностороннего клапана находится в сжатом состоянии под воздействием уплотнительного узла для клапана.
11. Картридж для чернил по п.1, отличающийся тем, что для предотвращения утечки чернил из воздухоприемного отверстия в этом воздухоприемном отверстии расположено приспособление, предотвращающее утечку чернил.
12. Картридж для чернил по п.11, отличающийся тем, что приспособление, предотвращающее утечку чернил, представляет собой выступ, выступающий из воздухоприемного отверстия в камеру для чернил.
13. Картридж для чернил по п.11, отличающийся тем, что приспособление, предотвращающее утечку чернил, выполнено в виде изгибающейся трубки, окружающей по периферии воздухоприемное отверстие, причем один конец трубки соединен с воздухоприемным отверстием, а другой ее конец выступает из чернил.
14. Картридж для чернил по п.11, отличающийся тем, что приспособление, предотвращающее утечку чернил, представляет собой мешкообразный элемент, расположенный внутри камеры для чернил и содержащий открытый конец, для соединения с упомянутым воздухоприемным отверстием и крошечное отверстие, предусмотренное в стенке упомянутого мешкообразного элемента.
15. Картридж для чернил по п.14, отличающийся тем, что мешкообразный элемент представляет собой упругий баллон с открытым концом.
16. Картридж для чернил по п.15, отличающийся тем, что в нем предусмотрена чашеобразная крышка для крепления упругого баллона, содержащая сквозное отверстие, имеющее широкий конец, размеры которого обеспечивают контакт с внешней периферией упомянутого выступа воздухоприемного отверстия, и узкий конец, действующий как продолженная часть воздухоприемного отверстия, и буртик для установки открытого конца упругого баллона.
17. Картридж для чернил по п.1, отличающийся тем, что нижняя стенка камеры для чернил имеет наклон к выпускному каналу для чернил.
18. Картридж для чернил по п.1, отличающийся тем, что в поверхности нижней стенки упомянутой камеры для чернил выполнена, по меньшей мере, одна направляющая канавка для чернил.
19. Картридж для чернил по п.14, отличающийся тем, что на нижней стенке камеры для чернил предусмотрен выступ для крепления мешкообразного элемента.
20. Картридж для чернил по п.14, отличающийся тем, что открытый конец мешкообразного элемента имеет отверстие, размер которого, по существу, равен размеру стенки корпуса картриджа, в которой предусмотрено воздухоприемное отверстие.
21. Картридж для чернил по п.20, отличающийся тем, что мешкообразный элемент имеет несколько перекрывающихся слоев.
22. Картридж для чернил по п.1, отличающийся тем, что воздухоприемное отверстие сообщается с наружным пространством или атмосферой через вентиляционный воздуховод неправильной формы, выполненный в стенке корпуса картриджа.
23. Картридж для чернил по п.22, отличающийся тем, что часть вентиляционного воздуховода расположена у внутренней поверхности указанной стенки.
24. Картридж для чернил по п.22, отличающийся тем, что на внешней поверхности стенки, в которой предусмотрено упомянутое воздухоприемное отверстие, расположена воздухонаправляющая пленка.
25. Картридж для чернил по п.1, отличающийся тем, что в стенке корпуса картриджа предусмотрено отверстие для заливки чернил, которое уплотнено уплотнительной пробкой.
26. Картридж для чернил по п.1, отличающийся тем, что уплотнительный узел, предусмотренный внутри выпускного канала для чернил, содержит опорную часть, выполненную как единое целое с камерой внутри нее, опирающуюся на внутреннюю стенку выпускного канала для чернил, уплотнительную часть, выступающую из опорной части, блочную часть, соединенную с уплотнительной частью, и соединительную часть, расположенную вдоль окружности между уплотнительной частью и блочной частью, для опирания блочной части, отделяющейся от соединительной части под воздействием некоторого давления.
27. Картридж для чернил по п.26, отличающийся тем, что внутри уплотнительного узла предусмотрена коническая поверхность.
28. Картридж для чернил по п.26, отличающийся тем, что предусмотрена окружная канавка уплотнительного элемента, обеспечивающая облегченное отделение блочной части от уплотнительного элемента.
29. Картридж для чернил по п.26, отличающийся тем, что толщина соединительной части выполнена различной.
30. Картридж для чернил по п.29, отличающийся тем, что толщина соединительной части выполнена уменьшающейся от одной стороны к другой.
31. Картридж для чернил по п.1, отличающийся тем, что стенке выпускного канала для чернил предусмотрено газоотводное отверстие.
32. Односторонний клапан для регулирования расхода чернил, содержащий опорную часть подножия, опорную часть стенки, выступающую изнутри опорной части подножия, опорную часть буртика, изогнутую вовнутрь опорной части стенки, и опорную часть головки, выступающую из опорной части буртика и выполненную со сквозным отверстием.
33. Односторонний клапан по п.32, отличающийся тем, что опорная часть буртика снабжена выемкой, образуемой опорной частью стенки, изогнутой вовнутрь.
34. Односторонний клапан по п.33, отличающийся тем, что опорная часть головки выступает под углом из опорной части буртика.
35. Односторонний клапан по п.32, отличающийся тем, что толщина опорной части подножия больше, чем толщина опорной части головки, а толщина опорной части головки больше, чем толщина опорной части буртика.
36. Способ заливки чернил в картридж для чернил по п.1, включающий этапы, на которых уплотняют картридж для чернил, создают разрежение в направляющей полости для чернил картриджа для чернил путем отсоса воздуха как в направляющей полости для чернил, так и в камере для чернил; заливают предварительно определенное количество чернил в картридж для чернил.
37. Способ заливки чернил по п.36, отличающийся тем, что дополнительно включает в себя этап, на котором вставляют отсасывающую иглу в газоотводное отверстие в стенке упомянутой полости для чернил с целью удаления воздуха как в направляющей полости для чернил, так и в камере для чернил.
38. Устройство для заливки чернил в картридж для чернил по п.1, содержащее сжимаемое устройство, приспособленное для уплотнения крышки картриджа для чернил, контейнер, приспособленный в качестве источника чернил, иглу для заливки чернил, вставляемую в выпускной канал для чернил картриджа для чернил и соединенную с контейнером через трубку, регулятор расхода, включающий в себя трубку для воздуха, соединяемую с указанной трубкой, воздушный насос, всасывающую иглу, соединяемую одной стороной с воздушным насосом и пронизывающую другой стороной газоотводное отверстие картриджа для чернил, и два клапана, расположенные по отдельности на трубках между регулятором расхода и контейнером, являющимся источником чернил, а также между регулятором расхода и иглой для заливки чернил.
Приоритет по пунктам:
03.04.2000 по пп.1, 3-10, 32-35;
02.06.2000 по пп.2, 11-13,17, 25;
31.07.2000 по пп.14-16, 20, 21;
12.10.2000 по пп.18, 26-31;
18.11.2000 по пп.36-38.
РИСУНКИ
MM4A – Досрочное прекращение действия патента СССР или патента Российской Федерации на изобретение из-за неуплаты в установленный срок пошлины за поддержание патента в силе
Дата прекращения действия патента: 29.02.2008
Извещение опубликовано: 20.07.2010 БИ: 20/2010
|
|