|
|
(21), (22) Заявка: 2004105537/02, 26.02.2004
(24) Дата начала отсчета срока действия патента:
26.02.2004
(45) Опубликовано: 10.09.2005
(56) Список документов, цитированных в отчете о поиске:
RU 2179919 C1, 27.02.2002. RU 98113491 А, 20.06.2000. SU 4856178 А, 07.09.1992. DE 10021355 А, 15.11.2001.
Адрес для переписки:
160019, г.Вологда, ул. Некрасова, 39, С.Д. Шестакову
|
(72) Автор(ы):
Шестаков С.Д. (RU), Ганиев М.М. (RU)
(73) Патентообладатель(и):
Шестаков Сергей Дмитриевич (RU)
|
(54) УЛЬТРАЗВУКОВОЙ ВИБРОУДАРНЫЙ ИНСТРУМЕНТ
(57) Реферат:
Изобретение относится преимущественно к ультразвуковым инструментам для виброударной обработки ковких металлов и сплавов пластическим деформированием и может быть использовано для релаксационно-упрочняющей и пассивирующей обработки, например, сварных соединений, поверхностей металлоконструкций, подвергнутых воздействию атмосферной, водной и почвенной коррозии. В ультразвуковом виброударном инструменте втулка закреплена на волноводном акустическом трансформаторе с натягом, усилие которого соответствует ее радиальной деформации, превышающей амплитуду поперечных колебаний волноводного акустического трансформатора в узле продольных колебаний при его работе на холостом ходу. Направляющие связаны с корпусом инструмента посредством эластичных виброизолирующих прокладок. Обеспечивается уменьшение вредного вибрационного воздействия на оператора или техническое средство, управляющее работой инструмента, если он используется как часть технологической системы. 1 з.п. ф-лы, 2 ил. 
Изобретение относится преимущественно к ультразвуковым инструментам для виброударной обработки ковких металлов и сплавов пластическим деформированием и может быть использовано для релаксационно-упрочняющей и пассивирующей обработки, например, сварных соединений, поверхностей металлоконструкций, подвергнутых воздействию атмосферной, водной и почвенной коррозии.
Изобретенный инструмент также может быть использован для чеканки, клепки, снятия окалины и ржавчины, некоторых видов долбления, демонтажа механических соединений с натягом, например, типа вал-втулка и винт-гайка, особенно подвергавшихся при эксплуатации коррозионному воздействию.
Известен ультразвуковой инструмент для ударной обработки сварных соединений [1], который может использоваться в том числе как ручной [2, 3], состоящий из источника возбуждения – электроакустического магнитострикционного излучателя с волноводным акустическим трансформатором (концентратором) и присоединенного к нему рабочего органа в виде обоймы, в которую вставлены деформирующие элементы – бойки в виде цилиндрических ступенчатых стержней, имеющих свободу осевого перемещения и удерживаемых от выпадения из обоймы утолщением на внутреннем конце.
В процессе работы инструмент прижимается к обрабатываемой поверхности так, что, по меньшей мере, один из бойков входит в механический контакт с ней своим наружным концом, а внутренним, утолщенным концом – с торцом акустического волноводного трансформатора. При этом за счет своей жесткости боек передает энергию колебаний источника возбуждения в обрабатываемый объект. При такой передаче энергии после каждого контакта с объектом происходит отскок инструмента за счет части энергии соударения, которая не израсходовалась на пластическую деформацию и перемещение объекта и составляет часть кинетической энергии в начале соударения, пропорциональную квадрату ньютоновского коэффициента восстановления [4].
Отсутствие в конструкции инструмента амортизирующих и демпфирующих элементов обуславливает чрезмерную жесткость конструкции, а значит, и слабую виброзащиту, что является существенным недостатком этого инструмента и препятствует достижению указанного ниже технического результата изобретения.
В моменты многократных механических контактов элементов инструмента между собой и с обрабатываемым объектом через систему жестких связей: боек – волноводный трансформатор – корпус, оператор будет испытывать вибрационные нагрузки. Если же инструмент во время работы удерживается или перемещается относительно обрабатываемого объекта при помощи какого-либо технического средства, исключающего непосредственное участие оператора, то вредное вибрационное воздействие будет испытывать это техническое средство, что может привести к его повреждению или разрушению.
Известен ручной ультразвуковой инструмент для деформационного упрочнения и релаксационной обработки [5], содержащий источник возбуждения в виде магнитострикционного преобразователя, жестко соединенного с волноводным акустическим трансформатором, помещенный в герметичный корпус с крышкой. Свободный объем между внутренней стенкой корпуса и источником возбуждения предназначен для циркуляции охлаждающей жидкости, посредством которой снимается и уносится тепло, выделяемое при работе источником возбуждения от рассеяния электрической энергии в обмотке излучателя, электромагнитной энергии в сердечнике и механической энергии на внутреннем трении в сердечнике и волноводном акустическом трансформаторе.
В этом инструменте для снижения уровня вибраций, возникающих при работе и воздействующих на оператора, источник возбуждения связан с корпусом инструмента посредством эластичных кольцевых прокладок, расположенных между ним и корпусом инструмента вблизи плоскости узла колебательных смещений волноводного трансформатора. Кроме того, инструмент снабжен пневмокамерой, установленной в крышке корпуса соосно с излучателем, который опирается на нее тыльным торцом. При этом источник возбуждения имеет возможность осевого возвратно-поступательного перемещения, при котором эластичные прокладки играют роль сальникового уплотнения системы жидкостного охлаждения инструмента, а пневмокамера играет роль амортизатора. Длина этого перемещения задана размерами пневмокамеры.
Причиной, препятствующей достижению указанного ниже технического результата при использовании этого инструмента, служит то обстоятельство, что снижение уровня виброударных нагрузок, испытываемых оператором при работе с ним, достигается в основном за счет диссипации кинетической энергии отскоков на вязком трении и трении скольжения элементов его конструкции. Это малоэффективно в отношении виброзащиты.
Известен виброударный инструмент с ультразвуковым возбуждением и воздушным охлаждением, который принят за прототип [6]. Инструмент содержит корпус, источник возбуждения, состоящий из последовательно соединенных электроакустического магнитострикционного излучателя и волноводного акустического трансформатора и размещенный внутри корпуса с возможностью возвратно-поступательного хода заданной длины, и обойму с бойками, установленную соосно с волноводным акустическим трансформатором. Источник возбуждения при этом закреплен во втулке, размещенной с зазором внутри корпуса на направляющих скольжения, выполненных в виде шпонок, которые заложены в сквозные пазы корпуса, а, по меньшей мере, одна из них заложена в глухой паз во втулке. Длина паза во втулке больше длины заложенной в него направляющей на величину возможного возвратно-поступательного хода источника возбуждения.
В этом инструменте упругим элементом является воздух внутри корпуса, который в отличие от охлаждающей жидкости является сжимаемой средой. Роль элемента трения, на котором происходит диссипация энергии, играют части конструкции, обеспечивающие скольжение при возвратно-поступательном движении втулки относительно корпуса – направляюще, а также вязкость воздуха, которая значительно ниже вязкости жидкости.
Однако поскольку трение на направляющих все же имеется, то реакция корпуса в виде вибрационной силы будет воздействовать на оператора или техническое средство, управляющее работой инструмента через устройства удержания инструмента во время работы: рукоятку, корпус. Этим объясняется недостаток, который препятствует достижению технического результата.
Технический результат – уменьшение вредного вибрационного воздействия на оператора или техническое средство, управляющее работой инструмента, если он используется как часть технологической системы.
Результат достигается за счет изменения конструкции инструмента таким образом, чтобы обеспечивалось увеличение механической податливости перемещения его подвижной части относительно корпуса.
Сущность изобретения заключается в следующем.
Известно, что сила трения пропорциональна силе сжатия трущихся поверхностей в сумме с силой ван-дер-ваальсовского притяжения этих поверхностей, пропорциональной, в свою очередь, суммарной площади их контакта. Второе слагаемое силы трения обуславливает трение покоя или статическое трение, которое по силе больше трения движения или кинематического трения [7]. Известно также, что при наложении вибрации хотя бы на одну из трущихся поверхностей сила трения снижается, так как исчезает статическая составляющая этой силы. Это свойство используется, например, при резании металлов ультразвуковыми инструментами, в которых режущей кромке резца сообщается возвратно-поступательное движение ультразвуковой частоты [8]. У таких инструментов усилие резания меньше, чем у обычных резцов, за счет снижения силы трения в числе прочих эффектов.
В настоящем изобретении использовано еще одно полезное свойство колебаний, распространяющихся по твердому телу с ультразвуковой частотой, ранее не известное в связи с использованием его для снижения силы трения с целью уменьшения вибрации корпусов виброударных инструментов. Это свойство – максимально возможное уменьшение площади контакта трущихся поверхностей за счет сообщения одной из них изгибных по отношению к другой колебаний.
Таким образом, сформулированный технический результат достигается за счет того, что в известном ультразвуковом виброударном инструменте, включающем корпус, втулку, установленную на связанные с корпусом направляющие с зазором между ее наружной поверхностью и внутренней поверхностью корпуса, а также источник возбуждения, на котором втулка закреплена за волноводный акустический трансформатор в узле его продольных колебаний, отличие состоит в том, что втулка закреплена на волноводном акустическом трансформаторе с натягом, усилие которого соответствует ее радиальной деформации, превышающей амплитуду поперечных колебаний волноводного акустического трансформатора в узле продольных колебаний при его работе на холостом ходу. Еще одно отличие состоит в том, что направляющие связаны с корпусом инструмента посредством эластичных виброизолирующих прокладок.
То обстоятельство, что втулка закреплена на волноводном акустическом трансформаторе источника возбуждения с натягом, обеспечивает ее акустический контакт. При работе источника возбуждения в узле продольных колебаний, где закреплена втулка, возникает пучность поперечных колебаний. Эти колебания, передаваясь втулке, возбуждают в ней изгибные по отношению к направляющим колебания в виде бегущих волн. При этом в любых условиях площадь контакта между втулкой и направляющими на большей части поверхностей их соприкосновения будет минимальной, так как втулка в любой момент времени будет иметь изгибную деформацию относительно направляющих, а контакт будет происходить только по гребням бегущей по втулке акустической волны.
Для того чтобы энергия поперечных колебаний волноводного трансформатора не выделялась в месте закрепления втулки в виде тепла трения, необходимо, что бы был обеспечен акустический контакт между втулкой и трансформатором. Для этого втулка должна быть закреплена с усилием, обеспечивающим сжатие – натягом. Это усилие должно быть таким, чтобы в момент максимального растяжения волноводного трансформатора при продольной деформации его сжатие в поперечнике не превышало деформацию втулки от усилия натяга. Ясно, что максимальная деформация волноводного трансформатора возможна при его работе в режиме холостого хода, когда обеспечивается механический резонанс.
Чтобы поперечные колебания втулки не передавались корпусу через направляющие, последние устанавливаются с виброизолирующими прокладками между ними и корпусом.
При работе такого инструмента трение между источником возбуждения и корпусом будет меньше, чем у прототипа, следовательно, меньшими будут и вибрационные усилия, передаваемые корпусу при отскоках. Значит, будет обеспечена лучшая виброзащита оператора либо устройства управляющего инструментом.
Таким образом, сравнение заявленного инструмента с прототипом, являющимся наиболее близким из аналогов техническим решением, характеризующим известный заявителю уровень техники, показывает, что заявленный инструмент обладает совокупностью отличительных признаков, существенных по отношению к указанному техническому результату.
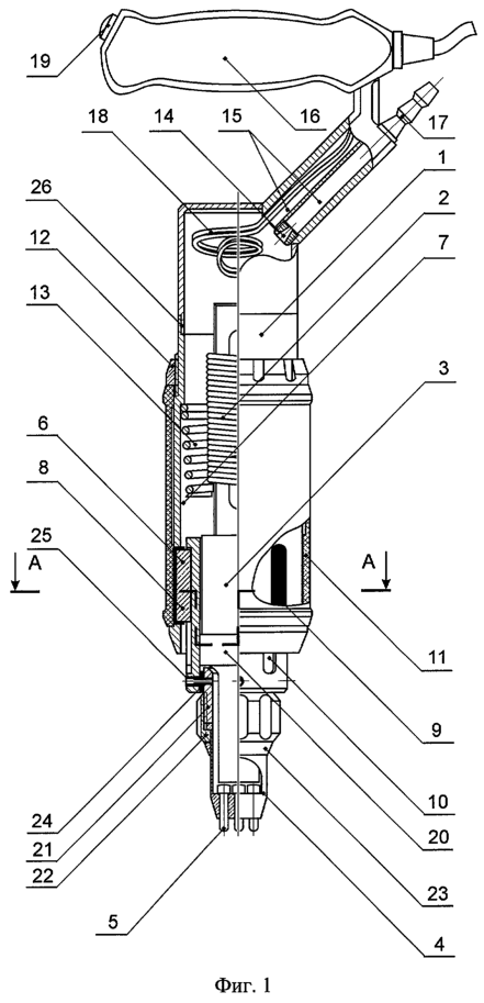
Фиг.1 – конструкция заявленного ультразвукового виброударного инструмента (общий вид). Соотношения размеров условные.
Фиг.2 – то же, поперечный разрез.
Ультразвуковой виброударный инструмент содержит корпус 1, источник возбуждения, состоящий из электроакустического магнитострикционного преобразователя с электрообмоткой 2 и волноводного акустического трансформатора 3, размещенный внутри корпуса и имеющий относительно него возможность возвратно-поступательного хода, обойму 4 с бойками 5.
Источник возбуждения закреплен во втулке 6, размещенной внутри корпуса с зазором 7 на направляющих скольжения 8, выполненных в виде, например, призматических шпонок, которые заложены в сквозные пазы корпуса 9 через эластичные виброизолирующие прокладки и одновременно в глухие пазы 10 во втулке. Длина паза во втулке превышает длину заложенной в него направляющей на величину заданного возвратно-поступательного хода источника возбуждения внутри корпуса. Направляюще с виброизолирующими прокладками удерживаются в сквозных пазах корпуса с надетым на него кожухом 11, который закреплен при помощи фигурной гайки 12. Свободный ход втулки дополнительно ограничен пружинным амортизатором 13.
Охлаждающий воздух подается через дроссель 14, который закреплен в одном из двух каналов 15, имеющихся в основании рукоятки инструмента 16. Во второй конец этого канала ввинчен штуцер 17 для соединения с магистралью сжатого воздуха посредством гибкого шланга. Эти элементы конструкции составляют совместно с зазором между втулкой и корпусом систему воздушного охлаждения источника возбуждения.
Через второй канал в основании рукоятки выведены провода 18 электрообмотки источника возбуждения.
В рукоятке 16 инструмента расположено коммутирующее устройство с гашеткой 19 системы дистанционного пуска-останова ультразвукового генератора, питающего источник возбуждения.
Источник возбуждения закреплен во втулке с натягом методом горячей посадки, при котором втулка перед ее закреплением была нагрета и увеличила внутренний диаметр за счет теплового расширения металла. Ее внутренний диаметр был выполнен на 0,1 мм меньшим, чем наружный диаметр фланца 20 волноводного акустического трансформатора, расположенного в месте пучности поперечных колебаний. Максимальная амплитуда этих колебаний, которая не должна превышать 0,1 мм, вычислена умножением коэффициента Пуассона , равного 0,25, на величину двойной амплитуды резонансных колебаний волноводного акустического трансформатора в его части, соединенной с магнитострикционным излучателем. Эта величина, в свою очередь, равна предельно допустимой амплитуде колебаний Адоп материала, из которого выполнен излучатель (сплав К49Ф2, А=7 мкм) при частоте 22000 Гц [10], из чего получилось:
2· ·Адоп=3,5·10-3 мм < 0,1 мм.
Обойма 4 с бойками 5 навинчена на конец переходного патрубка 21 при помощи накидной гайки 22, удерживаемой стопорным кольцом 23, и имеет возможность при ослабленной гайке быть повернутой на нужный угол относительно рукоятки инструмента. Переходной патрубок 21 закреплен во втулке 6 через эластичную манжету 24 шпильками 25.
Для удобства сборки инструмента корпус выполнен состоящим из двух частей, соединенных между собой разъемным соединением 26.
Инструмент работает следующим образом.
После подачи охлаждающего воздуха, который поступает в инструмент через штуцер и выходит из него через зазор между корпусом и втулкой, подвижная часть инструмента, состоящая из источника возбуждения втулки, переходного патрубка, обоймы с гайкой и стопорным кольцом, поступательно перемещается по направлению из корпуса под действием избыточного давления воздуха, возникающего внутри инструмента. Вращательному перемещению втулки внутри корпуса, результатом которого может стать перепутывание и обрыв выводных проводов электрообмотки источника возбуждения, препятствует шпоночное соединение, состоящее из направляющих, пазов в корпусе и во втулке. Длина продольного хода подвижной части инструмента ограничивается величиной, на которую длина пазов во втулке превышает длину направляющих. Таким образом, исключается выпадение подвижной части инструмента из корпуса под действием избыточного давления воздуха внутри инструмента.
После запуска генератора нажатием гашетки на ручке инструмента источник возбуждения начинает совершать колебательные движения относительно узлов продольных колебаний, один из которых размещается в плоскости фланца, на котором закреплена втулка. При этом если контакт переднего торца волноводного трансформатора с бойками отсутствует, то отсутствует и вибрация корпуса инструмента в продольном направлении, так как колебания источника взаимно уравновешены относительно центра его массы. От поперечных вибраций, обусловленных поперечными колебаниями источника и изгибными колебаниями втулки, корпус предохранен прокладками между шпонками и корпусом с кожухом.
Когда к корпусу инструмента приложена внешняя сила, то источник, бойки и обрабатываемый объект оказываются в механическом контакте, имеющем усилие, равное внешней силе. При этих условиях, как было описано выше, инициируется ударный процесс, сопровождающийся отскоками источника. Если при этом внешняя сила превышает силу давления воздуха на подвижную часть инструмента, в результате чего свободный ход оказывается выбранным, то внутренний торец втулки входит в механический контакт с пружинным амортизатором.
С момента середины каждого соударения, под действием энергии, запасенной в системе во время удара за счет упругости находящихся в механическом контакте обрабатываемого объекта, бойков и источника возбуждения, происходит возвратное перемещение подвижной части инструмента – отскок. Движущаяся часть оказывает поршневое воздействие на воздух внутри корпуса, а в случае «выбора» свободного хода – давление на амортизатор, осуществляя при этом работу против упругих сил, то есть трансформацию кинетической энергии своей движущейся массы в потенциальную энергию своего положения.
Часть объема воздуха, находящегося в инструменте, при этом вытесняется через зазор между корпусом и втулкой. Этот процесс происходит практически без рассеяния энергии, так как вязкость воздуха мала.
После того как сила давления воздуха (или давления воздуха и пружинного амортизатора) уравновесит силу инерции движущейся части инструмента, воздух внутри корпуса начнет восстанавливать свой первоначальный объем, придавая втулке и всему, что на ней закреплено, ускорение противоположного знака. Поскольку при работе излучателя во втулке возбуждаются изгибные колебания относительно места ее закрепления и соответственно направляющих, рассеяние энергии на трение втулки о направляющие практически отсутствует. Поэтому в отличие от прототипа импульсы силы реакции корпуса инструмента при удалении от объекта и сближении с ним будут равны.
Вибрационная сила, испытываемая неподвижной частью инструмента – корпусом и соответственно удерживающим его оператором, равная, как известно [9], разнице средних значений сил реакции возвратного и поступательного движений, при этом будет практически отсутствовать.
Источники информации
2. RU 2031144, С 21 D 1/04, 11/00.
3. SU 472782, В 24 В 39/04, В 23 D 1/00.
4. Пановко Я.Г. Введение в теорию механического удара. – М.: Наука, 1977. – 224 с.
5. SU 1759611, В 24 В 39/04.
6. RU 2179919, В 25 D 9/14, В 06 В / В 1/08, 1/12, В 24 В 39/04.
7. Яворский Б.М., Детлаф А.А. Справочник по физике. – М.: Наука, 1974. – 942 с.
9. Быховский И.И. Основы теории вибрационной техники. – М.: Наука, 1969.
10. Гершгал Д.А., Фридман В.М. Ультразвуковая аппаратура промышленного назначения. – М.: Энергия. – 1967. – 264 с.: ил.
Формула изобретения
1. Ультразвуковой виброударный инструмент, включающий корпус, втулку, установленную на связанные с корпусом направляющие с зазором между ее наружной поверхностью и внутренней поверхностью корпуса, а также источник возбуждения, на котором втулка закреплена за волноводный акустический трансформатор в узле его продольных колебаний, отличающийся тем, что втулка закреплена на волноводном акустическом трансформаторе с натягом, усилие которого соответствует ее радиальной деформации, превышающей амплитуду поперечных колебаний волноводного акустического трансформатора в узле продольных колебаний при его работе на холостом ходу.
2. Ультразвуковой виброударный инструмент по п.1, отличающийся тем, что направляющие связаны с корпусом инструмента посредством эластичных виброизолирующих прокладок.
РИСУНКИ
PC4A – Регистрация договора об уступке патента Российской Федерации на изобретение
(73) Патентообладатель(и):
Шестаков Сергей Дмитриевич
(73) Патентообладатель:
Общество с ограниченной ответственностью “Астор-С”
Дата и номер государственной регистрации перехода исключительного права: 18.12.2007 № РД0030494
Извещение опубликовано: 27.01.2008 БИ: 03/2008
|
|