|
|
(21), (22) Заявка: 2004130253/02, 12.10.2004
(24) Дата начала отсчета срока действия патента:
12.10.2004
(45) Опубликовано: 10.09.2005
(56) Список документов, цитированных в отчете о поиске:
RU 2153969 С1, 10.08.2000. RU 2000106356 А, 27.12.2001. SU 1504071 А, 30.08.1989. CS 263310 А, 14.04.1989.
Адрес для переписки:
302020, г.Орел, Наугорское ш., 29, ОрелГТУ, проректору Ю.С.Степанову
|
(72) Автор(ы):
Степанов Ю.С. (RU), Киричек А.В. (RU), Самойлов Н.Н. (RU), Гаврилин А.М. (RU), Афанасьев Б.И. (RU), Катунин А.А. (RU), Фомин Д.С. (RU)
(73) Патентообладатель(и):
Государственное образовательное учреждение высшего профессионального образования “Орловский государственный технический университет” (ОрелГТУ) (RU)
|
(54) СПОСОБ ОБКАТЫВАНИЯ НЕЖЕСТКИХ И ЭКСЦЕНТРИКОВЫХ ВАЛОВ
(57) Реферат:
Изобретение относится к обработке металлов давлением, в частности к обработке поверхностным пластическим деформированием цилиндрических поверхностей эксцентриковых, нежестких валов и винтов с большим шагом и малым эксцентриситетом, например винтов нефтедобывающих насосов. В способе обкатывания нежестких и эксцентриковых валов обеспечивают эффект сглаживания и упрочнения с помощью деформирующих элементов, расположенных в кронштейнах державки, в виде торовых роликов с двойными профильными поясками, образованными двумя профильными радиусами, из которых поясок, образованный максимальным радиусом, – сглаживающий, а поясок, образованный минимальным радиусом, – упрочняющий, при этом ролики установлены на подшипниках на осях с коническими торцами, контактирующими с ответными внутренними коническими поверхностями колец-гаек, которые ввернуты с помощью левой и правой резьбы в торцовые леворезьбовое и праворезьбовое отверстия державки, кроме того, державка расположена между двумя дисками с центральными отверстиями, один из которых жестко соединен с корпусом, а другой диск жестко крепится к торцу первого диска с помощью распорных втулок и винтов, и свободно установлена с помощью нескольких растяжек в виде пружин растяжения, причем для предотвращения вращения державки она снабжена рукояткой, расположенной на периферии, которая опирается на ролик с осью, закрепленной между дисками, а упомянутые растяжки-пружины закреплены на распорных втулках. Обеспечивается расширение технологических возможностей, снижение себестоимости, повышение производительности, улучшение качества и точности изготовления. 8 ил. 
Изобретение относится к обработке металлов давлением, в частности к обработке поверхностным пластическим деформированием (ППД) цилиндрических поверхностей эксцентриковых, нежестких валов и винтов с большим шагом и малым эксцентриситетом, например винтов нефтедобывающих насосов.
Известен способ обкатывания нежестких валов трехроликовым приспособлением, которое состоит из державки с роликами, шарнирно соединенной с корпусом, при этом корпус крепят на суппорте станка [1].
Недостатком известного способа и приспособления является ограниченность применения, узкая специализация (только для цилиндрических поверхностей) и низкая производительность, при этом для получения высокого качества необходимо создание больших рабочих усилий и неоднократных проходов, а это требует использования роликов с большим радиусом профиля, что отрицательно влияет на массогабаритные параметры и не всегда осуществимо.
Задачей изобретения является расширение технологических возможностей путем обеспечения обработки обкатыванием цилиндрических поверхностей эксцентриковых и нежестких валов самоустанавливающейся головкой с торовыми роликами с двойным профильным пояском, образованным двумя профильными радиусами, снижение себестоимости, повышение производительности и улучшение качества и точности изготовления благодаря обеспечению эффекта сглаживания и упрочнения, а также благодаря осуществлению предлагаемого способа на том же станке, на котором производилась предварительная обработка заготовки.
Поставленная задача решается предлагаемым способом обкатывания нежестких и эксцентриковых валов, при котором обрабатываемой заготовке сообщают вращательные движения, а деформирующему инструменту-головке, содержащей корпус, с помощью которого ее крепят на суппорте станка, и державку с деформирующими элементами, шарнирно соединенную с корпусом, сообщают продольную подачу, причем он обеспечивает эффект сглаживания и упрочнения с помощью деформирующих элементов, расположенных в кронштейнах державки, в виде торовых роликов с двойными профильными поясками, образованными двумя профильными радиусами, из которых поясок, образованный максимальным радиусом, – сглаживающий, а поясок, образованный минимальным радиусом – упрочняющий, при этом ролики установлены на подшипниках на осях с коническими торцами, контактирующими с ответными внутренними коническими поверхностями колец-гаек, которые ввернуты с помощью левой и правой резьбы в торцовые леворезьбовое и праворезьбовое отверстия державки, кроме того, державка расположена между двумя дисками с центральными отверстиями, один из которых жестко соединен с корпусом, а другой диск жестко крепится к торцу первого диска с помощью распорных втулок и винтов, и свободно установлена с помощью нескольких растяжек в виде пружин растяжения, причем для предотвращения вращения державки она снабжена расположенной на периферии рукояткой, которая опирается на ролик с осью, закрепленной между дисками, а упомянутые растяжки-пружины закреплены на распорных втулках.
Сущность способа поясняется чертежами.
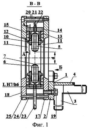
На фиг.1 представлена регулируемая в радиальном направлении головка, реализующая предлагаемый способ обкатывания эксцентриковых и нежестких валов и винтов, продольный разрез по В – В на фиг.3; на фиг.2 – вид слева по Д на фиг.3; на фиг.3 – общий вид устройства по Б на фиг.1; на фиг.4 – разрез по А – А на фиг.1; на фиг.5 – сборочный чертеж торового ролика с сглаживающим и упрочняющим поясками, смонтированный на подшипнике на оси; на фиг.6 – схема обработки обкатыванием нежесткого вала, с указанием упрочненного слоя, образованного сглаживающим и упрочняющим поясками; на фиг.7 – схема обработки обкатыванием эксцентрикового вала по предлагаемому способу на токарном станке; на фиг.8 – вид справа по Е на фиг.7.
Предлагаемый способ осуществляется с помощью головки, относящейся к многоэлементному деформирующему инструменту с регулируемыми на заданный размер свободно вращающимися роликами, и служит для обработки поверхностным пластическим деформированием (ППД) – обкатыванием нежестких, эксцентриковых валов и винтов преимущественно с большим шагом (t) и малым эксцентриситетом (е), например, винтов нефтедобывающих насосов, у которых малый эксцентриситет (е=1,6 мм) и большой шаг (t=28±0,01 мм).
Головка, реализующая способ, содержит корпус 1 сварной конструкции, с помощью которого ее крепят, например, на суппорте токарного станка. В корпусе можно различить: полдиска 2, расположенного вертикально, две взаимно перпендикулярные горизонтальные планки 3 для закрепления корпуса в резцедержателе суппорта и ребра жесткости 4.
Деформирующие элементы торообразные ролики 5 с двойными профильными поясками 6 и 7, образованными двумя профильными радиусами, соответственно RС и RУ, из которых поясок 6, образованный максимальным радиусом RС, работает как сглаживающий, а поясок 7, образованный минимальным радиусом RУ, работает как упрочняющий. Ролики 5 установлены на подшипниках 8 на осях 9 и закреплены с помощью соответствующих упругих колец. Оси 9 имеют у торцов конические поверхности 10, контактирующие с ответными внутренними коническими поверхностями 11 колец-гаек 12 и 13. Кольца-гайки 12 и 13 имеют на наружной поверхности левую и правую резьбу и ввернуты в торцовые, соответственно, леворезьбовое и праворезьбовое отверстия державки 14. Державка 14 содержит кронштейны 15 в виде вилки, в которых располагаются оси 9, имеющие возможность радиального перемещения благодаря лыскам 16. Вывертывая или завертывая кольца-гайки 12 и 13 в державку 14 радиально перемещают оси 9 с роликами 5. Во избежания выпадения осей 9 с роликами 5 из кронштейнов 15 в нерабочем состоянии головки установлены соответствующие ограничители, например, в виде шплинтов.
Державка 14 подвижно установлена в корпусе 1 с помощью двух дисков 17 и 18. Диски 17 и 18 имеют центральные отверстия для прохождения обрабатываемой заготовки. Диск 17 жестко соединен с полудиском 2 корпуса 1 винтами 19, а другой диск 18 жестко крепится к торцу диска 17 с помощью распорных втулок 20 и винтов 21. Между дисками 17 и 18 по скользящей посадке (H7/h6) с зазором свободно установлена с помощью трех растяжек в виде пружин растяжения 22 державка 14. Пружины 22 одним концом закреплены на даржавке 14, а другим – закреплены на распорных втулках 20.
Для предотвращения вращения державки 14 при контакте с вращающейся заготовкой она снабжена рукояткой 23, расположенной радиально на периферии державки 14. Рукоятка 23 опирается на ролик 24 с осью 25, закрепленной между дисками 17 и 18.
Сборка головки осуществляется в следующей последовательности.
К корпусу 1, сваренному из отдельных элементов: полудиска 2, планок 3 и ребер жесткости 4, крепится винтами 19 диск 17. Отдельно собирается узел державки 14 в сборе. Сборка державки заключается в установлении в кронштейны 15 деформирующих элементов 5 в сборе, их закреплении с помощью колец-гаек 12 и 13, которые ввертываются в резьбовые торцовые отверстия державки, и постановка в кронштейны шплинтов. На державке закрепляют растяжки-пружины 22 и ввертывают рукоятку 23.
Заканчивается общая сборка головки установкой диска 18 и креплением его с помощью роликов 20 винтами 21, с предварительной установкой между дисками 17 и 18 державки 14 в сборе и оси 25 с роликом 24, при этом производится натяжение и закрепление пружин 22 на роликах 20.
По окончании сборки производится проверка и при необходимости регулировка зазоров между дисками 17 и 18 и державкой 14 путем установки шайб (не показаны) между роликами 20 и диском 17 или 18 с целью свободного без люфта поперечного смещения державки 14 относительно дисков 17 и 18. Радиальное биение собранной головки по деформирующим элементам по внутреннему диаметру d не должно превышать 8…10 мкм.
Работа по предлагаемому способу заключается в следующем.
При финишной обработке поверхностным пластическим деформированием – обкатыванием нежесткого вала (или, например, шейки эксцентрикового вала, имеющего профиль и размеры d, е, показанный на фиг.7 и 8) предлагаемой головкой его закрепляют в патроне 26 шпинделя 27 передней бабки 28, подводят головку и вводят свободный конец заготовки вала в отверстие головки, и поджимают центром 29 задней бабки 30. Обрабатываемому валу сообщают вращательное движение VЗ. Скорость вращения заготовки задают в зависимости от требуемой производительности, конструктивных особенностей заготовки и оборудования. Обычно скорость составляет 30…150 м/мин.
Головке сообщают продольную подачу SПР в одну сторону не более 0,1…3,0 мм/об. Оптимальную подачу SПР О определяют по формуле:
SПР О=kSЭ
где k – число деформирующих элементов;
SЭ – подача на один деформирующий элемент, принимается для роликов не более – 0,1…0,5 мм/об.
Натяг дают с учетом исходной и требуемой шероховатости, точности и диаметра обрабатываемой поверхности, а также жесткости инструмента – не более z 0,03…0,3 мм. Регулировку натяга осуществляют за счет ввертывания или вывертывания колец-гаек из державки.
При переходе на обработку другого типоразмера вала в головке требуется произвести регулировку или заменить державку с деформирующими элементами.
Достоинством предлагаемого способа обкатывания является расширение технологических возможностей путем обеспечения обработки обкатыванием цилиндрических поверхностей эксцентриковых и нежестких валов самоустанавливающейся головкой с торовыми роликами с двойным профильным пояском, образованным двумя профильными радиусами, снижение себестоимости, повышение производительности и улучшение качества изготовления, благодаря обеспечению эффекта сглаживания и упрочнения, а также благодаря использованию предлагаемой головки на том же станке, на котором производилась предварительная обработка заготовки.
Ролики 5 с профильными поясками 6 и 7 (фиг.6), образованными двумя профильными максимальным RС и минимальным RУ радиусами, делят величину b, на которую изменяется размер после обработки, на две ступени bС и bУ, где максимальная профильная ступень позволяет уменьшить величину пластической волны в направлении подачи и уменьшить вероятность трещинообразования, что повышает качество упрочненного слоя, а минимальная профильная ступень позволяет повысить глубину и степень твердости наклепанного слоя.
Пример. Обрабатывался обкатыванием винт левый Н41.1016.01.001 винтового нефтедобывающего насоса ЭВН5-25-1500, который имел следующие размеры: общая длина – 1282 мм, длина винтовой части – 1208 мм, диаметр поперечного сечения винта – D1=27-0,05 мм, D=30,3 мм, эксцентриситет e1=1,65 мм, е=3,3 мм, шаг t=28±0,01 мм, шероховатость Ra=0,4 мкм; винтовая поверхность однозаходная, левого направления; материал – сталь 18ХГТ ГОСТ 4543-74, твердость НВ 207…228, масса – 5,8 кг. Предварительная обработка точением и финишная обработка обкатыванием проводилась на токарно-винторезном станке мод. 16К20, окружная скорость заготовки – VЗ=84,78 м/мин (1,41 м/с), nЗ=1000 об/мин, продольную подачу SПР О определяли по формуле SПР О=kSэ мм/об и принимали SПР О=4·0,1=0,4 мм/об, где k=4 – количество роликов в головке, наружный диаметр роликов – 42 мм, высота – 14 мм, максимальный профильный радиус – RС=7 мм, минимальный профильный радиус – RУ=2,5 мм. Усилие обкатывания составляло около 1700 Н, глубина наклепанного слоя находилась в пределах 0,15…0,20 мм; величина, на которую изменился размер после обкатки, – 0,03…0,06 мм; смазывающе-охлаждающей жидкостью при обкатывании служил сульфофрезол (5%-ная эмульсия).
Требуемая шероховатость и точность винтовой поверхности была достигнута через ТМ=3,2 мин (против ТМ баз=16,75 мин по базовому варианту при традиционном шлифовании с помощью шлифовальной головки, с последующим полированием абразивной лентой ЛВТ 2200×55 Э4, 5-8-10 ГОСТ 12439-79 на токарном станке 1К62 на АО “Ливгидромаш”). Контроль проводился скобой индикаторной с индикатором ИЧ 10 Б кл. 1 ГОСТ 577-68. Накопленная погрешность между любыми не соседними шагами была не более 0,1 мм, просвет при контроле лекальной линейкой образующих по диаметру выступов – не более 0,07 мм, что допустимо по ТУ.
Достоинствами предлагаемого способа, реализуемого регулируемой многоэлементной головкой для обкатывания, являются:
– возможность обкатывания нежестких и эксцентриковых валов с повышением точности обработки (на 10…20%) за счет жесткой конструкции державки (отклонение формы не более 10…30 мкм);
– позволяет вести обкатывание на максимальных подачах по сравнению с известными одноэлементными устройствами;
– обеспечение постоянного усилия контакта деформирующих элементов и обрабатываемой поверхности;
– уменьшает погрешность предшествующей обработки;
– многоэлементность устройства позволяет осуществить многопроходность обработки, за счет чего достигается более высокое качество обработки;
– позволяет разгрузить узлы станка от одностороннего приложения усилия и обрабатывать нежесткие валы;
– образование определенной макро- и микрогеометрической формы обработанной поверхности, уменьшение параметра шероховатости – сглаживание поверхности, изменение структуры материала – поверхностный наклеп и создание определенного напряженного состояния – все это благоприятно действует на износостойкость.
Головка не сложная по конструкции и надежная в эксплуатации, а предлагаемый способ обкатывания нежестких, эксцентриковых валов и винтовых поверхностей головкой отличается простотой в реализации. Получаемые на поверхности упрочняемой заготовки структуры слоев обладают повышенной твердостью, а соответственно, износостойкостью и сопротивлением усталостному разрушению.
Использование предлагаемого способа позволяет повысить производительность обработки в 1,5…2,0 раза и обеспечить высокую точность.
Источники информации
1. Справочник технолога-машиностроителя. В 2-х т. Т.2/Под ред. А.Г.Косиловой и Р.К.Мещерякова. – 4-е изд., перераб. и доп. – М.: Машиностроение, 1985. C.387, рис.6 – прототип.
Формула изобретения
Способ обкатывания нежестких и эксцентриковых валов, при котором обрабатываемой заготовке сообщают вращательные движения, а деформирующему инструменту-головке, содержащей корпус, с помощью которого ее крепят на суппорте станка, и державку с деформирующими элементами, шарнирно соединенную с корпусом, сообщают продольную подачу, отличающийся тем, что обеспечивают эффект сглаживания и упрочнения с помощью деформирующих элементов, расположенных в кронштейнах державки, в виде торовых роликов с двойными профильными поясками, образованными двумя профильными радиусами, из которых поясок, образованный максимальным радиусом, – сглаживающий, а поясок, образованный минимальным радиусом, – упрочняющий, при этом ролики установлены на подшипниках на осях с коническими торцами, контактирующими с ответными внутренними коническими поверхностями колец-гаек, которые ввернуты с помощью левой и правой резьб в торцовые леворезьбовое и праворезьбовое отверстия державки, кроме того, державка расположена между двумя дисками с центральными отверстиями, один из которых жестко соединен с корпусом, а другой диск жестко крепится к торцу первого диска с помощью распорных втулок и винтов, и свободно установлена с помощью нескольких растяжек в виде пружин растяжения, причем для предотвращения вращения державки она снабжена рукояткой, расположенной на периферии, которая опирается на ролик с осью, закрепленной между дисками, а упомянутые растяжки-пружины закреплены на распорных втулках.
РИСУНКИ
MM4A – Досрочное прекращение действия патента СССР или патента Российской Федерации на изобретение из-за неуплаты в установленный срок пошлины за поддержание патента в силе
Дата прекращения действия патента: 13.10.2006
Извещение опубликовано: 20.06.2008 БИ: 17/2008
|
|