|
(21), (22) Заявка: 2002120471/11, 18.11.2000
(24) Дата начала отсчета срока действия патента:
18.11.2000
(30) Конвенционный приоритет:
31.12.1999 (пп.1-15) DE 19963979.5
(43) Дата публикации заявки: 27.01.2004
(45) Опубликовано: 10.09.2005
(56) Список документов, цитированных в отчете о поиске:
DE 2124480 В, 05.10.1972. DE 19544557 С1, 23.01.1997. US 5023534 А, 11.06.1991. SU 1007904 A, 30.03.1983.
(85) Дата перевода заявки PCT на национальную фазу:
31.07.2002
(86) Заявка PCT:
EP 00/11450 (18.11.2000)
(87) Публикация PCT:
WO 01/49940 (12.07.2001)
Адрес для переписки:
101000, Москва, пер. М.Златоустинский, 10, кв.15, “ЕВРОМАРКПАТ”, Веселицкому М.Б.
|
(72) Автор(ы):
ФАРИОН Отмар (DE)
(73) Патентообладатель(и):
ФАРИОН ОТМАР (DE)
|
(54) УСТАНОВКА ДЛЯ ИЗГОТОВЛЕНИЯ МАРШРУТНЫХ СЕКЦИЙ
(57) Реферат:
Изобретение относится к установкам для изготовления маршрутных секций рельсовых путей для электромагнитных подвесных дорог. Установка имеет ряд удерживающих устройств, расположенных последовательно в продольном направлении установки. Каждое из удерживающих устройств включает базовый элемент, выполненный с возможностью перемещения на колесах, и хотя бы одно по меньшей мере косвенно соединенное с ним опорное устройство. Это устройство выполнено таким образом, что участки предварительно собранной маршрутной секции расположены в положении, соответствующем ее последующему возможному монтажному положению, с возможностью регулирования своего положения относительно базового элемента. Регулирование обеспечивает возможность изготовления маршрутных секций на одной установке. Изобретение позволяет снизить стоимость и затраты на производство отдельной маршрутной секции. 14 з.п. ф-лы, 5 ил. 
Данное изобретение относится к установке для изготовления маршрутных секций.
Путь прохождения, в частности рельсовый путь прохождения, в частности, для электромагнитной подвесной дороги, состоит из отдельных маршрутных секций. Коммерчески известные на рынке маршрутные секции для электромагнитной подвесной дороги – это бетонные секции, которые изготовляют для забоя. Для упрощения производства и снижения затрат маршрутные секции надо в дальнейшем предварительно изготовлять на предприятии в виде металлических секций. При этом эти металлические секции нужно доставить на строительную площадку и соединить между собой на месте таким образом, чтобы осуществить беспрерывное прохождение пути при разных профилях местности. Маршрутная секция, предназначенная для проектирования электромагнитной подвесной дороги, имеет длину, например, 62 м и устанавливается на колону (опору) на поверхности грунта. Такие маршрутные секции являются стальными конструктивными элементами, изготовленными из толстостенной листовой стали. В сечении эти маршрутные секции имеют трапециевидный коробчатый профиль с двумя встроенными сверху поперечными кронштейнами так, что в целом получается почти Т-образное сечение.
Однако, несмотря на то, что все такие маршрутные секции имеют приблизительно одинаковую длину, они отличаются геометрической формой деталей. Следует понимать, что между этими частями имеются отдельные изгибы относительно вертикальной оси (кривизна кривой) и относительно горизонтальной оси (вертикальный профиль), расположенной поперек продольной оси маршрутной секции, и оси, параллельной этой продольной оси (перекос или возвышение). Эти геометрические особенности каждой маршрутной секции определяют соответственно отдельным географическим данным местности, на которой надо установить данную маршрутную секцию.
Кроме относительно сложных и разных геометрических форм деталей каждой маршрутной секции ее изготовление требует высокой точности. При этом в вышеуказанных маршрутных секциях с общей длиной приблизительно 62 м производственный допуск в местах стыка разрешается максимум 1 мм. Для выполнения такой высокой точности к установкам, на которые предварительно подготавливают каждую маршрутную секцию, предъявляют очень высокие требования. При этом нужно по возможности снизить материальные затраты на сами установки и на способ изготовления маршрутной секции. Сначала маршрутные секции предварительно устанавливают на устройство, которое охватывается зажимными устройствами. Потом маршрутные секции механически обрабатывают в другой установке, например, просверливают отверстия, фрезеруют и зачищают.
Предложенная установка для изготовления маршрутных секций имеет ряд удерживающих устройств, расположенных последовательно в продольном направлении установки, каждое из которых содержит выполненный с возможностью перемещения на колесах базовый элемент и хотя бы одно по меньшей мере косвенно соединенное с ним опорное устройство, выполненное с возможностью соответствующего регулирования расположения участка предварительно собранной маршрутной секции в положении, соответствующем ее последующему возможному монтажному положению, и с возможностью регулирования своего положения относительно базового элемента. Для решения рассмотренных выше проблем уровня техники в предложенной установке хотя бы одно из удерживающих устройств включает гидравлические или электрические приводы, создающие соответствующие перемещения, а установка снабжена блоком управления с памятью, генерирующим сигналы и соединенным с приводами для их возможного перемещения в соответствующие позиции в зависимости от занесенных в память определенных параметров маршрутной секции.
Установка по данному изобретению состоит из ряда удерживающих устройств, расположенных последовательно вдоль установки, и зажимных столов. При этом положение опорных устройств регулируется с возможностью подгона каждой опоры под отдельную геометрическую форму и положение каждого участка маршрутной секции для его установления на опоры. При этом конструкция опорного устройства дает возможность расположения маршрутной секции соответственно с ее предшествующей монтажной позицией. Таким образом, создана форма «ложе», которое отвечает отдельной геометрической форме данной маршрутной секции, а изготовление отдельных «лож», в которых можно изготовить маршрутную секцию, автоматизировано.
Благодаря возможности регулирования можно изготовлять маршрутные секции на одной установке, при этом значительно снижая ее стоимость и затраты на производство отдельной маршрутной секции.
В частном варианте выполнения установки опорное устройство хотя бы одного из удерживающих устройств может быть выполнено с возможностью отклонения относительно вертикальной оси. Отличительной особенностью этого варианта является наличие желательных направлений регулирования и поворотных осей опорных устройств под удерживающие устройства установки.
Опорное устройство хотя бы одного из удерживающих устройств может быть закреплено на верхнем промежуточном элементе, выполненном с возможностью перемещения относительно базового элемента. Конструкция удерживающих устройств в этом варианте является относительно надежной.
Быстрое и безопасное поворотное перемещение опорных устройств является дополнительной предпочтительной отличительной особенностью изобретения в варианте, где опорное устройство хотя бы одного из удерживающих устройств выполнено с возможностью отклонения относительно верхнего промежуточного элемента по вертикальной оси.
Возможность простого регулирования по вертикали опорной системы удерживающих устройств обеспечивается в варианте, где хотя бы одно из удерживающих устройств включает в себя отстоящие друг от друга и регулируемые в продольном направлении опорные элементы, которые соединены с одной стороны с базовым элементом, а с другой стороны хотя бы косвенно – с опорным устройством и выполнены с возможностью вертикального перемещения опорного устройства удерживающего устройства.
В варианте, где хотя бы одно из удерживающих устройств дополнительно включает первую направляющую и вторую взаимодействующую с первой направляющую, выполненные с возможностью регулирования позиции опорного устройства в направлении, перпендикулярном продольному направлению установки, достигается простое поступательное регулирование опорных устройств в поперечном направлении согласно продольному направлению установки. При этом можно достичь относительно высокого вертикального усилия.
В варианте, где хотя бы одно из удерживающих устройств дополнительно включает электрические самотормозящиеся приводы, создается удобное автоматизированное управление установкой.
Отличительная особенность варианта, в котором хотя бы одно из удерживающих устройств дополнительно включает сенсоры для регистрации позиции опорного устройства и передачи соответствующего сигнала блоку управления, имеющему компаратор для сравнения зарегистрированных данных с занесенными в память заданными параметрами и передачи предупреждения при отклонении зарегистрированных данных от установленных параметров, заключается в повышении точности, упрощении регистрации показаний и обеспечении качества.
Опорное устройство хотя бы одного из удерживающих устройств дополнительно может включать в себя хотя бы один опорный элемент, выполненный с возможностью отклонения по горизонтальной оси, перпендикулярной продольной оси установки. В этом случае обеспечивается оптимальное расположение маршрутной секции на опорном элементе. При этом опорный элемент может дополнительно иметь изгиб кромки, выполненный, при необходимости, в форме прижимного кулачка, что создает возможность бокового перемещения маршрутной секции.
Опорный элемент может дополнительно включать в себя устройство точного регулирования, выполненное с возможностью индивидуальной настройки высоты опорного элемента относительно базового элемента. Таким устройством точного регулирования по вертикали обеспечивается равномерное опорное усилие.
Когда установка дополнительно включает хотя бы два опорных элемента, расположенных на изменяемом расстоянии, конструкция установки плотно прилегает под маршрутные секции разной ширины.
Далее, ряд удерживающих устройств может быть сконструирован в виде основного опорного установочного устройства, на опорном устройстве которого расположена основная опора маршрутной секции, расположенной в позиции, которая совпадает с предварительно установленной монтажной позицией, при этом хотя бы одно из удерживающих устройств может быть сконструировано в виде зажимного демпферного устройства, на опорном устройстве которого расположен участок основного корпуса этой маршрутной секции. Особым преимуществом изобретения в данном частном случае его осуществления является то, что маршрутную секцию следует располагать так, как она реально размещается, то есть на своей опоре. Кроме того, положение маршрутной секции стабилизируется в участке между двумя основными опорами.
В рассмотренном выше варианте опорное устройство зажимного демпферного устройства может быть шарнирно прикреплено к первому приводу, шарнирно соединенному с базовым элементом относительно оси, расположенной вдоль продольного направления установки, и соединенному с другим приводом, выполненным с возможностью регулирования угла между первым приводом и базовым элементом, что представляет собой простой в реализации пример выполнения так называемого зажимного демпферного устройства.
Наконец, между двумя основными опорными установочными устройствами может быть расположено хотя бы одно, а преимущественно – четыре, зажимных демпферных устройства, что создает оптимальные условия для изготовления маршрутной секции, в частности, для обработки маршрутной секции, для соединения, например, точечным свариванием. В этом случае маршрутная секция надежно фиксируется к колебательной консоли.
Ниже представлено детальное объяснение примера осуществления изобретения в сопровождении соответствующих фигур, на которых изображены:
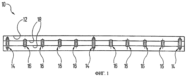
Фигура 1: схематический вид сверху установки для изготовления маршрутных секций со множеством удерживающих устройств.
Фигура 2: схематический вид спереди одного из удерживающих устройств фигуры 1 в частичном разрезе, выполненного как основное опорное установочное устройство.
Фигура 3: схематический вид сбоку основного опорного установочного устройства фигуры 2 в частичном разрезе.
Фигура 4: схематический вид спереди одного из удерживающих устройств фигуры 1 в частичном разрезе, выполненного как зажимное демпферное устройство.
Фигура 5: вид сбоку зажимного демпферного устройства фигуры 4.
Установка для изготовления маршрутной секции в целом обозначена на фигуре 1 цифрой 10. Она включает продольную прямоугольную в плане выемку 12 в основании, по всей длине которой распределены 11 удерживающих устройств.
Два удерживающих устройства в концах выемки 12, а также срединное удерживающее устройство выполнены как основное опорное установочное устройство 14.
Расположенное между такими двумя основными опорными установочными устройствами 14 удерживающее устройство образовывает зажимное демпферное устройство 16. Длина выемки 12 больше длины маршрутной секции (на фигуре 1 не показана). Расстояния между отдельными удерживающими устройствами, а также между основными опорными установочными устройствами 14 и зажимными демпферными устройствами 16 являются одинаковыми согласно примеру выполнения, изображенному на фигуре 1. Однако, они могут изменяться соответственно форме маршрутной секции, которая изготовляется. Для этой цели основное опорное установочное устройство 14 и зажимное демпферное устройство 16 выполнены с возможностью перемещения по рельсам 18 в продольном направлении установки 10, что дальше будет детально описано.
Ниже описана конструкция основного опорного установочного устройства 14 соответственно фигурам 2 и 3. Следует понимать, что выполнение каждого основного опорного установочного устройства 14 установки 10 полностью идентично.
Основное опорное установочное устройство 14 включает базовый элемент 20, установленный на нем нижний промежуточный элемент 22, верхний промежуточный элемент, скрепленный с нижней четверкой вертикальных опорных элементов 24, и двумя опорными устройствами 28, установленными на промежуточный элемент 26. На него устанавливается основная опора 30 предварительно монтированной маршрутной секции 32 таким образом, чтобы маршрутная секция 32 соответственно была выровнена со своим последним монтажным положением.
Базовый элемент 20 включает каретку, оснащенную в целом четырьмя колесами, которые вставлены в колесные выемки 35 и перемещаются по рельсам 18 в выемке 12. Электродвигатель 34 приводит в движение по крайней мере одно из колес 34 так, чтобы базовый элемент 20 двигался по рельсам. Базовый элемент 20 вообще имеет в плане практически прямоугольную форму и состоит из двойных Т-образных балок 38 и нижней 40 и верхней 42 панелей. К нижней панели 40 прикреплена проходящая продольно направляющая деталь 44, которая перемещается в ведущем рельсе 46, образованном из U-образного профиля. Таким образом, основное опорное установочное устройство 14 с большей надежностью направляется по рельсу 18 при повороте.
На верхней панели 42 между боковыми колесными выемками 35 монтируется направляющая деталь 48, которая имеет соосную протянутую поперек продольному направлению установки разножку 50 и два протянутых поперек продольного направления установки боковых выступа 52 и 54. На направляющей детали 48 расположен нижний промежуточный элемент 22 в виде ползуна, который имеет концентрический паз 56, в который вставляется соосная разножка 50 направляющей детали 48, причем промежуточный элемент 22 имеет видимые в продольном направлении установки передний и задний краевые участки 58 и 60, сформированные так, что они охватывают боковые выступы 52 и 54 направляющей детали 48. Таким образом, нижний промежуточный элемент 22 направляется по базовому элементу 20 в сторону, что предусмотрено при продольном направлении установки.
Зазор между нижним промежуточным элементом 22 и колесными выемками 35 замкнут с двух сторон пластинчатым покрытием 62. Для перемещения промежуточного элемента 22 относительно базового элемента 20 предусмотрен электродвигатель, который на фигуре не видно.
Сверху базового элемента 20 по его четырем углам установлены четыре сервопривода 64 с возможностью перемещения по вертикальным опорным элементам 24.
Электрические сервоприводы 64 соединены валами 66 с соосным центральным приводом принудительной синхронизации 68, установленным на нижний промежуточный элемент 22. При этом обеспечивается перемещение вертикальных опорных элементов 24 линейно и с одинаковым тактом.
На нижнем промежуточном элементе 22 предусмотрены установки по его углам направляющих блоков 70, по которым направляются вертикальные направляющие стержни 72, жестко закрепленные на верхнем промежуточном элементе 26. Движение вертикальных опорных элементов 24 и направляющих стержней 72 по вертикали вниз осуществляется сквозь отверстие в верхней панели 42 базового элемента 20.
Верхний промежуточный элемент 26 сконструирован из двойных поперечных и продольных Т-образных балок 74 аналогично базовому элементу, нижней панели 76 и верхней панели 78. Пространство между верхним 26 и нижним 22 промежуточными элементами закрывается сбоку эластичной складчатой перегородкой 80, установленной вертикально.
На верхней панели 78 верхнего промежуточного элемента 26 размещена панель основания 82 под опорные устройства 28. Она имеет соосную подшипниковую втулку 84, в которую вставлена ось подшипника 86, приваренная к верхней панели 78 верхнего промежуточного элемента 26. Таким образом, панель основания 82 может отклоняться от верхнего промежуточного элемента 26 относительно вертикальной оси. Движение скольжения панели основания 82 относительно верхней панели 78 верхнего промежуточного элемента 26 облегчается за счет подшипника скольжения, не показанного на фигуре.
Перемещение осуществляется электроприводом 88, который приводит в движение вал 90.
На панель основания 82 возле боковых граней монтированы две направляющие панели 92, видимые в продольном направлении установки и которые являются низшими элементами соответствующего опорного устройства, и по краям которых проделаны две горизонтальные канавки 94, проходящие поперек продольному направлению установки. В них вставлены две направляющие секции 96 каретки 98. На ней установлен электродвигатель 100, который приводит в движение ходовой винт 102, который взаимодействует с резьбовой секцией 104 соответствующей направляющей панели 92. Таким образом, каретки 98 могут перемещаться по направляющей панели 92 в сторону независимо одна от одной при продольном направлении установки.
В верхних краях обеих кареток 98 сделана выемка 106 в форме кругового сегмента, в который входит сегмент 108 дополнительного подшипника опорного элемента 110. Вдоль граничной поверхности круглой выемки 106 можно расположить подшипник скольжения или шариковый подшипник, который упрощает перемещение сегмента 108 подшипника в выемке 106 каретки 98. За счет этого создается возможность свободного движения обоих опорных элементов 110 относительно каждой каретки 98 вокруг поперечной и продольной осей при продольном направлении установки.
Верхний участок каждого опорного элемента 110 имеет плоскую опорную панель 112 и боковую секцию, которая имеет наклоненную входную секцию 114. Расстояние по вертикали опорной панели 112 от подшипникового сегмента 108 каждого опорного элемента 110 регулируется электродвигателем 118, функционирование которого на фигурах не показано. Опора 30 маршрутной секции 32 расположена на опорных панелях 112 обоих опорных элементов 110.
Далее, на фигуре 2 показан блок управления и регистрации данных 120, который настраивает разные электродвигатели и получает сигналы для сенсоров управления 122, 124, 126, 128, 130 и 132 от электродвигателей, а также силовых датчиков 134 и 136, которые воспринимают опорные усилия на оба опорных элемента 110.
Ниже будет детально описано зажимное демпферное устройство 16, причем функционально идентичные детали основного опорного установочного устройства, описанного выше, обозначены одинаково.
Любое зажимное демпферное устройство 16 включает базовый элемент на четырех колесах 34, который имеет конструкцию вагонетки, движущейся по рельсам 18. Эта вагонетка 20 приводится в движение электродвигателем, на фигуре не показанным. В центральной выемке 142 вагонетки 20 поперек продольному направлению установки практически горизонтально установлены рельсы 52 и 54. На них по направляющей 148 подвижно размещен промежуточный элемент 22 в виде каретки. Кроме того, промежуточный элемент приводится в движение электродвигателем, на фигуре не показанным.
Промежуточный элемент имеет сверху вид открытой ванны с основанием 150. На нем монтированы четыре вилообразные стыковые накладки 152, протянутые в ряд поперек продольному направлению установки, которые являются осями качения, которые проходят в продольном направлении установки.
Две стыковые накладки 152 подшипника установлены близ боковых краев промежуточного элемента 22. В нем зажимная секция 154 цилиндрического корпуса 156 гидравлического цилиндра 157 скреплена болтом 158 с возможностью качения. Каждый гидроцилиндр 157 охватывает каждый поршневой шток и образует вертикальный опорный элемент 24. На верхних концах поршневых штоков 159 установлен опорный элемент 28, который имеет опорный угловой профиль.
На верхних концах цилиндрических корпусов 156 образованы опорные шейки 160, протянутые в продольном направлении установки. В опорные шейки 160 вставлены вилообразные стыковые накладки 162, которые прикрепляются на дальнем конце поршневых штоков 164 гидравлических цилиндров 166. Корпусы 168 этих цилиндров имеют зажимные секции 170, которые соединены на основании 150 с одной из вилообразных стыковых накладок 152. Гидроцилиндры 157 и 166 стойко держатся на вилообразных стыковых накладках 152 и зажимных секциях 154 и 170.
Гидроцилиндрами 166 можно регулировать угол между гидроцилиндрами 157 и плоскостью основания 150 и при этом изменять положение опорных углов 161.
Гидроцилиндры 157 и 166 соединены с клапанным блоком 174, который также руководствуется блоком управления и регистрации данных 120. Он принимает сигналы сенсоров управления или маршрута 176, 178, 180 и 182, через которые указывается такт гидроцилиндров 157 и 166.
Установка 10 работает следующим образом:
Прежде всего, для регулирования основным опорным установочным устройством 14:
Для любого из трех основных опорных установочных устройств 14 установки 10 выводят отдельные регулировочные данные, занесенные в память блока управления и регистрации данных 120, для маршрутной секции индивидуального изготовления. Потом электрический сервопривод 64 вертикальных опорных элементов 24 настраивают блоком управления и регистрации данных 120 таким образом, чтобы вертикальные опорные элементы 24 устанавливались вертикально и верхний промежуточный элемент 26 и опорное устройство 28 перемещались в желательную вертикальную позицию. При этом привод принудительной синхронизации 68 действует так, чтобы такт вертикальных опорных элементов 26 был одинаковым, чтобы выровнять верхний промежуточный элемент 26 в каждом вертикальном положении параллельно нижнему промежуточному элементу 22. Далее электродвигатель 88 основного опорного установочного устройства 14 настраивают блоком управления и регистрации данных 120 таким образом, что панель основания 82 соответствующего опорного устройства 28 устанавливается в желательное положение относительно вертикальной оси, заданной осью 86 подшипника.
Аналогично, электродвигатель 100 соответствующего основного опорного установочного устройства 14 настраивают так, что расстояние между опорными элементами 110 соответствующего основного опорного установочного устройства 14 отвечает расположению отдельной основной опоры 30 соответствующей маршрутной секции 32.
Проверку необходимой настройки разных электрических элементов можно провести при помощи маршрутных сенсоров 122 – 132, которые указывают фактические настройки регулировочных элементов блока управления и регистрации данных 120. Это в особенности облегчает достижение желательной высокой производственной точности и обеспечивает соответствие требованиям качества.
После выполнения настроек, соответственно отрегулированную маршрутную секцию 32 спускают сверху так, чтобы разместить основную опору 30 на опорных панелях 112 опорных элементов 110 трех основных опорных установочных устройств 14 установки 10.
Для каждого силового датчика 134 и 136 в отдельности определяют опорную погрузку каждой маршрутной секции 32. Электродвигатели 118 каждого опорного элемента 110 настраивают блоком управления и регистрации данных 120, и при этом высоту опорной панели 112 соответствующего опорного элемента 110 точно выверяют таким образом, чтобы надлежащим образом распределить опорные усилия.
Потом клапанный блок 174 настраивают блоком управления и регистрации данных 120 таким образом, чтобы гидравлические цилиндры 157 и 166, в целом, восемь зажимных демпферных устройств 16 перемещались на позицию, соответствующую ходу отдельной маршрутной секции 32, и чтобы соответствующий опорный угол давил на основной корпус 172 маршрутной секции 32. Таким образом, часть маршрутной секции, размещенная между двумя основными опорными установочными устройствами 14, поддерживается дополнительно. Это является большим преимуществом, поскольку при обработке предварительно монтированной маршрутной секции 32 демпфируются ее возникающие вибрации, или они хорошо гасятся, при этом повышается производственная точность.
В одном примере выполнения, в этом описании не показанном, рельсы 18 прокладываются по разным рабочим позициям в проходе так, что “состав (поезд)”, образованный из трех основных опорных установочных устройств 14, и восьми зажимных демпферных устройств 16 маршрутной секции 32 в целом перемещается между рабочими позициями, то есть монтажными позициями назад.
Описанные регулировки можно выполнять в отдельности для любого из основных опорных установочных устройств 14 и зажимных демпферных устройств 16 так, что маршрутная секция 32 вырабатывается или обрабатывается в зависимости от определенной кривизны кривой ее профиля.
Следует понимать, что можно применять установленные электрические или гидравлические регулировочные элементы и пневматические или механические регуляторы.
Кроме того, описанную установку можно применять не только для желательной механической обработки маршрутных секций, но и для осуществления конечных измерений.
Позиции, которые могут занимать разные регулировочные элементы, могут предусмотренным образом влиять на перекосы, которые случаются при обработке маршрутных секций, так, что перекосы автоматически компенсируются.
Формула изобретения
1. Установка (10) для изготовления маршрутных секций (32), имеющая ряд удерживающих устройств (14, 16), расположенных последовательно в продольном направлении установки, каждое из которых содержит выполненный с возможностью перемещения на колесах (34) базовый элемент (20) и хотя бы одно по меньшей мере косвенно соединенное с ним опорное устройство (28), выполненное с возможностью соответствующего регулирования расположения участка (30, 172) предварительно собранной маршрутной секции (32) в положении, соответствующем ее последующему возможному монтажному положению, и с возможностью регулирования своего положения относительно базового элемента (20), отличающаяся тем, что хотя бы одно из удерживающих устройств включает гидравлические (157, 166) или электрические (36, 64, 88, 100, 118) приводы, создающие соответствующие перемещения, а установка снабжена блоком управления (120) с памятью, генерирующим сигналы, и соединенным с приводами (36, 64, 88, 100, 118, 157, 166) для их возможного перемещения в соответствующие позиции в зависимости от занесенных в память определенных параметров маршрутной секции (32).
2. Установка по п.1, отличающаяся тем, что опорное устройство (28) хотя бы одного из удерживающих устройств (14) выполнено с возможностью отклонения относительно вертикальной оси.
3. Установка по п.1 или 2, отличающаяся тем, что опорное устройство (28) хотя бы одного из удерживающих устройств (14) закреплено на верхнем промежуточном элементе (26), выполненном с возможностью перемещения относительно базового элемента (20).
4. Установка по п.3, отличающаяся тем, что опорное устройство (28) хотя бы одного из удерживающих устройств (14) выполнено с возможностью отклонения относительно верхнего промежуточного элемента (26) по вертикальной оси.
5. Установка по одному из пп.1-4, отличающаяся тем, что хотя бы одно из удерживающих устройств (14, 16) включает в себя отстоящие друг от друга и регулируемые в продольном направлении опорные элементы (24), которые соединены с одной стороны с базовым элементом (20), а с другой стороны хотя бы косвенно – с опорным устройством (28) и выполнены с возможностью вертикального перемещения опорного устройства (28) удерживающего устройства.
6. Установка по одному из пп.1-5, отличающаяся тем, что хотя бы одно из удерживающих устройств (14, 16) дополнительно включает первую вправляющую (46) и вторую взаимодействующую с первой направляющую (44), выполненные с возможностью регулирования позиции опорного устройства (28) в направлении, перпендикулярном продольному направлению установки.
7. Установка по одному из пп.1-6, отличающаяся тем, что хотя бы одно из удерживающих устройств (14, 16) дополнительно включает электрические самотормозящиеся приводы (36, 64, 88, 100, 118).
8. Установка по одному из пп.1-7, отличающаяся тем, что хотя бы одно из удерживающих устройств (14, 16) дополнительно включает сенсоры (122, 124, 126, 128, 130, 132, 176, 178, 180, 182) для регистрации позиции опорного устройства (28) и передачи соответствующего сигнала блоку управления (120), имеющему компаратор для сравнения зарегистрированных данных с занесенными в память заданными параметрами и передачи предупреждения при отклонении зарегистрированных данных от установленных параметров.
9. Установка по одному из пп.1-8, отличающаяся тем, что опорное устройство (28) хотя бы одного из удерживающих устройств (14) дополнительно включает хотя бы один опорный элемент (110, 161), выполненный с возможностью отклонения по горизонтальной оси, перпендикулярной продольной оси установки.
10. Установка по п.9, отличающаяся тем, что опорный элемент (110) дополнительно имеет изгиб кромки (116), выполненный, при необходимости, в форме прижимного кулачка (161).
11. Установка по п.9 или 10, отличающаяся тем, что опорный элемент (110) дополнительно включает устройство точного регулирования (118), выполненное с возможностью индивидуальной настройки высоты опорного элемента (110) относительно базового элемента (20).
12. Установка по п.10 или 11, отличающаяся тем, что дополнительно включает хотя бы два опорных элемента (110, 161), расположенных на изменяемом расстоянии.
13. Установка по одному из пп.1-12, отличающаяся тем, что ряд удерживающих устройств сконструирован в виде основного опорного установочного устройства (14), на опорном устройстве (28) которого расположена основная опора (30) маршрутной секции (32), расположенной в позиции, которая совпадает с предварительно установленной монтажной позицией, а хотя бы одно из удерживающих устройств сконструировано в виде зажимного демпферного устройства (16), на опорном устройстве (28) которого расположен участок основного корпуса (172) этой маршрутной секции (32).
14. Установка по п.13, отличающаяся тем, что опорное устройство (28) зажимного демпферного устройства шарнирно прикреплено к первому приводу (157), шарнирно соединенному с базовым элементом (20) относительно оси, расположенной вдоль продольного направления установки, и соединенному с другим приводом (166), выполненным с возможностью регулирования угла между первым приводом (157) и базовым элементом (20).
15. Установка по п.13 или 14, отличающаяся тем, что между двумя основными опорными установочными устройствами (14) расположено хотя бы одно, преимущественно четыре, зажимных демпферных устройства (16).
РИСУНКИ
MM4A – Досрочное прекращение действия патента СССР или патента Российской Федерации на изобретение из-за неуплаты в установленный срок пошлины за поддержание патента в силе
Дата прекращения действия патента: 19.11.2008
Извещение опубликовано: 20.09.2010 БИ: 26/2010
|