|
|
(21), (22) Заявка: 2003136997/02, 22.12.2003
(24) Дата начала отсчета срока действия патента:
22.12.2003
(45) Опубликовано: 10.09.2005
(56) Список документов, цитированных в отчете о поиске:
RU 2152851 С1, 20.07.2000. SU 872060 A, 15.10.1981. SU 1810206 A1, 23.04.1993. US 1142963 A, 12.02.1969.
Адрес для переписки:
614051, г.Пермь, ул. Старцева, 21, кв.118, И.В. Штенникову
|
(72) Автор(ы):
Штенников И.В. (RU)
(73) Патентообладатель(и):
Штенников Игорь Владимирович (RU)
|
(54) ТРУБОРЕЗ
(57) Реферат:
Изобретение относится к области обработки металлов резанием. Труборез содержит раму с установленным на ней режущим инструментом в виде углошлифовальной машины, с механизмом врезания и компенсации износа инструмента. Опорная рама выполнена в виде козлов. Механизм врезания и компенсации износа инструмента снабжен приводом с кривошипно-шатунной передачей и содержит два коромысла. Одно из коромысел подпружинено и снабжено на одном конце направляющей, а на другом – двумя шарнирно и последовательно соединенными рычагами и роликом на конце одного из рычагов. Другое коромысло снабжено на одном конце кулисой и ползуном с пальцем, а на другом – ходовым винтом с гайкой, причем палец ползуна шарнирно соединен с шатуном и подвижно с направляющей первого коромысла. Гайка ходового винта жестко связана с углошлифовальной машиной и образует поступательную пару со вторым коромыслом, а ходовой винт связан с этим же коромыслом шарнирно. Достигается расширение технологических возможностей устройства и упрощение конструкции. 3 ил. 
Изобретение относится к обработке металлов резанием, а именно к устройствам для механической резки труб, которые предназначены, например, для использования в строительстве и ремонте магистральных нефте- и газопроводов.
Наиболее близким к предлагаемому устройству является труборез, содержащий опорную раму с установленным на ней режущим инструментом в виде углошлифовальной машины, с механизмом подачи инструмента в виде цепной передачи, механизмом врезания и компенсации износа инструмента. (см. Патент РФ №2152851 опуб. 2000.07.20).
Недостатком его является ограниченные возможности по обработке кромок реза под сварку, а также сложность конструкции.
Предлагаемым изобретением решается задача расширения технологических возможностей устройства и упрощение конструкции.
Для достижения указанного технического результата труборез содержит опорную раму с установленным на ней режущим инструментом в виде углошлифовальной машины, с механизмом врезания и компенсации износа инструмента, при этом опорная рама выполнена в виде козлов, механизм врезания и компенсации износа инструмента снабжен приводом с кривошипно-шатунной передачей и содержит два коромысла, одно из которых подпружинено и снабжено на одном конце направляющей, а на другом – двумя шарнирно и последовательно соединенными рычагами и роликом на конце одного из рычагов, а другое коромысло снабжено на одном конце кулисой и ползуном с пальцем, а на другом – ходовым винтом с гайкой, причем палец ползуна шарнирно соединен с шатуном и подвижно с направляющей первого коромысла, при этом гайка ходового винта жестко связана с углошлифовальной машиной и образует поступательную пару со вторым коромыслом, а ходовой винт связан с этим же коромыслом шарнирно.
Отличительными признаками предлагаемого трубореза от указанного выше являются следующие: опорная рама выполнена в виде козлов, механизм врезания и компенсации износа инструмента снабжен приводом с кривошипно-шатунной передачей и содержит два коромысла, одно из которых подпружинено и снабжено на одном конце направляющей, а на другом – двумя шарнирно и последовательно соединенными рычагами и роликом на конце одного из рычагов, а другое коромысло снабжено на одном конце кулисой и ползуном с пальцем, а на другом – ходовым винтом с гайкой, причем палец ползуна шарнирно соединен с шатуном и подвижно с направляющей первого коромысла, при этом гайка ходового винта жестко связана с углошлифовальной машиной и образует поступательную пару со вторым коромыслом, а ходовой винт связан с этим же коромыслом шарнирно.
Благодаря наличию этих признаков режущий инструмент можно разворачивать под различными углами к оси трубы, обеспечивая тем самым необходимую обработку кромки трубы для последующей сварки.
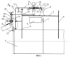
На фиг.1 показан общий вид трубореза.
На фиг.2 – вид по стрелке А фиг.1.
На фиг.3 – вид на обработанную кромку трубы.
Труборез содержит опорную раму 1 с установленным на ней режущим инструментом в виде углошлифовальной машины 2, с механизмом подачи в виде цепной передачи 3 с приводом 4 и механизмом врезания и компенсации износа инструмента.
Опорная рама 1 выполнена в виде козлов 5, 6, установленных на трубе 7. Механизм врезания и компенсации износа инструмента снабжен приводом 8 с кривошипно-шатунной передачей и содержит два коромысла 9, 10, одно из которых 9 подпружинено упругим элементом 11 и снабжено на одном конце направляющей 12, а на другом – двумя шарнирно и последовательно соединенными рычагами 13, 14 и роликом 15 на конце одного из рычагов 14, а другое коромысло 10 снабжено на одном конце кулисой 16 и ползуном 17 с пальцем 18, а на другом – ходовым винтом 19 с гайкой 20. Причем палец 18 ползуна 17 с помощью шарнира 21 соединен с шатуном 22, шарнирно связанным с кривошипом 23 переменного радиуса, и подвижно с направляющей 12 первого коромысла 9. При этом гайка 20 ходового винта 19 жестко связана с углошлифовальной машиной 2 и образует поступательную пару со вторым коромыслом 10 с помощью продольного паза, выполненного в корпусе гайки 20 и винта 24, а ходовой винт 19 связан с этим же коромыслом 10 шарнирно с помощью втулки 25. Работа трубореза осуществляется следующим образом.
Опорная рама 1 с установленным на ней режущим инструментом в виде углошлифовальной машины 2 устанавливается на трубе 7. Углошлифовальную машину с помощью винта 24 разворачивают и устанавливают так, чтобы ось шлифовального круга была параллельна (для отрезания трубы) или перпендикулярна оси трубы 7 (для обработки кромки трубы и подготовки к другим операциям, например сварке). С помощью ходового винта 19 и гайки 20 инструмент предварительно настраивается на нужную глубину реза.
Опорная рама 1 с установленным на ней режущим инструментом в виде углошлифовальной машины 2 перемещается с помощью механизма подачи в виде цепной передачи 3 вокруг трубы 7.
Для обработки кромки трубы 7 включается привод кривошипно-шатунной передачи. При этом шатун 22 посредством пальца 18, ползуна 17, кулисы 16 приводит в движение коромысло 10 и связанный с ним инструмент. Шлифовальный круг врезается в кромку на нужную глубину и формирует один из профилей кромки трубы, показанный на фиг.3, например, в виде: а) елочки, б)ступенек или в) скошенных ступенек. Регулировку глубины реза осуществляют, изменяя радиус кривошипа 23.
Для компенсации износа инструмента служит ролик 15, который движется по кромке трубы 7 и с помощью рычагов 13, 14, коромысла 10 изменяет точку приложения усилий от кривошипно-шатунной передачи на коромысло 9, меняя тем самым амплитуду его колебаний и связанного с ним инструмента, компенсируя его износ.
Таким образом, предлагаемое исполнение элементов конструкции и их расположение упрощает конструкцию трубореза, а снабжение его механизмом компенсации и износа, выполненных из предложенных конструктивных элементов, расширяет технологические возможности, повышает удобство в работе, облегчает работу при монтаже и настройке.
Формула изобретения
Труборез, содержащий опорную раму с установленным на ней режущим инструментом, в виде углошлифовальной машины, с механизмом врезания и компенсации износа инструмента, отличающийся тем, что опорная рама выполнена в виде козлов, механизм врезания и компенсации износа инструмента снабжен приводом с кривошипно-шатунной передачей и содержит два коромысла, одно из которых подпружинено и снабжено на одном конце направляющей, а на другом двумя шарнирно и последовательно соединенными рычагами и роликом на конце одного из рычагов, а другое коромысло снабжено на одном конце кулисой и ползуном с пальцем, а на другом ходовым винтом с гайкой, причем палец ползуна шарнирно соединен с шатуном и подвижно с направляющей первого коромысла, при этом гайка ходового винта жестко связана с углошлифовальной машиной и образует поступательную пару со вторым коромыслом, а ходовой винт связан с этим же коромыслом шарнирно.
РИСУНКИ
MM4A – Досрочное прекращение действия патента СССР или патента Российской Федерации на изобретение из-за неуплаты в установленный срок пошлины за поддержание патента в силе
Дата прекращения действия патента: 23.12.2007
Извещение опубликовано: 27.07.2009 БИ: 21/2009
|
|