|
|
(21), (22) Заявка: 2004105107/02, 24.02.2004
(24) Дата начала отсчета срока действия патента:
24.02.2004
(45) Опубликовано: 10.09.2005
(56) Список документов, цитированных в отчете о поиске:
SU 1496892 A1, 30.07.1989. SU 876246 А, 30.10.1981. DE 2601553 A1, 30.06.1977. US 3698219 А, 17.10.1972.
Адрес для переписки:
105118, Москва, пр-кт Буденного, 16, ФГУП “Московское машиностроительное производственное предприятие “Салют”, пат.пов. С.Е.Кирееву, рег.№ 598
|
(72) Автор(ы):
Изаков И.А. (RU), Капитаненко Д.В. (RU)
(73) Патентообладатель(и):
Федеральное государственное унитарное предприятие “Московское машиностроительное производственное предприятие “САЛЮТ” (RU)
|
(54) УСТРОЙСТВО ДЛЯ ИЗОТЕРМИЧЕСКОГО ДЕФОРМИРОВАНИЯ
(57) Реферат:
Изобретение относится к обработке металлов давлением и может быть использовано при изотермическом деформировании. Устройство содержит штамповый блок, нагревательное устройство и теплоизолирующий блок. Нагревательное устройство представляет собой две секции, расположенные по обе стороны штампового блока, и перемычку. Каждая секция содержит верхнюю и нижнюю токоведущие плиты, электрически соединенные между собой пластинами. Секции электрически соединены между собой последовательно, а перемычка размещена вне пределов теплоизолирующего блока. Устройство может быть оснащено узлами фиксации токоведущих плит. Часть узлов фиксации выполнена с обеспечением возможности перемещения токоведущих плит. В результате обеспечивается равномерный прогрев штампа и снижение металлоемкости коммуникаций. 1 з.п. ф-лы, 4 ил. 
Изобретение относится к обработке металлов давлением, а именно к устройствам для изотермического деформирования.
Известно также устройство для штамповки в изотермических условиях в соответствии с авт.свидетельством №1026912 (МПК 3 B 21 J 1/06, опубл. 07.07.83). Данное устройство содержит верхний подвижный и нижний неподвижный блоки, в которых смонтированы рабочие элементы, окруженные теплоизоляционным кожухом с нагревателем, а также аккумулирующее кольцо, размещенное между рабочими элементами и нагревателем и выполненное многослойным, при этом поверхность, обращенная к нагревателям, выполнена из материала, поглощающего тепловое излучение, а внутренняя поверхность, обращенная к рабочим элементам, выполнена из материала, отражающего тепловое излучение. Такое устройство обеспечивает создание направленного теплового поля нагревателя к рабочим элементам штампа, но не обеспечивает равномерности нагрева штампа, так как в аккумулирующем кольце выполнено окно для загрузки и выгрузки заготовок.
Известно устройство для изотермического деформирования в соответствии с авт.свидетельством №1496890 (МПК 4 B 21 J 1/06, опубл. 30.07.89). Данное устройство содержит верхний и нижний блоки штампа, смонтированные на подштамповых плитах, а также установленный концентрично узел нагрева, имеющий нагреватели сопротивления, элементы теплоизоляции и огнеупорные элементы, причем узел нагрева выполнен в виде отдельных секций, подключенных к системе питания независимо, расположенных одна над другой и состоящих из приводных разъемных частей, смонтированных на вертикальных осях. Однако большое количество секций узла нагрева, подключенных к системе питания независимо, предполагает их параллельное подключение, сложную систему электрических коммуникаций и их высокую металлоемкость.
Известна установка для изотермического деформирования в соответствии с авт. свидетельством №1496892 (МПК 4 B 21 J 1/06, опубл. 30.07.89). Данное изобретение принято за прототип. Установка для изотермического деформирования содержит нагревательное устройство, выполненное в виде двух секций, расположенных по обе стороны штампа. Каждая секция состоит из нижней и верхней горизонтально размещенных токоведущих плит с элементами сопротивления, которые представляют собой пластины из жаростойкого сплава, обращенные плоскостями к штампу и выполненные прогнутыми в сторону, противоположную штампу. Секции нагревательного устройства электрически соединены между собой параллельно с помощью планок.
Однако данная установка не обеспечивает требуемую равномерность нагрева штампового блока, поскольку величины токов в средних и крайних пластинах будут различны из-за неодинакового пути тока через токоведущие плиты. Поскольку используемое в установке напряжение относительно низко (5В), средние пластины секции нагреваются до более высокой температуры, чем крайние, и соответственно неравномерно прогревается штамп. Низкое напряжение при большой мощности нагревательного устройства (40 кВт) обусловливает большую величину тока и требует большого сечения шин или кабелей, соединяющих нагревательное устройство с трансформатором, т.е. увеличивает металлоемкость коммуникаций.
Изобретением решается техническая задача обеспечения равномерности прогрева штампа и снижения металлоемкости коммуникаций.
Для достижения данного технического результата в предлагаемом устройстве, содержащем штамповый блок, нагревательное устройство, теплоизолирующий блок, нагревательное устройство выполнено в виде двух секций, расположенных по обе стороны штампового блока, и перемычки, при этом каждая секция содержит верхнюю и нижнюю токоведущие плиты, электрически соединенные между собой пластинами, причем секции нагревательного устройства электрически соединены между собой последовательно, а перемычка размещена вне пределов теплоизолирующего блока.
Устройство снабжено узлами фиксации токоведущих плит, причем часть узлов фиксации токоведущих плит может быть выполнена с обеспечением возможности перемещения токоведущих плит.
Отличительными признаками предлагаемого устройства для изотермического деформирования от указанного выше известного наиболее близкого аналога являются соединение секций нагревательного устройства последовательно и размещение перемычки вне пределов теплоизолирующего блока. А также выполнение узлов фиксации токоведущих плит с возможностью перемещения.
К устройствам для изотермического деформирования предъявляются требования обеспечения мощности, достаточной для прогрева штампового оборудования в течение заданного времени. При этом напряжение, подводимое к нагревательному устройству, невелико. Таким образом, через секции нагревательного блока протекает ток большой величины. При параллельном соединении секций величина тока удваивается (в случае двух секций), что требует большего сечения токоподводящих шин и соответственно увеличивает их металлоемкость. Для осуществления последовательного соединения секций нагревательного устройства необходимо вынести соединяющую их перемычку за пределы теплоизолирующего блока, в противном случае перемычка будет нагреваться и дополнительно нагревать детали штампового блока, создавая неравномерность прогрева штампа.
Конструкция устройства для изотермического деформирования поясняется чертежами.
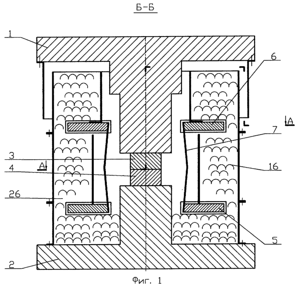
На фиг.1 показан поперечный вертикальный разрез установки по Б-Б.
На фиг.2 – горизонтальный разрез установки по А-А.
На фиг.3 – продольный вертикальный разрез по В-В.
На фиг.4 – местный горизонтальный разрез по Г-Г.
Устройство содержит штамповый блок, состоящий из верхней 1 и нижней 2 опорных плит со смонтированными на них верхним 3 и нижним 4 штампами. Нагревательное устройство представляет собой две секции, расположенные по обе стороны штампа и электрически соединенные между собой последовательно. Каждая секция содержит горизонтально расположенные одна под другой нижнюю 5 и верхнюю 6 токоведущие плиты, выполненные в виде прямоугольных пластин. Токоведущие плиты электрически соединены между собой приваренными к ним по боковой стороне, обращенной к штампу, элементами 7 сопротивления, выполненными в виде пластин, прогнутых выпуклостью в сторону, противоположную штампу. Механически нижняя 5 и верхняя 6 токоведущие плиты связаны между собой соединительными шпильками 8 через электроизолирующие втулки 9. Нижняя 5 токоведущая плита механически зафиксирована через аналогичные изолирующие втулки 9 на нижней 2 опорной плите штампового блока с помощью передних 10 и задних 11 узлов фиксации и отверстий в нижней 5 токоведущей плите. Передние 12 и 13 и задние 14 и 15 концевые части токоведущих плит выходят за пределы теплоизолирующего блока 16 и выполнены охлаждаемыми. В этих концевых частях размещены соединительные шпильки 8 и узлы фиксации 10 и 11. Электрическое напряжение подводится к задним 14 концевым частям нижних токоведущих плит левой и правой секций, а передние 13 концевые части верхних токоведущих плит левой и правой секций электрически соединены перемычкой 17. Отверстия 18 в передних концевых частях 12 нижних токоведущих плит, взаимодействующие с передними 10 узлами фиксации, выполнены овальными.
Устройство работает следующим образом. К задним 14 концевым частям нижних токоведущих плит подводится напряжение 8 В через понижающий однофазный трансформатор. Падение напряжения на каждой секции нагревательного устройства составляет 4 В, так как сами секции соединены последовательно перемычкой 17. Нагревательное устройство должно обеспечить нагрев штампов и деталей штампового блока общей массой 600 кг до 950°С за 7 часов, требуемая для этого мощность составляет 35 кВт. При этом через каждую секцию и через шины, соединяющие нагревательное устройство с трансформатором, проходит ток 4300А. Этот ток нагревает элементы 7 сопротивления, которые, в свою очередь, излучением нагревают штампы 3 и 4 другие детали штампового блока. При этом величины токов, протекающих через каждый элемент сопротивления, одинаковы вследствие одинаковых величин сопротивлений, что обеспечивает равномерность нагрева. Теплоизолирующий блок 16 предотвращает потери тепла во внешнюю среду и защищает от перегревания концевые части 12, 13, 14, 15 токоведущих плит, а также перемычку 17. В концевых частях 12, 13, 14, 15 токоведущих плит имеются каналы (не показаны), через которые пропускается вода для охлаждения, предохраняя от перегрева понижающий трансформатор, подводящие шины, электроизолирующие втулки 9, перемычку 17. Части токоведущих плит 5 и 6, расположенные внутри теплоизолирующего блока, претерпевают тепловое расширение, при этом они могут свободно перемещаться в узлах фиксации 10 вследствие того, что отверстия 18 выполнены овальными.
Формула изобретения
1. Устройство для изотермического деформирования, содержащее штамповый блок, нагревательное устройство и теплоизолирующий блок, при этом нагревательное устройство выполнено в виде двух электрически соединенных между собой секций, расположенных по обе стороны штампового блока, и перемычки, при этом каждая секция выполнена в виде верхней и нижней токоведущих плит, электрически соединенных между собой пластинами, отличающееся тем, что секции нагревательного устройства электрически соединены между собой последовательно, а перемычка размещена вне пределов теплоизолирующего блока.
2. Устройство по п.1, отличающееся тем, что оно снабжено узлами фиксации токоведущих плит, при этом часть из упомянутых узлов фиксации выполнена с обеспечением возможности перемещения токоведущих плит.
РИСУНКИ
|
|