|
(21), (22) Заявка: 2002120274/03, 31.07.2002
(24) Дата начала отсчета срока действия патента:
31.07.2002
(43) Дата публикации заявки: 10.02.2004
(45) Опубликовано: 10.09.2005
(56) Список документов, цитированных в отчете о поиске:
SU 1747157 A1, 15.07.1992. SU 1119727 A, 23.10.1984. DE 3515331 C1, 21.08.1986. DE 3924834 A1, 07.02.1991. EP 0876843 A1, 11.11.1998. WO 0027021 A1, 15.04.1981. US 1172805 A, 03.12.1969.
Адрес для переписки:
144005, Московская обл., г. Электросталь, ОАО “ЭЗТМ”, Начальнику патентно-лицензионного отдела З.С. Вольшонку
|
(72) Автор(ы):
Минтаханов М.А. (RU), Семишин С.П. (RU), Грушин В.С. (RU), Чирков С.Г. (RU)
(73) Патентообладатель(и):
Открытое акционерное общество “Электростальский завод тяжелого машиностроения” (RU)
|
(54) РОТОРНЫЙ ИЗМЕЛЬЧИТЕЛЬ
(57) Реферат:
Изобретение предназначено для измельчения различных материалов. Роторный измельчитель содержит корпус, в котором на опорах параллельно в горизонтальной плоскости установлены роторы с измельчительным инструментом, связанные друг с другом зубчатыми передачами группового привода вращения роторов. Одна из самоустанавливающихся опор каждого ротора расположена внутри приводной шестерни группового привода, установленной на собственных опорах в корпусе, каждая приводная шестерня снабжена внутренним зацеплением и через втулку с бочкообразными зубьями связана с ротором, при этом центр радиуса кривизны бочкообразных зубьев совпадает с центром радиуса поворота встроенной в шестерню самоустанавливающейся опоры и лежит на оси вращения роторов. Изобретение позволяет обеспечить надежность и долговечность измельчителя. 4 ил. 
Изобретение относится к области измельчения различных материалов и наиболее эффективно может быть использовано для измельчения снежной массы с включениями кусков льда, удаляемых с дорожных покрытий.
Известна двухроторная дробилка с параллельным расположением роторов (см. В.П.Барабашкин «Молотковые и роторные дробилки», М., Изд. «Недра», 1973, с. 21-26, рис.13; с. 130-133,рис.б7).
Роторы имеют привод от одного электродвигателя через клиноременную передачу, ведущий шкив которой закреплен консольно на роторе. Ротор опирается на два самоустанавливающихся подшипника, закрепленных в корпусах на раме дробилки.
Недостатком этой дробилки является то, что консольно расположенный шкив на роторе усложняет эксплуатацию дробилок, поскольку роторы имеют прогиб от собственного веса, от неуравновешенности ротора, от действующей нагрузки при дроблении и от массы измельчаемого материала, что способствует быстрому износу приводных ремней.
Из известных роторных измельчителей наиболее близким по технической сущности является роторный измельчитель, содержащий корпус, в котором на опорах параллельно в горизонтальной плоскости установлены роторы с измельчительным инструментом, связанные друг с другом зубчатыми передачами группового привода вращения роторов, и загрузочный бункер (см. авт. свид. СССР №1747157, В 02 С 13/20, заявл. 12.07.90 г., опубл. 05.07.92 г.).
Роторы с фрезами установлены на валах, один конец которых опирается на опоры в виде стаканов, закрепленных на наружной стенке корпуса и длина которых достигает 1/2 длины рабочей части ротора. Второй конец валов шпинделями связан с приводными шестернями, размещенными в шпиндельной бабке.
Недостаток известной конструкции роторного измельчителя заключается в том, что данная конструкция позволяет измельчать только легкие материалы и при обработке снежной массы со льдом, убираемой с дорожных покрытий и загружаемой в загрузочный бункер из самосвалов, не обеспечит надежную работу измельчителя, так как валы, несущие роторы, закреплены консольно и под действием больших нагрузок шпиндели получат значительно больший возможного угол перекоса.
Другим недостатком этого измельчителя являются его увеличенные габариты по ширине за счет большой длины опорных стаканов.
Задача настоящего изобретения состоит в создании роторного измельчителя, обеспечивающего требуемую надежность и долговечность при измельчении, например слежавшейся снежной массы со льдом.
Поставленная задача достигается тем, что в роторном измельчителе, содержащем корпус, в котором на опорах параллельно в горизонтальной плоскости установлены роторы с измельчительным инструментом, связанные друг с другом зубчатыми передачами группового привода вращения роторов, и загрузочный бункер над корпусом, согласно изобретению одна из самоустанавливающихся опор каждого ротора расположена внутри приводной шестерни группового привода, установленной на собственных опорах в корпусе, каждая приводная шестерня снабжена внутренним зацеплением и через втулку с бочкообразными зубьями связана с ротором, при этом центр радиуса кривизны бочкообразных зубьев совпадает с центром радиуса поворота встроенной в шестерню самоустанавливающейся опоры и лежит на оси вращения роторов.
Такое конструктивное выполнение роторного измельчителя обеспечит его надежную работу благодаря надежной работе зубчатых передач группового привода, так как прогиб роторов от действия собственного веса, от неуравновешенности, от действующих нагрузок при загрузке и измельчении рабочей массы не влияет на исходное положение приводных и промежуточных шестерен группового привода за счет муфтового зацепления ротора с приводной шестерней, размещения одной из самоустанавливающихся опор ротора внутри приводной шестерни и установке приводных шестерен на собственных опорах в корпусе.
Кроме того, такая конструктивная связь ротора с приводной шестерней обеспечивает наименьшие габариты роторного измельчителя.
Для пояснения изобретения ниже приводится конкретный пример выполнения изобретения со ссылкой на прилагаемые чертежи, на которых:
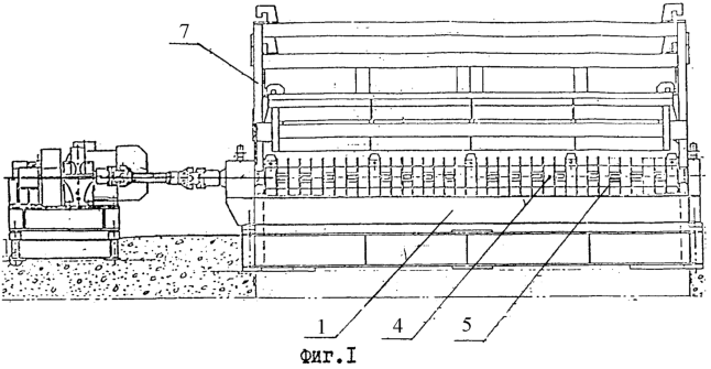
на фиг.1 – изображен роторный измельчитель, общий вид;
на фиг.2 – то же, вид сверху;
на фиг.3 – вид А на фиг.2;
на фиг.4 – разрез Б-Б на фиг.3.
Роторный измельчитель, преимущественно снежной массы с включениями кусков льда, состоит из корпуса 1, в котором на самоустанавливающихся опорах 2 и 3 параллельно в горизонтальной плоскости установлены роторы 4 с измельчительным инструментом (молотками) 5, двух групповых приводов 6 и загрузочного бункера 7.
Роторы 4 связаны друг с другом зубчатыми передачами группового привода 6: приводными шестернями 8, одна из которых непосредственно через шпиндельное устройство 9 связана с электродвигателем 10, и промежуточными шестернями 11.
Самоустанавливающаяся опора 2 каждого ротора 4 установлена на корпусе 1, а опора 3 расположена внутри приводной шестерни 8 на оси 12.
Приводные шестерни 8 установлены в корпусе 1 на собственных подшипниковых опорах 13 и 14.
Каждая приводная шестерня 8 снабжена внутренним зацеплением и через втулку 15 с бочкообразными зубьями связана с ротором 4.
Центр 16 радиуса R кривизны бочкообразных зубьев совпадает с центром радиуса г поворота самоустанавливающейся опоры 3 и лежит на оси O-O вращения роторов 4.
Снежная масса с включениями кусков льда самосвалами загружается в бункер 7, в основании которого расположены роторы 4.
Включаются двигатели 10 и вращение от них через редукторы и шпиндельное устройство 9 передается групповым приводам 6. Через систему зубчатых шестерен 8 и 11 и втулки 15 с бочкообразными зубьями приводятся во вращение роторы 4 с измельчительным инструментом 5. Происходит измельчение снежной массы со льдом.
Измельченный материал через зазоры между роторами 4 попадает в приемную емкость (не показана).
Работающие роторы 4 прогибаются от собственного веса, от неуравновешенности, действующих нагрузок при загрузке и при измельчении рабочей массы и вызывают поворот самоустанавливающихся опор 2 и 3 и поворот втулки 15 с бочкообразными зубьями относительно центра 16 во внутреннем зацеплении приводных шестерен 8, то есть исходное положение шестерен 8, находящихся на опорах 13 и 14, не нарушается, и работа шестерен групповых приводов 6 происходит в нормальном положении.
Предложенный роторный измельчитель по сравнению с известными обеспечивает более высокую надежность и долговечность при измельчении снежной массы с включениями кусков льда.
Формула изобретения
Роторный измельчитель, содержащий корпус, в котором на опорах параллельно в горизонтальной плоскости установлены роторы с измельчительным инструментом, связанные друг с другом зубчатыми передачами группового привода вращения роторов, и загрузочный бункер над корпусом, отличающийся тем, что одна из самоустанавливающихся опор каждого ротора расположена внутри приводной шестерни группового привода, установленной на собственных опорах в корпусе, каждая приводная шестерня снабжена внутренним зацеплением и через втулку с бочкообразными зубьями связана с ротором, при этом центр радиуса кривизны бочкообразных зубьев совпадает с центром радиуса поворота встроенной в шестерню самоустанавливающейся опоры и лежит на оси вращения роторов.
РИСУНКИ
MM4A – Досрочное прекращение действия патента СССР или патента Российской Федерации на изобретение из-за неуплаты в установленный срок пошлины за поддержание патента в силе
Дата прекращения действия патента: 01.08.2007
Извещение опубликовано: 27.02.2009 БИ: 06/2009
|