|
(21), (22) Заявка: 2002126275/04, 09.04.2001
(24) Дата начала отсчета срока действия патента:
09.04.2001
(30) Конвенционный приоритет:
07.04.2000 FR 00/04469
(43) Дата публикации заявки: 10.04.2004
(45) Опубликовано: 10.09.2005
(56) Список документов, цитированных в отчете о поиске:
ЕР 0566939 А, 27.10.1993. SU 1373300 A3, 07.02.1988. SU 1393476 A1, 07.05.1988. WO 93/11870 А, 24.06.1993. DE 4339143 A1, 18.05.1995. GB 2081815 A, 24.02.1982. GB 2161398 А, 15.01.1986. US 5364596 А, 15.11.1994. US 5413006 A, 09.05.1995.
(85) Дата перевода заявки PCT на национальную фазу:
10.11.2002
(86) Заявка PCT:
FR 01/01072 (09.04.2001)
(87) Публикация PCT:
WO 01/76752 (18.10.2001)
Адрес для переписки:
191036, Санкт-Петербург, а/я 24, “НЕВИНПАТ”, пат.пов. А.В.Поликарпову
|
(72) Автор(ы):
ВИО Франсуа (FR)
(73) Патентообладатель(и):
ДЖИЛСОН С.А.С. (FR)
|
(54) ПИПЕТКА ДЛЯ ВЗЯТИЯ ПРОБ ЖИДКОСТИ С МЕХАНИЗМОМ СБРАСЫВАНИЯ КОНИЧЕСКОГО НАСАДКА
(57) Реферат:
Изобретение относится к пипетке для взятия проб жидкости, содержащей корпус (2), рычажный элемент (20), выполненный с возможностью перемещения относительно корпуса параллельно продольному направлению (10) пипетки для сбрасывания конической насадки, прикрепленной к корпусу, и кнопку (14) для управления перемещением рычажного элемента. Пипетка устроена таким образом, что при перемещении рычажного элемента (20) относительно корпуса кнопка (14) прикладывает к этому элементу скользящее осевое усилие. Достигается упрощение изготовления и сборки сбрасывающего механизма. 17 з.п. ф-лы, 12 ил. 
Данное изобретение относится к пипеткам для взятия проб жидкости.
В Европейском патентном документе ЕР 0566939 описана пипетка, содержащая корпус и сбрасывающий рычажный элемент, выполненный с возможностью скользящего перемещения вдоль корпуса для отделения от пипетки конической насадки, удерживаемой на ее нижнем конце за счет трения. Пипетка имеет кнопку управления сбрасывателем, выполненную с возможностью опускания рычажного элемента путем нажатия на нее.
Кнопка шарнирно прикреплена к рычажному элементу и соединена с корпусом пипетки таким образом, что нажатие на кнопку изменяет угол ее наклона, и благодаря эффекту рычага она опускает рычажный элемент, уменьшая при этом силу, которую необходимо приложить пользователю против действия возвратной пружины сбрасывателя. Однако элементы такого сбрасывающего механизма относительно сложны в изготовлении и сборке.
Цель данного изобретения заключается в создании пипетки отличного от известных пипеток типа, сбрасывающий механизм которой более прост в изготовлении и сборке.
Для достижения этой цели в изобретении предложена пипетка для взятия проб, содержащая корпус, рычажный элемент, выполненный с возможностью перемещения относительно корпуса параллельно продольному направлению пипетки для сбрасывания конической насадки, прикрепленной к корпусу, и кнопку для управления перемещением рычажного элемента, причем пипетка выполнена таким образом, что при перемещении рычажного элемента относительно корпуса кнопка прикладывает к этому элементу скользящее осевое усилие.
Таким образом, соединение между кнопкой и рычажным элементом является особенно простым. Следовательно, благодаря такому соединению эти два элемента легко изготавливать и собирать.
Изобретение может также обладать по меньшей мере одним из следующих свойств:
кнопка установлена с возможностью поворота относительно корпуса вокруг оси, перпендикулярной продольному направлению;
пипетка содержит промежуточный элемент, установленный с возможностью поворота относительно корпуса вокруг оси, параллельной продольному направлению, при этом кнопка установлена с возможностью поворота относительно промежуточного элемента вокруг оси, перпендикулярной продольному направлению;
кнопка непосредственно присоединена к промежуточному элементу;
промежуточный элемент установлен с возможностью поворота относительно рычажного элемента вокруг оси, параллельной продольному направлению;
промежуточный элемент непосредственно присоединен к корпусу;
пипетка содержит соединительный элемент, выполненный с возможностью перемещения относительно корпуса вдоль оси, параллельной продольному направлению, при этом кнопка выполнена с возможностью перемещения относительно указанного элемента через выполненное в нем отверстие;
соединительный элемент выполнен с возможностью поворота относительно рычажного элемента вокруг оси, параллельной продольному направлению;
соединительный элемент выполнен с возможностью поворота относительно промежуточного элемента вокруг оси, параллельной продольному направлению;
соединительный элемент непосредственно присоединен к промежуточному элементу;
соединительный элемент непосредственно присоединен к рычажному элементу;
кнопка выполнена с возможностью перемещения относительно корпуса в плоскости, перпендикулярной продольному направлению, с возможностью занятия любого положения в непрерывном диапазоне положений в этой плоскости и с обеспечением возможности перемещения рычажного элемента в любое положение;
кнопка установлена с возможностью поворота относительно корпуса в указанной плоскости;
кнопка выполнена с возможностью приложения скользящего осевого усилия к рычажному элементу во время ее перемещения в указанной плоскости;
пипетка содержит средства идентификации по меньшей мере одного заданного положения кнопки относительно корпуса в указанном диапазоне;
пипетка является ручной пипеткой;
пипетка имеет один канал; и
пипетка выполнена удлиненной в продольном направлении.
Другие свойства и преимущества изобретения станут очевидными из последующего описания предпочтительного варианта его выполнения, рассмотренного на примере, не ограничивающем объем притязаний. На сопровождающих чертежах:
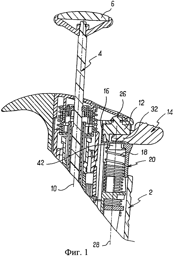
фиг.1 изображает фрагмент вертикального осевого разреза верхней части предложенной пипетки;
фиг.2 изображает фрагмент правой части пипетки, показанной на фиг.1;
фиг.3 изображает в аксонометрии верхнюю часть сбрасывающего механизма показанной на фиг.1 пипетки в разобранном состоянии;
фиг.4 и 5 изображают два вида, аналогичные фиг.1 и иллюстрирующие соответственно верхнее и нижнее положение сбрасывателя;
фиг.6 изображает вертикальный осевой разрез показанной на фиг.4 пипетки, выполненный по плоскости VI-VI;
фиг.7 изображает вид, аналогичный фиг.6 и иллюстрирующий сбрасыватель в нижнем положении;
фиг.8 изображает вид сверху пипетки, показанной на фиг.1;
фиг.9 изображает горизонтальный разрез показанной на фиг.4 пипетки, выполненный по плоскости IX-IX;
фиг.10 изображает частичный вид пипетки, аналогичный фиг.8 и иллюстрирующий угловое перемещение кнопки сбрасывателя в горизонтальной плоскости; и
фиг.11 и 12 изображают два вида, аналогичные фиг.10 и иллюстрирующие крайнее левое и крайнее правое положения кнопки.
Пипетка, представляющая собой вариант выполнения изобретения и показанная на фиг.1, имеет один канал и предназначена для взятия проб жидкости. Многочисленные аспекты такой пипетки известны из уровня техники и подробно здесь не описаны. В частности, пипетка содержит стержень 4, проходящий вдоль оси 10 и оканчивающийся кнопкой 6 контроля взятия пробы, предназначенной для регулирования скользящего перемещения поршня вдоль оси 10 в нижней полости пипетки при всасывании в эту полость пробы жидкости или выбрасывании из нее этой жидкости.
Нижний конец пипетки приспособлен для размещения сбрасываемой конической насадки, которая удерживается за счет трения и через которую проходит забираемая жидкость. Пипетка содержит средства регулировки объема забираемой пробы, которые могут представлять собой приспособление известного типа.
Пипетка включает в себя сбрасывающий механизм, обеспечивающий возможность сталкивания конической насадки вниз в продольном направлении для его отделения от пипетки. Нижняя часть этого механизма известна из уровня техники, поэтому в данной заявке описана только его верхняя часть.
В частности, как показано на фиг.3, указанный механизм содержит верхнюю крышку 12, кнопку 14 управления сбрасывателем, ограничитель 16 поворота, пружину 18 и исполнительный элемент 20.
Верхняя крышка 12 имеет цилиндрическую боковую поверхность 22 и плоскую круглую верхнюю поверхность 24, в центре которой находится палец 26, вставленный в отверстие корпуса 2 и удерживаемый на месте шайбой. Палец обеспечивает возможность поворота крышки 12 относительно корпуса 2 вокруг вертикальной оси 28, параллельной оси 10, но удерживает ее неподвижной в отношении скольжения относительно корпуса.
Кнопка 14 имеет приблизительно плоскую рабочую часть 30, ножку 32, проходящую параллельно рабочей части в сторону от нее, и вал 34, перпендикулярный ножке и выступающий с каждой из ее сторон. Вал размещен в верхней крышке 12 с возможностью поворота. Таким образом, кнопка присоединена к крышке с возможностью поворота вокруг горизонтальной оси 36, перпендикулярной вертикальным осям 10 и 28 и пересекающей ось 28. Боковая стенка 22 крышки имеет выемку 37, через которую проходит ножка 32 кнопки, когда она находится в горизонтальном положении. Крышка является открытой снизу.
Ограничитель 16 имеет цилиндрическую стенку 38, открытую сверху, и плоскую круглую нижнюю стенку 40 с пальцем 42, выступающим из нее вниз. Крышка 12 проходит внутри ограничителя 16 поворота, так что их боковые поверхности 22 и 38 обращены друг к другу. В стенке 38 имеется выемка 39, проходящая по всей ее высоте и расположенная таким образом, что она совпадает с выемкой 37 крышки, причем ножка 32 проходит через нее. Ограничитель 16 выполнен с возможностью перемещения со скольжением относительно крышки 12 вдоль оси 28.
Верхняя часть исполнительного элемента 20 представляет собой плоскую стенку 44, имеющую выемку, проходящую от ее переднего края до ее центра. В этой выемке расположен палец 42, проходящий от центра стенки 44. Нижний конец пальца расширен с обеспечением предотвращения поступательного перемещения ограничителя 16 относительно исполнительного элемента 20 вдоль оси 28. Таким образом, ограничитель 16 может поворачиваться относительно исполнительного элемента вокруг оси 28. Он прижат вниз к стенке 44 исполнительного элемента. Исполнительный элемент 20 имеет U-образный бортик 46, проходящий от края стенки 44 (от ее задней, левой и правой частей) и выступающий вверх относительно этой стенки 44. Бортик имеет выемки 48, например три выемки, как показано на чертеже, или пять выемок, причем выемки проходят вниз, в бортик. Одна выемка находится в середине задней части бортика. Две другие соответственно находятся слева и справа от стенки 44. Ножка 32 опирается на бортик 46 и может проходить в одну из выемок 48.
Пружина 18 расположена внутри элемента 20, как показано на фиг.4-7. Ее нижний конец опирается на корпус 2, а верхний конец упирается в нижнюю сторону стенки 44 для подталкивания вверх исполнительного элемента. Элемент 20 выполнен с возможностью перемещения со скольжением в корпусе 2 вдоль оси 28. Он надежно соединен с нижним стержнем (не показан) для осуществления контакта с конической насадкой, который нужно сбросить.
Описанная выше конструкция обеспечивает возможность перемещений двух видов.
Во-первых, как можно видеть на фиг.10-12, кнопку 14 можно поворачивать относительно корпуса 2 вокруг оси 28, т.е. в горизонтальной плоскости, перпендикулярной оси 28. Она может перемещаться в любую сторону из своего заднего или среднего положения на 80° в каждом направлении. Как показано на фиг.11 и 12, окончания перемещений влево и вправо соответствуют размещению ножки 32 в боковых выемках 48. Во время этого поворотного перемещения кнопка 14 верхняя крышка 12 и ограничитель 16 поворота перемещаются как единое целое, поворачиваясь вокруг оси 28. Исполнительный элемент 20 не перемещается. Кнопка может быть установлена в любое положение, лежащее в пределах ее хода в 160°, т.е. может находиться во взаимодействии с выемками или может лежать вне их.
Кроме того, кнопка 14 может быть направлена пользователем вниз посредством воздействия на часть 30 из любого своего положения относительно корпуса 2 вокруг оси 28. Это воздействие вызывает поворот кнопки относительно горизонтальной оси 36, вследствие чего ограничитель16 и исполнительный элемент 20 скользят в вертикальном направлении вдоль оси 28. Во время этого перемещения ножка 32 опирается на бортик 46 в одной точке, скользя по этому бортику в плоскости, которая проходит радиально относительно оси 28. Верхняя крышка 12 остается неподвижной. Опускание исполнительного элемента вызывает сбрасывание конической насадки. Следовательно, конический насадок может быть сброшен независимо от положения кнопки относительно оси 28, и в частности, когда кнопка находится с левой, с правой или с задней стороны пипетки.
На практике два вышеописанных перемещения можно при желании объединить во время перемещения кнопки. Пользователь волен выбирать положение кнопки, при котором она неподвижна, и положение, при котором она движется, чтобы сбросить коническую насадку.
Можно видеть, что этот механизм обладает достаточно простой конструкцией, но обеспечивает большую свободу при перемещении и позиционировании кнопки. Он прост в изготовлении, и его легко собирать.
Кроме того, поскольку скользящая точка передачи осевого усилия от кнопки 14 к исполнительному элементу 20 находится между рабочей частью 30 и валом 34, кнопка действует как рычаг, уменьшая величину силы, которую нужно приложить для того, чтобы вытолкнуть коническую насадку.
Выемки 48 представляют собой средства идентификации предпочтительных положений кнопки относительно бортика (в данном случае сзади, слева и справа).
Свойство, относящееся к скользящему осевому усилию, передаваемому от кнопки к исполнительному элементу во время сбрасывания, можно обеспечить независимо от свойств кнопки, связанных с возможностью ее перемещения относительно корпуса в плоскости, перпендикулярной направлению 10.
Формула изобретения
1. Пипетка для взятия проб, содержащая корпус (2); рычажный элемент (20), выполненный с возможностью перемещения относительно корпуса параллельно продольному направлению (10) пипетки для сбрасывания конической насадки, прикрепленной к корпусу; кнопку (14) для управления перемещением рычажного элемента; отличающаяся тем, что при перемещении рычажного элемента (20) относительно корпуса кнопка (14) прикладывает к этому элементу скользящее осевое усилие.
2. Пипетка по п.1, отличающаяся тем, что кнопка (14) установлена с возможностью поворота относительно корпуса (2) вокруг оси (36), перпендикулярной продольному направлению (10).
3. Пипетка по п.1 или 2, отличающаяся тем, что она содержит промежуточный элемент (12), установленный с возможностью поворота относительно корпуса (2) вокруг оси (28), параллельной продольному направлению (10), при этом кнопка (14) установлена с возможностью поворота относительно промежуточного элемента (12) вокруг оси (36), перпендикулярной продольному направлению (10).
4. Пипетка по п.3, отличающаяся тем, что кнопка (14) непосредственно присоединена к промежуточному элементу (12).
5. Пипетка по п.3 или 4, отличающаяся тем, что промежуточный элемент (12) установлен с возможностью поворота относительно рычажного элемента (20) вокруг оси (28), параллельной продольному направлению (10).
6. Пипетка по любому из пп.3-5, отличающаяся тем, что промежуточный элемент (12) непосредственно присоединен к корпусу (2).
7. Пипетка по любому из пп.1-6, отличающаяся тем, что она содержит соединительный элемент (16), выполненный с возможностью перемещения относительно корпуса (2) вдоль оси (28), параллельной продольному направлению (10), при этом кнопка (14) выполнена с возможностью перемещения относительно указанного элемента через выполненное в нем отверстие (39).
8. Пипетка по п.7, отличающаяся тем, что соединительный элемент (16) выполнен с возможностью поворота относительно рычажного элемента (20) вокруг оси (28), параллельной продольному направлению (10).
9. Пипетка по любому из пп.3-6 и по п.7 или 8, отличающаяся тем, что соединительный элемент (16) выполнен с возможностью поворота относительно промежуточного элемента (12) вокруг оси (28), параллельной продольному направлению (10).
10. Пипетка по п.9, отличающаяся тем, что соединительный элемент (16) непосредственно присоединен к промежуточному элементу (12).
11. Пипетка по любому из пп.7-10, отличающаяся тем, что соединительный элемент (16) непосредственно присоединен к рычажному элементу (20).
12. Пипетка по любому из пп.1-11, отличающаяся тем, что кнопка (14) выполнена с возможностью перемещения относительно корпуса (2) в плоскости, перпендикулярной продольному направлению (10), с возможностью занятия любого положения в непрерывном диапазоне положений в этой плоскости и с обеспечением возможности перемещения рычажного элемента (20) в любое положение.
13. Пипетка по п.12, отличающаяся тем, что кнопка (14) установлена с возможностью поворота относительно корпуса (2) в указанной плоскости.
14. Пипетка по п.12 или 13, отличающаяся тем, что кнопка (14) выполнена с возможностью приложения скользящего осевого усилия к рычажному элементу (20) во время ее перемещения в указанной плоскости.
15. Пипетка по любому из пп.12-14, отличающаяся тем, что она имеет средства (48) идентификации по меньшей мере одного заданного положения кнопки (14) относительно корпуса (2) в указанном диапазоне.
16. Пипетка по любому из пп.1-15, отличающаяся тем, что она является ручной пипеткой.
17. Пипетка по любому из пп.1-16, отличающаяся тем, что она имеет один канал.
18. Пипетка по любому из пп.1-17, отличающаяся тем, что она выполнена удлиненной в продольном направлении.
РИСУНКИ
TK4A – Поправки к публикациям сведений об изобретениях в бюллетенях “Изобретения (заявки и патенты)” и “Изобретения. Полезные модели”
Страница: 558
Напечатано: (54) Пипетка для взятия проб жидкости с механизмом сбрасывания конического насадка
Следует читать: (54) Пипетка для взятия проб жидкости с механизмом сбрасывания конической насадки
Номер и год публикации бюллетеня: 25-2005
Код раздела: FG4A
Извещение опубликовано: 20.12.2005 БИ: 35/2005
|