|
|
(21), (22) Заявка: 2004115684/15, 24.05.2004
(24) Дата начала отсчета срока действия патента:
24.05.2004
(45) Опубликовано: 10.09.2005
(56) Список документов, цитированных в отчете о поиске:
RU 2223139 C1, 10.02.2004. SU 1296633 A1, 15.03.1987. FR 2641708 A1, 20.07.1990.
Адрес для переписки:
392620, г.Тамбов, ул. Советская, 51, ОАО “Тамбовский завод “Комсомолец” им. Н.С. Артемова”, БПиЛР, В.И. Семененко
|
(72) Автор(ы):
Артемов В.Н. (RU), Кочетыгов С.М. (RU)
(73) Патентообладатель(и):
Открытое акционерное общество “Тамбовский завод “Комсомолец” им. Н.С. Артемова” (RU)
|
(54) УСТАНОВКА ДЛЯ ФОРМОВАНИЯ ТРУБЧАТЫХ МЕМБРАННЫХ ЭЛЕМЕНТОВ
(57) Реферат:
Изобретение относится к производству трубчатых мембранных фильтрующих элементов, используемых в химической, пищевой и др. отраслях промышленности. Установка для формования трубчатых мембранных элементов содержит смонтированные на раме емкость подпитки, механизмы подачи проводки трубок, нанесения формовочного раствора с плавающей фильерой и устройство для первичной промывки нанесенных мембран. Устройство для первичной промывки выполнено в виде заполненной дистиллированной водой цилиндрической емкости с имеющим привод от шагового механизма центральным валом. На валу расположены радиальные проволочные рамки, разбивающие емкость на заданное количество секторов. На днище емкости установлен съемный диск, снабженный фиксатором от проворота. На диске расположены нижняя опора центрального вала и U-образная направляющая в виде спирали Архимеда. На линии проводки трубок между плавающей фильерой и устройством для первичной промывки установлен фотодатчик, фиксирующий момент разрыва между трубками. Трубки снабжены спутниками-утяжелителями, представляющими собой помещенный внутри трубки металлический пруток мерной длины с насадкой на конце из эластичного полимерного материала, обеспечивающего его фиксацию по внутреннему диаметру трубки. Техническим результатом является повышение качества фильтрующих трубчатых мембранных элементов. 1 з.п. ф-лы, 5 ил. 
Изобретение относится к мембранной технике, а именно к производству трубчатых мембранных элементов, применяемых в процессах микро- и ультрафильтрации, и может быть использовано в химической, пищевой и других отраслях промышленности.
Известно устройство для формования трубчатых мембранных элементов, в котором формовочный раствор наносят относительным перемещением кольцевой фильеры и трубчатого элемента. (Ю.И.Дытнерский, “Обратный осмос и ультрафильтрация.”, М., “Химия”, 1978 г., с 127-128, рис.III-18).
Известная конструкция имеет низкое качество получаемых трубчатых мембранных элементов, обусловленное жесткой неподвижной фильерой, не обеспечивающей равнотолщинность слоя по всей длине трубки.
Наиболее близким техническим решением по сущности и достигаемому результату является установка для формования трубчатых мембранных элементов, содержащая смонтированные на раме емкость подпитки, механизмы подачи и проводки трубок, нанесения формовочного раствора с плавающей фильерой и устройство для первичной промывки нанесенных мембран.(Решение о выдаче по заявке №2003103931/15 (004083) от 10.02.2003 г., МПК 7 В 01 Д 67/00, 69/04 – п.№2223139, 10.02.04 г., Бюл. №4).
Данная установка, принятая за прототип, обеспечивает повышение качества получаемых мембранных элементов по сравнению с вышеописанным устройством, однако вопросы первичной промывки нанесенных мембран не решены. Промывка осуществляется в бачке с водой, установленном внизу по ходу движения трубок. Трубки, опускаясь в воду и плавая в нем, (эффект “поплавка”) могут неоднократно контактировать друг с другом, при этом наблюдаются на поверхности мембраны следы “слипаемости”. Это приводит к местному ухудшению равномерности нанесенной мембраны, кроме того после “неорганизованной” промывки, частота пор мембраны и размеры их неодинаковы по длине трубки. При заходе в ролики механизма проводки трубки наблюдается частичное сплющивание передних концов трубки, а при заходе в фильеру наблюдается затекание формовочного раствора во внутренний диаметр трубки. Это также снижает качество получаемых мембранных элементов и ведет к увеличению расхода формовочного раствора.
Таким образом, описанная установка для формования трубчатых мембранных элементов не обеспечивает высокое качество получаемых мембранных элементов.
Целью предполагаемого изобретения является дальнейшее повышение качества получаемых мембранных элементов.
Поставленная цель достигается тем, что в установке для формования трубчатых мембранных элементов, содержащей смонтированные на раме емкость подпитки, механизмы подачи и проводки трубок, нанесения формовочного раствора с плавающей фильерой и устройство для первичной промывки нанесенных мембран, согласно изобретению, последнее выполнено в виде заполненной дистиллированной водой цилиндрической емкости с имеющим привод от шагового механизма центральным валом, на котором равномерно расположены радиальные проволочные рамки, разбивающие емкость на заданное количество секторов, на днище емкости установлен снабженный фиксатором от проворота съемный диск, на котором расположены нижняя опора центрального вала и U-образная направляющая в виде спирали Архимеда. На линии проводки трубок между плавающей фильерой и устройством для первичной промывки установлен фотодатчик, фиксирующий момент разрыва между трубками.
Поставленная цель достигается также и тем, что трубки снабжены спутниками-утяжелителями, представляющими собой помещенный внутри трубки металлический пруток мерной длины с насадкой на его конце из эластичного полимерного материала, обеспечивающего его фиксацию по внутреннему диаметру трубки, а радиальные проволочные рамки соединены между собой перемычками, расположенными на концах рамок.
Выполнение устройства для первичной промывки нанесенных мембран в виде заполненной дистиллированной водой цилиндрической емкости с имеющим привод от шагового механизма центральным валом, на котором равномерно расположены радиальные проволочные рамки, разбивающие емкость на заданное количество секторов и установка на линии проводки трубок между плавающей фильерой и устройством для первичной промывки фотодатчика, фиксирующего момент разрыва между трубками, позволяет получить автоматическую систему с индивидуальными гнездами и шаговым приводом, обеспечивающую последовательный прием трубок в отдельные сектора и отвод их с линии проводки в емкость с дистиллированной водой, освобождая место для последующих трубок. Наличие фотодатчика позволяет в необходимый момент подать “команду” шаговому механизму, который проворачивает вал на величину угла сектора, перемещая опустившуюся в сектор емкости трубку по ходу своего вращения на один заданный шаг.
Установка на днище емкости, снабженного фиксатором от проворота съемного диска, на котором расположены нижняя опора центрального вала и U-образная направляющая в виде спирали Архимеда, позволяет отводить трубки по спиральной направляющей, передвигая их при помощи проволочных рамок при каждом включении шагового механизма на один шаг, накапливая их по спирали между радиальными рамками. Рамки проталкивают при каждом шаге трубки по ходу вращения, а направляющая направляет и смещает их по своему уменьшающему радиусу к центру, образуя наборную кассету из трубок. При многократных периодических перемещениях трубок в емкости с дистиллированной водой происходит полное осаждение нанесенной мембраны на трубку с образованием одинаковых пор, равномерно распределенных на поверхности трубки. Время полного накопления трубок на направляющей подбирается с учетом окончания процесса экстракции в емкости, вода вымывает растворитель с нанесенной мембраны, обеспечивая застывание и адгезию ее с поверхностью трубки. Окончательная промывка осуществляется в отдельных специальных ваннах.
Перемычки, связывающие радиальные рамки между собой, придают жесткость конструкции и помогают направить трубки в канал направляющей, а выполнение диска съемным обеспечивает удобный монтаж спиральной направляющей и промывку при эксплуатации, обеспечивающую свободное сечение канала для проводки трубок. Фиксатор обеспечивает фиксацию диска от проворота и позволяет осуществить фиксацию диска в наиболее оптимальном положении направляющей, обеспечивающем точный заход трубки в канал.
Наличие у трубок спутников-утяжелителей, представляющих собой помещенные внутри трубок металлические прутки мерной длины с насадками из эластичного полимерного материала, обеспечивающего их фиксацию по внутреннему диаметру трубок, обеспечивает погружение трубки в воду за счет своего веса и надежное передвижение в канале направляющей. Кроме того, при заходе в ролики механизма проводки трубок, исключена деформация трубок, а при проходе через фильеры исключается затекание раствора во внутреннюю полость трубок.
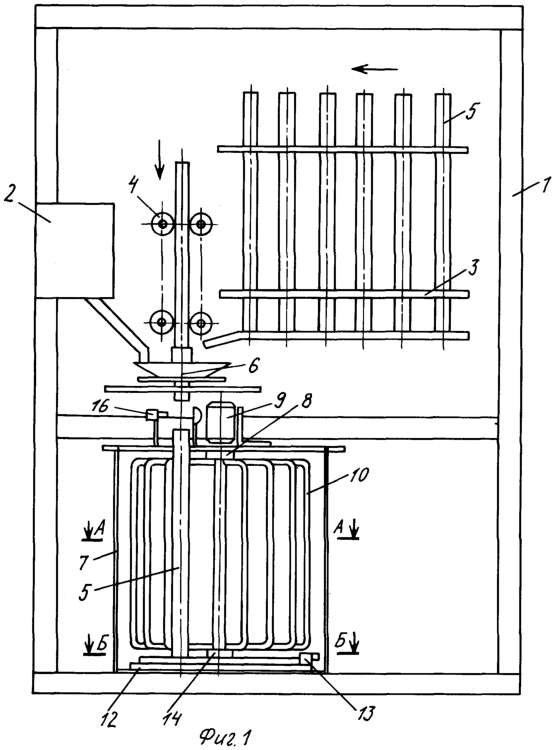
Сущность предполагаемого изобретения поясняется чертежами, где, на фиг.1 – изображен общий вид установки; на фиг.2 – сечение А-А на фиг.1; на фиг.3 – сечение Б-Б на фиг.1; на фиг.4 – сечение В-В на фиг.3; на фиг.5 – изображена трубка, снабженная спутниками-утяжелителями.
Установка для формования трубчатых мембранных элементов состоит из смонтированных на раме 1 емкости подпитки 2, механизмов подачи 3, проводки 4, трубок 5 и нанесения формовочного раствора 6 с плавающей фильерой. Установка снабжена также устройством для первичной промывки нанесенной мембраны, выполненным в виде заполненной дистиллированной водой цилиндрической емкости 7, внутри которого смонтирован центральный вал 8 с опорами. Центральный вал 8 имеет привод от шагового механизма 9, расположенного на кронштейне сверху емкости 7. На центральном валу 8 равномерно расположены радиальные проволочные рамки 10, разбивающие емкость 7 на заданное количество секторов 11. На днище емкости 7 установлен съемный диск 12, снабженный фиксатором от проворота 13. На съемном диске 12 расположены нижняя опора 14 центрального вала 8 и U-образная направляющая 15 в виде спирали Архимеда. На линии проводки трубок 5 между плавающей фильерой и устройством для первичной промывки установлен фотодатчик 16, фиксирующий момент разрыва между трубками. Сами трубки 5 снабжены спутниками-утяжелителями, представляющими собой помещенный внутрь металлический пруток 17 мерной длины. На один из концов прутка 17 надета насадка 18 из эластичного полимерного материала, обеспечивающего фиксацию прутка 17 по внутреннему диаметру трубки 5 за счет своего наружного диаметра. Рамки 10 по своим концам соединены между собой перемычками 19.
Работает установка для формования трубчатых мембранных элементов следующим образом. Трубки 5 (например, открыто-пористые трубки из АБС-пластика) набираются в кассеты и подаются механизмом подачи 3 к механизму проводки трубок 4. После совмещения осей трубки 5, направляющей втулки и роликов механизма проводки 4, последние подают трубку 5 в механизм для нанесения формовочного раствора с плавающей фильерой 6. Благодаря плавающей фильере механизма нанесения формовочного раствора 6 происходит нанесение и выравнивание формовочного раствора на поверхности трубок. Т.к. трубки 5 снабжены спутниками-утяжелителями 17, то при заходе в ролики механизма проводки 4, трубки не подвергаются деформации, а при проходе через фильеру механизма нанесения формовочного раствора 6 исключается попадание раствора во внутренний диаметр трубок. Трубки 5, которые прошли ролики механизма проводки проталкиваются в фильере последующими трубками. В момент выхода трубок из фильеры они опускаются в цилиндрическую емкость 7 устройства для первичной промывки, разрыв между последующей трубкой фиксирует фотодатчик 16. Трубка 5 с утяжелителем 17 попадает между рамками 10 в свободный сектор 11 емкости 7 и опускается за счет тяжести прутка 17 в начальную точку U-образной направляющей 15 в виде спирали Архимеда. После сигнала с фотодатчика 16 и опускания трубки до контакта со съемным диском 12 происходит включение шагового механизма 9, вращающего центральный вал 8 в опорах на один заданный шаг. Трубка 5 при помощи рамки 10 с перемычками 19 направляется в канал U-образной направляющей 15 и уводится при дальнейших включениях шагового механизма далее по спирали. Свободный сектор 11 поочередно подходит к оси проводки трубок, а сектор с трубкой продвигает трубку по каналу направляющей 15. Таким образом осуществляется накопление трубок 5 в канале направляющей 15 с одновременным вымыванием растворителя из мембраны. Далее трубки направляются на окончательную промывку в специальные ванны и затем на сушку. Перед окончательной промывкой из трубок 5 убираются спутники-утяжелители 17, которые используются на новые партии трубок.
Таким образом, предлагаемая конструкция установки для формования трубчатых мембранных элементов позволяет обеспечить повышение качества получаемых мембранных элементов за счет оптимизации процесса первичной промывки и осаждения мембраны на трубке, что в свою очередь приведет к повышению эффективности процесса фильтрации.
Формула изобретения
1. Установка для формования трубчатых мембранных элементов, содержащая смонтированные на раме емкость подпитки, механизмы подачи и проводки трубок, нанесения формовочного раствора с плавающей фильерой и устройство для первичной промывки нанесенных мембран, отличающаяся тем, что устройство для первичной промывки выполнено в виде заполненной дистиллированной водой цилиндрической емкости с имеющим привод от шагового механизма центральным валом, на котором равномерно расположены радиальные проволочные рамки, разбивающие емкость на заданное количества секторов, на днище емкости установлен снабженный фиксатором от проворота съемный диск, на котором расположены нижняя опора центрального вала и U-образная направляющая в виде спирали Архимеда, кроме того, на линии проводки трубок между плавающей фильерой и устройством для первичной промывки установлен фотодатчик, фиксирующий момент разрыва между трубками, а трубки снабжены спутниками-утяжелителями, представляющими собой помещенный внутри трубки металлический пруток мерной длины с насадкой на конце из эластичного полимерного материала, обеспечивающего его фиксацию по внутреннему диаметру трубки.
2. Установка по п.1, отличающаяся тем, что радиальные проволочные рамки соединены между собой перемычками, расположенными на концах рамок.
РИСУНКИ
MM4A – Досрочное прекращение действия патента СССР или патента Российской Федерации на изобретение из-за неуплаты в установленный срок пошлины за поддержание патента в силе
Дата прекращения действия патента: 25.05.2006
Извещение опубликовано: 20.06.2007 БИ: 17/2007
|
|