|
|
(21), (22) Заявка: 2003114601/15, 20.05.2003
(24) Дата начала отсчета срока действия патента:
20.05.2003
(43) Дата публикации заявки: 27.11.2004
(45) Опубликовано: 10.09.2005
(56) Список документов, цитированных в отчете о поиске:
US 3915679 А, 28.10.1975. SU 787096 A1, 15.12.1980. SU 768432 А, 07.10.1980. US 3461652 А, 19.08.1969.
Адрес для переписки:
115446, Москва, а/я 052, ООО “КОНА-ПАТЕНТ”, Н.С.Ковальчук
|
(72) Автор(ы):
Козловский Евгений Викторович (IL), Приходько В.П. (RU), Вайнштейн Борис Михайлович (IL)
(73) Патентообладатель(и):
Козловский Евгений Викторович (IL), Приходько Вадим Петрович (RU), Вайнштейн Борис Михайлович (IL)
|
(54) ВИХРЕВОЙ ВОЗДУХООЧИСТИТЕЛЬ
(57) Реферат:
Изобретение предназначено для очистки воздуха от частиц пыли и капель жидкости и может быть использовано в отраслях промышленности, использующих двигатели внутреннего сгорания или газотурбинные двигатели. Вихревой воздухоочиститель содержит корпус с откачивающей камерой с одним или несколькими сепарационными элементами, каждый из которых состоит из последовательно расположенных сепарационных патрубков с лопастными завихрителями и выходного патрубка. Плоские лопатки завихрителей установлены между сепарационными патрубками и дисками так, что их прямолинейные выходные кромки образуют внутренние полости завихрителей в форме однополостных гиперболоидов вращения и являются их прямолинейными образующими, горловая окружность гиперболоида первого по ходу воздуха завихрителя располагается в плоскости диска или в плоскости, параллельной диску и отстоящей от него внутрь завихрителя, а горловая окружность гиперболоида второго по ходу воздуха завихрителя располагается в плоскости диска или в плоскости, параллельной диску и отстоящей от него навстречу потоку воздуха. Диск второго по ходу воздуха завихрителя с прикрепленными к нему лопатками выступает из сепарационного патрубка навстречу потоку воздуха внутрь первого сепарационного патрубка, а в стенке второго сепарационного патрубка перед началом прилегания к нему лопаток выполнены прямоугольные щели для отвода пристенного слоя воздуха с отсепарированными частицами в откачивающую камеру. Технический результат: повышение эффективности очистки, снижение гидравлического сопротивления. 10 з.п. ф-лы, 4 ил. 
Изобретение относится к устройствам очистки воздуха от частиц пыли и капель жидкости. Изобретение может быть использовано в тяжелом автомобилестроении, самолетостроении и других отраслях промышленности, использующих двигатели внутреннего сгорания или газотурбинные двигатели, а также в системах защиты органов дыхания.
Проблема очистки воздуха для двигателей особенно актуальна при их эксплуатации в условиях запыленных районов или во время песчаных бурь. Так, например, при взлете или посадке малый типовой вертолет втягивает в двигатель вместе с воздухом до 200-250 грамм в минуту различных загрязняющих воздух частиц, большой вертолет – 1-2 килограмма в минуту. В периоды активных действий срок работы двигателя уменьшается на 10% от нормального сервисного периода. Существующие штатные бумажные и волокнистые фильтры не справляются с таким количеством загрязнений, происходит их забивание, повышение гидравлического сопротивления и, как следствие, потеря мощности двигателя и преждевременный выход его из строя.
Известен сепаратор (патент США №3546854, B 01 D 45/12 “Центробежный сепаратор”), содержащий цилиндрический корпус, внутри которого установлен отражатель, придающий угловую скорость потоку. Отражатель образует поверхность в виде усеченного конуса, узкий конец которого направлен в сторону потока. Основание конуса расположено рядом со стеной корпуса. Узкий торец отражателя закрыт, и газ проходит через тангенциальные пазы.
Недостатком этой конструкции является низкая эффективность улавливания частиц диаметром менее 10 мкм, высокое гидравлическое сопротивление, низкая надежность из-за забивания тангенциальных пазов у узкого конца отражателя.
Известен сепаратор (патент США №3884660, B 01 D 45/16 “Газожидкостной сепаратор”), содержащий корпус, входной патрубок, в котором расположено закручивающее устройство, выполненное в виде двух скрещенных пластин, сепарационный патрубок первой ступени, сепарационный патрубок второй ступени и выходной патрубок.
Между входным патрубком и сепарационным патрубком первой ступени находится инжекционный канал, а между сепарационным патрубком первой ступени и сепарационным патрубком второй ступени расположен эжекционный канал. Каналы обеспечивают рециркуляцию части газового потока.
Недостатком этой конструкции является низкая эффективность очистки газа из-за недостаточного угла закрутки потока, который не может быть компенсирована наличием двух ступеней очистки.
Известен сепаратор (А.с. СССР №682249, B 01 D 45/12 “Центробежный сепаратор”), содержащий корпус, конический лопаточный завихритель с тангенциальными щелями между лопатками для прохода газа и кольцевой карман для сбора уловленной влаги с дренажными трубопроводами; завихритель выполнен из расположенных одна над другой секциями с количеством лопаток по секциям, уменьшающимся к вершине конического завихрителя.
Недостатком этой конструкции является низкая эффективность очистки из-за наличия колец опоры лопаток, которые рассекают завихритель на части и вызывают ненужные завихрения в полости завихрителя, работающие против центробежных сил.
Наиболее близким по своей сущности к заявляемому является “Батарейный вихревой воздухоочиститель”, описанный в US 3915679, B 01 D 45/12, 28.10.1975 и состоящий из корпуса с откачивающей камерой, внутри которого расположена батарея из вихревых прямоточных воздухоочистителей, состоящих из цилиндрического корпуса, завихрителя с винтовыми лопатками и цилиндрического выходного патрубка. Между цилиндрическим корпусом и выходным патрубком образован кольцевой канал для отсоса части воздуха вместе с отсепарированными частицами пыли и жидкими каплями в откачивающую камеру.
Недостатками данной конструкции является низкая эффективность улавливания (95% пыли со среднемедианным диаметром 20-30 мкм) вследствие недостаточной закрутки потока данным типом завихрителя, наличием завихрений в сепарационной зоне за ступицей лопаток, несмотря на ее заостренный конец, а также значительной поперечной циркуляции воздуха внутри криволинейных каналов завихрителя, способствующей перемещению мелких частиц к ступице, невзирая на наличие центробежных сил.
Целью настоящего изобретения является повышение эффективности очистки воздуха и снижение гидравлического сопротивления аппарата за счет повышения степени закрутки потока воздуха с одновременным обеспечением равномерного движения воздуха по сечению сепарационных патрубков, а также обеспечения своевременного отвода уловленных частиц из сепарационных патрубков.
Повышение степени закрутки потока с одновременным обеспечением равномерного движения воздуха по сечению сепарационных патрубков достигается тем, что плоские лопатки завихрителей установлены между сепарационными патрубками и дисками так, что их прямолинейные выходные кромки образуют внутренние полости завихрителей в форме однополостных гиперболоидов вращения и являются его прямолинейными образующими, горловая окружность гиперболоида первого по ходу воздуха завихрителя располагается в плоскости диска или в плоскости, параллельной диску и отстоящей от него внутрь завихрителя на расстояние 0-0,2 диаметра первого сепарационного патрубка, а горловая окружность гиперболоида второго по ходу воздуха завихрителя располагается в плоскости диска или в плоскости, параллельной диску и отстоящей от него навстречу потоку воздуха на расстояние 0-0,3 диаметра второго сепарационного патрубка. Диаметры горловых окружностей гиперболоидов обоих завихрителей составляют 0,08-0,15 диаметров соответствующих сепарационных патрубков. Высота первого по ходу воздуха завихрителя равна 0,6-1,0 диаметра первого сепарационного патрубка, а высота второго по ходу воздуха завихрителя равна 1,0-1,2 диаметра второго сепарационного патрубка.
Обеспечение равномерного движения воздуха по сечению первого по ходу воздуха сепарационного патрубка достигается также и тем, что диск второго по ходу воздуха завихрителя с прикрепленными к нему лопатками выступает из второго сепарационного патрубка навстречу потоку воздуха внутрь первого сепарационного патрубка на расстояние до 0,5-0,6 диаметра второго цилиндрического патрубка.
Обеспечение своевременного отвода уловленных частиц из сепарационных патрубков достигается тем, что в стенке второго по ходу воздуха сепарационного патрубка перед началом прилегания к нему лопаток выполнены две прямоугольные щели, расположенные симметрично оси сепарационного патрубка, занимающие центральный угол 90-120 градусов каждая и имеющие ширину 1-2 мм; отношение диаметров второго и первого по ходу воздуха сепарационных патрубков равно 0,83-0,95, а входной торец второго сепарационного патрубка заглублен в первый сепарационный патрубок на расстояние 0-0,1 диаметра первого сепарационного патрубка; расстояние между дисками первого и второго по ходу воздуха завихрителя составляет 1,5-2,3 диаметра первого по ходу воздуха сепарационного патрубка.
Обеспечение своевременного отвода уловленных частиц из сепарационных патрубков достигается также, в частном случае, тем, что диаметры первого и второго по ходу воздуха сепарационных патрубков равны и патрубки установлены с кольцевым зазором, равным 0,05-0,1 диаметра патрубков.
Обеспечение снижения гидравлического сопротивления для предлагаемой области использования достигается тем, что толщина стенок сепарационных патрубков, выходного патрубка и лопаток завихрителей составляет 0,2-0,5 мм. Такое исполнение обеспечивает минимальное лобовое сопротивление стенок этих элементов при сохранении их механической прочности.
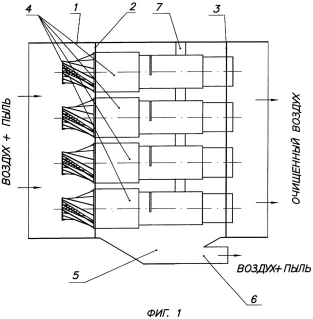
На Фиг.1 изображен вихревой воздухоочиститель, общий вид; Фиг.2 – вихревой сепарационный элемент, продольный разрез; Фиг.3 – схема установки выходных кромок лопаток и форма внутренней полости первого завихрителя; Фиг.4 – то же, для второго завихрителя.
Вихревой воздухоочиститель (Фиг.1) содержит корпус 1 с опорными перегородками 2 и 3, между которыми располагаются один или несколько вихревых сепарационных элементов 4, откачивающую камеру 5 и эвакуационный патрубок 6. Вихревые сепарационные элементы 4 закреплены в корпусе 1 распорками 7.
Каждый вихревой сепарационный элемент 4 содержит два сепарационных патрубка 8 и 9 (Фиг.2), расположенных на одной оси. Во входных частях каждого из сепарационных патрубков 8 и 9 располагается по лопастному завихрителю 10 и 11. В конце второго по ходу воздуха сепарационного патрубка 9 располагается выходной патрубок 12. Лопастные завихрители 10 и 11 состоят из плоских лопаток 13, имеющих прямолинейные выходные кромки 14, и диски 15 и 15а.
Прямолинейные выходные кромки 14 лопаток 13 образуют внутренние полости 16 и 16а (Фиг.3 и 4) завихрителей 10 и 11 в форме однополостных гиперболоидов вращения с горловыми окружностями 17 и 17а.
Сепарационный патрубок 9 своим входным концом заглублен в выход сепарационного патрубка 8 (Фиг.2) и образует кольцевой канал 18. Аналогичный канал 18а образуют выходной патрубок 12 и сепарационный патрубок 9. В стенке сепарационного патрубка 9 выполнены щели 19.
Вихревой воздухоочиститель работает следующим образом. Воздух, содержащий частички пыли или капельки жидкости, входит в корпус 1 и распределяется по вихревым сепарационным элементам 4. Пройдя первый лопастной завихритель 10, воздух поступает в сепарационный патрубок 8. Закрутка потока воздуха в завихрителе происходит с различной интенсивностью по высоте завихрителя. Слои воздуха, проходящие между лопаток во внутреннюю полость в зоне прилегания лопаток к сепарационному патрубку, приобретают максимальную закрутку. Слои воздуха, проходящие между лопаток в зоне горловой окружности, практически не закручиваются так, как поступают во внутреннюю полость завихрителя радиально. А слои воздуха, поступающие во внутреннюю полость у диска, приобретают обратное вращение. Такая “слоевая” закрутка воздуха с одной стороны обеспечивает сильное поле центробежных сил, достаточное для улавливания частиц (в целом поток внутри завихрителя и сепарационного патрубка вращается в одном направлении), с другой – сведение к минимуму значений тангенциальных скоростей вблизи оси, варавниванию поля осевых скоростей, т.е. равномерному течению воздуха. В результате используется все сечение сепарационного патрубка, что приводит к снижению гидравлического сопротивления. Под действием центробежных сил частички пыли или капли жидкости перемещается к стенке сепарационного патрубка 8 и движется к кольцевому каналу 18, образованному между сепарационными патрубками 8 и 9. Из кольцевого канала 18 дисперсная фаза вместе с незначительной, но сильно закрученной частью воздуха отсасывается в откачивающую камеру 5.
Основная, менее закрученная, центральная часть потока воздуха с оставшимися в ней частицами входит в сепарационный патрубок 9 и во второй выступающий завихритель 11.
Во входном участке сепарационного патрубка 9 продолжает проходить процесс выделения дисперсной фазы из воздуха. Отвод уловленных на этом участке частичек пыли или капелек жидкости в откачивающую камеру 5 происходит через щели 19.
Воздух с оставшимся незначительным количеством частичек проходит второй лопастной завихритель 11 и поступает в сепарационный патрубок 9. Лопастной завихритель 11 интенсифицирует вращение воздушного потока и поэтому в сепарационном патрубке 9 осуществляется окончательная доочистка воздуха. Интенсификация вращения воздушного потока лопастным завихрителем 11 за счет того, что у диска слои воздуха, проходящие между лопаток, в отличие от завихрителя 10 не приобретают обратной закрутки, а поступают только радиально.
Частицы пыли или капли жидкости выводятся в откачивающую камеру 5 через кольцевой канал 18а, образованный между сепарационным патрубком 9 и выходным патрубком 12. Очищенный воздух выводится из вихревых сепарационных элементов 4 через выходные патрубки 12 и далее из корпуса 1.
Поступающие в откачивающую камеру 5 частички пыли или капельки жидкости вместе с незначительным количеством воздуха выводятся из вихревого воздухоочистителя через эвакуационный патрубок 6 при помощи любого тягодутьевого устройства (вентилятора, эжектора и т.д.).
Проведенные испытания вихревого воздухоочистителя производительностью 170-180 м3/ч показали значительные преимущества предлагаемой конструкции перед прототипом. Эффективность очистки составила 93-94% для пыли со среднемедианным диаметром частиц 4-5 мкм при гидравлическом сопротивлении, не превышающем 1000 Па.
Формула изобретения
1. Вихревой воздухоочиститель, содержащий корпус, служащий также откачивающей камерой, внутри которого расположены один или несколько вихревых сепарационных элементов, каждый из которых состоит из двух последовательно расположенных на одной оси сепарационных патрубков, во входных частях каждого из которых располагается лопастной завихритель, и выходного патрубка, отличающийся тем, что плоские лопатки завихрителей установлены между сепарационными патрубками и дисками так, что их прямолинейные выходные кромки образуют внутренние полости завихрителей в форме однополостных гиперболоидов вращения и являются их прямолинейными образующими, горловая окружность гиперболоида первого по ходу воздуха завихрителя располагается в плоскости диска или в плоскости, параллельной диску и отстоящей от него внутрь завихрителя, а горловая окружность гиперболоида второго по ходу воздуха завихрителя располагается в плоскости диска или в плоскости, параллельной диску и отстоящей от него навстречу потоку воздуха, при этом диск второго по ходу воздуха завихрителя с прикрепленными к нему лопатками выступает из сепарационного патрубка навстречу потоку воздуха внутрь первого сепарационного патрубка, а в стенке второго сепарационного патрубка перед началом прилегания к нему лопаток выполнены прямоугольные щели для отвода пристенного слоя воздуха с отсепарированными частицами в откачивающую камеру.
2. Вихревой воздухоочиститель по п.1, отличающийся тем, что диаметр горловых окружностей составляет 0,08-0,15 диаметров соответствующих сепарационных патрубков.
3. Вихревой воздухоочиститель по п.1, отличающийся тем, что расстояние между плоскостью диска и плоскостью горловой окружности гиперболоида первого по ходу воздуха завихрителя составляет 0-0,2 диаметра первого сепарационного патрубка, а расстояние между плоскостью горловой окружности гиперболоида второго по ходу воздуха завихрителя и плоскостью диска составляет 0-0,3 диаметра второго по ходу воздуха сепарационного патрубка.
4. Вихревой воздухоочиститель по п.1, отличающийся тем, что высота первого по ходу воздуха завихрителя равна 0,6-1,0 диаметра первого сепарационного патрубка, а высота второго по ходу воздуха завихрителя равна 1,0-1,2 диаметра второго сепарационного патрубка.
5. Вихревой воздухоочиститель по п.1, отличающийся тем, что диск второго по ходу воздуха завихрителя с прикрепленными к нему лопатками выступает из второго сепарационного патрубка навстречу потоку воздуха внутрь первого сепарационного патрубка на расстояние до 0,5-0,6 диаметра второго цилиндрического патрубка.
6. Вихревой воздухоочиститель по п.1, отличающийся тем, что отношение диаметров второго и первого по ходу воздуха сепарационных патрубков составляет 0,83-0,95.
7. Вихревой воздухоочиститель по п.1, отличающийся тем, что входной торец второго по ходу воздуха сепарационного патрубка заглублен в первый по ходу воздуха сепарационный патрубок на расстояние 0-0,1 диаметра первого сепарационного патрубка.
8. Вихревой воздухоочиститель по п.1, отличающийся тем, что имеет две прямоугольные щели, расположенные симметрично оси сепарационного патрубка, занимающие центральный угол 90-120° каждая и имеющие ширину 1-2 мм.
9. Вихревой воздухоочиститель по одному из пп.1-8, отличающийся тем, что расстояние между дисками первого и второго по ходу воздуха завихрителя составляет 1,5-2,3 диаметра первого по ходу воздуха сепарационного патрубка.
10. Вихревой воздухоочиститель по одному из пп.1-8, отличающийся тем, что диаметры первого и второго по ходу воздуха сепарационных патрубков равны и патрубки установлены с кольцевым зазором, равным 0,05-0,1 диаметра патрубков.
11. Вихревой воздухоочиститель по одному из пп.1-8, отличающийся тем, что толщина стенок сепарационных патрубков, выходного патрубка и лопаток завихрителей составляет 0,2-0,5 мм.
РИСУНКИ
MM4A – Досрочное прекращение действия патента СССР или патента Российской Федерации на изобретение из-за неуплаты в установленный срок пошлины за поддержание патента в силе
Дата прекращения действия патента: 21.05.2006
Извещение опубликовано: 27.04.2007 БИ: 12/2007
MM4A – Досрочное прекращение действия патента СССР или патента Российской Федерации на изобретение из-за неуплаты в установленный срок пошлины за поддержание патента в силе
Дата прекращения действия патента: 21.05.2006
Извещение опубликовано: 20.06.2007 БИ: 17/2007
|
|