|
(21), (22) Заявка: 2004119590/12, 30.06.2004
(24) Дата начала отсчета срока действия патента:
30.06.2004
(45) Опубликовано: 10.09.2005
(56) Список документов, цитированных в отчете о поиске:
RU 2052731 C1, 20.01.1996. RU 2156924 C2, 27.09.2000. RU 8634 U1, 16.12.1998. EP 1426065 A1, 09.06.2004. JP 2002143638 A, 21.05.2002. US 5891399 A, 06.04.1999. US 4118191 A, 03.10.1978.
Адрес для переписки:
111250, Москва, ул. Авиамоторная, 53, ЗАО “Патентный поверенный”, пат.пов. Г.Н.Андрущак
|
(72) Автор(ы):
Борисов А.Н. (RU), Иванец В.К. (RU), Лаптев Н.И. (RU), Морозов А.П. (RU)
(73) Патентообладатель(и):
Закрытое акционерное общество Научно-проектное внедренческое общество “НГС-оргпроектэкономика” (RU)
|
(54) СПОСОБ ОЧИСТКИ ВОЗДУХА В ПОМЕЩЕНИЯХ
(57) Реферат:
Изобретение относится к устройствам очистки воздуха в замкнутых помещениях таких, как, например, домашних или служебных, за исключением сырых, подвальных помещений и помещений с вредными условиями труда. Техническим результатом изобретения является обеспечение наилучшей очистки воздуха от различных загрязнений в помещениях без превышения предельно допустимых концентраций озона и аэроионов, отрицательно влияющих на здоровье человека. Это достигается за счет того, что вначале с помощью фильтров очищают воздух от крупных и мелких загрязнений и от различных запахов. Затем часть очищенного воздуха выводят из устройства очистки воздуха в помещение, а другую часть воздуха пропускают через кварцевую трубу и очищают от различных микроорганизмов путем облучения воздуха безозоновой ультрафиолетовой бактерицидной лампой. После этого воздух из кварцевой трубы подают в камеру, где этот воздух и воздух, выводимый в помещение, также подвергают дополнительной очистке от микроорганизмов с помощью излучения, создаваемого безозоновой бактерицидной лампой и прошедшего через прозрачные стенки кварцевой трубы. После этого воздух во второй камере очищают от газообразных и органических загрязнений с помощью фотокатализатора путем окисления газообразных и органических загрязнений на поверхности катализатора. 6 з.п.ф-лы,1 ил. 
Заявленное изобретение относится к устройствам очистки воздуха в замкнутых помещениях таких, как, например, домашних или служебных комнатах, кабинетах, приемных, раздевалках, соляриях, парикмахерских, спортзалах и т.п.), за исключением сырых, подвальных помещений и помещений с вредными условиями труда (вредных производств).
Проблема очистки воздуха в помещениях от различных загрязнений (снижение их концентрации), свойственных современной городской среде, как противодействие распространению и профилактика возникновения инфекционных заболеваний, передающихся воздушно-капельным путем, аллергических и других заболеваний, провоцируемых загрязненным воздухом, на сегодняшний день сохраняет свою актуальность.
Известно, что запыленность воздуха в помещениях, концентрация в нем болезнетворных микроорганизмов, как правило, выше, чем на улице.
Более того, в помещениях накапливается высокая концентрация легких газообразных органических и неорганических соединений, выделяемых современными отделочными материалами, бытовыми предметами, мебелью, плюс вредными веществами в поступающем через окна воздухе, загрязненным, прежде всего, выхлопными газами автотранспорта, а также вредными выбросами в атмосферу от стационарных источников загрязнения (вентиляционные установки промышленных предприятий, трубы ТЭЦ и др).
Помимо этого в помещения проникают неприятные табачные запахи, запахи пищевых продуктов и другие запахи, от которых следует и возможно эффективно избавляться.
Загрязненный воздух окружает городского жителя постоянно, но поскольку многие проводят в помещениях примерно 2/3 суток, то логично создать устройства для очистки воздуха помещений от упомянутых загрязнителей. Эти устройства нужны и в экологически благополучных местах проживания для профилактики заболеваний, передающихся воздушно-капельным путем, аллергии и др.
Существуют различные способы очистки воздуха, реализуемые различными устройствами очистки воздуха в помещениях. Так, например, известны рециркуляторы “Дезар”, выпускаемые ЗАО “Кронт”, г.Химки Московской области, которые осуществляют одноступенчатую очистку воздуха от болезнетворных микроорганизмов – воздух вентилятором прокачивается через камеру с установленными в ней ультрафиолетовыми лампами.
Известен также способ, реализуемый настенным ультрафиолетовым бактерицидным облучателем ОБН 2×15-01, выпускаемый ОАО НИИ “Зенит”, г. Москва. Так же, как и “Дезар”, этот облучатель проводит очистку воздуха от микроорганизмов за счет коммулятивного разрушения последних. Однако этот способ не позволяет произвести очистку от пыли и других загрязнителей.
Известен также способ очистки воздуха, реализуемый очистителем воздуха Living Air, модель BREEZE, выпускаемым компанией Eco Quest, США. Однако в результате осуществления этого способа очистки воздуха устройство генерирует озон и аэроионы (содержание озона и аэроионов в помещениях нормировано), что пагубно сказывается на здоровье человека, так как концентрация озона и аэроионов не регулируется в процессе работы устройства по очистке воздуха.
Известен также способ очистки воздуха, реализуемый очистителем-увлажнителем воздуха VENTA, модельный ряд LW-14-LW-44, изготавливаемым компанией – VENTA-Luftwaschen GmbH, Германия. Однако это устройство требует применения фирменных препаратов для подавления жизнедеятельности собираемых с пылью микроорганизмов, и кроме этого, данный способ не устраняет газообразные загрязнители.
Известны также способы, реализуемые дезинфекционной лампой с вентилятором ITKALUX ВТ 90S, изготавливаемой компанией ITKA INSTRUMENTARION CORP, Финляндия (является аналогом “Дезар” и ОБН); очистителем воздуха, выпускаемым компанией BIONAIRE, модельный ряд LC (1060, 0760, 1460), Канада; очистителем-ионизатором воздуха модель НС-401, изготавливаемым компанией Honeywell, США; очистителем воздуха, выпускаемым компанией Daikin, Япония.
Однако перечисленные выше устройства для очистки воздуха используют высоковольтные ионизаторы для электростатической очистки воздуха от пыли, одновременно уничтожающие выделяемым озоном микроорганизмы, а также неуправляемого повышения концентрации аэроионов для “оздоровления” воздуха.
То обстоятельство, что работа таких установок связана с генерацией озона и значительного числа аэроионов, позволяет считать их эксплуатацию опасной для здоровья человека.
Известен также способ очистки воздуха, описанный, например, в патентах РФ №2052731, 2156924. В соответствии с этим способами осуществляют очистку воздуха с помощью фильтров грубой и тонкой очистки, после чего воздух подвергают воздействию озоновой ультрафиолетовой лампы для уничтожения различных бактерий.
Однако в результате осуществления этих способов также формируется озон в нерегулируемом количестве.
Таким образом, техническим результатом является обеспечение наилучшей очистки воздуха от различных загрязнений в помещениях без превышения предельно допустимых концентраций озона и аэроионов, отрицательно влияющих на здоровье человека.
Указанный результат достигается за счет того, что способ очистки воздуха в помещении с помощью устройства очистки воздуха, состоящего из двух камер, связанных между собой воздуховодом, упомянутая первая камера содержит вентилятор, фильтры грубой очистки для очистки воздуха от крупных загрязнений, фильтры тонкой очистки для очистки воздуха от мелких загрязнений и фильтры-поглотители различных запахов, при этом упомянутый вентилятор предназначен для подачи очищаемого воздуха в первую камеру и пропускания этого воздуха через упомянутые фильтры путем создания перепада давления на указанных фильтрах, упомянутая вторая камера содержит расположенные на расстоянии друг от друга кварцевые трубы и по меньшей мере один фотокатализатор, при этом по меньшей мере одна кварцевая труба проходит через вторую камеру и предназначена для вывода части воздуха, поступающего из первой камеры, в помещение, а по меньшей мере вторая кварцевая труба предназначена для подачи воздуха из первой камеры в полость второй камеры, при этом внутри этой кварцевой трубы установлена безозоновая ультрафиолетовая бактерицидная лампа, отстоящая от стенок этой кварцевой трубы на расстоянии, обеспечивающем прохождение воздуха по этой кварцевой трубе в полость второй камеры, кроме того, стенки упомянутой по меньшей мере второй кварцевой трубы являются прозрачными для пропускания излучения, создаваемого безозоновой ультрафиолетовой бактерицидной лампой, в полость второй камеры и во внутрь упомянутой по меньшей мере одной кварцевой трубы, предназначенной для вывода части воздуха, поступающего из первой камеры, в помещение, упомянутый способ заключается в том, что:
с помощью вентилятора подают очищаемый воздух в первую камеру, где с помощью упомянутых фильтров очищают воздух от крупных и мелких загрязнений и от различных запахов, для чего очищаемый воздух последовательно пропускают через фильтры грубой очистки, фильтры тонкой очистки и затем фильтры-поглотители различных запахов,
затем часть очищенного воздуха по упомянутой по меньшей мере одной кварцевой трубе выводят из устройства очистки воздуха в помещение, а другую часть воздуха через воздуховод подают в полость второй камеры, где
поступающий воздух пропускают по упомянутой по меньшей мере второй кварцевой трубе и очищают от различных микроорганизмов путем облучения воздуха безозоновой ультрафиолетовой бактерицидной лампой,
после чего воздух из этой кварцевой трубы подают в полость второй камер, где этот воздух и воздух, проходящий по упомянутой по меньшей мере одной кварцевой трубе воздуховода, также подвергают дополнительной очистке от микроорганизмов с помощью излучения, создаваемого упомянутой безозоновой бактерицидной лампой и прошедшего через прозрачные стенки кварцевой трубы,
после этого воздух во второй камере очищают от газообразных загрязнений с помощью по меньшей мере одного фотокатализатора путем окисления газообразных загрязнений на поверхности фотокатализатора,
подают очищенный воздух из по меньшей мере одного фотокатализатора второй камеры в помещение.
В частном варианте упомянутые крупные загрязнения являются волокнами и крупной пылью.
В другом частном варианте упомянутые мелкие загрязнения являются пылинки размером до 0,3 мкм и менее.
Еще в одном частном варианте упомянутые фильтры поглотители различных запахов содержат древесный уголь.
В другом частном варианте первая камера содержит приемную решетку, через которую поступает воздух с помощью вентилятора на упомянутые фильтры.
Согласно другому частному варианту, упомянутая безозоновая ультрафиолетовая бактерицидная лампа состоит из множества источников безозонового ультрафиолетового бактерицидного излучения.
Согласно еще одному варианту, подают очищенный воздух из по меньшей мере одного фотокатализатора в помещение через подвижные вентиляционные решетки устройства очистки воздуха.
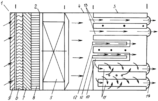
Заявленное изобретение иллюстрируется чертежом, на котором показано устройство очистки воздуха, реализующее заявленный способ.
Как видно из чертежа, устройство очистки воздуха 1 содержит две камеры 2, 3 связанные между собой воздуховодом 4. Этот воздуховод 4 и камеры 2, 3 выполняют из непылящих материалов.
В первой камере 2 содержатся вентилятор 5, фильтры грубой очистки 6 для очистки воздуха от крупных загрязнений, фильтры тонкой очистки 7 для очистки воздуха от мелких загрязнений и фильтры-поглотители части различных запахов 8.
Вентилятор 5 предназначен для забора и подачи очищаемого воздуха в первую камеру 2 и пропускания этого воздуха через фильтры 6, 7, 8 путем создания перепада давления на этих фильтрах.
Фильтры грубой очистки 6 осуществляют очистку воздуха от крупных частиц пыли и волокон, например шерсти, сажи, нитей, волос и т.п.
Фильтры тонкой очистки 7 осуществляют очистку воздуха от пылинок размером до 0,3 мкм и менее. Эти фильтры 7 могут являться фильтрами класса НЕРА с бактерицидной пропиткой материала фильтра. Однако могут быть и другие варианты выполнения этих фильтров.
Кроме этого фильтры 8 содержат древесный уголь. Однако могут содержат и другие адсорбционные материалы.
Кроме того первая камера 2 имеет приемную решетку 9, через которую очищаемый воздух с помощью вентилятора поступает в первую камеру 2 и проходит через указанные выше фильтры 6, 7, 8. Эта приемная решетка имеет минимальное аэродинамическое сопротивление по сравнению с фильтрами 6, 7, 8 и может быть прикреплена к корпусу первой камеры 2 с помощью петель, обеспечивающих доступ, открытие и закрытие камеры 2.
Во второй камере 3 содержатся расположенные на расстоянии друг от друга кварцевые трубы 13, 10 и фотокатализаторы 11.
Эти кварцевые трубы выполняют из кварцевого стекла. Количество кварцевых труб может варьироваться. Минимальное число кварцевых труб во второй камере 3 равно двум.
Одна или несколько, например две или более, кварцевых труб 13 проходят транзитом через вторую камеру 3, как, например, показано на чертеже. Эти трубы заканчиваются вентиляционными решетками 14 на корпусе камеры 3 и предназначены для вывода воздуха, поступающего из первой камеры 1, в помещение. Диаметр этих труб 13 подбирается таким, чтобы обеспечить прохождение воздуха по этим трубам.
В другую кварцевую трубу или другие трубы 10 второй камеры 3 поступает воздух из первой камеры 3 для дальнейшей очистки.
Внутри каждой кварцевой трубы 10 установлена безозоновая ультрафиолетовая бактерицидная лампа 12, отстоящая от стенок этой кварцевой трубы 10 на расстоянии, которое обеспечивает прохождение воздуха по этой кварцевой трубе 10 во вторую камеру 3.
Кроме того стенки каждой кварцевой трубы 10 второй камеры 3 являются прозрачными для пропускания части излучения, создаваемого упомянутой безозоновой ультрафиолетовой бактерицидной лампой 12, в полость второй камеры 3 и во внутрь упомянутой кварцевой трубы или труб 13, предназначенных для вывода части воздуха, поступающего из первой камеры 3, в помещение.
Бактерицидная лампа 12 формирует излучение, под действием которого происходит коммулятивное разрушение микроорганизмов. Так, в частном случае бактерицидную лампу можно выбрать из ряда бактерицидных ламп, формирующих излучение с длиной волны =250-315 нм. Однако специалисту в данной области техники понятно, что диапазон излучения может быть и другой.
Следует также отметить, что облучение воздуха лампой 12 может производиться однократно либо многократно (так как это предусмотрено в полезной модели РФ №25413).
Фотокатализаторы 11 предназначены для разложения газообразных загрязнителей воздуха бытового и промышленного происхождения (выхлопные газы, угарный газ, окислы азота, формальдегиды, фенол, аммиак, сероводород, хлоро- и кислотосодержащие углеводороды, ароматические и гетероциклические канцерогены) до углекислого газа, водяного пара, а также для удаления табачных и пищевых запахов.
Описанное выше устройство очистки воздуха реализует способ очистки воздуха, который включает в себя следующие основные этапы:
1) очистка воздуха от крупных и мелких загрязнений, а также поглощение различных запахов;
2) бактерицидное облучение воздуха для удаления различных микроорганизмов;
3) фотокаталитическое разложение газообразных загрязнителей бытового и промышленного происхождения.
Заявленный способ реализуется следующим образом.
Очищаемый воздух с помощью вентилятора 5 через приемную решетку 9 поступает в первую камеру 2, где он подвергается очистке от крупных и мелких загрязнений и от различных запахов. Для этого поступивший воздух за счет перепада давления, создаваемого вентилятором, последовательно проходит через фильтры грубой очистки 6, фильтры тонкой очистки 7 и фильтры-поглотители 8.
После чего очищенный таким образом воздух поступает в воздуховод 4, где этот воздух разделяется на части. Одна часть из воздуховода проходит в кварцевые трубы 13 второй камеры 3 и поступает в помещение. Другая часть воздуха поступает во вторую камеру 3 и проходит в кварцевую трубу или кварцевые трубы, если их несколько, 12.
Поступивший воздух в этой трубе 12 подвергают очистке от различных микроорганизмов путем облучения его с помощью лампы или ламп 10, если кварцевых труб 12 несколько.
Конструктивная возможность деления потока воздуха, очищенного от пыли, позволяет создать практически самые значительные величины доз бактерицидной обработки воздуха, которые губительны для возбудителей заболеваний, передающихся воздушно-капельным путем.
Для каждого канала (каждой кварцевой трубы) 12 протекания воздуха 1 n i может быть подобран источник бактерицидного облучения 10, причем доза облучения D может быть создана в диапазоне
0 D Dmax,
где Dmax – доза губительная для самых жизнестойких микроорганизмов за счет одно, или многократного воздействия бактерицидного излучения на очищаемый воздух.
После очистки в кварцевой трубе или кварцевых труб 12 очищенный воздух поступает в полость второй камеры 3, где он повторно подвергается облучению лампой или лампами 10 за счет того, что часть излучения, сформированного этой лампой или лампами 10, прошла через стенки кварцевой трубы или труб 12 в полость второй камеры 3. Этому же облучению подвергается и обеспыленный воздух, который проходит в этот момент по трубам 13, проходящим по второй камере 3.
Таким образом, выполнение этой операции производит дополнительное и эффективное дезинфицирующее действие на микроорганизмы в камере 3.
После этого воздух во второй камере 3, за исключением воздуха, проходящего по трубам воздуховода, проходящим транзитом по второй камере 3, очищают от различных газообразных загрязнений с помощью фотокатализатора или фотокатализаторов 9, если их несколько.
После этого очищенный от газообразных загрязнителей воздух возвращается в помещение через подвижные вентиляционные решетки 14, позволяющие управлять направлением потока воздуха, очищенного от пыли, микроорганизмов и газообразных вредных веществ и запахов.
Формула изобретения
1. Способ очистки воздуха в помещении с помощью устройства очистки воздуха, состоящего из двух камер, связанных между собой воздуховодом, упомянутая первая камера содержит вентилятор, фильтры грубой очистки для очистки воздуха от крупных загрязнений, фильтры тонкой очистки для очистки воздуха от мелких загрязнений и фильтры-поглотители различных запахов, при этом упомянутый вентилятор предназначен для подачи очищаемого воздуха в первую камеру и пропускания этого воздуха через упомянутые фильтры путем создания перепада давления на указанных фильтрах, упомянутая вторая камера содержит расположенные на расстоянии друг от друга кварцевые трубы и по меньшей мере один фотокатализатор, при этом по меньшей мере одна кварцевая труба проходит через вторую камеру и предназначена для вывода части воздуха, поступающего из первой камеры, в помещение, а по меньшей мере вторая кварцевая труба предназначена для подачи воздуха из первой камеры в полость второй камеры, при этом внутри этой кварцевой трубы установлена безозоновая ультрафиолетовая бактерицидная лампа, отстоящая от стенок этой кварцевой трубы на расстоянии, обеспечивающем прохождение воздуха по этой кварцевой трубе в полость второй камеры, кроме того, стенки упомянутой по меньшей мере второй кварцевой трубы являются прозрачными для пропускания излучения, создаваемого безозоновой ультрафиолетовой бактерицидной лампой, в полость второй камеры и во внутрь упомянутой по меньшей мере одной кварцевой трубы, предназначенной для вывода части воздуха, поступающего из первой камеры, в помещение, упомянутый способ заключается в том, что с помощью вентилятора подают очищаемый воздух в первую камеру, где с помощью упомянутых фильтров очищают воздух от крупных и мелких загрязнений и от различных запахов, для чего очищаемый воздух последовательно пропускают через фильтры грубой очистки, фильтры тонкой очистки и затем фильтры-поглотители различных запахов, затем часть очищенного воздуха по упомянутой по меньшей мере одной кварцевой трубе выводят из устройства очистки воздуха в помещение, а другую часть воздуха через воздуховод подают в полость второй камеры, где поступающий воздух пропускают по упомянутой по меньшей мере второй кварцевой трубе и очищают от различных микроорганизмов путем облучения воздуха безозоновой ультрафиолетовой бактерицидной лампой, после чего воздух из этой кварцевой трубы подают в полость второй камеры, где этот воздух и воздух, проходящий по упомянутой по меньшей мере одной кварцевой трубе воздуховода, также подвергают дополнительной очистке от микроорганизмов с помощью излучения, создаваемого упомянутой безозоновой бактерицидной лампой и прошедшего через прозрачные стенки кварцевой трубы, после этого воздух во второй камере очищают от газообразных загрязнений с помощью по меньшей мере одного фотокатализатора путем окисления газообразных загрязнений на поверхности фотокатализатора, подают очищенный воздух из по меньшей мере одного фотокатализатора второй камеры в помещение.
2. Способ по п.1, в котором упомянутые крупные загрязнения являются волокнами и крупной пылью.
3. Способ по п.2, в котором упомянутые мелкие загрязнения являются пылинками размером до 0,3 мкм и менее.
4. Способ по п.3, в котором упомянутые фильтры поглотители различных запахов содержат древесный уголь.
5. Способ по п.4, в котором первая камера содержит приемную решетку, через которую поступает воздух с помощью вентилятора на упомянутые фильтры.
6. Способ по п.5, в котором упомянутая безозоновая ультрафиолетовая бактерицидная лампа состоит из множества источников безозонового ультрафиолетового бактерицидного излучения.
7. Способ по п.6, в котором подают очищенный воздух из по меньшей мере одного фотокатализатора в помещение через подвижные вентиляционные решетки устройства очистки воздуха.
РИСУНКИ
PC4A – Регистрация договора об уступке патента Российской Федерации на изобретение
(73) Патентообладатель(и):
Закрытое акционерное общество Научно-проектное внедренческое общество “НГС-оргпроектэкономика”
(73) Патентообладатель:
Общество с ограниченной ответственностью “Компания МБЛ”
(73) Патентообладатель:
Морозов Александр Петрович
(73) Патентообладатель:
Ядлось Тарас Михайлович
(73) Патентообладатель:
Иванец Виктор Константинович
(73) Патентообладатель:
Лаптев Николай Иванович
Дата и номер государственной регистрации перехода исключительного права: 24.12.2007 № РД0030767
Извещение опубликовано: 10.02.2008 БИ: 04/2008
MM4A – Досрочное прекращение действия патента СССР или патента Российской Федерации на изобретение из-за неуплаты в установленный срок пошлины за поддержание патента в силе
Дата прекращения действия патента: 01.07.2008
Извещение опубликовано: 27.06.2010 БИ: 18/2010
|