|
|
(21), (22) Заявка: 2004113691/02, 05.05.2004
(24) Дата начала отсчета срока действия патента:
05.05.2004
(45) Опубликовано: 20.08.2005
(56) Список документов, цитированных в отчете о поиске:
ПТУРС 9М115, ТЕХНИЧЕСКОЕ ОПИСАНИЕ, М.: ВОЕННОЕ ИЗДАТЕЛЬСТВО МО СССР, 1978. RU 2103655 C1, 27.01.1998. RU 2166724 C1, 10.05.2001. RU 35881 U1, 10.02.2004. GB 1311747 A, 28.03.1973. DE 3924810 A, 07.02.1991. GB 2010760 A, 04.07.1979.
Адрес для переписки:
300001, г.Тула, ул. Щегловская засека, ГУП “Конструкторское бюро приборостроения”, Зам. главного инженера А.В.Морозову
|
(72) Автор(ы):
Захаров Л.Г. (RU), Галантэ А.И. (RU), Сотников В.А. (RU), Гусаров Н.И. (RU), Андреев М.И. (RU)
(73) Патентообладатель(и):
Государственное унитарное предприятие “Конструкторское бюро приборостроения” (RU)
|
(54) УПРАВЛЯЕМАЯ РАКЕТА В КОНТЕЙНЕРЕ
(57) Реферат:
Изобретение относится к области вооружения. Управляемая ракета в транспортно-пусковом контейнере содержит рули, стартовый и маршевый двигатели, блок стабилизатора, состоящий из упругих консолей, сложенных вокруг корпуса, на одной из которых закреплен трассер, установленный в плоскости, проходящей через ось контейнера и продольную ось трассера и смещенной от вертикальной плоскости симметрии. Углы смещения плоскостей установки трассера и рулей от вертикальной плоскости симметрии со стороны хвостовой части ракеты находятся в диапазонах 50÷70 градусов в направлении против часовой стрелки и 30÷60 градусов в направлении по часовой стрелке соответственно. Масса трассера составляет 0,0075÷0,015 массы ракеты. При использовании изобретения повышается вероятность встреливания управляемой ракеты в поле зрения прибора на начальном участке полета. 9 ил. 
Изобретение относится к области вооружения, в частности к управляемым ракетам (УР), запускаемым с малыми начальными скоростями из транспортно-пусковых контейнеров (ТПК).
Известная управляемая ракета 9М115 противотанкового ракетного комплекса (ПТРК), принятая за прототип [1], которая включает:
– ТПК с зацепом, расположенным в вертикальной плоскости,
– УР, выполненную по аэродинамической схеме «Утка», с одноканальной системой управления, состоящую из последовательно расположенных блоков:
– отсека управления с рулями, расположенными в одной плоскости;
– маршевого двигателя (МД);
– боевой части;
– блока стабилизатора с тремя упругими консолями, сложенными вокруг корпуса;
– стартового двигателя.
Ракета снабжена трассером, установленным на одной из консолей стабилизатора в плоскости, проходящей через ось трассера и продольную ось контейнера, смещенной от вертикальной плоскости симметрии, и рулями, установленными произвольно в горизонтальной плоскости.
УР запускается из ТПК стартовым двигателем с начальной скоростью 50÷70 м/с. После раскрытия консолей стабилизатора (t=0,05÷0,07 с) трассер фиксируется на конце одной из консолей. Включение маршевого двигателя происходит через 0,10÷0,15 с после выхода УР из ТПК. Данная конструкция УР характерна тем, что:
– имеет дебаланс масс относительно продольной оси как при движении по ТПК, так и после выхода из него;
– имеет различную величину аэродинамического стабилизирующего момента в двух взаимно перпендикулярных плоскостях: в плоскости рулей и перпендикулярной к ней плоскости.
Дебаланс масс является следствием наличия трассера, который при движении УР по ТПК находится на расстоянии (RТПК – Rтрассера) от оси УР, а при выходе УР из ТПК на расстоянии (Lконсоли+КУР) от оси УР. Здесь RТПК – радиус ТПК, Rтрассера – радиус установки трассера, Lконсоли – размах консоли стабилизатора, RУР – радиус УР в месте крепления консоли стабилизатора.
Наличие дебаланса масс приводит к увеличению рассеивания УР на начальном участке полета вследствие возникновения систематического начального возмущения при движении УР по ТПК и создания дополнительного эксцентриситета тяги после включения маршевого двигателя.
Кроме того, аэродинамическая несимметрия планера УР, обусловленная произвольной установкой рулей в горизонтальной плоскости, также приводит к увеличению рассеивания УР на начальном участке полета, т.к. степень воздействия бокового ветра на УР существенно зависит от углового положения рулей в момент выхода УР из ТПК, что в совокупности с дебалансом масс значительно снижает вероятность встреливания в поле зрения прибора наведения и, как следствие, эффективность ПТРК в целом.
Указанные недостатки особенно ощутимы при стрельбе с носимой ПУ, линия визирования которой проходит на высоте 0,7÷1,0 м над поверхностью земли, а начальная скорость УР составляет 30÷70 м/с.
Задачей данного изобретения является повышение вероятности встреливания УР в поле зрения прибора наведения путем уменьшения отклонений УР относительно заданной (оптимальной) траектории на начальном участке полета за счет уменьшения влияния дебаланса масс и аэродинамической не симметрии планера УР.
Это достигается тем, что в управляемой ракете в контейнере, содержащей рули, установленные в горизонтальной плоскости, стартовый и маршевый двигатели, блок стабилизатора, состоящий из упругих консолей, сложенных вокруг корпуса, на одной из которых закреплен трассер, установленный в плоскости, проходящей через ось контейнера и продольную ось трассера и смещенной от вертикальной плоскости симметрии, углы смещения плоскостей установки трассера и рулей в направлении от вертикальной плоскости симметрии со стороны хвостовой части УР находятся в диапазоне 50÷70 градусов в направлении против часовой стрелки и 30÷60 градусов в направлении по часовой стрелке соответственно, при этом масса трассера составляет 0,0075÷0,015 массы УР.
Предлагаемое техническое решение позволяет увеличить вероятность встреливания в поле зрения прибора наведения за счет уменьшения рассеивания управляемой ракеты на начальном участке полета и уменьшить боковые отклонения УР от воздействия бокового ветра, обеспечивая при этом встреливание УР в поле зрения прибора наведения при начальной скорости до 20÷30 м/с.
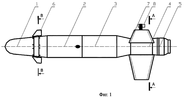
Иллюстрации, поясняющие принцип действия предлагаемого технического решения, приведены на фиг.1÷9.
На фиг.1, 2, 3 приведена схема конструкции УР. На фиг.4, 5, 6 УР в ТПК. На фиг.7 приведено значение отклонения УР (Z) на участке входа в поле зрения прибора наведения в зависимости от углового положения трассера ( ) относительно вертикальной плоскости симметрии. На фиг.8 приведено значение бокового отклонения УР (Z) от воздействия бокового ветра (Wx) при угловом положении консолей рулей ( ) на участке входа УР в поле зрения прибора наведения. На фиг.9 приведено значение вероятности встреливания в поле зрения прибора наведения в зависимости от значений отклонения УР от заданной траектории полета.
УР (фиг.1, 2, 3) состоит из последовательно расположенных блоков:
– отсека управления 1 с рулями 6;
– маршевого двигателя 2;
– боевой части 3;
– блока стабилизатора 4 с упругими консолями 7, на одной из которых установлен трассер 8;
– катушки проводной линии связи 5.
УР, размещенная в ТПК 9 (фиг.4, 5, 6), фиксируется в заданном положении, определяемом рисками 10 и 10′, нанесенными на донной части корпуса УР и на поверхности ТПК в районе задней крышки соответственно. Упругая консоль (стабилизатор) в сложенном состоянии вместе с трассером удерживается стяжкой 11, консоли рулей 6 установлены на оси и сложены в контейнере на боковую поверхность корпуса УР. ТПК 9 крепится на ПУ с помощью зацепа 12, расположенного в вертикальной плоскости симметрии с осью ТПК.
Положение трассера в ТПК определяется углом между вертикальной плоскостью симметрии и плоскостью, проходящей через ось контейнера и трассера.
После выхода из ТПК полет УР происходит по баллистической траектории. К началу управления (t=0,3÷0,5 с) ракета встреливается в поле зрения прибора наведения ПУ. Наличие дебаланса масс трассера создает эксцентриситет от стартового (в ТПК) и маршевого двигателей (tвклМД=0,08÷0,12 с), что приводит при произвольной ориентации УР в ТПК к отклонению как по курсу, так и по тангажу. Особенно существенно сказывается влияние бокового ветра на отклонение по курсу УР с несимметричными аэродинамическими характеристиками (рули в одной плоскости).
Экспериментальным путем установлено, что отношение масс трассера и УР, находящееся в пределах от 0,0075 до 0,015, в совокупности с положением УР в ТПК, при котором угол между вертикальной плоскостью симметрии и осью трассера находится в диапазоне от 50 до 70 градусов, а угол между вертикальной плоскостью симметрии и осью рулей в диапазоне от 30 до 60 градусов, обеспечивает минимальное отклонение УР на начальном участке полета от расчетной траектории, величина которого не превышает 0,2 м, вероятность встреливания Р при этом оценивается значением Р=0,94÷0,96.
Применение предлагаемого технического решения на малогабаритных УР, имеющих в своей конструкции трассер и рули в одной плоскости, позволяет:
– повысить вероятность встреливания в поле зрения прибора наведения;
– повысить эффективность динамики полета УР на начальном участке;
– и, как следствие, эффективность ПТРК в целом.
Источники информации
1. ПТУРС 9М115: Техническое описание 9К115. – М.: Военное издательство МО СССР, 1978 г.
Формула изобретения
Управляемая ракета в транспортно-пусковом контейнере, содержащая рули, стартовый и маршевый двигатели, блок стабилизатора, состоящий из упругих консолей, сложенных вокруг корпуса, на одной из которых закреплен трассер, установленный в плоскости, проходящей через ось контейнера и продольную ось трассера и смещенной от вертикальной плоскости симметрии, отличающийся тем, что углы смещения плоскостей установки трассера и рулей от вертикальной плоскости симметрии со стороны хвостовой части ракеты находятся в диапазонах 50÷70 градусов в направлении против часовой стрелки и 30÷60 градусов в направлении по часовой стрелке соответственно, при этом масса трассера составляет 0,0075÷0,015 массы ракеты.
РИСУНКИ
|
|