|
|
(21), (22) Заявка: 2004111399/02, 14.04.2004
(24) Дата начала отсчета срока действия патента:
14.04.2004
(45) Опубликовано: 20.08.2005
(56) Список документов, цитированных в отчете о поиске:
ВЫСТРЕЛ 3УБК10 С УПРАВЛЯЕМЫМ СНАРЯДОМ 9М117, ТЕХНИЧЕСКОЕ ОПИСАНИЕ И ИНСТРУКЦИЯ ПО ЭКСПЛУАТАЦИИ, 3 УБК 10.00.00.000 ТО, М., ВОЕННОЕ ИЗДАТЕЛЬСТВО, 1987, с.26, рис.16. RU 2167386 C1, 20.05.2001. RU 2087841 C1, 20.08.1997. RU 2046060 C1, 20.10.1995. RU 2066834 С1, 20.09.1996. RU 2121648 C1, 10.11.1998. US 5423497 А, 13.06.1995. GB 2338461 А,
Адрес для переписки:
300001, г.Тула, Щегловская засека, ГУП “Конструкторское бюро приборостроения”, Зам. главного инженера А.В.Морозову
|
(72) Автор(ы):
Зыбин И.М. (RU), Фимушкин В.С. (RU)
(73) Патентообладатель(и):
Государственное унитарное предприятие “Конструкторское бюро приборостроения” (RU)
|
(54) БЛОК РУЛЕВОГО ПРИВОДА УПРАВЛЯЕМОГО СНАРЯДА
(57) Реферат:
Изобретение относится к области вооружения. Блок рулевого привода управляемого снаряда содержит шпангоут, рули, рулевую машину со штоком. Рулевая машина жестко закреплена со шпангоутом, на конце штока укреплено водило с отверстием, перпендикулярным оси поршня, с размещенным в нем вкладышем. Во вкладыше выполнено отверстие, в котором установлен цилиндрический палец, укрепленный на рычаге, соединенном с рулями. При использовании изобретения повышается надежность работы блока рулевого привода. 3 ил. 
(56) (продолжение):
CLASS=”b560m”22.12.1999.
Изобретение относится к области вооружения, конкретно к ракетной технике.
Известен управляемый снаряд 9M117 (“Техническое описание и инструкция по эксплуатации”. М.: Воениздат 1987 г) с блоком рулевого привода, принятого на прототип.
Блок рулевого привода двухканальный, каждая пара рулей соединяется осью, на которой укреплен рычаг, соединенный со штоком поршня рулевого машины. Шток поршня имеет на конце два отверстия. Для обеспечения преобразования возвратно-поступательного движения поршня во вращательный поворот на оси рулей установлена дополнительная ось по каждому каналу. Оси рулей и дополнительные оси устанавливаются в подшипниках, размещенных в шпангоуте.
Шток соединяется с рычагом оси руля и с рычагом дополнительной оси с помощью осей и фиксируется шплинтами. Рычаги на конце имеют вилку, в которую входит шток.
Такое конструктивное исполнение усложняет конструкцию рулевого привода, повышает вес и ухудшает надежность работы блока рулевого привода.
Задачей предлагаемого изобретения являет упрощение конструкции, снижение веса и значительное повышение надежности работы блока рулевого привода.
Предложен блок рулевого привода управляемого снаряда, в котором рулевая машина жестко закреплена к шпангоуту, на конце штока укреплено водило с отверстием, перпендикулярным оси поршня с размещенным в нем вкладышем, во вкладыше выполнено отверстие, в котором установлен цилиндрический палец, укрепленный на рычаге, соединенном с рулями.
Предложенное изобретение иллюстрируется графическим чертежом.
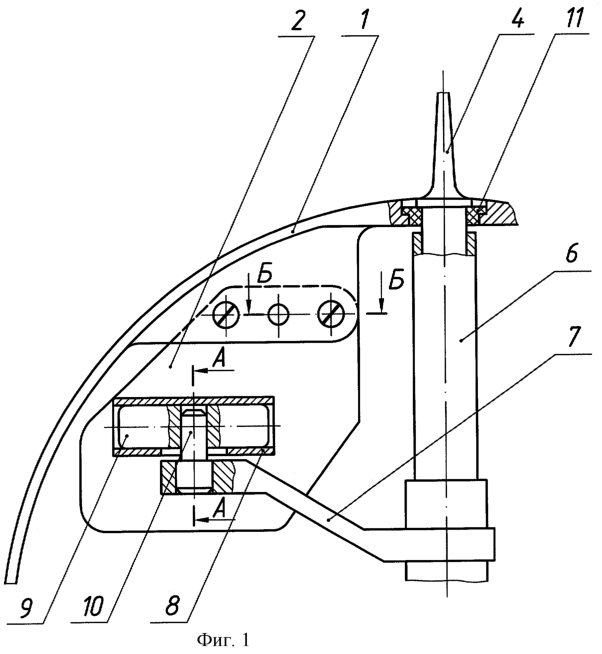
На фиг.1, 2, 3 представлен блок рулевого привода. Он состоит из шпангоута 1, рулевой машины 2 с корпусом 3, рулей 4, штока 5. Рули 4 соединены осью 6, на оси 6 установлен рычаг 7.
На конце штока укреплено водило 8, в отверстия водила установлен вкладыш 9, в который входит палец 10, укрепленный на рычаге 7. Рули устанавливаются в подшипниках 11.
Рулевая машина 2 крепится к приливу шпангоута 1 винтами 12 и направляется установочным штифтом 13, запрессованным в корпусе 3 рулевой машины 2.
Водило 8 крепится к штоку 5 гайкой 14.
Принцип действия
Газ из источника питания поступает в рулевую машину 2, под действием перепада давления, действующего на поршень со штоком 5, шток перемещается вместе с водилом 8. Вкладыш перемещается перпендикулярно движению штока и взаимодействует с пальцем 10.
Таким образом осуществляется передача возвратно-поступательного движения штока в поворот рулей 4.
Проведенные лабораторно-стендовые и летные испытания блока рулевого привода управляемого снаряда подтвердили надежную его работу с частотой автоколебания до 150 Гц в диапазоне рабочих температур ±50°С и высокой степенью точности.
Формула изобретения
Блок рулевого привода управляемого снаряда, содержащий шпангоут, рули, рулевую машину со штоком, отличающийся тем, что рулевая машина жестко закреплена со шпангоутом, на конце штока укреплено водило с отверстием, перпендикулярным оси поршня, с размещенным в нем вкладышем, во вкладыше выполнено отверстие, в котором установлен цилиндрический палец, укрепленный на рычаге, соединенном с рулями.
РИСУНКИ
|
|