|
|
(21), (22) Заявка: 2004107986/02, 18.03.2004
(24) Дата начала отсчета срока действия патента:
18.03.2004
(45) Опубликовано: 20.08.2005
(56) Список документов, цитированных в отчете о поиске:
RU 2106593 C1, 10.03.1998. RU 2165580 C1, 20.04.2001. RU 2070715 C1, 20.12.1996. RU 2107245 C1, 20.03.1998. RU 2107251 C1, 20.03.1998. GB 1410001 A, 15.10.1975.
Адрес для переписки:
300001, г.Тула, Щегловская засека, ГУП “Конструкторское бюро приборостроения”, Зам. главного инженера А.В.Морозову
|
(72) Автор(ы):
Шипунов А.Г. (RU), Захаров Л.Г. (RU), Зыбин И.М. (RU), Копылов Ю.Д. (RU)
(73) Патентообладатель(и):
Государственное унитарное предприятие “Конструкторское бюро приборостроения” (RU)
|
(54) УПРАВЛЯЕМЫЙ СНАРЯД, ВЫСТРЕЛИВАЕМЫЙ ИЗ ПУСКОВОГО КОНТЕЙНЕРА С ОТДЕЛЯЮЩЕЙСЯ ПЕРЕДНЕЙ КРЫШКОЙ
(57) Реферат:
Изобретение относится к области вооружения. Управляемый снаряд включает головной обтекатель, в носовой части которого выполнена кольцевая поверхность между воздухозаборным отверстием и наружным контуром, и на длине 0,2-0,4 от длины обтекателя выполнено утолщение переменного сечения. При использовании изобретения повышается надежность запуска снаряда из контейнера. 2 ил. 
Изобретение относится к области вооружения, конкретно к ракетной технике.
Известен управляемый снаряд 9МIII, выстреливаемый из пускового контейнера («Техническое описание и инструкция по эксплуатации». М.: Воениздат, 1975).
Запуск снаряда осуществляется после открытия передней крышки контейнера после подачи электрического сигнала на электровоспламенитель. При этом крышка вращается на оси с последующей ее фиксацией.
Известен управляемый снаряд, выстреливаемый из пускового контейнера, патент RU 2103593.
При запуске управляемого снаряда отделение передней крышки контейнера осуществляется носовой частью снаряда. При отделении передней крышки головной обтекатель должен преодолеть усилие заделки передней крышки в пусковой трубе.
Задачей предлагаемого изобретения является повышение надежности запуска снаряда из контейнера и отделения носовой частью снаряда передней крышки контейнера с обеспечением аэродинамических и прочностных характеристик снаряда при минимальном весе головного обтекателя.
Предложен управляемый снаряд, выстреливаемый из контейнера с отделяющейся передней крышкой, включающий головной обтекатель, соединенный со шпангоутом, в котором в носовой части головного обтекателя выполнена кольцевая поверхность между воздухозаборным отверстием и наружным контуром и на длине (0,2÷0,4) от длины обтекателя выполнено утолщение переменного сечения.
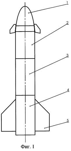
Изобретение иллюстрируется чертежами. На фиг.1 представлен управляемый снаряд, на фиг.2 – его головной отсек.
Управляемым снаряд состоит из головного отсека 1, двигателя 2, боевой части 3, аппаратурного отсека 4, крыльев 5.
В состав головного отсека входит блок рулевого привода 6, головной обтекатель 7, который имеет воздухозаборное отверстие 8, участок с переменной толщиной 9, кольцевая поверхность 10.
Головной обтекатель крепится к шпангоуту 11 винтами 12.
Принцип действия
При движения управляемого снаряда по контейнеру носовой части снаряда происходит открытие передней крышки контейнера. При этой возникает нагрузка на головной обтекатель. Экспериментальной отработкой выбрано утолщение носовой части головного обтекателя переменой толщины, переходящее в толщину элепсовидной формы с обеспечением требований аэродинамики, при этом длина обтекателя с переменной толщиной составляет (0,2÷0,4) от общей длины головного обтекателя.
Такое конструктивное выполнение головного обтекателя позволяет обеспечить надежное отделение крышка контейнера с одновременным обеспечением требуемой аэродинамики, прочности при минимальном весе головного обтекателя и снаряда в целом.
Формула изобретения
Управляемый снаряд, выстреливаемый из контейнера с отделяющейся передней крышкой, включающий головной обтекатель, отличающийся тем, что в носовой части головного обтекателя выполнена кольцевая поверхность между воздухозаборным отверстием и наружным контуром и на длине 0,2-0,4 длины обтекателя выполнено утолщение переменного сечения.
РИСУНКИ
|
|