|
| На основании пункта 3 статьи 13 Патентного закона Российской Федерации от 23 сентября 1992 г. № 3517-I патентообладатель обязуется передать исключительное право на изобретение (уступить патент) на условиях, соответствующих установившейся практике, лицу, первому изъявившему такое желание и уведомившему об этом патентообладателя и федеральный орган исполнительной власти по интеллектуальной собственности, – гражданину РФ или российскому юридическому лицу. |
|
(21), (22) Заявка: 2004110075/02, 02.04.2004
(24) Дата начала отсчета срока действия патента:
02.04.2004
(43) Дата публикации заявки: 20.10.2004
(45) Опубликовано: 20.08.2005
(56) Список документов, цитированных в отчете о поиске:
ж. ОРУЖИЕ, изд. “ТЕХНИКА-МОЛОДЕЖИ”, №7, 2002 г., стр.50. RU 2186329 С2, 27.07.2002. RU 2059189 C1, 27.04.1996. US 3602143 A, 31.08.1971. US 3507220 А, 21.04.1970.
Адрес для переписки:
644076, г.Омск, а/я 1022, А.В. Глухову
|
(72) Автор(ы):
Глухов А.В. (RU)
(73) Патентообладатель(и):
Глухов Александр Владимирович (RU)
|
(54) ПОДДОН ДЛЯ ПОДКАЛИБЕРНОГО СНАРЯДА
(57) Реферат:
Изобретение относится к боеприпасам. Поддон выполнен составным, размещен внутри гильзы унитарного патрона для гладкоствольного ружья, содержит внутреннюю металлическую гильзу, в полости которой размещен метаемый подкалиберный снаряд и которая имеет дульный фланец, который выполнен по калибру ствола и каморы надульного средства для отделения поддонов от снарядов. Ширина фланца больше ширины дульного внутреннего буртика, который имеется на каморе и служит для фиксации движущегося поддона. Имеется калиберная полимерная гильза, которая охватывает внутреннюю металлическую гильзу и которая имеет казенную обтюрирующую манжету, выполненную с возможностью ее расширения для обтюрации пороховых газов, которые воздействуют на казенную часть движущегося по каналу ствола поддона подкалиберного снаряда. Длина поддона больше диаметра газозаборного отверстия переходного газового патрубка глушителя оружия. Технический результат – повышение эксплуатационных характеристик поддона для подкалиберного снаряда, используемого как составляющая боеприпаса бесшумного тактического дробового ружья. 2 ил. 
Изобретение относится к боеприпасам, в частности к поддонам для подкалиберных снарядов, и может быть использовано как составляющая боеприпаса для бесшумного тактического дробового ружья, которое имеет надульное средство для отделения поддонов от снарядов.
Известен поддон для подкалиберного снаряда /журнал: “Оружие”, №7, 2002 г., спецвыпуск, стр.50; см. описание 40-мм подкалиберного боеприпаса для 45-мм противотанковой пушки, 1935 г., СССР/, служащий как обтюрирующий элемент для запирания пороховых газов в стволе артиллерийского орудия.
Недостатком данного устройства является его неприспособленность к бесшумному /неавтоматическому/ стрелковому оружию.
Известен поддон для подкалиберного снаряда /журнал “Оружие”, №7, 2002 г., спецвыпуск, стр.49-50; см. описание подкалиберного боеприпаса для револьвера для беззвучной стрельбы…, авторы В.Г. и И.Г. Митины, 1929 г., СССР/, являющийся наиболее близким аналогом по технической сущности к заявленному объекту, т.к. он выполнен с возможностью его применения на бесшумном /неавтоматическом/ стрелковом оружии, которое имеет надульное средство для отделения поддонов от снарядов, снабженное ручным механизмом для эжекции отработанного поддона для подкалиберного снаряда.
Недостатком данного устройства является его неприспособленность к бесшумному тактическому дробовому ружью, имеющему возможность стрельбы дробовым снарядом – без применения дробового контейнера.
Технической задачей является повышение эксплуатационных характеристик поддона для подкалиберного снаряда, используемого как составляющая боеприпаса бесшумного тактического дробового ружья.
Технический результат достигается тем, что поддон для подкалиберного снаряда выполнен с возможностью его применения на бесшумном неавтоматическом стрелковом оружии, которое имеет надульное средство для отделения поддонов от снарядов, снабженное ручным механизмом для эжекции отработанного поддона для подкалиберного снаряда, при этом имеется составной поддон для подкалиберного снаряда, содержащий: внутреннюю охватываемую металлическую гильзу, которая служит для размещения в ее полости метаемого снаряда и которая снабжена дульным фланцем, выполненным по калибру ствола и каморы надульного средства для отделения поддонов от снарядов, при этом ширина дульного фланца поддона для подкалиберного снаряда больше ширины дульного внутреннего буртика, который имеется на каморе надульного средства для отделения поддонов от снарядов и служит для обеспечения фиксации движущегося поддона подкалиберного снаряда, с возможностью выхода метаемого снаряда из его внутренней металлической гильзы, при этом имеется: калиберная полимерная гильза составного поддона для подкалиберного снаряда, которая охватывает внутреннюю металлическую гильзу и которая снабжена казенной обтюрирующей манжетой, выполненной с возможностью ее саморасширения для обтюрации в канале ствола оружия пороховых газов, которые воздействуют на казенную часть поддона для подкалиберного снаряда, который движется по каналу ствола бесшумного тактического дробового ружья, а также длина составного поддона для подкалиберного снаряда, больше размера газозаборного отверстия патрубка параллельного глушителя оружия, которое размещено позади каморы надульного средства для отделения поддонов от снарядов относительно направления движения составного поддона для подкалиберного снаряда по каналу ствола бесшумного тактического дробового ружья.
Отличительные признаки, в заявленной совокупности, проявляют новое свойство – возможность выполнения поддона для подкалиберного снаряда в форме составного обтюрирующего элемента, который содержит внутреннюю металлическую гильзу, снабженную дульным фланцем, и калиберную полимерную гильзу, которая охватывает внутреннюю металлическую гильзу, а также снабжена казенной обтюрирующей манжетой, которая выполнена с возможностью ее саморасширения при воздействии пороховых газов на казенную часть составного поддона для подкалиберного снаряда при выстреле.
Технический результат обеспечивается тем, что составной поддон для подкалиберного снаряда имеет улучшенные эксплуатационные характеристики, что позволяет применить его как составляющую боеприпаса для бесшумного тактического дробового ружья, имеющего надульное средство для отделения поддонов от снарядов, а также глушитель, размещенный продольно и выше, параллельно к стволу и ствольной коробке данного оружия.
Изобретение поясняется чертежами где на:
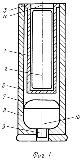
фиг.1 показано положение составного поддона для подкалиберного снаряда в гильзе снаряженного унитарного патрона для гладкоствольного ружья. Показан фронтальный разрез патрона;
фиг.2 показана работа составного поддона для подкалиберного снаряда при его использовании на бесшумном тактическом дробовом ружье, имеющем: надульное средство для отделения поддонов от снарядов, а также параллельный глушитель. Показано во фронтальном разрезе дульной части оружия.
Поддон для подкалиберного снаряда содержит: внутреннюю металлическую гильзу 1 /фиг.1, 2/, служащую для размещения в ее полости метаемого подкалиберного снаряда 2, а также имеющую дульный фланец 3, ширина которого больше ширины дульного внутреннего буртика 4, имеющегося на каморе /надульного средства для отделения поддонов от снарядов 5, также имеется калиберная полимерная гильза 6, которая охватывает внутреннюю металлическую гильзу и имеет казенную обтюрирующую манжету 7. Также на чертежах показаны гильза патрона для гладкоствольного ружья 8 /фиг.1, 2/; капсюль гильзы 9; пороховой /полу/ заряд 10; верхний /дробовой/ пыж 11; гладкий ствол ружья 12; газозаборное отверстие /переходного газового/ патрубка 13; параллельный глушитель 14.
Поддон для подкалиберного снаряда работает следующим образом. При выстреле под воздействием пороховых газов /на фиг.2 – показаны стрелками/ составной поддон для подкалиберного снаряда /1, 6/ движется по каналу ствола /12/ и проходит мимо газозаборного отверстия /переходного газового/ патрубка 13 глушителя, величина проходного сечения которого меньше длины составного поддона для подкалиберного снаряда /на фиг.2 показано как l1 и l2/, что исключает прорыв пороговых газов из канала ствола, наружу. Далее, движущийся составной поддон для подкалиберного снаряда проходит вовнутрь камеры /надульного средства для отделения поддонов от снарядов/ 5 и фиксируется с упором дульного фланца, имеющегося на внутренней металлической гильзе 1, на дульный внутренний буртик 4, имеющийся на данной камере /5/. При этом ширина дульного фланца /3/ больше ширины дульного внутреннего буртика 4 /на фиг.2 показано как h1 и h2/, что не препятствует выходу из полости внутренней металлической гильзы 1 метаемого подкалиберного снаряда 2, а также его верхнего /дробового/ пыжа 11 /на фиг.2 показано стрелками/. При этом обтюрация пороховых газов в канале ствола для их перехода в глушитель /14/ осуществляется за счет расширения казенной обтюрирующей манжеты 7, которую имеет калиберная /полимерная/ гильза 6 данного составного поддона для подкалиберного снаряда.
Заявленное устройство /поддон для подкалиберного снаряда/ применимо для бесшумного тактического дробового ружья, которое имеет надульное средство для отделения поддонов от снарядов, а также глушитель, размещенный продольно и выше, параллельно стволу и ствольной коробке данного оружия.
Формула изобретения
Поддон для подкалиберного снаряда, размещенный в гильзе унитарного патрона для стрелкового оружия и имеющий форму калиберной несущей гильзы, внутри которой размещен метаемый подкалиберный снаряд, отличающийся тем, что имеется составной поддон для подкалиберного снаряда, который размещен внутри гильзы унитарного патрона для гладкоствольного ружья и который содержит внутреннюю металлическую гильзу, в полости которой размещен метаемый подкалиберный снаряд и которая имеет дульный фланец, который выполнен по калибру ствола и каморы надульного средства для отделения поддонов от снарядов, при этом ширина данного фланца больше ширины дульного внутреннего буртика, который имеется на данной каморе и служит для фиксации движущегося поддона для подкалиберного снаряда, а также имеется калиберная полимерная гильза, которая охватывает внутреннюю металлическую гильзу данного составного поддона и которая имеет казенную обтюрирующую манжету, выполненную с возможностью ее расширения для обтюрации пороховых газов, которые воздействуют на казенную часть движущегося по каналу ствола поддона подкалиберного снаряда, при этом длина данного поддона больше диаметра газозаборного отверстия переходного газового патрубка глушителя оружия.
РИСУНКИ
|
|