|
(21), (22) Заявка: 2004124929/02, 13.08.2004
(24) Дата начала отсчета срока действия патента:
13.08.2004
(45) Опубликовано: 20.08.2005
(56) Список документов, цитированных в отчете о поиске:
Каталог “Оружие России”, т.2, М., АО “Военный парад”, 1996, с.328-329. RU 2151367 C1, 20.06.2000. RU 2107251 C1, 20.03.1998. RU 2176373 C1, 27.11.2001. GB 1588077 A, 15.04.1981. US 4165847 A, 28.08.1979. WO 2004027342, 01.04.2004. EP 0499907 A2, 26.08.1992. EP 0157112 A1, 09.10.1985.
Адрес для переписки:
300004, г.Тула, Щегловская засека, 33, ФГУП “ГНПП “Сплав”, патентный отдел
|
(72) Автор(ы):
Макаровец Н.А. (RU), Денежкин Г.А. (RU), Подчуфаров В.И. (RU), Куксенко А.Ф. (RU), Носов Л.С. (RU), Сопиков Д.В. (RU), Зотов В.Н. (RU), Батов А.Г. (RU), Базарный А.Н. (RU), Дружинин В.Е. (RU), Манчук Б.В. (RU)
(73) Патентообладатель(и):
Федеральное Государственное унитарное предприятие “Государственное научно-производственное предприятие “Сплав” (RU)
|
(54) НЕУПРАВЛЯЕМЫЙ РЕАКТИВНЫЙ СНАРЯД
(57) Реферат:
Изобретение относится к области вооружения. Неуправляемый реактивный снаряд содержит головной взрыватель, боевую часть, ракетный двигатель твердого топлива с сопловым блоком с раструбом, лопастное оперение. Раструб соплового блока выполнен с наружным цилиндрическим участком диаметром 0,6…0,7 калибра снаряда, узлы крепления лопастей оперения выполнены в виде двух рядов выступов, расположенных на поверхности раструба. Лопасти оперения выполнены в виде плоских пластин, в закрытом положении опирающихся своей боковой поверхностью на цилиндрическую поверхность раструба. Лопасти в раскрытом положении установлены с зазором 0,15…0,25 калибра снаряда между их бортовой хордой и цилиндрической поверхностью раструба. При использовании изобретения увеличивается боевая эффективность снаряда и улучшаются его аэродинамические характеристики. 4 ил. 
Предлагаемое изобретение относится к области ракетной техники, а именно к неуправляемым реактивным снарядам (НУРС), и может найти применение при разработке новых образцов НУРС для реактивных систем залпового огня (РСЗО) наземного, морского и воздушного базирования.
Для обеспечения запуска НУРС снабжены контактным устройством, как правило, расположенным в его хвостовой части и обеспечивающим стыковку электрических цепей пусковой установки (ПУ) и снаряда.
Известен НУРС, описанный в “Боевая машина 9П138. Техническое описание и инструкция по эксплуатации”, часть 3, кн.1 М., Военное издательство, 1986 г. Он состоит из головного взрывателя, боевой части, ракетного двигателя твердого топлива (РДТТ), пластинчатого оперения и крышки с электрическими контактами. Крышка закреплена на срезе соплового блока и сбрасывается давлением в камере двигателя в начале его работы. Через контакты на крышке осуществляется стыковка пусковых цепей ПУ и НУРС.
Подобное контактное устройство, простое по конструкции и обладающее высокой надежностью, широко используется в НУРС наземного базирования, где масса отбрасываемых частей не имеет особого значения. В тоже время, при авиационном или морском базировании НУРС масса отбрасываемых частей приобретает первостепенное значение, т.к. ими могут быть повреждены планер авиационного носителя (вертолета или самолета) или надстройки морского носителя (корабля, катера и т.д.), что совершенно недопустимо.
Таким образом, задачей данного технического решения (аналога) являлась разработка НУРС достаточно простой и надежной конструкции, но не обладающей универсальностью в части ее применения с различных типов носителей.
Общими признаками с предлагаемым авторами НУРС являются наличие головного взрывателя, боевой части, РДТТ и пластинчатого оперения.
Оптимальной конструкцией НУРС, обеспечивающей возможность его применения с различных типов носителей, включая самолеты и вертолеты, являлась бы конструкция НУРС, обеспечивающая отсутствие отбрасываемых частей в контактном устройстве при его пуске.
Наиболее близким по технической сути и достигаемому техническому результату является НУРС, описанный в каталоге “Оружие России”, т.2, стр. 328-329, АО “Военный парад”, М., 1996 г.
НУРС содержит головной взрыватель, боевую часть, ракетный двигатель твердого топлива, сопловой блок с раструбом, размещенным на нем складывающимся лопастным оперением “ножевого” типа (отношение длины лопасти к ее ширине 10) и закрывающую оперение гильзу с контактными устройствами для передачи электрического импульса от ПУ на электровоспламенитель двигателя и узлом форсирования.
Узлы крепления лопастей размещены в районе выходного сечения раструба, а контактные устройства на гильзе расположены за срезом соплового блока.
Лопасти в закрытом виде размещены в теле раструба в сквозных радиальных пазах, и, частично, во внутреннем объеме раструба, их задние участки выступают за срез соплового блока.
При подаче электрического импульса на воспламенитель РДТТ последний срабатывает и воспламеняет заряд топлива, начинается истечение газов через сопловой блок; двигатель выходит на режим. По достижению тяги двигателя усилия, равного усилию форсирования, начинается движение НУРС по направляющей, гильза остается в направляющей, а лопасти удерживаются от раскрытия стенками направляющей.
В момент схода снаряда от действия давления газового потока работающего двигателя на торцевые поверхности лопастей происходит их поворот и фиксация в открытом положении, при этом участки лопастей, находившиеся во внутреннем объеме раструба соплового блока, перекрывают пазы.
Следует отметить, что использование для передачи электрического импульса от ПУ на цепи пуска НУРС контактных устройств на гильзе, которая остается в направляющей после запуска, позволило устранить отлетающие части и обеспечило универсальность применения снаряда с различных типов носителей, включая самолеты и вертолеты.
Однако нахождение части лопастей в газовом потоке и наличие сквозных пазов в раструбе (хотя и перекрытых лопастями) приводят к уменьшению тяги за счет увеличения газодинамических потерь при истечении газов по сопловому блоку.
За счет неизбежных и неравномерных (в пределах допусков на толщину лопасти и ширину паза) зазоров в соединениях лопасть – паз раструба часть газов истекает через эти зазоры, не участвуя в создании тяги, а только увеличивая газодинамический эксцентриситет. Эти факторы уменьшают дальность полета и кучность стрельбы.
Кроме того, проникающие через зазоры в пазах газы при движении НУРС по направляющей вызывают повышенную коррозию ее внутренней поверхности, что сокращает срок службы ПУ.
Нахождение в газовом потоке вызывает прогрев лопастей, что ухудшает их прочностные характеристики и может приводить к потере ими формы или поломке от действия полетных аэродинамических нагрузок. Для компенсации прогрева лопасти имеют увеличенную толщину, что повышает лобовое сопротивление снаряда и его пассивную массу, сокращая тем самым дальность стрельбы.
Для размещения лопастей в теле раструба его диаметр увеличен практически до калибра, что приводит к необходимости располагать контактные устройства на гильзе за пределами соплового блока, а это увеличивает размеры и массу гильзы и соплового блока и уменьшает аналогичные параметры боевой части.
Таким образом, известный НУРС (прототип) обладает существенными недостатками:
– размещение лопастей в сквозных пазах тела раструба ухудшает внутрибаллистические характеристики двигателя и повышает газодинамический эксцентриситет за счет истечения части газа через зазоры между пазами и лопастями, что отрицательно влияет на дальность и кучность стрельбы;
– нахождение части лопастей в газовом потоке увеличивает газодинамические потери, что ухудшает характеристики двигателя и также отрицательно влияет на дальность и кучность стрельбы;
– увеличение толщины лопасти и ее массы (для компенсации прогрева) приводит к росту лобового сопротивления НУРС и уменьшению дальности стрельбы;
– наличие сквозных пазов в раструбе и истечение через них части газов приводит к увеличенной коррозии направляющей и сокращению срока ее службы;
– размещение лопастей в теле раструба приводит к увеличению его диаметра и необходимости располагать контактные устройства на гильзе за его срезом, что (при заданных габаритах и массе) приводит к уменьшению массы боевой части и снижению боевой эффективности НУРС.
Таким образом, задачей данного технического решения (прототипа) являлось обеспечение возможности использования в системах залпового огня, размещенных на различных носителях, включая самолеты и вертолеты, но не обладающего достаточно высокими характеристиками и боевой эффективностью.
Общими признаками с предлагаемым авторами НУРС являются наличие головного взрывателя, боевой части, ракетного двигателя твердого топлива с сопловым блоком и раструбом с узлами крепления оперения, складывающегося лопастного оперения и закрывающей оперение гильзы с контактными устройствами и узлом форсирования.
В отличие от прототипа в предлагаемом НУРС раструб соплового блока выполнен с наружным цилиндрическим участком диаметром 0,6…0,7 калибра снаряда, узлы крепления лопастей выполнены в виде двух рядов выступов, расположенных на поверхности раструба, лопасти оперения выполнены в виде плоских пластин, в закрытом положении опирающихся на цилиндрическую поверхность раструба, а контактные устройства гильзы расположены в диаметрально противоположных сегментах, образованных наружной поверхностью лопастей и внутренней поверхностью гильзы, при этом лопасти в раскрытом положении установлены с зазором 0,15…0,25 калибра снаряда между их бортовой хордой и цилиндрической поверхностью раструба.
Именно это позволяет сделать вывод о наличии причинно-следственной связи между совокупностью существенных признаков заявляемого технического решения и достигаемыми техническими результатами.
Указанные признаки, отличительные от прототипа и на которые распространяется испрашиваемый объем правовой защиты, во всех случаях достаточны.
Задачей предлагаемого изобретения является повышение боевой эффективности НУРС путем увеличения массы боевой части за счет сокращения его пассивной массы, улучшения внутрибаллистических характеристик двигателя и аэродинамических характеристик самого снаряда.
Новая совокупность конструктивных элементов, а также наличие связей между деталями заявляемого НУРС позволяют за счет выполнения:
а) раструба соплового блока с цилиндрическим участком диаметром 0,6…0,7 калибра снаряда:
– исключить влияние нестационарных турбулентных возмущений в пограничном слое на несущие способности лопастей оперения за счет поворота потока внутрь обнижения и “слива” пограничного слоя в обниженную часть;
– уменьшить диаметр раструба, и тем самым, обеспечить достаточный объем для размещения лопастей и мест их крепления, не выходящих за габариты соплового блока;
– уменьшить газодинамический эксцентриситет и потери в раструбе за счет исключения в нем сквозных пазов и размещения лопастей оперения в газовом потоке;
– исключить повышенную коррозию и износ направляющих;
б) мест крепления лопастей в виде двух рядов выступов, расположенных на поверхности раструба и лопастей оперения в виде плоских пластин, в закрытом положении опирающихся своей боковой поверхностью на цилиндрическую образующую раструба:
– увеличить бортовую хорду лопасти и распределить аэродинамическую нагрузку на лопасть между узлами крепления, за счет чего сократить габариты и массу этих узлов и толщину самой лопасти, уменьшив тем самым лобовое сопротивление и повысив дальность стрельбы;
– расположить контактные устройства гильзы в диаметрально противоположных сегментах, образованных наружной поверхностью лопастей и внутренней поверхностью гильзы, что позволяет сократить ее габариты и массу, увеличить массу боевой части и повысить боевую эффективность НУРС;
в) установка лопастей оперения в раскрытом положении с зазором 0,15…0,25 калибра снаряда между их бортовой хордой и цилиндрической поверхностью раструба:
– вывести лопасти из пограничного слоя, что уменьшает разброс аэродинамических и баллистических характеристик снаряда и повышает его боевую эффективность;
– сократить габариты лопастей без ухудшения их несущих способностей.
Изменение заявляемых соотношений (диаметра цилиндрического участка раструба и величины зазора между лопастью и поверхностью цилиндрического участка) приводят к ухудшению характеристик НУРС:
а) выполнение цилиндрического участка с диаметром больше 0,7 калибра приводит к неполному “сливу” пограничного слоя внутрь обнижения, при этом разместить контакты гильзы над лопастями не представляется возможным;
– выполнение этого участка с диаметром меньше 0,6 калибра резко увеличивает лобовое сопротивление снаряда, что уменьшает дальность стрельбы;
б) наличие зазора между лопастями в открытом положении и цилиндрическим участком раструба менее 0,15 калибра приводит к увеличению воздействия на лопасти турбулентных пульсаций пограничного слоя, в результате чего снижаются их несущая способность и увеличивается разброс аэродинамических и внешнебаллистических характеристик снаряда и ухудшается кучность стрельбы;
– увеличение этого зазора сверх 0,25 калибра приводит к падению несущей способности оперения, ухудшению кучности и уменьшению дальности стрельбы.
Сущность изобретения заключается в том, что в неуправляемом реактивном снаряде, содержащим головной взрыватель, боевую часть, ракетный двигатель твердого топлива с сопловым блоком с раструбом, лопастное оперение, закрывающую оперение гильзу с контактными устройствами и узлом форсирования, в отличие от прототипа, согласно изобретению раструб соплового блока выполнен с наружным цилиндрическим участком диаметром 0,6…0,7 калибра снаряда, узлы крепления лопастей оперения выполнены в виде двух рядов выступов, расположенных на поверхности раструба, лопасти оперения выполнены в виде плоских пластин, в закрытом положении опирающихся своей боковой поверхностью на цилиндрическую поверхность раструба, а контактные устройства гильзы расположены в диаметрально противоположных сегментах, образованных наружной поверхностью лопастей и внутренней поверхностью гильзы, при этом лопасти в раскрытом положении установлены с зазором 0,15…0,25 калибра снаряда между их бортовой хордой и цилиндрической поверхностью раструба.
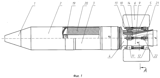
Сущность изобретения поясняется чертежами, где на фиг.1 изображен общий вид НУРС с раскрытыми лопастями оперения, на фиг.2 – вид сзади на сопловой блок с гильзой и закрытыми лопастями оперения (сечение А-А фиг.1), на фиг.3 – местный вид соплового блока с гильзой и закрытыми лопастями оперения (сечение В-В фиг.2), на фиг.4 – местное сечение по элементам крепления и форсирования гильзы (сечение Г-Г фиг.3).
НУРС (фиг.1) содержит головной взрыватель 1, боевую часть 2, ракетный двигатель твердого топлива 3, сопловой блок 4 с раструбом 5, лопасти оперения 6, гильзу 7 (фиг.3) с контактными устройствами 8 (фиг.3).
Раструб 5 снабжен цилиндрическим участком 9 с диаметром d, равным 0,6…0,7 калибра снаряда D (фиг.1).
На цилиндрической части раструба 5 расположены узлы крепления 10 лопастей оперения 6, выполненные в виде двух рядов выступов 11 и 12 (фиг.1).
Лопасти оперения 6 установлены на осях 13 с зазором а (фиг.1) между их бортовыми хордами и цилиндрическим участком раструба, равным 0,15…0,25 калибра снаряда D.
На осях 13 также размещены пружины “сжатия-кручения” 14 (фиг.1), служащие для открытия лопастей оперения и их фиксации в открытом положении. Гильза 7 (фиг.3) полностью закрывает лопасти оперения и через элементы форсирования 15 (фиг.4) закреплена на сопловом блоке 4.
В закрытом положении лопасти оперения опираются своей боковой поверхностью 16 на цилиндрическую поверхность 17 раструба 5 (фиг.2), а контактные устройства 8 гильзы 7 находятся над лопастями оперения (фиг.3).
Снаряд функционирует следующим образом:
Электрическое напряжение через контактные устройства 8 гильзы 7 и жгут 18 передается на воспламенитель 19, который воспламеняет заряд твердого топлива 20 (фиг.1), после чего начинается истечение газов через сопловой блок и двигатель выходит на режим. При достижении тяги двигателя величины, равной усилию форсирования, происходит раскрытие элементов форсирования 15 (фиг.4) гильзы 7 (фиг.3) и снаряд начинает движение, гильза остается в направляющей, а лопасти оперения 6 (фиг.1) удерживаются от раскрытия стенками направляющей.
При выходе НУРС из направляющей, под действием пружин 14, лопасти оперения 6 поворачиваются на осях 13 и при совпадении запирающих поверхностей 21 и 22 (фиг.1) на лопастях и выступах 12 сдвигаются в сторону раструба и фиксируются в открытом положении.
Предлагаемая конструкция снаряда позволила увеличить массу боевой части на 20% при сохранении существующих габаритов и массы, а также повысить кучность стрельбы.
С использованием предлагаемого изобретения была разработана конструкторская документация и изготовлена партия снарядов для проведения летных испытаний, которые подтвердили указанный положительный эффект.
В настоящее время проведены летные испытания, производится подготовка производства для серийного изготовления НУРС.
Формула изобретения
Неуправляемый реактивный снаряд, содержащий головной взрыватель, боевую часть, ракетный двигатель твердого топлива с сопловым блоком с раструбом, лопастное оперение, закрывающую оперение гильзу с контактными устройствами и узлом форсирования, отличающийся тем, что в нем раструб соплового блока выполнен с наружным цилиндрическим участком диаметром 0,6…0,7 калибра снаряда, узлы крепления лопастей оперения выполнены в виде двух рядов выступов, расположенных на поверхности раструба, лопасти оперения выполнены в виде плоских пластин, в закрытом положении опирающихся своей боковой поверхностью на цилиндрическую поверхность раструба, а контактные устройства гильзы расположены в диаметрально противоположных сегментах, образованных наружной поверхностью лопастей и внутренней поверхностью гильзы, при этом лопасти в раскрытом положении установлены с зазором 0,15…0,25 калибра снаряда между их бортовой хордой и цилиндрической поверхностью раструба.
РИСУНКИ
|