|
| На основании пункта 3 статьи 13 Патентного закона Российской Федерации от 23 сентября 1992 г. № 3517-I патентообладатель обязуется передать исключительное право на изобретение (уступить патент) на условиях, соответствующих установившейся практике, лицу, первому изъявившему такое желание и уведомившему об этом патентообладателя и федеральный орган исполнительной власти по интеллектуальной собственности, – гражданину РФ или российскому юридическому лицу. |
|
(21), (22) Заявка: 2004116208/02, 28.05.2004
(24) Дата начала отсчета срока действия патента:
28.05.2004
(45) Опубликовано: 20.08.2005
(56) Список документов, цитированных в отчете о поиске:
RU 2150651 C1, 10.06.2000. RU 2061206 C1, 27.05.1996. RU 2059188 C1, 27.04.1996. RU 2005978 C1, 15.01.1994. US 4388914 A, 21.06.1983. US 5720268 A, 24.02.1998. US 4976250 А, 11.12.1990.
Адрес для переписки:
125130, Москва, ул. З. и А. Космодемьянских, 11-15, кв.69, А.Д. Царькову
|
(72) Автор(ы):
Сагаков С.С. (RU), Царьков А.Д. (RU)
(73) Патентообладатель(и):
Сагаков Станислав Святославович (RU)
|
(54) СБАЛАНСИРОВАННЫЙ АРБАЛЕТ СО ВСТРЕЧНЫМ МУЛЬТИЛУКОМ
(57) Реферат:
Изобретение относится к спортивной стрельбе и охоте. Арбалет включает: ложу, приклад, спусковой механизм и блочный встречный мультилук, плечи которого попарно расположены во встречном направлении друг над другом. Все блоки арбалета установлены в одной плоскости, а расстояние между блоками каждой пары не превышает длину одного плеча. Ложе арбалета может быть снабжено кареткой, выполненной в виде прямоугольной рамки, снабженной винтовым штоком. Изобретение повышает компактность арбалета и удобство пользования им. 2 з.п. ф-лы, 2 ил. 
Изобретение относится к спортивному и охотничьему оружию.
Известен арбалет (см. патент RU №2150651 С1, кл F 41 В 5/12 от 19.02.1999), содержащий блочный мультилук, ложу, приклад и спусковой механизм.
Однако арбалет (в компановке ружья фиг.3 прототипа) имеет недостаток, т.е. его поперечный размер складывается из ширины ложи и, как минимум, двух длин плеч мультилука.
С целью уменьшения его поперечных размеров практически длины одного плеча мультилука сбалансированный арбалет со встречным мультилуком содержит ложу, приклад, спусковой механизм и блочный встречный мультилук, плечи которого попарно расположены во встречном направлении друг над другом. Все блоки арбалета установлены в одной плоскости, а расстояние между блоками каждой пары не превышает длину одного плеча. При этом ложе арбалета может быть снабжено кареткой, выполненной в виде прямоугольной рамки, снабженной винтовым штоком.
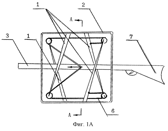
Предложенное техническое решение поясняется чертежами, где на фиг.1 изображен встречный мультилук и ложе с кареткой: А – вид сбоку, В – разрез. На фиг.2 изображено ложе с кареткой, снабженной винтовым штоком.
Сбалансированный арбалет со встречным мультилуком содержит: 1 – плечи, 2 – каркас, 3 – ложе, 4 – каретку, 5 – винтовой шток, 6 – тетиву и 7 – приклад.
Сбалансированный арбалет со встречным мультилуком работает следующим образом. При натяжении тетивы 6 (см. фиг.1А) на нижней балке каркаса 2 зафиксированные плечи 1 верхними блоками подтягиваются друг к другу. То же самое происходит и с нижними блоками, плечи которых закреплены на верхней балке каркаса 2. В случае установки на ложе 3 каретки 4 с винтовым штоком 5 (см фиг.2) на последний устанавливается пуля с цилиндрическим отверстием, выполненным с тыльной ее части. Основание пули подкернивается с четырех сторон. Таким образом при выстреле, т.е. разгоне каретки 4 тетивой 6, введенной с ней в зацепление, пуля сходит с винтового штока 5 в момент остановки тетивы с кареткой. При этом пуля одновременно закручивается вдоль продольной оси. В отсутствии винтового штока каретка может просто разогнать стрелу.
Арбалет назван сбалансированным в связи с тем, что центр тяжести мультилука в момент выстрела не изменяет своего положения. Встречным лук назван в связи с тем, что его плечи установлены во встречных направлениях.
Арбалет максимально компактен в вертикальном исполнении (см. фиг.1А).
Формула изобретения
1. Сбалансированный арбалет со встречным мультилуком, содержащий блочный мультилук, ложу, приклад и спусковой механизм, отличающийся тем, что плечи мультилука попарно расположены во встречном направлении друг над другом, все блоки арбалета установлены в одной плоскости, а расстояние между блоками каждой пары не превышает длину одного плеча.
2. Арбалет по п.1, отличающийся тем, что он снабжен кареткой, выполненной в виде прямоугольной рамки с передней стойкой.
3. Арбалет по п.2, отличающийся тем, что передняя стойка рамки каретки снабжена винтовым штоком.
РИСУНКИ
|
|