|
| На основании пункта 3 статьи 13 Патентного закона Российской Федерации от 23 сентября 1992 г. № 3517-I патентообладатель обязуется передать исключительное право на изобретение (уступить патент) на условиях, соответствующих установившейся практике, лицу, первому изъявившему такое желание и уведомившему об этом патентообладателя и федеральный орган исполнительной власти по интеллектуальной собственности, – гражданину РФ или российскому юридическому лицу. |
|
(21), (22) Заявка: 2004120808/02, 07.07.2004
(24) Дата начала отсчета срока действия патента:
07.07.2004
(43) Дата публикации заявки: 20.12.2004
(45) Опубликовано: 20.08.2005
(56) Список документов, цитированных в отчете о поиске:
RU 2077013 C1, 10.04.1997. RU 2147111 C1, 27.03.2000. FR 2588369 A1, 10.04.1987. DE 1428774 А, 08.01.1970. ЕР 0550238 А1, 07.07.1993. RU 2054152 C1, 10.02.1996.
Адрес для переписки:
644076, г.Омск, а/я 1022, А.В. Глухову
|
(72) Автор(ы):
Глухов А.В. (RU)
(73) Патентообладатель(и):
Глухов Александр Владимирович (RU)
|
(54) СПУСКОВОЙ МЕХАНИЗМ
(57) Реферат:
Изобретение относится к области вооружений и может быть использовано в ударно-спусковых механизмах ударникового типа автоматического оружия. В спусковом механизме, имеющем выполненные на наружном хвосте ударника выступы, служащие его боевым взводом и взводом его автослуска, шептала автоспуска и боевого взвода, согласно изобретению имеется узел, служащий в качестве замедлителя ударника, и управляющий элемент, установленный с возможностью отключения замедлителя ударника для восстановления необходимого высокого темпа стрельбы, при этом использован эффект фрикционного замедления при взаимодействии рабочих поверхностей бокового выступа хвоста ударника и поперечного выступа в прорези боковой стенки коробки автоматики оружия, чем обеспечено замедление срабатывания ударника, причем управляющий элемент для замедлителя ударника выполнен с возможностью управления им посредством большого пальца руки стрелка, указательный палец которой управляет спусковым крючком оружия. Изобретение позволяет вести стрельбу как в быстром, так и замедленном темпе. 4 з.п. ф-лы, 3 ил. 
Изобретение относится к оружию, в частности к спусковым механизмам, и может быть использовано для автоматического оружия, имеющего ударно-спусковой механизм ударникового типа.
Известен спусковой механизм / «Наставление по стрелковому делу – 7,62 мм, ручной пулемет Калашникова “РПК и РПКС”. – М.: Воениздат, 1973, стр.48, см. описание устройства «замедлителя курка»/, содержащий устройство для замедления освобожденного шепталом автоспуска ударного элемента /в данном случае – вращающегося на шарнире подпружиненного курка/.
Недостатком данного устройства является его неприспособленность для ударно-спускового механизма ударникового типа.
Известен спусковой механизм /см. патент РФ №2077013, использован в 9-мм винтовке снайперской специальной /ВСС/ и автомате специальном /АС/, а также в 9-мм малогабаритном штурмовом автомате СР-3 «Вихрь» и 9-мм пистолете-пулемете СР-2/М/ «Вереск»/, являющийся наиболее близким аналогом по технической сущности к заявленному объекту, т.к. он содержит размещенные на наружном хвосте подвижного подпружиненного ударника выступы, которые служат как боевой взвод ударника, взвод автоспуска ударника, а также имеются выступы, которые входят в направляющие пазы ударника, образующие скользящее соединение с внутренними отгибами коробки автоматики оружия.
Недостатком данного устройства является отсутствие в его конструкции узла, которой бы обеспечивал замедление срабатывания подвижного подпружиненного ударника после его освобождения шепталом автоспуска, т.е. служил бы замедлителем ударника, обеспечивая низкий темп стрельбы, при этом, имея возможность своего отключения для восстановления исходного высокого темпа стрельбы при наличии такой необходимости, также имел бы возможность управления данным переключателем – замедлителем ударника посредством большого пальца руки, как правой, так и левой, указательный палец которой управляет спусковым крючком оружия.
Технической задачей является повышение эксплуатационных характеристик спускового механизма для автоматического оружия, имеющего ударно-спусковой механизм ударникового типа.
Технический результат достигается тем, что в спусковом механизме для автоматического оружия, содержащем размещенные на наружном хвосте подвижного подпружиненного ударника выступы, служащие его боевым взводом и взводом его автоспуска, боковые выступы с направляющими пазами, образующими скользящее соединение с внутренними отгибами боковых стенок коробки автоматики оружия, шептала автоспуска и боевого взвода, согласно изобретению на внешней поверхности боковой стенки коробки автоматики оружия размещен узел, служащий в качестве замедлителя подвижного подпружиненного ударника и имеющий управляющий элемент, установленный с возможностью отключения замедлителя упомянутого ударника для восстановления необходимого высокого темпа стрельбы, при этом в прорези боковой стенки коробки автоматики оружия имеется поперечный выступ подвижного подпружиненного элемента, взаимодействующий с боковым выступом хвоста подвижного подпружиненного ударника с возможностью, используя эффект фрикционного замедления при взаимодействии рабочих поверхностей бокового выступа хвоста упомянутого ударника и поперечного выступа в прорези боковой стенки коробки автоматики оружия, обеспечения замедления срабатывания подвижного подпружиненного ударника при освобождении его шепталом автоспуска или шепталом боевого взвода, при этом управляющий элемент для замедлителя подвижного подпружиненного ударника выполнен с возможностью управления им посредством большого пальца руки стрелка, указательный палец которой управляет спусковым крючком оружия.
Кроме того, управляющий элемент для замедлителя подвижного подпружиненного ударника представляет собой отдельную деталь для обеспечения отключения упомянутого ударника посредством большого пальца как правой, так и левой руки стрелка, указательный палец которой управляет спусковым крючком оружия. При этом замедлитель подвижного подпружиненного ударника выполнен в форме качающегося на поперечной полуоси двуплечего рычага, казенное плечо которого подперто возвратной пружиной и снабжено поперечным выступом, размещенным в прорези боковой стенки коробки автоматики оружия и в сечении представляющим собой двухсторонний скос, посредством которого при отходе в заднее положение подвижных частей автоматики оружия обеспечено отведение упомянутого качающегося рычага в его нижнее положение, при котором его казенное плечо выходит из зацепления с боковым выступом хвоста подвижного подпружиненного ударника, а при возврате в переднее боевое положение подвижных частей автоматики оружия образуется разъемное скользящее соединение между казенным скосом поперечного выступа качающегося рычага и соответствующего ему дульного скоса бокового выступа хвоста подвижного подпружиненного ударника, размещенного ниже внутреннего отгиба стенки коробки автоматики оружия, при этом фиксация качающегося подпружиненного рычага на его поперечной полуоси осуществлена посредством продольного бокового щитка, неразъемно соединенного с шарнирной крышкой коробки автоматики оружия и служащего крышкой для коробки узла замедлителя подвижного подпружиненного ударника, имеющей дульную прорезь для прохода дульного плеча двуплечего качающегося рычага, снабженного флажком для управления упомянутым рычагом посредством большого пальца правой руки стрелка.
Кроме того, управляющий элемент для замедлителя подвижного подпружиненного ударника выполнен в виде горизонтально размещенной вилки, поперечная дульная часть которой шарнирно соединена с передней верхней поверхностью спусковой скобы оружия, а обе продольные боковые ветви горизонтальной вилки размещены продольно и выше спускового крючка оружия и имеют флажки, расположенные симметрично по обе стороны рукоятки управления огнем с возможностью обеспечения управления горизонтальной вилкой посредством большого пальца как правой, так и левой руки стрелка, указательный палец руки которого управляет спусковым крючком оружия, при этом один из флажков подпирает снизу дульное плечо качающегося двуплечего подпружиненного рычага, служащего замедлителем подвижного подпружиненного ударника, с возможностью перевода последнего в положение его отключения посредством его разобщения с боковым выступом хвоста подвижного подпружиненного ударника, при этом горизонтальная вилка подперта снизу выступами-ограничителями поворота в нижнем направлении, размещенными на боковых стенках коробки автоматики оружия, причем фиксация поперечной оси в дульном поперечном шарнире горизонтальной вилки осуществлена посредством внутренней поверхности боковых стенок съемного цевья оружия.
Узел спускового механизма, служащий в качестве замедлителя подвижного подпружиненного ударника, выполнен с возможностью размещения с левой стороны коробки автоматики 9-мм пистолета-пулемета СР-2/М/ «Вереск» на месте, предусмотренном для его штатного переводчика вида огня.
Отличительные признаки в заявленной совокупности проявляют новое свойство-возможность введения в конструкцию ударно-спускового механизма ударникового типа дополнительного узла, который служит в качестве замедлителя ударника и размещен на внешней стороне коробки автоматики оружия и приспособлен к управлению /с возможностью его отключения для восстановления исходного высокого темпа стрельбы/ посредством качающейся на поперечном шарнире, размещенном на верхней передней части спусковой скобы оружия, горизонтальной вилки, которая взаимодействует с качающимся на поперечной полуоси подпружиненным двуплечим рычагом, который взаимодействует с боковым выступом хвоста ударника и выполняет функцию замедлителя ударника.
Технический результат обеспечивается тем, что введение в конструкцию ударно-спускового механизма ударникового типа замедлителя ударника с возможностью его отключения позволяет вести автоматический огонь на двух режимах темпа стрельбы оружия, при этом основным режимом автоматики является очень низкий темп стрельбы /около 450 выстр. в мин/, что позволяет упразднить механизм одиночного огня, а также избежать перерасхода боеприпасов /и перегрева ствола/, при этом в случае возникновения необходимости /при ведении огня на короткой дистанции с возможно более высокой плотностью огня/ используется механизм отключения замедлителя ударника, который управляется посредством как правой, так и левой руки стрелка, и который обеспечивает восстановление исходного высокого темпа стрельбы /для 9-мм пистолета-пулемета СР-2/М/ «Вереск», – 900 выстр/мин/.
Изобретение поясняется чертежами, где на:
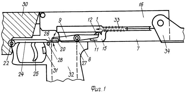
Фиг.1 – положение замедлителя ударника и его управляющего элемента в общей компоновке оружия. Показан вид – сбоку, слева;
Фиг.2 – работа замедлителя ударника и его управляющего элемента показана в проекции Фиг.1;
Фиг.3 – показан горизонтальный разрез А-А фиг.2.
Спусковой механизм содержит подвижный подпружиненный ударник 1 /Фиг.1-3/; боевой завод 2 ударника; завод автоспуска 3 ударника; боковые выступы 4 хвоста ударника; их направляющие пазы 5; внутренние отгибы 6, имеющиеся на стенках коробки 7 автоматики оружия, поперечная полуось 8 для качающегося двуплечего рычага 9, у которого казенное плечо 10 подпирается возвратной пружиной изгиба 11, а также имеется поперечный выступ 12, который размещен в боковой прорези 13, имеющейся на стенке коробки автоматики оружия, а также имеется дульный скос 14 бокового выступа хвоста ударника; продольный боковой щиток 15, который неразъемно соединен с шарнирной крышкой 16 коробки автоматики оружия и служит как крышка для коробки узла замедлителя ударника 17, которая имеет дульную прорезь 18 для прохода дульного плеча качающегося рычага 19, имеющего флажок для управления качающимся рычагом 20; также имеются поперечная дульная часть 21 горизонтально размещенной вилки, имеющая шарнирное соединение 22, со спусковой скобой 23 оружия, продольные боковые ветви 24 горизонтальной вилки, размещенные продольно и выше спускового крючка 25 оружия; размещенные на ветвях горизонтальной вилки ее флажки 26, которые размещены симметрично относительно рукояти 27 управления огнем оружия; выступы-ограничители 28 нижнего поворота вилки, поперечная ось 29 шарнира вилки, фиксируемая посредством боковых стенок съемного цевья 30 оружия. Также на чертежах показаны защелка 31 магазина, центральный коробчатый магазин 32 оружия; возвратно-боевой механизм ударника 33, шарнирный складной приклад 34 оружия, затворная рама 35, затвор 36 оружия.
Замедлитель ударника и его управляющий элемент, выполненные как дополнительный узел для ударно-спускового механизма ударникового типа, работают следующим образом. При освобождении подвижного подпружиненного ударника 1 шепталом автоспуска или шепталом боевого взвода ударника ударник под воздействием своего возвратно-боевого механизма 33 стремится перевести в крайнее нижнее положение качающийся на поперечной полуоси 8 двуплечий рычаг 9, казенное плечо 10 которого подпирается возвратной пружиной изгиба 11 и несет поперечный выступ 12, который размещен в боковой прорези 13, имеющейся на левой стенке коробки 7 автоматики оружия. При этом данный поперечный выступ 12 в своем профильном сечении имеет форму двухстороннего скоса /см. Фиг.2/, казенная часть которого взаимодействует с соответствующим ей дульным скосом 14 бокового выступа хвоста ударника, который размещен ниже внутреннего отгиба 6 стенки коробки 7 автоматики оружия. При этом используется эффект фрикционного замедления для взаимодействующих рабочих поверхностей, имеющихся на боковом выступе хвоста ударника и соответственно на поперечном выступе качающегося рычага, за счет чего обеспечивается замедление срабатывания освобожденного подпружиненного ударника 1 оружия при его движении в крайнее переднее боевое положение /на фиг.1-3 показано стрелками/. При этом наличие флажка для управления качающимся рычагом 20 позволяет осуществить посредством большого пальца /только правой/ руки перевод данного качающегося рычага 9 в положение, при котором поперечный выступ 12, имеющийся на его казенном плече 10, выходит из зацепления с дульным скосом 14, имеющимся на боковом выступе 4 хвоста ударника, за счет чего восстанавливается исходный высокий темп стрельбы оружия. Также при введении в конструкцию данного замедлителя ударника дополнительного управляющего элемента, выполненного в форме горизонтально размещенной над спусковым крючком 25 оружия, качающейся на своем шарнире 22, размещенном в передневерхней части спусковой скобы 23 оружия вилки, ветви которой снабжены симметрично размещенными флажками 26, а один из данных флажков подпирает дульное плечо качающегося рычага 19, осуществляется возможность управления механизмом замедлителя ударника посредством как большого пальца правой, так и левой руки, указательный палец которой управляет спусковым крючком оружия.
При сборке узлов: замедлителя ударника и его управляющего элемента /горизонтальной вилки/ качающийся рычаг 9 фиксируется на своей поперечной полуоси 8 посредством продольного бокового щитка 15, который неразъемно соединен с шарнирной крышкой 16 коробки автоматики оружия, а поперечная ось 29 для шарнира горизонтальной вилки фиксируется в данном шарнире посредством боковых стенок съемного цевья 30 оружия.
Заявленное устройство /замедлитель ударника и его управляющий элемент/ может быть применено для повышения тактико-технических характеристик 9-мм пистолета-пулемета СР-2/М/ «Вереск», в частности для его использования в качестве оружия индивидуальной обороны, которое рассчитано на категорию военнослужащих, имеющих слабую стрелковую подготовку.
Формула изобретения
1. Спусковой механизм для автоматического оружия, содержащий размещенные на наружном хвосте подвижного подпружиненного ударника выступы, служащие его боевым взводом и взводом его автоспуска, боковые выступы с направляющими пазами, образующими скользящее соединение с внутренними отгибами боковых стенок коробки автоматики оружия, шептала автоспуска и боевого взвода, отличающийся тем, что на внешней поверхности боковой стенки коробки автоматики оружия размещен узел, служащий в качестве замедлителя подвижного подпружиненного ударника и имеющий управляющий элемент, установленный с возможностью отключения замедлителя упомянутого ударника для восстановления необходимого высокого темпа стрельбы, при этом в прорези боковой стенки коробки автоматики оружия имеется поперечный выступ подвижного подпружиненного элемента, взаимодействующий с боковым выступом хвоста подвижного подпружиненного ударника с возможностью, используя эффект фрикционного замедления при взаимодействии рабочих поверхностей бокового выступа хвоста упомянутого ударника и поперечного выступа в прорези боковой стенки коробки автоматики оружия, обеспечения замедления срабатывания подвижного подпружиненного ударника при освобождении его шепталом автоспуска или шепталом боевого взвода, при этом управляющий элемент для замедлителя подвижного подпружиненного ударника выполнен с возможностью управления им посредством большого пальца руки стрелка, указательный палец которой управляет спусковым крючком оружия.
2. Спусковой механизм по п.1, отличающийся тем, что управляющий элемент для замедлителя подвижного подпружиненного ударника представляет собой отдельную деталь и служит для обеспечения отключения упомянутого ударника посредством большого пальца как правой, так и левой руки стрелка, указательный палец которой управляет спусковым крючком оружия.
3. Спусковой механизм по п.1, отличающийся тем, что замедлитель подвижного подпружиненного ударника выполнен в форме качающегося на поперечной полуоси двуплечего рычага, казенное плечо которого подперто возвратной пружиной и снабжено поперечным выступом, размещенным в прорези боковой стенки коробки автоматики оружия и в сечении, представляющим собой двухсторонний скос, посредством которого при отходе в заднее положение подвижных частей автоматики оружия обеспечено отведение упомянутого качающегося рычага в его нижнее положение, при котором его казенное плечо выходит из зацепления с боковым выступом хвоста подвижного подпружиненного ударника, а при возврате в переднее боевое положение подвижных частей автоматики оружия образуется разъемное скользящее соединение между казенным скосом поперечного выступа качающегося рычага и соответствующим ему дульным скосом бокового выступа хвоста подвижного подпружиненного ударника, размещенного ниже внутреннего отгиба стенки коробки автоматики оружия, при этом фиксация качающегося подпружиненного рычага на его поперечной полуоси осуществлена посредством продольного бокового щитка, неразъемно соединенного с шарнирной крышкой коробки автоматики оружия и служащего крышкой для коробки узла замедлителя подвижного подпружиненного ударника, имеющей дульную прорезь для прохода дульного плеча двуплечего качающегося рычага, снабженного флажком для управления упомянутым рычагом посредством большого пальца правой руки стрелка.
4. Спусковой механизм по п.2, отличающийся тем, что управляющий элемент для замедлителя подвижного подпружиненного ударника выполнен в виде горизонтально размещенной вилки, поперечная дульная часть которой шарнирно соединена с передней верхней поверхностью спусковой скобы оружия, а обе продольные боковые ветви горизонтальной вилки размещены продольно и выше спускового крючка оружия и имеют флажки, расположенные симметрично по обе стороны рукоятки управления огнем с возможностью обеспечения управления горизонтальной вилкой посредством большого пальца как правой, так и левой руки стрелка, указательный палец руки которого управляет спусковым крючком оружия, при этом один из флажков подпирает снизу дульное плечо качающегося двуплечего подпружиненного рычага, служащего замедлителем подвижного подпружиненного ударника, с возможностью перевода последнего в положение его отключения посредством его разобщения с боковым выступом хвоста подвижного подпружиненного ударника, при этом горизонтальная вилка подперта снизу выступами-ограничителями поворота в нижнем направлении, размещенными на боковых стенках коробки автоматики оружия, причем фиксация поперечной оси в дульном поперечном шарнире горизонтальной вилки осуществлена посредством внутренней поверхности боковых стенок съемного цевья оружия.
5. Спусковой механизм по п.1, отличающийся тем, что узел спускового механизма, служащий в качестве замедлителя подвижного подпружиненного ударника, выполнен с возможностью размещения с левой стороны коробки автоматики 9-мм пистолета-пулемета СР-2/М/ «Вереск» на месте, предусмотренном для его штатного переводчика вида огня.
РИСУНКИ
|
|