|
|
(21), (22) Заявка: 2003105124/06, 21.02.2003
(24) Дата начала отсчета срока действия патента:
21.02.2003
(43) Дата публикации заявки: 10.09.2004
(45) Опубликовано: 20.08.2005
(56) Список документов, цитированных в отчете о поиске:
RU 2184918 С2, 10.07.2002. RU 2141616 C1, 20.11.1999. RU 2187059 С2, 10.08.2002. SU 1041862 А, 15.09.1983. DE 4111451 А1, 15.10.1992. DE 1287096 A, 16.01.1969.
Адрес для переписки:
109507, Москва, Самаркандский б-р, 15, корп.4, кв.38, Б.П.Новикову
|
(72) Автор(ы):
Сухова Н.Н. (RU)
(73) Патентообладатель(и):
Сухова Наталья Николаевна (RU)
|
(54) УСТРОЙСТВО ДЛЯ СБОРКИ БЛОКОВ ОРОСИТЕЛЯ ГРАДИРНИ
(57) Реферат:
Изобретение предназначено для изготовления и сборки блоков оросителя градирни. Устройство для сборки блоков оросителя градирни содержит элементы оросителя из термопластичного материала, подвижные плиты, снабженные нагревательными элементами и размещенные между торцами элементов. Устройство выполнено в виде двух секций с тремя плитами толщиной, равной 10…50 мм, причем центральная плита размещена между секциями, выполнена неподвижной и снабжена нагревательным элементом, кроме того, устройство содержит выдвижные контейнеры, размещенные в секциях и предназначенные для укладки в них элементов оросителя, экраны из антиадгезионного теплостойкого материала, установленные на поверхностях плит, обращенных к торцам элементов. Изобретение позволяет повысить производительность, исключить прилипание торцов элементов оросителя к плитам, обеспечить контроль за процессом сварки труб. 4 ил. 
Изобретение относится к теплоэнергетике и предназначено для изготовления и сборки блоков оросителей градирни.
Из патента №2.141.616 известно устройство для сборки блока оросителя, содержащее кондуктор (контейнер) для перфорированных труб (элементов), нагревательные элементы, контактирующие с концевыми участками труб /1/.
Из описания изобретения явствует, что не обеспечен контроль над процессом сварки труб, малая производительность устройства, поскольку реализуется сборка только одного блока за цикл.
Известно устройство для сборки блоков оросителя градирни, содержащее элементы оросителя из термопластичного материала, подвижные плиты, снабженные нагревательными элементами и размещенные между торцами элементов /2/.
Недостатками такого устройства являются невозможность агрегатирования, низкая производительность и возможность прилипания торцов элементов оросителя к плитам.
Изобретение устраняет указанные недостатки.
Технический результат достигается тем, что устройство для сборки блоков оросителя градирни, содержащее элементы оросителя из термопластичного материала, подвижные плиты, снабженные нагревательными элементами и размещенные между торцами элементов, согласно изобретению выполнено в виде двух секций с тремя плитами толщиной, равной 10…50 мм, причем центральная плита размещена между секциями, выполнена неподвижной и снабжена нагревательным элементом, кроме того, устройство содержит выдвижные контейнеры, размещенные в секциях и предназначенные для укладки в них элементов оросителя, экраны из антиадгезионного теплостойкого материала, установленные на поверхностях плит, обращенных к торцам элементов.
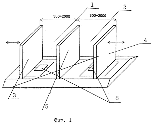
На фиг.1 показано устройство для сборки блоков оросителя градирни, общий вид; на фиг.2 – то же с экранами на плитах; на фиг.3 – выдвижной контейнер с элементами оросителя; на фиг.4 показано устройство в сборе в рабочем состоянии.
Устройство для сборки блоков оросителя выполнено из двух секций 1, 2, заключенных между двумя боковыми подвижными плитами 3, 4 и центральной неподвижной плитой 5. Плиты 3, 4, 5 снабжены нагревательными элементами, например ТЭНами. Плиты 3, 4, 5 выполнены из теплопроводного материала в диапазоне толщин 10…50 мм. Толщина плит выбирается исходя из эксплуатационных требований (потребной теплоемкости, скорости процесс сварки элементов и т.п.)
Блок оросителя формируют в контейнерах 6, в которые укладывают элементы 7 из термопластичного материала, например полиэтилена. Элементы 7 могут быть выполнены с любым поперечным сечением (трубчатые, цилиндрические, ячеистые и т.д.). С помощью пневмоцилиндров 8 устанавливают необходимый размер секций 1, 2, перемещая плиты 3, 4, а также смыкание плит с торцами элементов 7 при сварке.
В упомянутые секции 1, 2 устанавливают контейнеры 6. На поверхностях плит 3, 4, 5, обращенных к торцам элементов 7, размещенных в контейнерах 6, установлены экраны 9, 10, 11 из антиадгезионного теплостойкого материала (лакоткани, стеклопластика и др.). С помощью экранов 9, 10, 11 выравнивают торцы свариваемых элементов 7 в вертикальной плоскости, исключают прилипание торцов к плитам 3, 4, 5 в процессе сварки и устраняют доступ кислорода к сварным швам.
Предложенная конструкция технологична, не представляет трудности в реализации и, следовательно, промышленно применима.
Работа устройства для сборки блоков оросителя осуществляется следующим образом.
Для формирования блока элементы 7 укладывают в два контейнера 6, затем контейнеры 6 устанавливают в секции 1, 2, таким образом, чтобы торцы элементов 7 контактировали с плитами 3, 4, 5. Затем перемещают плиты 3, 4 и обеспечивают усилие прижатия к торцам элементов 7 более 5,0·104 Па. При определенной температуре плит 3, 4, 5 в диапазоне 190…300°С происходит оплавление торцов элементов 7 и соединение их между собой с образованием единого блока. После окончания сварки (время определено с помощью таймера) плиты 3, 4 автоматически раздвигаются, контейнеры 6 удаляют из секций 1, 2, охлаждают на воздухе, а затем извлекают из них готовые блоки. Далее процесс возобновляется.
Использование изобретения позволяет повысить производительность, улучшить качество изготовляемых блоков, повысить прочность блоков.
Источники информации
1. RU, 2141616, кл.7 F 28 F 25/08, опубл. 20.11.99.
2. RU 2184918, кл.7 F 28 F 25/08, опубл. 20.07.02.
Формула изобретения
Устройство для сборки блоков оросителя градирни, содержащее элементы оросителя из термопластичного материала, подвижные плиты, снабженные нагревательными элементами и размещенные между торцами элементов, отличающееся тем, что устройство выполнено в виде двух секций с тремя плитами толщиной 10…50 мм, причем центральная плита размещена между секциями, выполнена неподвижной и снабжена нагревательным элементом, кроме того, устройство содержит выдвижные контейнеры, размещенные в секциях и предназначенные для укладки в них элементов оросителя, экраны из антиадгезионного теплостойкого материала, установленные на поверхностях плит, обращенных к торцам элементов.
РИСУНКИ
MM4A – Досрочное прекращение действия патента СССР или патента Российской Федерации на изобретение из-за неуплаты в установленный срок пошлины за поддержание патента в силе
Дата прекращения действия патента: 22.02.2006
Извещение опубликовано: 20.03.2007 БИ: 08/2007
NF4A Восстановление действия патента СССР или патента Российской Федерации на изобретение
Дата, с которой действие патента восстановлено: 20.12.2007
Извещение опубликовано: 20.12.2007 БИ: 35/2007
QB4A Регистрация лицензионного договора на использование изобретения
Лицензиар(ы): Сухова Наталья Николаевна
ИЛ
Лицензиат(ы): Общество с ограниченной ответственностью “Проектно-строительное предприятие “Мегапроект”
Договор № РД0036637 зарегистрирован 28.05.2008
Извещение опубликовано: 10.07.2008 БИ: 19/2008
* ИЛ – исключительная лицензия НИЛ – неисключительная лицензия
MM4A – Досрочное прекращение действия патента СССР или патента Российской Федерации на изобретение из-за неуплаты в установленный срок пошлины за поддержание патента в силе
Дата прекращения действия патента: 22.02.2009
Извещение опубликовано: 27.07.2010 БИ: 21/2010
NF4A Восстановление действия патента СССР или патента Российской Федерации на изобретение
Дата, с которой действие патента восстановлено: 20.08.2010
Извещение опубликовано: 20.08.2010 БИ: 23/2010
|
|