|
|
(21), (22) Заявка: 2004108044/12, 25.09.2002
(24) Дата начала отсчета срока действия патента:
25.09.2002
(30) Конвенционный приоритет:
01.10.2001 DE 10148448.8
(43) Дата публикации заявки: 27.03.2005
(45) Опубликовано: 20.08.2005
(56) Список документов, цитированных в отчете о поиске:
US 6085542 А, 11.07.2000. US 4132034 А, 02.01.1979. US 5180462 А, 22.09.1988. SU 529350 А1, 25.09.1976. SU 1370393 A2, 23.08.1988.
(85) Дата перевода заявки PCT на национальную фазу:
05.05.2004
(86) Заявка PCT:
EP 02/10751 (25.09.2002)
(87) Публикация PCT:
WO 03/029736 (10.04.2003)
Адрес для переписки:
191186, Санкт-Петербург, а/я 230, “АРС-ПАТЕНТ”, пат.пов. В.М.Рыбакову, рег. № 90
|
(72) Автор(ы):
БЕКЕ Кристоф (DE), ГЕРШТНЕР Сильвия (DE), ГРАЗИ Зигфрид (DE)
(73) Патентообладатель(и):
БСХ БОШ УНД СИМЕНС ХАУСГЕРЕТЕ ГМБХ (DE)
|
(54) ДВЕРНАЯ ПОЛКА И ХОЛОДИЛЬНИК С ТАКОЙ ДВЕРНОЙ ПОЛКОЙ
(57) Реферат:
Дверная полка для холодильного устройства, такого как холодильник или подобное устройство, в которой, по меньшей мере, одна секция имеет полную глубину и, по меньшей мере, одна секция имеет меньшую глубину, и которые следуют друг за другом по длине дверной полки, глубина секции с меньшей глубиной составляет меньше половины глубины секции с полной глубиной. Холодильник с корпусом и дверью, на которой установлена первая дверная полка, содержит вторую дверную полку, заявленную в одном из предыдущих пунктов, которая установлена над первой дверной полкой. Использование данной группы изобретений делает возможным интенсивное использование имеющегося пространства для хранения продуктов. 2 н. и 6 з.п. ф-лы, 5 ил. 
Область техники
Данное изобретение относится к холодильнику и полке для установки на внутренней стороне двери холодильника.
Уровень техники
Двери холодильников, в особенности бытовых, обычно оснащаются с внутренней стороны дверными полками, из которых, по меньшей мере, самая нижняя предназначается для бутылок с напитками и других крупногабаритных сосудов. Расстояние до вышележащей полки определяется самым высоким сосудом, хранящимся на такой полке.
В последние годы для прохладительных напитков все в большей степени применяются бутылки из синтетических материалов емкостью 1,5 и 2 л, значительно более высокие, чем обычные стеклянные бутылки, емкость которых обычно лежит в пределах от 0,5 до 1 л. Если эти пластиковые бутылки приходится хранить вместе с другими бутылками меньшего размера на одной полке, пространство используется неэкономично, так как расстояние до вышележащей полки должно быть достаточным, чтобы можно было без труда вставить самую большую бутылку, хотя лишь немногие бутылки на полке для бутылок имеют этот размер.
Чтобы смягчить эту проблему, для холодильников разработаны двери с центральным продольным брусом, позволяющим устанавливать дверные полки, ширина которых не превышает половины ширины двери, справа и слева от центрального бруса на различной высоте. Однако это решение, описанное, например, в патентном документе DE-GM 9014463, не вполне удовлетворительно, так как сам центральный брус занимает место, которое уже не может быть использовано для хранения охлаждаемых продуктов.
Раскрытие изобретения
Задача изобретения состоит поэтому в том, чтобы создать дверную полку и холодильник, оснащенный такой полкой, которые делают возможным интенсивное использование имеющегося пространства для хранения продуктов.
Эта задача согласно изобретению решена в частности посредством дверной полки для холодильника, которая состоит, по меньшей мере, из одной секции полной глубины и, по меньшей мере, из одной секции меньшей глубины, которые следуют друг за другом по длине дверной полки.
Эта дверная полка может устанавливаться на внутренней стороне двери холодильника на меньшем расстоянии по вертикали от нижележащей полки для бутылок, чем высота самых высоких бутылок, устанавливаемых на полке для бутылок. Ведь, если под предлагаемой в изобретении дверной полкой поставить высокую бутылку под секцией с меньшей глубиной, то горлышко этой бутылки может пройти мимо секции с меньшей глубиной и возвышаться над ней. Эта секция с меньшей глубиной может использоваться для хранения мелких предметов, например тюбиков. Таким путем достигается приблизительно такая же плотность размещения дверных полок по высоте, как при двери с центральным брусом, но с тем дополнительным преимуществом, что на уровне горлышек высоких бутылок образуется дополнительное место для хранения в виде секции меньшей глубины.
Чтобы обеспечить устойчивое, защищенное от опрокидывания положение высоких бутылок на полке для бутылок, глубина секции с меньшей глубиной предпочтительно должна быть меньше половины глубины секции с полной глубиной, которая, как правило, соответствует глубине полки для бутылок.
Желательно, чтобы дверная полка была выполнена как единое целое и секции дверной полки с различной глубиной разделялись перегородкой. Такая перегородка повышает устойчивость дверной полки и препятствует ее прогибу под нагрузкой.
В качестве другого мероприятия для повышения устойчивости целесообразно предусмотреть горизонтальное ребро жесткости. Предпочтительно, чтобы такое горизонтальное ребро жесткости закрывало перегородку сверху.
Задача решена далее посредством холодильника с корпусом и дверью, причем на двери над первой дверной полкой для бутылок устанавливается вторая дверная полка описанного выше типа.
Перечень фигур чертежей
Другие признаки и преимущества изобретения вытекают из нижеприведенного описания примеров исполнения со ссылками на прилагаемые фигуры. Чертежи изображают:
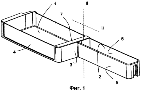
фиг.1. – перспективный чертеж дверной полки согласно первому варианту реализации изобретения;
фиг.2. – вырез в дверной полке по фиг.1 в плоскости, обозначенной II-II на фиг.1;
фиг.3. – перспективный чертеж второй, предлагаемой изобретением полки;
фиг.4. – вид части внутренней стороны двери холодильника с установленными дверными полками;
фиг.5. – вариант дверной полки.
Осуществление изобретения
Изображенная на фиг.1 дверная полка 11 состоит из двух секций 1, 2, имеющих в основном форму открытой сверху коробки. Секция 1 имеет “полную” глубину, т.е. ее глубина достаточна для установки обычной 1,5-литровой или 2-литровой полиэтиленовой бутылки для напитков. Глубина второй секции 2 составляет меньше половины глубины первой секции, предпочтительно 30-40% этой глубины. Это позволяет установить в дверной полке полной глубины, расположенной под изображенной дверной полкой и находящейся на той же стороне двери большую бутылку для напитков, горлышко которой будет находиться на уровне секции 2, причем эта секция не будет касаться бутылки и нарушать ее устойчивое положение.
Для повышения изгибной жесткости дверной полки под нагрузкой в месте примыкания секций 1, 2 предусмотрена перегородка 3, которая соединяет обращенные внутрь холодильника передние стенки 4, 5 секций 1, 2 с общей для обеих секций цельной задней стенкой 6, которая при смонтированной дверной полке примыкает к внутренней стороне двери холодильника. Перегородка 3 с одной стороны препятствует боковому смещению задней стенки 6 под действием изгибающей нагрузки, а с другой стороны служит опорой для передней стенки 5 секции 2 с меньшей глубиной.
Чтобы обеспечить максимальную жесткость перегородки 3 по отношению к изгибающей нагрузке, создаваемой горизонтальными силами, действующими со стороны передней стенки 5, перегородка 3 заканчивается сверху ребром жесткости 7, как детально показано на фиг.2.
Открытая снизу выемка 8 на наружном продольном конце секции 2 с меньшей глубиной, а также соответствующая, не видимая на фигуре выемка на противоположном конце секции 1 с полной глубиной служат для навешивания дверной полки на выступы 9 (см. фиг.4), установленные на вертикальных брусьях 10 на внутренней стороне двери через равномерные интервалы для обеспечения возможности подвешивания дверных полок на различной высоте.
В изображенном на фиг.1 примере обе секции 1, 2 имеют одинаковую длину, так что перегородка 3 в установленной дверной полке проходит приблизительно посредине двери. Такое разделение целесообразно при компактном холодильнике, когда длина каждой секции 1, 2 приблизительно равняется двум диаметрам больших бутылок для напитков. Разумеется, возможны и другие пропорции, как показано на фиг.3. Здесь длина секции 1 с полной глубиной относится к длине секции 2 с меньшей глубиной примерно как 3:1, так что на полке, лежащей под секцией 2 с меньшей глубиной, можно установить одну крупногабаритную бутылку.
На фиг.4 представлен перспективный чертеж части двери холодильника с выполненной в соответствии с изобретением дверной полкой 11. Другая дверная полка 12, глубина которой по всей длине одинакова, установлена в нижней части двери. На правой половине этой полки 12 под секцией 2 с меньшей глубиной можно устанавливать большие бутылки, в то время как компактные контейнеры, например тетрапаки целесообразнее располагать в левой части, под секцией 1 с полной глубиной.
Очевидно, что дверная полка, соответствующая изобретению, не ограничивается двумя секциями, глубина каждой из которых неизменна. Например, могут быть две секции с полной глубиной и расположенная между ними одна секция с меньшей глубиной, так что большие бутылки на нижележащей полке можно будет устанавливать посредине, т.е. в легко доступном месте, независимо от того, открывается ли дверь вправо или влево.
Возможно также сведение глубины секции 2 с меньшей глубиной практически к нулю, так что такую полку можно будет устанавливать на уровне ниже горлышка большой бутылки, установленной на нижележащей полке.
Другая возможность состоит в том, чтобы выполнить переднюю стенку 5 секции 2 с меньшей глубиной, скошенной книзу, что позволит монтировать дверную полку на уровне начала горлышка установленных ниже бутылок. При такой модификации секции с меньшей глубиной можно, как показано на фиг.5, убрать или уменьшить дно секции, чтобы, например, обеспечить возможность вертикального вставления тюбиков.
Формула изобретения
1. Дверная полка для холодильного устройства, такого, как холодильник или подобное устройство, в которой, по меньшей мере, одна секция (1) имеет полную глубину и, по меньшей мере, одна секция (2) имеет меньшую глубину, и которые следуют друг за другом по длине дверной полки (11), отличающаяся тем, что глубина секции (2) с меньшей глубиной составляет меньше половины глубины секции (1) с полной глубиной.
2. Дверная полка по п.1, отличающаяся тем, что секции (1,2) дверной полки (11), по меньшей мере, в основном имеют одинаковую длину.
3. Дверная полка по п.1, отличающаяся тем, что секции (1,2) дверной полки ( 11) имеют разную длину.
4. Дверная полка по одному из пп.1-3, отличающаяся тем, что дверная полка (11) выполнена как единое целое.
5. Дверная полка по одному из пп.1-3, отличающаяся тем, что секции (1, 2) имеют коробчатую форму и разделены перегородкой (3).
6. Дверная полка по п.5, отличающаяся тем, что перегородка (3) имеет горизонтальное ребро жесткости (7).
7. Дверная полка по п.6, отличающаяся тем, что ребро жесткости (7) перекрывает перегородку (3) сверху.
8. Холодильник с корпусом и дверью, на которой установлена первая дверная полка (12), отличающийся тем, что он содержит вторую дверную полку (11), заявленную в одном из предыдущих пунктов, которая установлена над первой дверной полкой (12).
РИСУНКИ
|
|