|
|
(21), (22) Заявка: 2004105338/11, 24.02.2004
(24) Дата начала отсчета срока действия патента:
24.02.2004
(45) Опубликовано: 20.08.2005
(56) Список документов, цитированных в отчете о поиске:
SU 1019152 А, 23.05.1983. SU 922367, 23.04.1982. US 5582556 А, 10.12.1996.
Адрес для переписки:
400002, г.Волгоград, ул. Институтская, 8, ВГСХА, патентная группа
|
(72) Автор(ы):
Пындак В.И. (RU), Попов А.В. (RU)
(73) Патентообладатель(и):
Волгоградская государственная сельскохозяйственная академия (RU)
|
(54) ИМПУЛЬСНЫЙ ВАРИАТОР
(57) Реферат:
Изобретение относится к области машиностроения, в частности к импульсным вариаторам. Импульсный вариатор включает корпус 1, ведущий вал 2, качающуюся шайбу 4, механизм изменения угла наклона шайбы, передаточные звенья в виде конических шестерен 12, 13 с механизмами свободного хода 11. Конические шестерни 12 и 13 с механизмами свободного хода 11 находятся в зацеплении с основным коническим зубчатым колесом 14, жестко соединенным со шлицевым хвостовиком 15, взаимодействующим со шлицевой втулкой 16 ведомого вала 17. На ведомом валу 17 установлено дополнительное коническое зубчатое колесо 18 с осью вращения, совпадающей с осью ведущего 2 и ведомого 17 валов. При этом конические зубчатые колеса 14, 18 соединены обечайкой 19 таким образом, что они расположены по разные стороны конических шестерен 12, 13 с механизмами свободного хода 11 и образуют блок, который дискретно перемещается вдоль оси вращения и вводится в зацепление с коническими шестернями 12, 13, либо с основным коническим зубчатым колесом 14, либо с дополнительным коническим зубчатым колесом 18. Технический результат заключается в повышении эксплуатационно-технологических показателей, в увеличении диапазона регулирования передаточного отношения. 2 з.п. ф-лы, 4 ил. 
Изобретение относится к машиностроению и может быть использовано в транспортных средствах, в приводах рабочих органов технологических машин.
Известна импульсная регулируемая передача, содержащая корпус, размещенные в нем соосные входной и выходной валы, планетарный ряд с коническими колесами и встроенными в сателлиты механизмами свободного хода, внутренние обоймы которых при помощи кривошипных рычагов взаимодействуют с пазом шарнирно установленной на выходном валу наклонной шайбы (SU №922367, МПК3 F 16 Н 29/04, 1982).
Технический недостаток известной импульсной регулируемой передачи: повышенная сложность конструкции, большая неравномерность вращения выходного вала, ограниченные функциональные возможности.
Известен также автоматический импульсный вариатор, содержащий корпус, ведущий вал, качающуюся шайбу, снабженную внутренней втулкой с осью и подшипником, механизм изменения угла наклона шайбы, передаточные звенья с механизмами свободного хода и ведомый вал (SU №1019152 А, МПК3 F 16 H 29/04, 1983).
Технический недостаток данного вариатора: недостаточно широкие эксплуатационно-технологические показатели вследствие повышенных габаритов, ограниченная область применения из-за невозможности реверсирования движения выходного вала.
Техническая задача – повышение эксплуатационно-технологических показателей за счет увеличения диапазона регулирования передаточного отношения и сокращение габаритов вариатора.
Согласно изобретению на ведомом валу установлено дополнительное коническое колесо с осью вращения, совпадающей с осью ведущего и ведомого валов, при этом дополнительное коническое колесо посредством наружной обечайки жестко связано с основным коническим колесом таким образом, что оба колеса расположены по разные стороны относительно оси качания шайбы и образуют блок, установленный на корпусе с возможностью дискретного перемещения и зацепления шестерен с основным или дополнительным колесом.
Наряду с этим вариатор снабжен механизмом осевого перемещения блока конических колес, а основное коническое колесо жестко соединено со шлицевым хвостовиком, взаимодействующим, с возможностью осевого перемещения, со шлицевой втулкой ведомого вала.
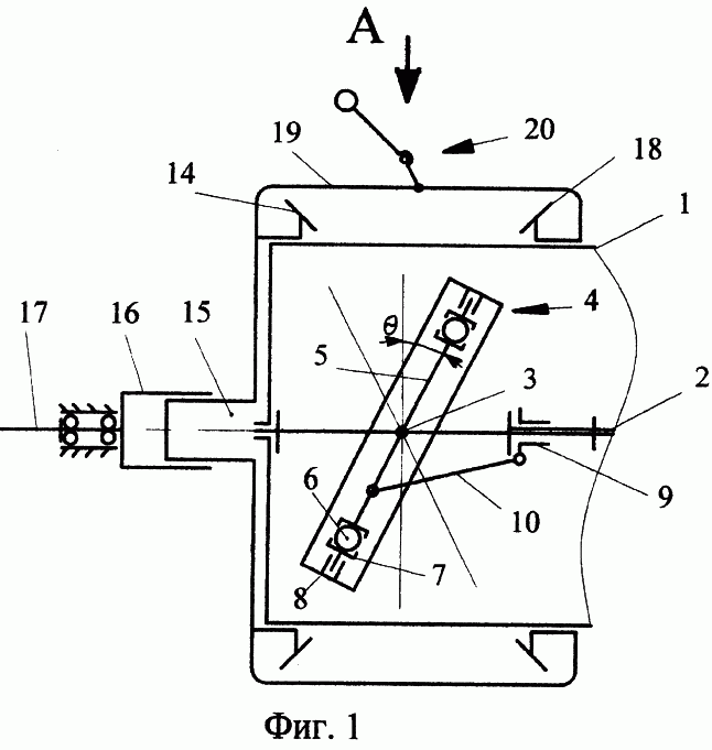
На фиг.1 изображен импульсный вариатор, вид сбоку, схема; на фиг.2 – вариатор, вид А на фиг.1, в разрезе; на фиг.3 и фиг.4 – вариатор, вид Б на фиг.2, при включенном прямом и обратном направлении вращения ведомого вала.
Импульсный вариатор содержит корпус 1, в котором на подшипниках смонтирован ведущий вал 2, на котором посредством оси 3 установлена качающаяся шайба 4. В ее состав входят: внутренняя втулка 5, на которой посажен подшипник 6, промежуточное кольцо 7 и связанное с ним осями наружное кольцо 8. На ведущем валу 2 с возможностью осевого перемещения посажен механизм 9 изменения угла наклона шайбы, который через поводок 10 взаимодействует с внутренней втулкой 5 качающейся шайбы 4.
Наружное кольцо 8 качающейся шайбы 4 снабжено цапфами, на которых посредством механизмов свободного хода 11 посажены конические шестерни 12 и 13. Шестерни 12 и 13 находятся в зацеплении с основным коническим колесом 14, жестко соединенным со шлицевым хвостовиком 15, взаимодействующим со шлицевой втулкой 16 ведомого вала 17.
Основное коническое колесо 14 жестко соединено с дополнительным коническим колесом 18 посредством обечайки 19, тем самым, образуя блок, который перемещается в осевом направлении механизмом 20.
Импульсный вариатор работает следующим образом.
При вращении ведущего вала 2 шайба 4 совершает сложное колебательное движение, качающаяся составляющая которого через наружное кольцо 8 и его цапфы передается на механизмы свободного хода 11, которые выпрямляют движение и передают его посредством конических шестерен 12 и 13 через основное коническое колесо 14 далее на ведомый вал 17. Таким образом, за один оборот ведущего вала 2 на ведомый вал 17 передается два однонаправленных импульса движения. Изменением угла механизмом 9 изменения угла наклона шайбы 4 достигается регулировка амплитуды качания шайбы, а следовательно, и передаточного отношения вариатора, обеспечивая необходимый скоростной режим.
Для реверсирования направления движения выходного вала 17 необходимо переместить механизм изменения угла наклона 9 вправо, тем самым установить шайбу 4 в перпендикулярное положение относительно геометрической оси ведущего вала 2. В этом положении движение не будет передаваться на механизмы свободного хода 11 и далее на ведомый вал, т.к. угол =0 и амплитуда качательной составляющей сложного движения также равна нулю. Далее механизмом 20 переместить блок конических колес влево. При этом основное коническое колесо 14 выйдет из зацепления, а дополнительное 18 войдет в зацепление с коническими шестернями 12 и 13.
Таким образом, в предлагаемом вариаторе простыми средствами достигается: бесступенчатое регулирование угловой скорости ведомого вала 17, включая полную остановку при включенном приводном двигателе и вращающемся ведущем вале 2; широкий диапазон регулирования с возможностью реверсирования движения ведомого вала; простота и компактность конструкции; снижение габаритов; относительно равномерное вращение ведомого вала 17 из-за наличия двух механизмов свободного хода 11, включающихся поочередно. В связи с этим обеспечивается повышение стабильности и надежности работы вариатора и удобство управления.
Формула изобретения
1. Импульсный вариатор, содержащий корпус, ведущий вал, качающуюся шайбу, снабженную внутренней втулкой с осью и подшипником, механизм изменения угла наклона шайбы, передаточные звенья в виде конических шестерен с механизмами свободного хода и ведомый вал с основным коническим зубчатым колесом, отличающийся тем, что на ведомом валу установлено дополнительное коническое зубчатое колесо с осью вращения, совпадающей с осью ведущего и ведомого валов, при этом дополнительное коническое зубчатое колесо посредством наружной обечайки жестко связано с основным коническим зубчатым колесом таким образом, что они расположены по разные стороны относительно оси качания шайбы и образуют блок, установленный на корпусе с возможностью дискретного перемещения и зацепления конических шестерен с механизмами свободного хода с основным или дополнительным коническим зубчатым колесом.
2. Вариатор по п.1, отличающийся тем, что он снабжен механизмом осевого перемещения блока.
3. Вариатор по п.1, отличающийся тем, что основное коническое зубчатое колесо жестко соединено со шлицевым хвостовиком, взаимодействующим с возможностью осевого перемещения со шлицевой втулкой ведомого вала.
РИСУНКИ
MM4A – Досрочное прекращение действия патента СССР или патента Российской Федерации на изобретение из-за неуплаты в установленный срок пошлины за поддержание патента в силе
Дата прекращения действия патента: 25.02.2006
Извещение опубликовано: 27.10.2007 БИ: 30/2007
|
|