|
|
(21), (22) Заявка: 2004102988/11, 02.02.2004
(24) Дата начала отсчета срока действия патента:
02.02.2004
(45) Опубликовано: 20.08.2005
(56) Список документов, цитированных в отчете о поиске:
SU 706627 A, 30.12.1979. SU 502256 A, 22.04.1976. SU 832197 A, 25.05.1981. SU 137604 A, 01.01.1961.
Адрес для переписки:
101000, Москва, Главпочтамт, а/я 788, ФГУП НИКИЭТ им. Н.А. Доллежаля, патентно-лицензионный отдел
|
(72) Автор(ы):
Семёнов А.Н. (RU), Тюрин В.Н. (RU), Гордо В.П. (RU), Шевелёв Г.Н. (RU)
(73) Патентообладатель(и):
Федеральное государственное унитарное предприятие “Научно-исследовательский и конструкторский институт энерготехники им. Н.А. Доллежаля” (RU)
|
(54) УСТРОЙСТВО ДЛЯ ПЕРЕДАЧИ ВРАЩАТЕЛЬНОГО ДВИЖЕНИЯ
(57) Реферат:
Изобретение относится к вакуумной технике, а более конкретно – к устройствам для передачи вращательного движения через стенку вакуумной камеры от вала с приводом, расположенных снаружи камеры, к валу исполнительного механизма, расположенному внутри вакуумной камеры. Устройство для передачи вращательного движения содержит соосные приводной 7 и ведомый 8 валы, качающийся стержень 1 с кольцевым выступом 4, установленный в отверстии эластичной диафрагмы 2. Валы 7, 8 установлены снаружи и внутри вакуумной камеры и кинематически связаны между собой качающимся стержнем 1. Диафрагма 2 выполнена многослойной из листов вакуумной резины с диаметром отверстия в каждом слое, меньшим диаметра стержня 1, по крайней мере, на 30%, вакуумноплотно закреплена на стенке 3 вакуумной камеры и на качающемся стержне 1 в районе точки качения и оперта на кольцевой выступ 4. Технический результат – увеличение срока работы устройства без потери вакуумной плотности при работах приводного вала до 700 об/мин. 2 з.п. ф-лы, 1 ил. 
Изобретение относится к вакуумной технике, а более конкретно – к устройствам для передачи вращательного движения через стенку вакуумной камеры от вала с приводом, расположенных снаружи камеры, к валу исполнительного механизма, расположенному внутри вакуумной камеры.
Основной проблемой, которую предназначены решать эти устройства, является проблема сохранения стабильного вакуума в вакуумной камере, сквозь стенку которой должно осуществляться вращение вала исполнительного механизма.
Для тихоходных валов (до 60 об/мин) в вакуумной технике эта проблема решается достаточно успешно, например, за счет специального вакуумного уплотнения в виде фторопластовой втулки, прижимаемой к полированному участку вала с помощью набора колец из эластичной резины, сжимаемых резьбовой втулкой (см. Вакуумная техника. Справочник, Москва, “Машиностроение”, 1985 г., стр.125, рис.8-2). Эти уплотнения стабильно работают на малых оборотах вала, но при оборотах свыше 60 об/мин этот тип уплотнений начинает образовывать микротечи, приводящие к потере рабочего вакуума в вакуумной камере. Происходит это за счет быстрого истирания внутренней поверхности фторопластовой втулки от трения ее о поверхность вала. При повышении усилия поджатия втулки к валу она начинает перегреваться и шелушиться, в результате чего уплотнение быстро теряет вакуумную плотность.
В вакуумной технике для передачи в вакуумную камеру вращения вала со скоростью вращения свыше 100 об/мин разработано несколько типов устройств, в том числе устройства на основе преобразования процесса вращения вала, расположенного снаружи вакуумной камеры, в процесс кругового качения промежуточного стержня, а потом этот процесс кругового качения промежуточного стержня преобразуется в процесс вращения вала, расположенного внутри вакуумной камеры. В этих устройствах вакуумное уплотнение осуществляют не по вращающемуся валу, а по качающемуся стержню в районе неподвижной точки его кругового качения (см. А.Рот, Вакуумные уплотнения, “Энергия”, Москва, 1971 г., стр.305-308).
Вакуумное уплотнение качающихся стержней осуществляют в основном с помощью сильфонов или диафрагм из эластичного материала. Вакуумное уплотнение качающегося стержня с помощью сильфона надежно работает при небольших по времени включениях с малым суммарным ресурсом качения стержня. При продолжительной работе в сильфоне образуются усталостные микротрещины, которые в итоге относительно быстро приводят к потере вакуумной плотности.
Наиболее близким по совокупности существенных признаков к заявленному изобретению являются диафрагменные уплотнения качающихся стержней (см. А.Рот, Вакуумные уплотнения, “Энергия”, Москва, 1971 г., стр.308, рис.5-15).
В этих конструкциях роль вакуумного уплотнения качающегося стержня выполняет диафрагма из эластичного материала, вакуумноплотно закрепленная на качающемся стержне в районе точки его качения, где колебания стержня слабо выражены, т.к. теоретически в точке качения колебания стержня должны быть равны нулю. На практике избежать знакопеременных изгибных колебаний диафрагмы в районе точки качения стержня не удается, т.к. вакуумное уплотнение на стержне имеет достаточно большие габариты.
В известной конструкции вакуумная плотность между диафрагмой и стержнем достигается за счет сжатия эластичной стенки диафрагмы в районе ее центрального отверстия с помощью двух фланцев, сжимаемых с помощью гаек.
Фланцы необходимы для того, чтобы создать уплотнение на качающемся стержне путем сжатия стенки мембраны между двух фланцев и прижатия кромки отверстия к поверхности качающегося стержня с обеспечением вакуумной плотности.
В известном устройстве для передачи вращательного движения от одного вала к другому с помощью качающегося стержня (см. А.Рот, Вакуумные уплотнения, “Энергия”, Москва, 1971 г., стр.308) используется мембрана из монолитного эластичного материала относительно большой толщины, позволяющей выдерживать силовое воздействие атмосферного давления.
Вакуумное уплотнение такой мембраны на качающемся стержне достигается за счет торцевого сжатия кольцевой части стенки мембраны, расположенной вокруг стержня, что позволяет вакуумноплотно прижать кромку отверстия в мембране к поверхности стержня с усилием, обеспечивающим вакуумноплотное уплотнение между поверхностью стержня и кромкой отверстия.
Торцевое сжатие стенки мембраны достигается с помощью двух фланцев, сжимающих стенку мембраны на краю центрального отверстия, например, с помощью гаек.
Недостатком этой конструкции вакуумного уплотнения диафрагмы на качающемся стержне являются высокие знакопеременные напряжения в стенке диафрагмы на внешнем диаметре шайб. При больших скоростях вращения приводного вала в этом месте стенки диафрагмы возникают знакопеременные напряжения, которые со временем быстро приводят к усталостной деградации материала диафрагмы, образованию в стенке микродефектов и в итоге к потере вакуумной плотности.
Задачей настоящего изобретения является создание конструкции вакуумного уплотнения диафрагмы на качающемся стержне с минимальными знакопеременными напряжениями в материале диафрагмы и увеличенным сроком работы диафрагмы без потери вакуумной плотности.
Техническим результатом настоящего изобретения является увеличение срока работы устройства для передачи вращательного движения без потери вакуумной плотности при оборотах приводного вала до 700 об/мин.
Указанный технический результат достигается тем, что в устройстве для передачи вращательного движения, содержащем приводной и ведомый валы, установленные соосно снаружи и внутри вакуумной камеры, при этом валы кинематически соединены между собой качающимся стержнем, установленным в отверстии эластичной диафрагмы, вакуумноплотно закрепленной на стенке вакуумной камеры и на качающемся стержне в районе точки качения;
– на стержне выполнен кольцевой выступ, на который оперта диафрагма, при этом она выполнена многослойной из листов вакуумной резины с диаметром отверстия в каждом слое меньше диаметра стержня, по крайней мере, на 30%;
– кроме того, выступ на качающемся стержне выполнен радиусом, не превышающим 0,5 диаметра стержня;
– кроме того, диафрагма выполнена не менее чем из трех слоев.
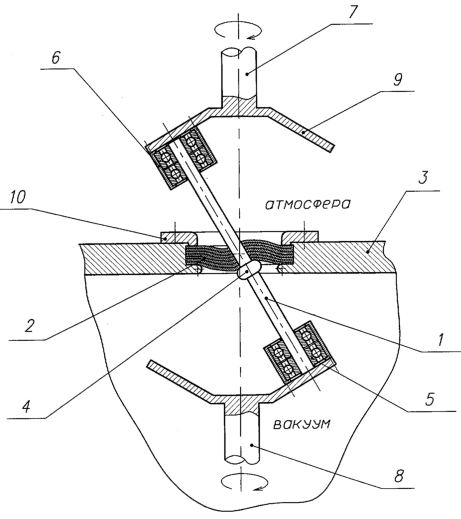
Сущность изобретения поясняется чертежом, на котором схематически изображено устройство для передачи вращательного движения от приводного вала, расположенного в атмосфере снаружи вакуумной камеры, к ведомому валу, расположенному в вакуумной камере, т.е. в вакууме. Передача вращательного движения от приводного вала к ведомому осуществляется с помощью качающегося стержня 1, установленного в центре диафрагмы 2, которая для частичной разгрузки от атмосферного давления опирается на кольцевой выступ 4, выполненный на стержне 1 на уровне нижней плоскости диафрагмы 2. Диафрагма 2 вакуумноплотно закреплена на стенке 3 с помощью фланца 10. На приводном валу 7 и ведомом валу 8 выполнены наклонные “щеки” 9, на которых в свою очередь закреплены стаканы 6.
В стаканах 6 установлены подшипники 5, которые при вращении валов 7 и 8 предотвращают проворот качающегося стержня 1 и исключают трение между стержнем 1 и мембраной 2. “Щеки” 9 на валах 7 и 8 выполнены попарно с целью снижения эксцентрикового эффекта при вращении валов, особенно набольших оборотах.
Устройство для передачи вращательного движения работает следующим образом.
Тонкие слои диафрагмы 2 чаще всего изготавливают из листовой вакуумной резины, в каждом слое которой выполнено центральное отверстие, диаметр которого, по крайней мере, на 30% меньше диаметра качающегося стержня 1. На практике в зависимости от эластичности применяемой резины диаметр отверстия занижают на 30-50% по отношению к диаметру качающегося стержня. При одевании слоев диафрагмы 2 на качающийся стержень 1 кромка отверстия растягивается, плотно обжимает наружную поверхность качающегося стержня 1, надежно обеспечивая вакуумную плотность в месте контакта диафрагмы с поверхностью стержня. При этом вакуумная плотность обеспечивается между качающимся стержнем 1 и каждым слоем диафрагмы. При наружном диаметре диафрагмы 2, например около 60 мм, на диафрагму давит атмосферное давление около 18 кг. Для частичной разгрузки эластичной диафрагмы 2 и ее слоев от силы атмосферного давления со стороны вакуума на качающемся стержне 1 выполнен кольцевой выступ 4, к которому атмосферное давление прижимает слои диафрагмы 2, что дополнительно обеспечивает гарантию вакуумной плотности вакуумному уплотнению между диафрагмой 2 и стержнем 1.
Кольцевой выступ 4 на стержне 1 позволяет уменьшить знакопеременные рабочие напряжения в материале слоев диафрагмы 2 при качении стержня 1, а также позволяет уменьшить растягивающие напряжения от воздействия атмосферного давления в районе вакуумного уплотнения диафрагмы 2 с качающимся стержнем 1.
Выполнение диафрагмы 2 в виде набора тонких слоев из эластичного материала, например, из вакуумной резины, позволяет избавиться от высоких знакопеременных деформаций и связанных с ними напряжений, имеющих место в наружных слоях материала монолитной мембраны, которые относительно быстро образуют в этих зонах усталостные трещины и в итоге приводят к относительно быстрой потере вакуумной плотности в материале мембраны.
Стержень 1 установлен под наклоном к общей оси приводного вала 7 и ведомого вала 8. При этом середина стержня 1 проходит через теоретическую точку качения, через которую также проходит средняя линия толщины мембраны 2. Когда вращается приводной вал 7, стержень 1 совершает круговые колебательные движения, образующие два конуса, соприкасающихся своими вершинами в точке качения. Сам качающийся стержень 1 при этом не проворачивается, т.к. его концы закреплены в подшипниках 5, наружные кольца которых проворачиваются вокруг стержня 1 при каждом обороте вала 7. Ввиду того, что концы стержня 1 жестко закреплены в подшипниках 5 с обеспечением вращения их наружных колец вокруг стержня, то при круговом качении конца стержня 1 от приводного вала 7 синхронно с ним проворачивается по кругу конец стержня 1, подвижно закрепленный на ведомом валу 8.
Заявленное устройство для передачи вращательного движения обеспечивает стабильный вакуум при длительном вращении рабочего вала на скоростях вращения до 700 об/мин.
Пример осуществления
Для подтверждения работоспособности заявленного устройства была изготовлена действующая модель.
Для имитации рабочей вакуумной камеры был использован вакуумный контейнер из органического стекла диаметром 220 мм, в крышке которого проточили отверстие, диаметром 60 мм.
В этом отверстии с помощью нажимного фланца вакуумноплотно установили эластичную диафрагму, диаметром 60 мм. Диафрагму выполнили из пяти слоев листовой вакуумной резины, толщиной 2 мм. Органическое стекло было выбрано для удобства наладки и наблюдения за работой устройства. На крышке с обеих сторон с обеспечением вакуумной плотности установили колонны, на которых закрепили фланцы со стаканами для подшипников ведущего и ведомого валов, на концах которых были выполнены “щеки” для установки стаканов с подшипниками для качающегося стержня.
На наружном торце ведущего вала установили шкиф, диаметром 180 мм, который соединили ременной передачей с двигателем постоянного тока. Качающийся стержень изготовили диаметром 12 мм и длиной 120 мм. Наклон стержня к общей оси ведущего и ведомого валов выбрали величиной в 30°. Отверстия в слоях диафрагмы выполнили по 7 мм. На качающемся стержне ниже центра качения был выполнен кольцевой выступ диаметром 20 мм и толщиной 6 мм, при этом наружный диаметр выступа был скруглен радиусом 3 мм.
Кольцевой выступ на стержне расположили так, чтобы средняя плоскость суммарной толщины многослойной мембраны при ее опоре на кольцевой выступ проходила через теоретическую точку качения стержня, что обеспечило минимальную деформацию слоев диафрагмы в процессе качения стержня.
Наличие на стержне кольцевой опоры позволяет повысить гарантию вакуумной плотности на границе соединения между кромками центрального отверстия в слоях диафрагмы и поверхностью качающегося стержня за счет силы атмосферного давления, которая образуется, когда с внутренней стороны диафрагмы создают рабочий вакуум. При рабочем диаметре диафрагмы около 60 мм суммарная сила атмосферного давления на диафрагму составляет окло 18 кг.
В случае отсутствия опорного кольца на качающемся стержне эластичная диафрагма прогнется в сторону вакуумма, образуя мениск. При наличии же опорного кольца сила атмосферного давления прижимает слои диафрагмы к кольцевому выступу, в результате чего вакуумная плотность между кромками центрального отверстия диафрагмы и стержнем увеличивается, как за счет растяжения кромок отверстий в каждом слое диафрагмы, например, с диаметра 7 мм до диаметра 12 мм, так и за счет прижатия слоев диафрагмы к кольцевому выступу силой атмосферного давления.
Закругление наружного диаметра кольцевого выступа радиусом 3 мм, в свою очередь, снижает до минимума знакопеременные изгибные напряжения в слоях диафрагмы на границе вакуумного уплотнения с качающимся стержнем.
В контейнере с помощью форвакуумного насоса создали разрежение 5·10-3 мм рт.ст., после чего включили вращение ведущего вала на скорости вращения около 100 об/мин. На этой скорости качающийся стержень устойчиво передавал вращение на ведомый вал.
В дальнейшем при испытании на всех оборотах от 100 до 700 об/мин стабильность передачи полностью сохранялась, при этом падение вакуума не наблюдалось.
Макет испытывался в течение семи часов непрерывно на скорости 700 об/мин. В течение семи часов испытания вакуум в контейнере устойчиво сохранялся даже при периодическом пережатии вакуумного шланга, через который контейнер был подключен к форвакуумному насосу.
После испытания в слоях диафрагмы не было обнаружено каких-либо видимых дефектов.
Формула изобретения
1. Устройство для передачи вращательного движения, содержащее приводной и ведомый валы, которые установлены соосно снаружи и внутри вакуумной камеры, при этом валы кинематически связаны между собой качающимся стержнем, установенным в отверстии эластичной диафрагмы, вакуумно-плотно закрепленной на стенке вакуумной камеры и на качающемся стержне в районе точки качения, отличающееся тем, что на стержне выполнен кольцевой выступ, на который оперта диафрагма, при этом она выполнена многослойной из листов вакуумной резины с диаметром отверстия в каждом слое, меньшим диаметра стержня, по крайней мере, на 30%.
2. Устройство по п.1, отличающееся тем, что выступ на качающемся стержне выполнен радиусом, не превышающим 0,5 диаметра стержня.
3. Устройство по любому из пп.1 и 2, отличающееся тем, что диафрагма выполнена не менее чем из трех слоев.
РИСУНКИ
|
|