|
|
(21), (22) Заявка: 2003129900/11, 09.10.2003
(24) Дата начала отсчета срока действия патента:
09.10.2003
(43) Дата публикации заявки: 10.04.2005
(45) Опубликовано: 20.08.2005
(56) Список документов, цитированных в отчете о поиске:
RU 2122670 C1, 27.11.1998. RU 2137961 C1, 20.09.1999. SU 684234, 05.09.1979. DE 3343582 А1, 02.08.1984. ES 2114349 А1, 16.05.1998. GB 1426351, 25.02.1976.
Адрес для переписки:
107023, Москва, ул. Б. Семеновская, 38, МГТУ “МАМИ”, ОИПС, С.Ф. Николаевой
|
(72) Автор(ы):
Власенко С.А. (RU)
(73) Патентообладатель(и):
Московский Государственный Технический Университет “МАМИ” (RU), Власенко Сергей Александрович (RU)
|
(54) ЦЕНТРОБЕЖНОЕ НАЖИМНОЕ УСТРОЙСТВО
(57) Реферат:
Изобретение относится к области машиностроения и может быть использовано в бесступенчатых автоматических трансмиссиях мотоциклов, мотороллеров, мопедов, снегоходов, в бесступенчатых автоматических передачах различных механизмов и машин. Центробежное нажимное устройство содержит опорную втулку 4, установленные на ней неподвижный полушкив 1, подвижный полушкив 2, перемещающийся вдоль оси опорной втулки 4, опорный диск 3, установленный соосно подвижному полушкиву 2, и центробежные грузы 6 в виде тел качения, установленные с возможностью взаимодействия с опорным диском 3 и подвижным полушкивом 2. Опорный диск 3 и подвижный полушкив 2 выполнены повторяющейся формы, при этом опорный диск 3 установлен с возможностью одновременного перемещения с подвижным полушкивом 2 и поворота относительно подвижного полушкива 2 за счет центробежных грузов 6, перемещающихся радиально в зависимости от частоты вращения устройства. На опорной втулке 4 установлены направляющие штифты 8 для обеспечения взаимосвязи опорного диска 3 и опорной втулки 4. Технический результат заключается в уменьшении осевого габарита центробежного нажимного устройства и массы узла в целом. 3 ил. 
Изобретение относится к машиностроительной области и может найти применение в бесступенчатых автоматических трансмиссиях мотоциклов, мотороллеров, мопедов, снегоходов, в бесступенчатых автоматических передачах различных механизмов и машин. Это нажимное устройство предназначено для автоматического изменения передаточного отношения в зависимости от величины частоты вращения.
Известно центробежное нажимное устройство, которое содержит неподвижный полушкив, соосные подвижный полушкив и опорный диск с радиальными пазами с параллельными стенками, центробежные грузы. Центробежные грузы выполнены в виде призм и установлены в соответствующих радиальных пазах с возможностью перемещения вдоль них и контакта с рабочими поверхностями подвижного полушкива и опорного диска по плоскости (1).
Работает центробежное нажимное устройство следующим образом: при вращении центробежного нажимного устройства призмы под действием центробежной силы через рабочие поверхности создают осевые силы, действующие на подвижный полушкив и опорный диск. Если осевая сила превышает внешнюю силу, создаваемую ремнем, то подвижный полушкив перемещается вдоль вала устройства, и призмы скользят по рабочим поверхностям на периферию. Боковые параллельные стенки (радиальный выступ) ограничивают тангенциальное перемещение призм.
Недостатками такого центробежного нажимного устройства являются относительно большой и постоянный в процессе регулирования осевой габарит и, как следствие, большая масса.
Наиболее близким по технической сущности к предлагаемому изобретению относится автоматический клиноременный вариатор. Автоматический клиноременный вариатор скорости содержит ведомый вал. На ведомом валу установлены опорный диск, подпружиненный подвижный вдоль оси и неподвижный полушкивы и центробежные грузы. Кроме того вариатор снабжен сепаратором. Опорный диск жестко закреплен на ведомом валу. Тела качения установлены в гнездах сепаратора. Гнезда сепаратора выполнены в виде криволинейных прорезей, с возможностью взаимодействия с опорным диском и канавками подвижного полушкива. Канавки выполнены круглого сечения (2).
Вариатор работает следующим образом: при увеличении нагрузки на ведомом валу происходит поворот полушкивов относительно ведомого вала и относительно жестко закрепленных на нем опорного диска и силового сепаратора. Так как тела качения утоплены в канавках подвижного полушкива, увеличивается сила давления тел качения на силовой сепаратор, в результате чего тела качения по криволинейной прорези силового сепаратора сближаются к общей оси вариатора, при этом создается осевое усилие, которое превосходит осевое усилие, создаваемое ремнем, подвижный полушкив перемещается в осевом направлении, т.е. уменьшается расстояние между полушкивами, ремень вытесняется на периферию полушкивов, передаточное отношение вариатора увеличивается, а передаваемая мощность сохраняется. Изменение передаточного отношения вариатора происходит до тех пор, пока не установится равенство созданного осевого усилия и осевого усилия, создаваемого ремнем.
Недостатками такой конструкции являются большая масса, обусловленная наличием габаритных деталей – тел качения, подвижного полушкива и опорного диска, и, как следствие, большой осевой габарит.
Задачей изобретения является снижение осевого габарита центробежного нажимного устройства и уменьшение массы узла в целом.
Поставленная задача решается тем, что формы опорного диска и подвижного полушкива повторяются. При регулировании опорный диск и подвижный полушкив одновременно движутся вдоль оси опорной втулки. Благодаря этому толщина пакета из опорного диска и подвижного полушкива минимальна (вместе с толщиной уменьшена и масса пакета) и постоянна, в отличие от аналогичных конструкций. Опорный диск, кроме возможности перемещаться параллельно оси опорной втулки, может поворачиваться на некоторый, строго определенный, угол относительно опорной втулки. Угол поворота опорного диска относительно опорной втулки и его осевое положение на ней жестко связаны. Эта взаимосвязь обеспечивается тем, что на опорной втулке установлен один или несколько направляющих штифтов, в ступице опорного диска имеется один или несколько пазов (по числу направляющих штифтов), боковые стенки которых контактируют с направляющими штифтами опорной втулки, тем самым одному и тому же осевому положению опорного диска соответствует строго определенный угол поворота опорного диска относительно опорной втулки.
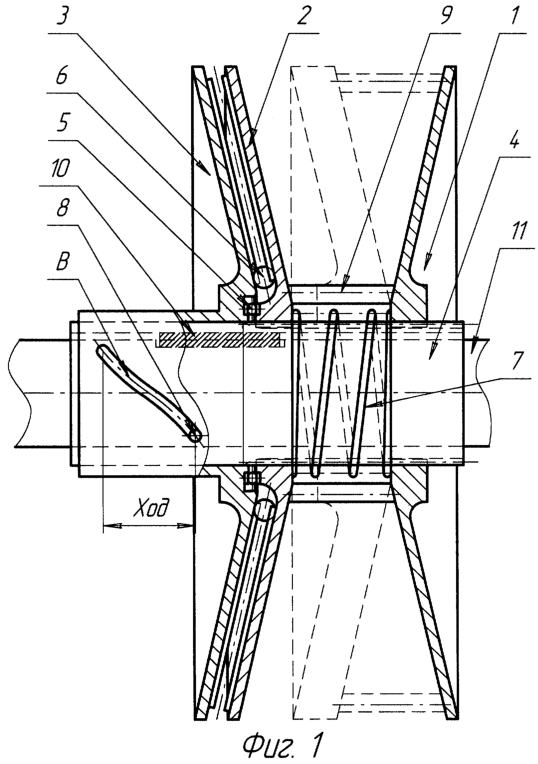
На фиг.1 изображен общий вид центробежного нажимного устройства в разрезе; на фиг.2 изображена форма направляющих выступов (функции выступов могут реализовывать канавки) на опорном диске и подвижном полушкиве, посредством которых происходит взаимодействие между опорным диском, центробежными грузами и подвижным полушкивом, на фиг.3 изображен еще один вариант опорного диска, благодаря конструкции которого еще больше снижена масса устройства в целом.
Центробежное нажимное устройство содержит неподвижный полушкив 1, подвижный полушкив 2, опорный диск 3. Неподвижный полушкив 1 жестко связан с опорной втулкой 4 (например, приварен). Подвижный полушкив 2 и опорная втулка 4 соединены шлицевым соединением, таким образом подвижный полушкив 2 имеет возможность только осевого перемещения вдоль оси опорной втулки 4. Подвижный полушкив 2 и опорный диск 3 могут поворачиваться относительно друг друга, так как между ними стоит упорный шариковый подшипник 5. Кроме упорного шарикового подшипника 5 между подвижным полушкивом 2 и опорным диском 3 находятся центробежные грузы 6. Эти центробежные грузы 6 контактируют с направляющими выступами (канавками) А и Б (фиг.2) подвижного полушкива 2 и опорного диска 3 соответственно, радиальное положение центробежных грузов 6 определяет величину относительного поворота подвижного полушкива 2 и опорного диска 3 относительно друг друга. Для того чтобы центробежные грузы 6 всегда контактировали с направляющими выступами (канавками) подвижного полушкива 2 и опорного диска 3, имеется распорная пружина 7. Опорный диск 3 имеет один или несколько пазов В, по боковым поверхностям которых скользит один или несколько направляющих штифтов 8. Направляющие штифты 8 жестко связаны с опорной втулкой 4 (например, посредством резьбового соединения). Между неподвижным полушкивом 1 и подвижным полушкивом 2 зажат клиновой ремень 9. С помощью шпонки 10 вращение передается от ведущего вала 11 опорной втулке 4.
Возможно три варианта работы передачи.
1. Первый вариант
Ведущий вал 11 вращается с постоянной частотой вращения. Вращение от ведущего вала 11 передается опорной втулке 4 посредством шпонки 10. От опорной втулки 4 вращение передается неподвижному полушкиву 1 и подвижному полушкиву 2. Угол поворота опорного диска 3 относительно подвижного полушкива 2 задается (остается неизменным) радиальным положением центробежных грузов 6, осевое положение опорного диска 3 задается (остается неизменным) направляющими штифтами 8. Подвижный полушкив 2 прижат к опорному диску 3 распорной пружиной 7 через упорный шариковый подшипник 5. На центробежные грузы 6 действует инерционная сила. Эта сила уравновешена осевым усилием, действующим на подвижный полушкив 2 от клинового ремня 9 и распорной пружины 7. Передаточное отношение устройства постоянно.
2. Второй вариант
При увеличении частоты вращения ведущего вала 11 на центробежные грузы 6 действует инерционная сила. В этом случае эта сила больше осевого усилия, действующего на подвижный полушкив 2 от клинового ремня 9. Так как инерционная сила не уравновешена, она вызывает перемещение центробежных грузов 6 на больший радиус. Перемещение центробежных грузов 6, которые находятся в постоянном контакте с направляющими выступами (канавками) А и Б подвижного полушкива 2 и опорного диска 3 соответственно, вызывает поворот подвижного полушкива 2 и опорного диска 3 относительно друг друга. Поворот опорного диска 3 вызывает его, а как следствие и подвижного полушкива 2, перемещение в осевом направлении. Перемещение подвижного полушкива 2 и опорного диска 3 вызывает изменение положения клинового ремня 9 (ремень переходит на больший радиус, передаточное отношение уменьшается). Изменение передаточного отношения идет до тех пор, пока не установится равновесие в системе.
3. Третий вариант
При уменьшении частоты вращения ведущего вала 11 на центробежные грузы 6 действует инерционная сила. В этом случае эта сила меньше осевого усилия, действующего на подвижный полушкив 2 от клинового ремня 9. Так как осевое усилие не уравновешено, оно вызывает перемещение центробежных грузов 6 на меньший радиус. Перемещение центробежных грузов 6, которые находятся в постоянном контакте с направляющими выступами (канавками) А и Б подвижного полушкива 2 и опорного диска 3 соответственно, вызывает поворот подвижного полушкива 2 и опорного диска 3 относительно друг друга, но уже в обратную сторону по сравнению со вторым вариантом. Поворот опорного диска 3 вызывает его, а как следствие и подвижного полушкива 2, перемещение в осевом направлении. Перемещение подвижного полушкива 2 и опорного диска 3 вызывает изменение положения клинового ремня 9 (ремень переходит на меньший радиус, передаточное отношение увеличивается). Изменение передаточного отношения идет до тех пор, пока не установится равновесие в системе.
Резюме: Использование предложенного нажимного устройства позволит уменьшить общую толщину из подвижного полушкива 2 и опорного диска 3 (причем она остается постоянной в процессе регулирования), а как следствие – уменьшится масса всего устройства в сборе и осевой габарит устройства.
Источники информации, используемые при составлении заявки на
изобретение:
1. Патент RU 2137961 С1, кл. F 16 Н 9/00, 55/56, Центробежное нажимное устройство, 1996.
2. Патент RU 2122670 С1, кл. F 16 Н 9/18, 55/56, Автоматический клиноременный вариатор, 1996.
Формула изобретения
Центробежное нажимное устройство, содержащее опорную втулку, установленные на ней неподвижный полушкив, подвижный полушкив, перемещающийся вдоль оси опорной втулки, опорный диск, установленный соосно с подвижным полушкивом, и центробежные грузы в виде тел качения, установленные с возможностью взаимодействия с опорным диском и подвижным полушкивом, отличающееся тем, что опорный диск и подвижный полушкив выполнены повторяющейся формы, причем опорный диск установлен с возможностью одновременного перемещения с подвижным полушкивом и поворота относительно подвижного полушкива за счет центробежных грузов, перемещающихся радиально в зависимости от частоты вращения устройства, при этом на опорной втулке установлены направляющие штифты для обеспечения взаимосвязи опорного диска и опорной втулки.
РИСУНКИ
MM4A – Досрочное прекращение действия патента СССР или патента Российской Федерации на изобретение из-за неуплаты в установленный срок пошлины за поддержание патента в силе
Дата прекращения действия патента: 10.10.2007
Извещение опубликовано: 20.06.2009 БИ: 17/2009
|
|