|
|
(21), (22) Заявка: 2003137868/11, 26.12.2003
(24) Дата начала отсчета срока действия патента:
26.12.2003
(45) Опубликовано: 20.08.2005
(56) Список документов, цитированных в отчете о поиске:
SU 1746080 A1, 07.07.1992. RU 2099606 C1, 20.12.1997. СН 658499 А5, 14.11.1986. JP 9112549 A, 02.05.1997.
Адрес для переписки:
443100, г.Самара, ул. Молодогвардейская, 244, СамГТУ, главный корпус, патентный отдел
|
(72) Автор(ы):
Бородин В.С. (RU), Громаковский Д.Г. (RU), Кудюров Л.В. (RU), Малышев В.П. (RU), Прилуцкий В.А. (RU), Цих С.В. (RU)
(73) Патентообладатель(и):
Государственное образовательное учреждение высшего профессионального образования Самарский государственный технический университет (RU)
|
(54) ДЕМПФИРУЮЩАЯ ОПОРА
(57) Реферат:
Изобретение относится к области машиностроения, а именно к конструкциям опор роторов и других быстровращающихся звеньев механизмов и машин. Демпфирующая опора роторов содержит металлические смежные ленты, которые установлены в пакете под углом к оси вращения ротора. При этом в демпфирующую опору дополнительно введена смазка, имеющая присадку, усиливающую объемную вязкость и рассеивающую способность смазочного слоя. Технический результат – повышение долговечности подшипников роторов путем увеличения демпфирующей способности их опор. 3 ил. 
Изобретение относится к машиностроению, а именно к конструкции опор роторов и других быстровращающихся звеньев механизмов и машин.
Известны аналогичные демпфирующие опоры (а.с. СССР №1555556, F 16 C 27/02; БИ, 13, 90 – Устройство гашения виброколебаний газодинамического подшипника. А.Н.Брагин, С.И.Сигачев, а.с. СССР №1684548, F 16 C 27/00, F 16 C 9/14, БИ, 38, 91 – Упругодемферная опора. И.Д.Эскин, А.В.Сидоренко, А.В.Васюхин, Г.В.Павлов; а.с. РФ №2083886, F 16 C 21/00, БИ, 19, 97. Упругодемпферная опора. Л.А.Сидоренко, Д.Г.Василенко; а.с. SU №1746080, F 16 C 27/02, БИ, 25, 92 – Упругодемпфирующая опора скольжения. Ю.К.Пономарев, С.В.Цих, О.Л.Кайдалов; заявка Японии №52-9265, кл. F 16 C 27/00, 1977), содержащие корпус и демпфирующий вкладыш. Аналогичные технические решения позволяют повысить демпфирующую способность опор ротора. Однако они не обеспечивают стабильности демпфирующего эффекта в связи с износом пластин демпфирующего вкладыша.
В качестве прототипа наиболее близким по технической сущности и достигаемому результату является упрогодемпфирующая опора скольжения (а.с. SU №1746080, F 16 C 27/02, БИ, 25, 92. Ю.К.Пономарев, С.В.Цих, О.Л.Кайдалов), содержащая корпус и смежные ленты в пакете. Техническое решение – прототип позволяет повысить вибродемпфирующую способность опоры. Однако устройство – прототип не обеспечивает равновысокого демпфирующего эффекта опор роторов в направлениях нормальной и касательной составляющей нагрузки.
Основной эффект в изобретении-прототипе создает нормальная составляющая за счет малых деформаций плоских и гофрированных лент.
В осевом направлении демпфирующее действие ослаблено в виду большой касательной податливости пластин. Кроме того, в этом направлении не реализуется объемная вязкость смазки, для чего необходимо наличие всестороннего сжатия смазочных частиц.
Таким образом, техническое решение-прототип не позволяет решить техническую задачу дальнейшего повышения долговечности подшипников роторов путем увеличения демпфирующей способности их опор.
Сущность изобретения заключается в том, что в демпфирующей опоре роторов, содержащей корпус и камеру с демпфирующим вкладышем в виде пакета металлических смежных лент, установленных в пакете под углом к оси вращения ротора, определяемым по формуле где N,  i – радиальная и касательная силы, действующие на опору, соответственно. Кроме того, в камеру с демпфирующим вкладышем в виде пакета металлических смежных лент введена смазка, содержащая присадку, усиливающую объемную вязкость и рассеивающую способность смазочного слоя.
Признаки изобретения отличающие его от прототипа:
– изменена структура введением дополнительного элемента в виде специальной присадки;
– изменена форма и расположение известных элементов – смежных лент;
они расположены под определенным углом;
– изменены связи между элементами за счет введения смазки. Доказательство возможности решения технической задачи с помощью отличительных признаков изобретения:
– расположение сменяемых лент под углом позволяет воспринимать нормальную и касательную нагрузку;
– введение смазки, содержащей присадку, вызывает пульсацию давления смазки, расположенной между пластинами, и соответственно реализацию объемной вязкости – повышения рассеяния механической энергии.
Сравнение отличительных признаков изобретения с прототипом и другими известными техническими решениями показывает, что они не были известны и с их помощью можно решить поставленную техническую задачу повышения демпфирующей способности опор роторов. Следовательно, отличительные признаки являются существенными.
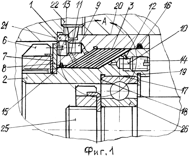
Графические материалы заявки содержат: фиг.1 – общий вид демпфирующей опоры; фиг.2 – вариант демпфирующей опоры с кольцом паразитным; фиг.3 – конфигурация смежной ленты.
Опора содержит корпус, состоящий из двух подвижных друг относительно друга наружной 1 и внутренней 2 частей, соответственно внутри которых образована камера 3. В камере 3 размещен демпфирующий вкладыш в виде пакета металлических смежных лент 4. При достаточной длине пакета он может включать также кольцо 5, разделяющий пакет на две примерно равные части. Внутренняя часть 2 корпуса с размещенным в камере пакетом металлических смежных лент 4 имеет возможность быть стянутой относительно наружной части 1 корпуса посредством гайки 6, шайбы стопорной 7 и шайбы 8. Внутренняя часть 2 и наружная часть 1 корпуса с противоположных торцов снабжены камерами 9 и 10, отверстиями 11, 12 и пробками 13, 14 для обеспечения подачи смазки непосредственно в камеру. Наружная часть 1 корпуса по внутренним посадочным противоположным центральным отверстиям снабжена кольцами 15, 16 уплотнительными, предназначенными для исключения утечки смазки из камеры. Для установки опоры по внутреннему контуру, например, на подшипнике качения, внутренняя часть 2 корпуса снабжена посадочным отверстием 17, внутренним торцом 18 и пружинным упорным плоским кольцом 19, имеющими возможность контактировать с наружным кольцом подшипника качения. Для установки опоры по наружному контуру, например в корпусе механизма или машины, наружняя часть корпуса снабжена наружной посадочной цилиндрической поверхностью 20, торцом 21, имеющими возможность контактировать с посадочным отверстием корпуса механизма или машины, а также, например, винтом 22 установочным. Каждая из металлических смежных лент 4 по форме представляет собой два усеченных конуса – наружный 23 и внутренний 24, равных по размерам и площади. Угол наклона их образующей выбирается из соотношения:

где – касательная и нормальная сила соответственно, действующие на опору.
Зазор S разделяет противоположные концы металлической смежной ленты 4. Металлические смежные ленты имеют возможность контактировать друг с другом наружным и внутренним усеченными конусами через слой смазки. При этом зазоры S двух соседних лент расположены на противоположных сторонах центральной плоскости симметрии опоры. Смазка, например масло индустриальное – 20, содержит присадку, например 0,1% циклогексанола, способную до 3-х раз усиливать объемную вязкость и рассеивающую способность смазочного слоя, образуемого в контакте соседних металлических смежных лент 4.
Демпфирующая опора работает следующим образом. Выбирается демпфирующая опора по размерам и углу , соответствующая условиям работы механизма или машины, т.е. размерам, например, подшипника качения и диаметру внутренней посадочной поверхности корпуса механизма или машины. Собранная демпфирующая опора с пакетом металлических смежных пластин, заправленная соответствующей смазкой, устанавливается на наружном кольце подшипника качения и фиксируется на нем в осевом направлении посредством плоского упорного пружинного кольца 19. По наружному контуру демпфирующая опора устанавливается наружной посадочной цилиндрической поверхностью 20 в отверстие корпуса механизма или машины и фиксируется в осевом направлении, например, посредством винта 22 наружной части 1 корпуса. При работе механизма или машины вал 25 ротора вращается вокруг собственной оси в подшипниках 26 качения. На подшипник 26 и демпфирующую опору действуют касательная и нормальная силы. Кроме того, на них действуют центробежные силы, переменные во времени, возмущающие вынужденные колебания вала 25 ротора на его частоте вращения. Возникают и другие возмущения и возбуждаются, например, автоколебания и параметрические колебания механической системы механизма или машины. Энергия колебаний поглощается трением в смежных пластинах, а также смазкой.
В итоге происходит демпфирование колебаний, амплитуда которых значительно уменьшается по сравнению с применением демпферной опоры-прототипа.
Пример конкретного выполнения демпфирующей опоры
Вал ротора установлен в шариковых подшипниках качения №204 с наружным кольцом, имеющим диаметр 47 мм. Корпус механизма имеет отверстие, диаметр которого возможно увеличить до 82 мм. В пространство между подшипниками качения и отверстием корпуса механизма устанавливается демпфирующая опора. Из нескольких одинакового габарита демпфирущих опор выбирается опора, имеющая угол наклона смежных лент , соответствующий отношению для данного вала ротора, а именно – 0,66. Данная демпфирующая опора имела следующие размеры: наружный диаметр 82 мм; внутренний наименьший диаметр отверстия 40 мм; диаметр посадочной поверхности под подшипник 47 мм; общая длина 42 мм; угол наклона смежных лент 30°; толщина ленты 0,3 мм; смазка – масло машинное марки Индустриальное – 20; пакет смежных лент разделяющего кольца не содержал.
Экономическая эффективность использования заявляемой демпферной опоры может быть определена как разница эксплуатационных расходов на работу механизма или машины при использовании прототипа и предлагаемого технического решения.
Формула изобретения
Демпфирующая опора роторов, содержащая корпус и камеру с демпфирующим вкладышем в виде пакета металлических смежных лент, отличающаяся тем, что металлические смежные ленты установлены в пакете под углом к оси вращения ротора, определяемым по формуле

где – соответственно радиальная и касательная силы, действующие на опору, при этом в камеру с демпфирующим вкладышем введена смазка, имеющая присадку, усиливающую объемную вязкость и рассеивающую способность смазочного слоя.
РИСУНКИ
MM4A – Досрочное прекращение действия патента СССР или патента Российской Федерации на изобретение из-за неуплаты в установленный срок пошлины за поддержание патента в силе
Дата прекращения действия патента: 27.12.2005
Извещение опубликовано: 10.06.2007 БИ: 16/2007
|
|