|
|
(21), (22) Заявка: 2003134118/11, 24.11.2003
(24) Дата начала отсчета срока действия патента:
24.11.2003
(45) Опубликовано: 20.08.2005
(56) Список документов, цитированных в отчете о поиске:
SU 1232859 A1, 23.05.1986. SU 259274 А, 04.02.1971. SU 1615451 A1, 23.12.1990. SU 254958 А, 17.10.1969.
Адрес для переписки:
424024, г.Йошкар-Ола, пл. Ленина, 3, МарГТУ, отдел интеллектуальной собственности
|
(72) Автор(ы):
Ширнин Ю.А. (RU), Шестаков Я.И. (RU), Онучин Е.М. (RU), Онучин А.М. (RU)
(73) Патентообладатель(и):
Марийский государственный технический университет (RU)
|
(54) УЗЕЛ СОЕДИНИТЕЛЬНЫЙ
(57) Реферат:
Изобретение относится к машиностроению и предназначено для жесткого соединения между собой отдельных элементов машин. Узел соединительный состоит из соединяемых элементов, имеющих соединительные плиты, несущих элементов и механизма предварительного напряжения. Соединительные плиты выполнены по меньшей мере с двумя отверстиями с зенковкой со стороны, обратной второму соединяемому элементу каждая, соединяющимися прорезями, ширина которых равна малому диаметру отверстий, с боковыми гранями соединительных плит. В отверстия установлены несущие элементы. На сторонах соединительных плит, обращенных друг к другу, сделаны скосы под углом. В зазоре между скосами установлен механизм предварительного напряжения, выполненный в виде расклинов, имеющих профиль равнобокой трапеции, угол наклона боковых сторон которой соответствует углу скосов на соединительных плитах. В результате облегчается сборка и разборка соединения. 1 з.п. ф-лы, 1 ил. 
Изобретение предназначено для жесткого соединения между собой отдельных элементов транспортно-технологических машин и может быть использовано в машиностроении.
Известен узел соединительный, включающий соединяемые элементы, имеющие цилиндрические выступы разных диаметров, причем в выступе большего диаметра выполнено соосное отверстие, диаметр которого соответствует диаметру второго выступа, в обоих выступах выполнены отверстия, концентричные в собранном состоянии, оси которых перпендикулярны осям выступов, и в эти отверстия вставлен фиксирующий элемент-штифт (Анурьев, В.И. Справочник конструктора машиностроителя. В 3-х т. Т.2 – 5-е изд., перераб. и доп. – М.: Машиностроение, 1979. – 559 с., с.35, рис. в табл.10).
Недостатком этого узла соединительного является недостаточная жесткость взаимной фиксации соединяемых элементов по всем 6-ти степеням свободы.
Наиболее близким является узел соединительный, состоящий из соединяемых элементов, имеющих соединительные плиты, на которых выполнены концентричные в собранном состоянии отверстия, несущих элементов, выполненных в виде цилиндров и вставленных в отверстия соединительных плит, и механизма предварительного напряжения, выполненного в виде резьбы на несущем элементе и навинчиваемой на нее с некоторым моментом затяжки гайки. (Анурьев, В.И. Справочник конструктора машиностроителя. В 3-х т. Т.2 – 5-е изд., перераб. и доп. – М.: Машиностроение, 1979. – 559 с., с.516, рис.6).
Недостатком этого узла соединительного является значительная трудоемкость процесса сборки и разборки соединения.
Указанный недостаток устраняется тем, что в узле соединительном, состоящем из соединяемых элементов, имеющих соединительные плиты, на которых выполнены концентричные в собранном состоянии отверстия, несущих элементов, выполненных в виде цилиндров и вставленных в отверстия соединительных плит, и механизма предварительного напряжения, выполненного в виде резьбы на несущем элементе и навинчиваемой на нее с некоторым моментом затяжки гайки, соединительные плиты выполнены по меньшей мере с двумя отверстиями с зенковкой со стороны обратной второму соединяемому элементу каждая, соединяющимися прорезями, ширина которых равна малому диаметру отверстий, с боковыми гранями соединительных плит, в отверстия установлены несущие элементы, на сторонах соединительных плит, обращенных друг к другу, сделаны скосы под углом, в зазоре между скосами установлен механизм предварительного напряжения, выполненный в виде расклинов, имеющих профиль равнобокой трапеции, угол наклона боковых сторон которой соответствует углу скосов на соединительных плитах, несущие элементы выполнены в виде цилиндров, заканчивающихся расширяющимися коническими поверхностями.
Предложенная конструкция узла соединительного позволяет облегчить процесс сборки и разборки соединения.
В патентной и научно-технической литературе подобной конструкции узла соединительного нами не обнаружено.
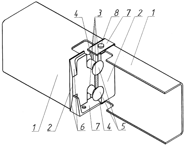
На чертеже изображен узел соединительный в сборе с вырезом четверти.
Узел соединительный состоит из соединяемых элементов 1, жестко соединенных с соединительными плитами 2, в отверстия 3 которых через прорези 4 вставлены несущие элементы 5. Между скосов 6 соединительных плит 2 установлены расклины 7, стянутые для создания предварительного напряжения болтовыми соединениями 8.
Узел соединительный работает следующим образом.
Первоначально соединяемые элементы 1 сближаются до соприкосновения соединительных плит 2, что дает возможность через прорези 4 в соединительных плитах 2 установить несущие элементы 3 в отверстия 3 соединительных плит 2. После чего соединяемые элементы 1 раздвигаются насколько им позволяют несущие элементы 5, и в образовавшийся между скосов 6 соединительных плит 2 зазор устанавливаются расклины 7, которые затем болтовыми соединениями 8 стягиваются до создания необходимого предварительного напряжения в узле соединительном, что позволяет жестко соединить соединяемые элементы.
Предложенная конструкция узла соединительного позволяет облегчить процесс сборки и разборки соединения.
Формула изобретения
1. Узел соединительный, состоящий из соединяемых элементов, имеющих соединительные плиты, несущих элементов и механизма предварительного напряжения, отличающийся тем, что соединительные плиты выполнены по меньшей мере с двумя отверстиями с зенковкой со стороны, обратной второму соединяемому элементу каждая, соединяющимися прорезями, ширина которых равна малому диаметру отверстий, с боковыми гранями соединительных плит, в отверстия установлены несущие элементы, на сторонах соединительных плит, обращенных друг к другу, сделаны скосы под углом, в зазоре между скосами установлен механизм предварительного напряжения, выполненный в виде расклинов, имеющих профиль равнобокой трапеции, угол наклона боковых сторон которой соответствует углу скосов на соединительных плитах.
2. Узел по п.1, отличающийся тем, что несущие элементы выполнены в виде цилиндров, заканчивающихся расширяющимися коническими поверхностями.
РИСУНКИ
MM4A – Досрочное прекращение действия патента СССР или патента Российской Федерации на изобретение из-за неуплаты в установленный срок пошлины за поддержание патента в силе
Дата прекращения действия патента: 25.11.2005
Извещение опубликовано: 27.06.2007 БИ: 18/2007
|
|