|
|
(21), (22) Заявка: 2003133029/06, 11.11.2003
(24) Дата начала отсчета срока действия патента:
11.11.2003
(43) Дата публикации заявки: 27.04.2005
(45) Опубликовано: 20.08.2005
(56) Список документов, цитированных в отчете о поиске:
SU 501192 А, 09.04.1976. DE 3400699 A1, 18.07.1985. SU 769068 A, 07.10.1980. RU 2099594 C1, 20.12.1997. US 2915900 A, 12.04.1956. US 2215157 А, 17.09.1940.
Адрес для переписки:
607190, Нижегородская обл., г. Саров, пр-кт Мира, 37, ФГУП РФЯЦ-ВНИИЭФ, ОПИНТИ
|
(72) Автор(ы):
Толстиков И.Г. (RU), Долгов В.И. (RU), Мартынов А.П. (RU), Фомченко В.Н. (RU), Погодин Е.П. (RU)
(73) Патентообладатель(и):
Федеральное государственное унитарное предприятие Российский федеральный ядерный центр – Всероссийский научно-исследовательский институт экспериментальной физики – ФГУП РФЯЦ-ВНИИЭФ (RU), Министерство Российской Федерации по атомной энергии – Минатом РФ (RU)
|
(54) СПОСОБ ПОЛУЧЕНИЯ МЕХАНИЧЕСКОЙ РАБОТЫ
(57) Реферат:
Способ предназначен для получения механической работы, включающий стимулирование фазовых превращений в рабочем теле с изменением его геометрических размеров за счет периодического изменения внешних условий в соответствии с фазовой диаграммой вещества рабочего тела и передачу механического импульса, возникающего при этом в рабочем теле, перемещаемому телу. Стимулирование фазовых превращений производят, по крайней мере, одним импульсным локальным воздействием с образованием в рабочем теле, по крайней мере, одной волны фазовых превращений, распространяющейся в заданном направлении, при этом передачу перемещаемому телу возникающего в рабочем теле механического импульса осуществляют от фронта волны фазовых превращений. Способ позволяет обеспечить снижение потребляемой мощности и увеличить рабочий ход. 2 ил. 
Изобретение относится к области преобразования различных видов энергии в механическую работу при фазовых превращениях конденсированного вещества и может быть использовано для изготовления чувствительных элементов и исполнительных механизмов в приборах автоматики и телемеханики.
Известен способ получения механической энергии (авторское свидетельство СССР №769068, МПК F 03 G 7/06, опубл. 07.10.80 в БИ №37), в котором расширяющееся при замерзании рабочее тело (воду) охлаждают до температуры кристаллизации с получением механической работы (энергии) за счет увеличения объема рабочего тела при его фазовом превращение с последующим нагреванием рабочего тела до температуры плавления с совершением холостого хода.
Известен способ превращения тепловой энергии в механическую (заявка ФРГ №2261710, МПК F 03 G 7/06, опубл. 28.05.75) при применении сплавов, которые вновь приобретают прежнюю форму, если после однократного пластического деформирования при температуре, обеспечивающей структурное превращение сплавов, их последовательно многократно нагревают до температуры, при которой происходит структурное превращение в определенном направлении структурных фазовых превращений, и охлаждают до температуры, при которой процессы структурного превращения протекают в обратном направлении. При этом сплав (рабочее тело) восстанавливает первоначальную форму и совершает полезную работу.
Наиболее близким по технической сущности к заявляемому способу (прототипом) является способ получения механической работы (авторское свидетельство СССР №501192, МПК 2 F 03 G 7/06, опубл. 30.01.76 в БИ №4) при фазовых превращениях в твердом рабочем теле путем упорядочения внутренних деформаций и стимулирования обратного фазового превращения в рабочем теле при рабочем ходе последнего и прямого – при холостом периодическим изменением внешних условий (теплового, механического, магнитного, электрического поля или их комбинаций) в соответствии с фазовой диаграммой вещества. При этом, с целью увеличения удельной работоспособности рабочего тела, внутренние деформации упорядочивают при прямом фазовом превращении.
Недостатком вышеуказанных известных способов является то, что стимулирование фазовых превращений осуществляется сразу во всем объеме рабочего тела или отдельных его самостоятельных частей (звеньев) со своей отдельной кинематической связью для передачи возникающих при этом внутренних реактивных напряжений (механического импульса силы) внешнему перемещаемому телу. Это приводит к необходимости использования первичных источников энергии (которая и преобразуется в механическую работу при фазовых переходах) повышенной мощности. Другим недостатком известных способов является то, что величина перемещения перемещаемого тела (рабочий ход) определяется (ограничена) величиной деформации рабочего тела при фазовом переходе.
Задача, на решение которой направлено заявляемое изобретение, заключается в разработке простого способа получения механической работы путем стимулирования фазовых превращений различной природы (изменение агрегатного состояния, полиморфные превращения) в конденсированных веществах.
Технический результат, достигаемый при осуществлении предлагаемого изобретения, заключается в снижении потребляемой мощности и увеличении рабочего хода.
Это достигается тем, что в способе получения механической работы, включающем стимулирование фазовых превращений в рабочем теле с изменением его геометрических размеров за счет периодического изменения внешних условий в соответствии с фазовой диаграммой вещества рабочего тела и передачу механического импульса, возникающего при этом в рабочем теле, перемещаемому телу, в отличие от прототипа, стимулирование фазовых превращений производят по крайней мере одним импульсным локальным воздействием с образованием в рабочем теле по крайней мере одной волны фазовых превращений, распространяющейся в заданном направлении, при этом передачу перемещаемому телу возникающего в рабочем теле механического импульса осуществляют от фронта волны фазовых превращений.
Сущность предлагаемого способа заключается в том, что при фазовом превращении (переходе) с изменением геометрических размеров (формы, объема) в виде волны фазовых превращений вместе с последней (как одно из ее проявлений, сопутствующий фактор) распространяется в том же направлении волна деформации, способная к перемещению твердых и жидких тел. При этом передача возникающего в рабочем теле механического импульса силы осуществляется от фронта волны фазового превращения (деформации), образуя, таким образом, кинематическую связь между рабочим и перемещаемым телами.
Для образования волны фазового превращения необходимо и достаточно обеспечить соответствующий условиям фазового перехода импульсный подвод (отвод) энергии (например, нагревание или охлаждение) к отдельным локальным участкам рабочего тела последовательно по времени от одного смежного участка к другому в заданном направлении распространения волны. Это приводит к снижению потребляемой мощности от первичного источника энергии.
С другой стороны, величина перемещения (рабочий ход) перемещаемого тела определяется в данном способе расстоянием, на которое может перемещаться фронт волны, т.е. ограничена геометрическим размером рабочего тела в направлении распространения волны, а не величиной его деформации. Это приводит к увеличению рабочего хода при реализации заявляемого способа по сравнению с прототипом.
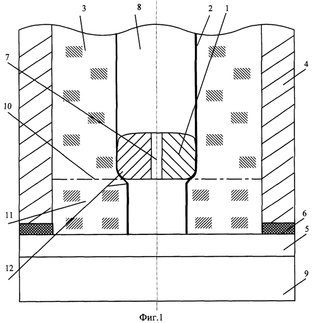
На фиг.1 представлено устройство, реализующее заявляемый способ при изменении агрегатного состояния вещества с изменением объема последнего, в котором в качестве рабочего тела используется вода (лед); на фиг.2 представлено устройство, реализующее заявляемый способ при обратном мартенситном фазовом полиморфном превращении с изменением формы рабочего тела, в качестве которого используются сплавы с памятью формы типа никелида титана.
Заявляемый способ может быть реализован следующим образом, см. фиг.1. Перемещаемое тело (поршень) 1, плотность которого больше плотности воды, размещают со скольжением в нижней части тонкой эластичной трубки 2, установленной в центре прочного жесткого сосуда с водой (рабочим телом) 3, уровень которой находится выше поршня 1. Сосуд состоит из цилиндрической оболочки 4 и основания 5, изготовленных, например, из стали, разделенных теплоизолирующей прокладкой 6. Поршень имеет отверстие 7 для выравнивания давления воздуха 8 в трубке 2 при движении поршня 1. Трубка 2 предотвращает перетекание воды в область 8 и может быть изготовлена из полимерных материалов. Предварительно всю конструкцию целесообразно охладить до температуры, близкой к температуре кристаллизации (замерзания) воды. Затем включают холодильник 9, размещенный снизу от основания 5 сосуда, для импульсного локального охлаждения рабочего тела. В результате устанавливается вертикальное в данном случае направление теплового потока с градиентом температуры снизу вверх, что обеспечивает (стимулирует) послойную кристаллизацию воды с практически горизонтальным положением движущейся вверх границы раздела 10 (фронта волны фазового превращения) лед 11 – вода 3 за исключением участка 12, где эта граница смыкается с воздухом 8 (через тонкую эластичную трубку 2). Учитывая, что вследствие увеличения объема рабочего тела при фазовом переходе вода-лед, обеспечения требуемой жесткости сосуда и выбранной геометрии, происходит значительное сжатие эластичной трубки по диаметру, то в области участка 12 фронта волны фазового превращения образуется конусообразный выступ (воронка) достаточной величины (равной амплитуде волны деформации) для образования кинематической связи с поршнем 1 и перемещения последнего синхронно с движением границы 10. Степень сжатия трубки 2 оценивается соотношением

где k – коэффициент объемного расширения, S и s – соответственно площади поперечного сечения областей, занимаемых водой 3 и воздухом 8, r и r – радиус трубки и его приращение (амплитуда волны деформации). При r=10 мм, k=0,083 и внутреннем радиусе оболочки 4 с водой R=35 мм, отношение площадей S/s=11,25 и r=3,1 мм. Тогда сила тяги F= × s, где – реактивное напряжение, s – площадь поперечного сечения выступа, при =1 МПа оценивается величиной F 160 Н.
В другом примере практической реализации заявляемого способа, см. фиг.2, используется рабочее тело в виде трубки 2 из сплава с эффектом памяти формы с размещенным в ней со скольжением поршнем 1. Нагреватель 13 размещен у нижнего торца трубки 2 с обеспечением локального теплового контакта с последней и отделен от поршня 1 теплоизолирующей прокладкой 6. Трубка 2 может быть выполнена в виде соединительной трубчатой муфты из никелида титана, при изготовлении предварительно растянутой (деформированной) в радиальном направлении в мартенситной фазе (Тихонов А.С. и др. Применение эффекта памяти формы в современном машиностроении. – М.: Машиностроение, 1981, с.57). При импульсном локальном нагревании трубки 2 с помощью нагревателя 13 с градиентом температуры в осевом направлении до температуры выше температуры обратного фазового перехода (равной Ан=95°С для эквиатомного сплава никелида титана), происходит формовосстановление трубки в процессе этого перехода, а именно, перехода из мартенситного (часть 14 трубки 2) в аустенитное (часть 15 трубки 2) состояние, с уменьшением внутреннего диаметра на 5-10%, в результате которого образуется волна фазового превращения 16 с сопутствующей ей и вызванной ею волной деформации, распространяющаяся вдоль оси трубки и вытесняющая поршень 1 вертикально вверх. Возникающая в результате этого процесса сила тяги при значениях внутреннего радиуса r=10 мм, его приращения (выступа) r=0,5-1,0 мм, реактивного напряжения =500-700 МПа оценивается величиной F=(1,5÷4)104 Н. Следует отметить, что вследствие гистерезиса мартенситных переходов по температуре появляется возможность формирования нескольких волн фазового превращения, распространяющихся в одном и том же направлении, путем многократного импульсного нагревания рабочего тела в интервале температурного гистерезиса с повышением температуры после каждого нагрева, то есть путем обеспечения каждый раз условий для частичного фазового перехода.
Таким образом, рассмотренные примеры подтверждают осуществимость предлагаемого способа, возможность формирования в рабочем теле движущейся в заданном направлении волны фазового превращения и сопутствующей ей волны деформации достаточной амплитуды для обеспечения кинематической связи рабочего и перемещаемого тела.
Поскольку при образовании волны фазовых превращений в предлагаемом способе осуществляется подвод энергии к отдельным локальным участкам рабочего тела последовательно по времени, то это приводит к снижению потребляемой мощности по сравнению с прототипом.
Рабочий ход перемещаемого тела определяется в предлагаемом способе расстоянием, на которое может перемещаться фронт волны, и ограничен размером рабочего тела в направлении распространения волны, а не величиной его деформации, что приводит к увеличению рабочего хода по сравнению с прототипом.
Формула изобретения
Способ получения механической работы, включающий стимулирование фазовых превращений в рабочем теле с изменением его геометрических размеров за счет периодического изменения внешних условий в соответствии с фазовой диаграммой вещества рабочего тела и передачу механического импульса, возникающего при этом в рабочем теле, перемещаемому телу, отличающийся тем, что стимулирование фазовых превращений производят, по крайней мере, одним импульсным локальным воздействием с образованием в рабочем теле, по крайней мере, одной волны фазовых превращений, распространяющейся в заданном направлении, при этом передачу перемещаемому телу возникающего в рабочем теле механического импульса осуществляют от фронта волны фазовых превращений.
РИСУНКИ
|
|