|
|
(21), (22) Заявка: 2003130234/06, 10.10.2003
(24) Дата начала отсчета срока действия патента:
10.10.2003
(45) Опубликовано: 20.08.2005
(56) Список документов, цитированных в отчете о поиске:
RU 2136952 C1, 10.09.1999. RU 2023199 C1, 15.11.1994. RU 2023200 C1, 15.11.1994. DE 3300946 А1, 19.07.1984. DE 3217758 A1, 17.11.1983. GB 2131945 А, 27.07.1984. US 4309967 А, 12.06.1982.
Адрес для переписки:
625002, г.Тюмень, ул. Циолковского, 1, ЗАО “Лидер”, Е.Н. Подкопаеву
|
(72) Автор(ы):
Ермаков Ю.И. (RU), Подкопаев Е.Н. (RU)
(73) Патентообладатель(и):
ЗАО “Лидер” (RU)
|
(54) УСТРОЙСТВО ДЛЯ ПРЕДПУСКОВОГО ПОДОГРЕВА ДВИГАТЕЛЯ ВНУТРЕННЕГО СГОРАНИЯ
(57) Реферат:
Изобретение относится к двигателестроению, а именно к устройствам, предназначенным для подогрева двигателя внутреннего сгорания перед его запуском при эксплуатации в условиях отрицательных температур окружающего воздуха. Устройство для предпускового подогрева двигателя внутреннего сгорания содержит накопительный бак, теплоизоляционный кожух, электрический насос, подводящий и отводящий трубопроводы, внутри накопительного бака на съемном фланце установлены электронагревательный элемент и терморегулятор, термовыключатель, установленный на патрубке отводящего трубопровода, систему, препятствующую перемешиванию холодного и горячего теплоносителя, выполненную в виде перегородок и решетки, установленных неподвижно внутри накопительного бака. Электронагревательный элемент осуществляет подогрев теплоносителя, находящегося в накопительном баке после продолжительных стоянок, когда теплоноситель остынет. Терморегулятор осуществляет отключение и включение электронагревательного элемента и тем самым поддерживает теплоноситель горячим. Теплоизоляционный кожух позволяет длительное время сохранять теплоноситель горячим. Термовыключатель обеспечивает полное замещение в двигателе холодного теплоносителя на горячий. В теплоизоляционном кожухе имеется канал для монтажа и обслуживания электронагревательного элемента с терморегулятором. Изобретение обеспечивает предпусковой подогрев двигателя при низких температурах окружающего воздуха, уменьшение токсичности отработанных газов при запуске и прогреве двигателя. 2 з.п. ф-лы, 3 ил. 
Изобретение относится к двигателестроению, а именно к устройствам, предназначенным для подогрева двигателя внутреннего сгорания с жидкостным охлаждением перед его запуском при эксплуатации в условиях отрицательных температур окружающего воздуха.
Известно устройство для поддержания температурного режима жидкостей двигателя внутреннего сгорания (патент РФ №2133872, опубл. 27.07.99 г.), включающее насос и емкость, соединенные соответственно с патрубками вывода и ввода жидкости в двигатель и между собой трубопроводами в замкнутом цикле, и запорный элемент, емкость размещена выше патрубка ввода жидкости в двигатель и выполнена в виде термоса с воронкообразным днищем, а запорный элемент установлен между термосом и патрубком ввода жидкости в двигатель, термос снабжен неподвижным электрическим контактом и поплавком с подвижным электрическим контактом, а запорный элемент выполнен в виде электромагнитного клапана.
К недостаткам известного устройства относится то, что не на всех транспортных средствах можно установить емкость для хранения жидкости выше патрубка ввода жидкости в двигатель, а перекачка жидкости из двигателя в бак после остановки требует дополнительного времени, что вызывает неудобство в работе. Срабатывание контактов в жидкости или тем более в масле не надежно в связи с тем, что на контактах могут образоваться отложения, а это сделает невозможным запуск двигателя.
Наиболее близким по технической сущности и достигаемому результату, выбранное в качестве прототипа, является сохраняющее тепло устройство (патент РФ №2136952, опубл. 10.09.99), подходящее для двигателя внутреннего сгорания с жидкостным охлаждением и предназначенное для нагревания двигателя перед запуском двигателя, в котором блок цилиндров имеет насос системы охлаждения и перепускные каналы циркуляции хладагента, где сохраняющее тепло устройство включает в себя термоизолированный накопительный бак для хранения нагретого хладагента, способное осуществлять возвратно-поступательное движение средство плунжера, смонтированное в баке и действующее с целью деления бака на две камеры, которые подсоединены к впускному и выпускному отверстиям перепускных каналов системы охлаждения блока цилиндров, и насос, с помощью которого хладагент может пропускаться из перепускных каналов блока цилиндров в накопительный бак, в котором две камеры сообщены по потоку друг с другом через среду по меньшей мере одного средства клапана, предусмотренного в перемещаемом средстве плунжера так, чтобы позволить хладагенту течь через накопительный бак, когда двигатель работает, и тем, что насос функционирует известным образом с целью нагнетания хладагента в одну из камер накопительного бака в направлении, противоположном направлению течения хладагента двигателя перед запуском двигателя, причем средство клапана в перемещаемом средстве плунжера является закрытым, средство клапана сконструировано так, чтобы открываться, когда оно приходит в соприкосновение с торцовой стенкой бака, и закрываться, когда средство плунжера отходит от соприкосновения с торцовой стенкой по направлению к противоположной торцовой стенке, средство клапана включает в себя подвижный элемент клапана, имеющий часть, которая выступает с каждого конца средства плунжера, в котором подвижный элемент клапана смещен по направлению к положению закрывания клапана с помощью средства плунжера и в котором подвижный элемент клапана занимает положение открытого клапана, когда выступающая наружу часть приходит в соприкосновение с одной из торцовых стенок бака, перемещаемое средство плунжера термоизолировано.
К причинам, препятствующим достижению указанного ниже технического результата, относится то, что известное устройство имеет ряд недостатков, которыми являются: ограниченность по времени хранения тепла, даже при очень хорошей, вакуумной теплоизоляции, по истечению некоторого времени, жидкость, находящаяся в теплоизолированном баке остывает и сохраненного тепла становится не достаточно, чтобы подогреть холодный двигатель и устройство становится бесполезными. Кроме того, в устройстве для исключения перемешивания холодной и горячей жидкости применяется плунжер с системой клапанов, совершающий возвратно-поступательные перемещения под действием движения жидкости. Общеизвестно, что в процессе работы двигателя на стенках системы охлаждения образуются отложения, а также в систему охлаждения могут попасть грязь, песок, металлическая стружка и другие механические включения, которые могут нарушить подвижность как плунжера, так и клапанов, и вывести из строя устройство, доступа для удаления отложений и ремонта в устройстве не предусмотрено. Это сказывается на надежности и долговечности устройства.
Для того чтобы эффективно использовать сохраненное в устройстве тепло, необходимо, чтобы холодный теплоноситель при прохождении из двигателя через устройство не перемешивался бы с горячим теплоносителем, находящимся в устройстве, а после заполнения устройства не попадал бы вновь в двигатель.
Известно, что потери тепла при хранении теплоносителя в накопительном баке происходят непосредственно через теплоизоляцию бака, в котором хранится теплоноситель, по стенкам отводящего и подводящего трубопроводов, которые соединяют внутреннюю поверхность бака с наружной, проходя через теплоизоляцию, а также в связи с тепловым движением теплоносителя в этих трубопроводах.
Задачей предлагаемого изобретения является создание более надежного, удобного в обслуживании, экономичного, простого по конструкции и эффективного устройства для предпускового подогрева двигателя внутреннего сгорания.
Технический результат – надежное, эффективное, удобное в обслуживании, простое по конструкции устройство без подвижных частей внутри, позволяющее производить подогрев двигателя после продолжительных стоянок, когда теплоноситель, находящийся в устройстве остынет, и его тепла будет недостаточно для разогрева двигателя.
Технический результат достигается за счет того, что известное устройство для предпускового подогрева двигателя внутреннего сгорания включает накопительный бак, теплоизоляционный кожух, электрический насос, систему, препятствующую перемешиванию горячего и холодного теплоносителей, подводящий и отводящий трубопроводы, согласно изобретению дополнительно снабжено фланцем с электронагревательным элементом и терморегулятором, термовыключателем, входящий и выходящий трубопроводы выполнены нисходящими, система, препятствующая перемешиванию горячего и холодного теплоносителей, выполнена в виде неподвижных перегородок и решетки, а в теплоизоляционном кожухе имеется канал для монтажа и обслуживания электронагревательного элемента с терморегулятором, причем фланец с электронагревательным элементом и терморегулятором выполнен съемным и установлен в накопительном баке, а термомыключатель установлен на патрубке отводящего трубопровода.
Указанный технический результат достигается за счет конструктивного решения, а именно:
– отсутствие подвижных частей повышает надежность устройства;
– подводящий и отводящий трубопроводы выполнены нисходящими, что уменьшает тепловые потери при хранении горячего теплоносителя;
– термовыключатель, установленный на патрубке отводящего трубопровода, и система в виде неподвижных перегородок и решетки повышают эффективность использования сохраненного тепла;
– электрический нагревательный элемент с терморегулятором, установленный в накопительном баке, позволяет производить подогрев теплоносителя после продолжительных стоянок при его охлаждении;
– фланец с электронагревательным элементом и терморегулятором выполнен съемным и через канал легко устанавливается в накопительный бак, а при необходимости извлекается для ремонта или замены, что повышает удобство в обслуживании.
Предлагаемое устройство иллюстрируется чертежами, представленными на фиг.1, 2, 3.
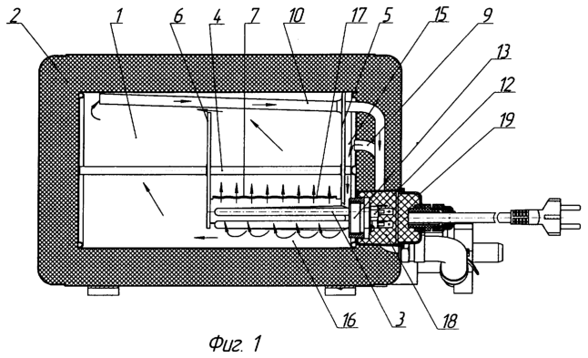
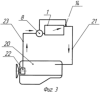
На фиг.1 – предлагаемое устройство, продольный разрез; на фиг.2 представлено предлагаемое устройство, вид спереди; на фиг.3 дана схема подключения предлагаемого устройства к двигателю внутреннего сгорания,
Устройство для предпускового подогрева двигателя внутреннего сгорания состоит из накопительного бака 1, теплоизоляционного кожуха 2, электрического нагревательного элемента 3, установленного внутри накопительного бака 1 и предназначенного для подогрева теплоносителя после длительных стоянок, когда теплоноситель остынет, системы 4, препятствующей перемешиванию холодного и горячего теплоносителя, выполненной в виде перегородок 5 и 6 и решетки 7, установленных в баке 1 неподвижно, электрического насоса 8, который соединен с подводящим трубопроводом 9, отводящего трубопровода 10 с патрубком 11, отводящий и подводящий трубопроводы выполнены нисходящими, то есть подсоединены к верхней части накопительного бака 1, проходят внутри теплоизоляционного кожуха 2 вниз и выходят в нижней его части наружу, из терморегулятора 12, установленного на съемном фланце 13 рядом с электронагревательным элементом 3, термовыключателя 14, установленного на патрубке 11 отводящего трубопровода 10, полости 15, образованной передней стенкой бака 1 и первой перегородкой 5, полости 16, образованной решеткой 7, дном бака и второй перегородкой 6. В решетке 7 имеются многочисленные отверстия 17 для прохождения теплоносителя. В теплоизоляционном кожухе 2 имеется канал 18 для монтажа и обслуживания электронагревательного элемента 3 и терморегулятора 12, который после установки фланца с электронагревательным элементом 3 и терморегулятором 12 в бак 1 теплоизолируется, например, минеральной ватой и закрывается крышкой 19. Устройство соединяется с двигателем внутреннего сгорания 20 таким образом, что отводящий трубопровод 10 соединяется с верхней частью рубашки охлаждения блока цилиндров двигателя 20, наружным трубопроводом 21, а электрический насос 8 устройства соединяется с насосом двигателя 22 с помощью наружного трубопровода 23.
Устройство работает следующим образом. Во время работы двигателя 20 по мере его прогрева нагревается и теплоноситель, находящийся в рубашке охлаждения блока цилиндров двигателя 20, а насос 22, установленный на двигателе 20, прокачивает горячий теплоноситель по наружным трубопроводам 21 и 23, через накопительный бак 1 и электрический насос 8, тем самым поддерживая в баке 1 теплоноситель горячим. Электрический насос 8 при этом не работает. После остановки двигателя 20 теплоноситель определенное время до повторного запуска двигателя 20 хранится в накопительном баке 1, теплоизоляционный кожух 2 изготовлен из теплоизоляционного материала, например из пенополиуретана, толщина теплоизоляции зависит от предполагаемой продолжительности стоянок двигателя и температуры окружающего воздуха, для того чтобы уменьшить потери тепла при хранении горячего теплоносителя, происходящие по подводящему 9 и отводящему 10 трубопроводам, которые выполнены нисходящими, что увеличивает длину трубопроводов, по стенкам которых тепло от накопительного бака 1 через теплоизоляционный кожух 2 передается наружу и снижает тепловые потери по стенкам трубок, кроме того, при хранении холодный более тяжелый теплоноситель, находящийся в наружных трубопроводах 21 и 23, не сможет подняться вверх по отводящему 10 и подводящему 9 трубопроводам в бак 1, так как вверху находится горячий, более легкий теплоноситель, а горячий более легкий теплоноситель не сможет опуститься вниз, так как там находится холодный более тяжелый теплоноситель, тем самым исключается конвекционное движение теплоносителя в трубопроводах 9, 10 и теплообмен между холодным находящимся в наружных трубопроводах 21, 23 и горячим находящимся в баке 1 теплоносителями и тем самым увеличивается время хранения теплоносителя горячим. После стоянки, перед повторным запуском двигателя 20, при низких температурах окружающего воздуха, когда двигатель 20 вместе с теплоносителем, находящимся в рубашке охлаждения блока цилиндров двигателя 20, уже холодный, а теплоноситель, находящийся внутри накопительного бака 1, еще горячий, включается электрический насос 8 и начинается перекачка холодного теплоносителя из двигателя 20 в накопительный бак 1, теплоноситель из двигателя 20 по наружному трубопроводу 23 через электрический насос 8 по подводящему трубопроводу 9 поднимается в верхнюю часть накопительного бака 1 и попадает в полость 15, при этом скорость движения теплоносителя уменьшается, в связи с тем, что увеличивается проходное сечение, по этой полости 15 теплоноситель опускается в низ бака и попадает в полость 16, при этом происходит еще большее снижение скорости движение теплоносителя, из этой полости 16 холодный, более тяжелый теплоноситель через многочисленные отверстия 17 в решетке 7 плавно начинает вытеснять вверх теплый, более легкий теплоноситель, при этом скорость снижается настолько, что не происходит перемешивание холодного и горячего теплоносителя, вторая перегородка 6 предназначена также и для равномерного заполнения всего объема бака 1, при движении теплоноситель проходит из нижней передней части бака 1 в заднюю верхнюю, при этом горячий теплоноситель вытесняется из бака 1 по отводящему трубопроводу 10 и наружному трубопроводу 21 в двигатель 20, когда холодный теплоноситель полностью вытеснит горячий из бака 1 и достигнет термовыключателя 14, расположенного на патрубке 11 отводящего трубопровода 10, термовыключатель 14 отключит насос 8 и холодный теплоноситель останется в баке 1, а горячий в двигателе 20. Двигатель готов к запуску.
После продолжительной стоянки, когда теплоноситель, находящийся в накопительном баке 1, остынет, и его температура может оказаться недостаточной для разогрева двигателя 20, теплоноситель необходимо предварительно подогреть. Тогда электронагревательный элемент 3 через терморегулятор 12 подключают к источнику питания напряжением 220 В, в результате чего происходит нагрев теплоносителя внутри бака 1. Терморегулятор 12 осуществляет контроль температуры теплоносителя внутри бака 1 и после его нагрева отключает электронагревательный элемент 3 и в дальнейшем поддерживает температуру теплоносителя постоянной. Это позволяет оставлять включенным устройство на длительное время, например на ночь. Теплоизоляционный кожух 2 обеспечивает длительное хранение в баке 1 теплоносителя горячим, это снижает расход электроэнергии особенно при продолжительном включении электронагревательного элемента 3 и уменьшает количество включений электронагревательного элемента 3 и терморегулятора 12, тем самым продлевает им срок службы. После того как теплоноситель в баке 1 будет нагрет, можно включить насос 8 и нагреть двигатель 20.
Заявленное техническое решение эффективно обеспечивает предпусковой подогрев двигателя при низких температурах окружающего воздуха и позволяет производить запуск теплого двигателя, тем самым увеличивая его срок службы, уменьшая токсичность отработанных газов при запуске и прогреве двигателя. Возможность использования в зависимости от условий и продолжительности стоянки, сохраненной тепловой энергии двигателя или электроэнергии повышает автономность и удобство при эксплуатации транспортных средств. Устройство обеспечивает экономию электроэнергии особенно при продолжительном включении электронагревательного элемента за счет теплоизоляционного кожуха.
Формула изобретения
1. Устройство для предпускового подогрева двигателя внутреннего сгорания включает накопительный бак, теплоизоляционный кожух, электрический насос, систему, препятствующую перемешиванию горячего и холодного теплоносителей, подводящий и отводящий трубопроводы, отличающееся тем, что дополнительно снабжено фланцем с электронагревательным элементом и терморегулятором, термовыключателем, входящий и выходящий трубопроводы выполнены нисходящими, система, препятствующая перемешиванию горячего и холодного теплоносителей, выполнена в виде неподвижных перегородок и решетки, а в теплоизоляционном кожухе имеется канал для монтажа и обслуживания электронагревательного элемента с терморегулятором.
2. Устройство по п.1, отличающееся тем, что фланец с электронагревательным элементом и терморегулятором выполнен съемным и установлен в накопительном баке.
3. Устройство по п.1, отличающееся тем, что термовыключатель установлен на патрубке отводящего трубопровода.
РИСУНКИ
|
|