|
|
(21), (22) Заявка: 2004111906/06, 19.04.2004
(24) Дата начала отсчета срока действия патента:
19.04.2004
(45) Опубликовано: 20.08.2005
(56) Список документов, цитированных в отчете о поиске:
SU 1753005 A1, 07.08.1992. SU 1815401 A1, 15.05.1993. SU 6752200 A, 03.08.1979. ЕР 0153919 A1, 04.09.1985. A GB 2194001 А, 24.02.1988. ЕР 0372211 A1, 13.06.1990.
Адрес для переписки:
394087, г.Воронеж, ул. Мичурина, 1, ВГАУ им. К.Д. Глинки, патентный отдел
|
(72) Автор(ы):
Кухарев М.Н. (RU), Бурдыкин В.Д. (RU), Грибанов А.В. (RU), Белоглазов А.В. (RU)
(73) Патентообладатель(и):
Федеральное государственное образовательное учреждение высшего профессионального образования Воронежский государственный аграрный университет им. К.Д. Глинки (RU)
|
(54) ПЛУНЖЕРНАЯ ПАРА
(57) Реферат:
Изобретение относится к двигателестроению, в частности к топливоподающим насосам дизелей. Изобретение позволяет снизить износ плунжерной пары и улучшить характеристики впрыскивания. Плунжерная пара содержит втулку с двумя наполнительно-отсечными отверстиями, расположенными в одной плоскости и выполненными центрально-симметрично относительно оси втулки, соединенными с полостью низкого давления, расположенной в головке насоса, и плунжер с управляющими канавками, взаимодействующими с наполнительно-отсечными отверстиями. Во втулке выполнены кольцевая проточка, соединенная при помощи двух центрально-симметричных отверстий с полостью низкого давления, при этом отверстия выполнены касательно к кольцевой проточке, и отсечное отверстие, расположенное ниже кольцевой проточки. В плунжере выполнены осевое и радиальное отверстия, соединяющие надплунжерное пространство с отсечной полостью насоса. 2 ил. 
Изобретение относится к двигателестроению и может быть использована в топливоподающих насосах дизелей.
Известна плунжерная пара для топливного насоса высокого давления дизеля, включающая втулку и плунжер с управляющими кромками, выполняемыми с возможностью взаимодействия с отсечными отверстиями. В корпусе втулки выполнен топливоподводящий канал по касательной к отверстию для плунжера. Выполнение таким образом топливоподающего канала позволяет улучшить наполнение надплунжерного пространства и характеристику впрыскивания (А.С. СССР №1416735, F 02 M 55/44, заяв. 18.04.86, публ. 15.08.88, БИ №30).
Недостатком данной плунжерной пары является то, что наполнение надплунжерного пространства осуществляется через одно отверстие. Опыт эксплуатации топливной аппаратуры показывает, что износ плунжерной пары происходит на поверхности плунжера и втулки, находящегося напротив впускного отверстия и во многом определяется наличием механических примесей в топливе. Поэтому износ поверхности плунжера носит локальный характер. Такой характер износа уменьшает срок эксплуатации плунжерной пары.
Из известных наиболее близой к заявляемому по технической сущности и достигаемому положительному эффекту является плунжерная пара, содержащая втулку с двумя наполнительно-отсечными отверстиями, выполненными в одной плоскости, и плунжер с управляющими кромками, выполненными с возможностью взаимодействия с наполнительно-отсечными отверстиями. С целью повышения эффективности наполнительно-отсечные отверстия выполнены центрально-симметричными относительно оси втулки плунжера. Данная плунжерная пара обеспечивает лучшее наполнение надплунжерного пространства (А.С. СССР №1753005, F 02 M 59/44, заяв. 18.04.89, публ. 07.08.92, БИ №29, прототип).
К недостаткам плунжерной пары можно отнести то, что наполнение надплунжерного пространства осуществляется через два отверстия. Поэтому при перекрытии этих отверстий торцевой поверхностью плунжера дросселирование топлива происходит в районе этих отверстий, что естественно приводит к износу поверхности плунжера и втулки напротив этих отверстий, т.е. износ носит также локальный характер.
Технической задачей изобретения является снижение износа плунжерной пары за счет наполнения надплунжерного пространства топливом, поступающим равномерно по всему периметру плунжера, а также улучшение характеристик впрыскивания за счет более полного наполнения топливом надплунжерного пространства.
Техническая задача решается плунжерной парой, содержащей втулку с двумя наполнительно-отсечными отверстиями, расположенными в одной плоскости и выполненными центрально-симметрично относительно оси втулки, соединенными с полостью низкого давления, расположенной в головке насоса, и плунжер с управляющими канавками, взаимодействующими с наполнительно-отсечными отверстиями, согласно изобретению во втулке выполнены кольцевая проточка, соединенная при помощи двух центрально-симметричных отверстий с полостью низкого давления, при этом отверстия выполнены касательно к кольцевой проточке, и отсечное отверстие, расположенное ниже кольцевой проточки, а в плунжере выполнены осевое и радиальное отверстия, соединяющие надплунжерное пространство с отсечной полостью насоса.
Чертежи, поясняющие изобретение:
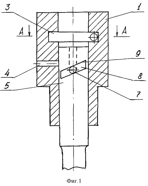
фиг.1 – плунжерная пара (продольный разрез);
фиг.2 – разрез А-А фиг.1.
Заявляемая плунжерная пара топливного насоса высокого давления дизеля содержит втулку 1 с центрально-симметричными отверстиями 2, подводящими топливо из полости низкого давления головки насоса (на чертеже не показана) в кольцевую проточку 3. Ниже кольцевой проточки 3 во втулке 1 выполнено отсечное отверстие 4, соединенное с отсечной полостью насоса (на чертеже не показано). Во втулке 1 размещен плунжер 5 с осевым 6 и радиальным 7 отверстиями и управляющими канавками 8 с кромками 9. Плунжер нижней частью взаимодействует с толкателем и пружиной (на чертеже не показаны).
Управляющие канавки 8, соединенные радиальным 7 и осевым каналом 6 с надплунжерным пространством, при подаче топлива образуют полость высокого давления, соединенную с форсункой.
Заявляемая плунжерная пара для насоса высокого давления дизеля работает следующим образом. При перемещении плунжера вниз из верхнего положения под действием пружины топливо из полости низкого давления насоса поступает по отверстиям 2 в кольцевую проточку 3, при этом благодаря взаимному смещению осей отверстий 2 в разные стороны относительно оси втулки плунжера исключается встреча двух противоположенных струй и их энергия вместо вспенивания и образования эмульсии расходуется на вращение топлива в кольцевой проточке 3. При дальнейшем движении плунжера вниз, когда торцевая поверхность плунжера 5 соединит надплунжерное пространство с кольцевой проточкой 3, топливо, совершая вращательное движение, начнет заполнять надплунжерное пространство, поступая по всему периметру кольцевой проточки. После достижения нижнего положения, под воздействием кулачкового вала плунжер начнет движение вверх, при этом часть топлива из надплунжерного пространства перемещается обратно через кольцевую проточку и отверстия 2 в полость низкого давления. Перетекание и дросселирование топлива происходит по всему периметру кольцевой проточки, поэтому присутствующие в топливе механические примеси будут приводить к равномерному износу плунжера и втулки по всему периметру. После перекрытия плунжером 5 верхней кромки кольцевой проточки давление в надплунжерном пространстве, осевом 6 и радиальном 7 отверстиях и канавках 8 повышается. Происходит подача топлива к форсунке и далее в цилиндр дизеля. При совмещении кромок 9 управляющих канавок 8 с отсечным отверстием 4 надплунжерное пространство соединяется с отсечной полостью насоса, происходит отсечка, и подача топлива прекращается.
Таким образом, за счет уменьшения вспенивания топлива в результате центрально-симметричного расположения впускных отверстий относительно оси втулки плунжера и движения топлива по кольцевой проточке повышается эффективность работы плунжерной пары, обеспечивается улучшение характеристик впрыскивания топлива в цилиндр дизеля и, соответственно, повышение его экономичности. Вращательное движение топлива в кольцевой проточке обеспечивает равномерный износ плунжера и втулки по всему периметру боковой поверхности, что позволяет увеличить срок эксплуатации плунжерной пары.
Формула изобретения
Плунжерная пара, содержащая втулку с двумя наполнительно-отсечными отверстиями, расположенными в одной плоскости и выполненными центрально-симметрично относительно оси втулки, соединенными с полостью низкого давления, расположенной в головке насоса, и плунжер с управляющими канавками, взаимодействующими с наполнительно-отсечными отверстиями, отличающаяся тем, что во втулке выполнены кольцевая проточка, соединенная при помощи двух центрально-симметричных отверстий с полостью низкого давления, при этом отверстия выполнены касательно к кольцевой проточке, и отсечное отверстие, расположенное ниже кольцевой проточки, а в плунжере выполнены осевое и радиальное отверстия, соединяющие надплунжерное пространство с отсечной полостью насоса.
РИСУНКИ
MM4A – Досрочное прекращение действия патента СССР или патента Российской Федерации на изобретение из-за неуплаты в установленный срок пошлины за поддержание патента в силе
Дата прекращения действия патента: 20.04.2006
Извещение опубликовано: 10.12.2007 БИ: 34/2007
|
|