|
(21), (22) Заявка: 2004103266/06, 05.02.2004
(24) Дата начала отсчета срока действия патента:
05.02.2004
(45) Опубликовано: 20.08.2005
(56) Список документов, цитированных в отчете о поиске:
RU 1309660 C, 15.04.1994. RU 1438330 C, 30.11.1994. US 3979065 A, 07.09.1976. US 4128208 A, 05.12.1978. US 4878618 A, 07.11.1989. US 5285637 A, 15.02.1994.
Адрес для переписки:
129301, Москва, ул. Касаткина, 13, НТЦ им. А. Люльки ОАО “НПО “Сатурн”, патентный отдел
|
(72) Автор(ы):
Дубровский Б.В. (RU), Марчуков Е.Ю. (RU), Пырков С.Н. (RU)
(73) Патентообладатель(и):
Открытое акционерное общество “Научно-производственное объединение “Сатурн” (ОАО “НПО “Сатурн”) (RU)
|
(54) РЕГУЛИРУЕМОЕ СОПЛО ТУРБОРЕАКТИВНОГО ДВИГАТЕЛЯ
(57) Реферат:
Регулируемое сопло турбореактивного двигателя содержит корпус с шарнирно закрепленными на нем створками и расположенными между ними уплотнительными проставками. Проставки подвешены на створках посредством коромысел с лапками, торцы которых установлены с возможностью контактирования со створками. Створки снабжены поперечными ребрами, образующими паз, в который заведена контактирующая с ним лапка коромысла. Боковые поверхности лапки снабжены выступами, выполненными в виде цилиндрических поверхностей с общей осью, расположенной вдоль продольной оси лапки, и с радиусами, равными половине ширины паза. Изобретение обеспечит надежное крепление проставок относительно створок сопла в продольном направлении и уменьшит утечки газа при криволинейной форме створок и проставок. 1 з.п. ф-лы, 5 ил. 
Изобретение относится к области авиационного двигателестроения, а именно к конструкции регулируемых сопел ТРД.
Известно регулируемое сопло ТРД, содержащее корпус с шарнирно закрепленными на нем створками и расположенными между ними уплотнительными проставками, подвешенными на створках посредством коромысел с лапками, торцы которых установлены с возможностью контактирования со створками [1].
Недостаток известного устройства состоит в том, что оно обеспечивает надежное сцепление проставок со смежными створками только в радиальном направлении, которое необходимо только на неработающем двигателе, так как во время работы двигателя проставки поджимаются к створкам давлением газов. Указанное устройство не обеспечивает сцепление проставок со створками в продольном направлении сопла, которое необходимо во всем диапазоне работы двигателя.
Задачей изобретения является обеспечение крепления проставок относительно створок в продольном направлении сопла.
Указанная задача решается тем, что в известном регулируемом сопле ТРД, содержащем корпус с шарнирно закрепленными на нем створками и расположенными между ними уплотнительными проставками, подвешенными на створках посредством коромысел с лапками, торцы которых установлены с возможностью контактирования со створками, каждая створка снабжена поперечными ребрами, образующими паз, в который заведена контактирующая с ним лапка коромысла, при этом боковые поверхности лапки снабжены выступами, выполненными в виде цилиндрических поверхностей с общей осью, расположенной вдоль продольной оси лапки, и с радиусами, равными половине ширины паза.
Такое выполнение устройства обеспечивает непрерывный контакт выступов с ребрами створки при открытии и закрытии сопла, благодаря чему проставка удерживается в продольном направлении без образования зазоров в соединении.
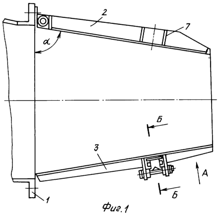
На фиг.1 показан продольный разрез регулируемого сопла ТРД,
на фиг.2 – продольный разрез сопла с криволинейными створками и проставками,
на фиг.3 – вид по стрелке А фиг.1 на соединение проставки со смежными створками,
на фиг.4 – поперечный разрез сопла Б-Б фиг.1 по соединению проставки со смежными створками,
на фиг.5 – элемент В фиг.3.
Регулируемое сопло ТРД содержит корпус 1 с шарнирно закрепленными на нем створками 2 и расположенными между ними уплотнительными проставками 3, подвешенными на створках 2 посредством коромысел 4 с лапками 5, торцы в которых установлены с возможностью контактирования со створками 2. Каждая створка 2 снабжена поперечными ребрами 7, образующими паз 8, в который заведена лапка 5 коромысла 4. Боковые поверхности лапки 5 снабжены цилиндрическими выступами 9, имеющими общую ось 10, расположенную вдоль продольной оси лапки 5. Радиус цилиндрической поверхности выступа 9 равен половине ширины паза 8.
При выполнении части поверхности полотна створки 2 и проставки 3 криволинейной формы пазы 8 на створках 2 и коромысла 4 на проставках 3 установлены в начале криволинейного участка 11 (фиг.2).
Регулируемое сопло работает следующим образом. При перемещении створок 2 из одного крайнего положения в другое они перемещаются относительно проставок 3 в поперечном направлении. При этом изменяется угол между створкой и плоскостью поперечного сечения сопла (фиг.1), а также угол между осями створок 2 и проставок 3 (фиг.5). Ребра 7 створки обкатывают цилиндрические выступы 9 и проставка удерживается в продольном направлении.
Таким образом предотвращается образование зазоров между створками и проставками.
Максимальный угол обкатки цилиндрических выступов 9 (фиг.4)

где max – угол между осями вращения створок в плоскости, перпендикулярной продольной оси сопла (фиг.3),
min – минимальный угол между створкой и плоскостью поперечного сечения сопла.
Сила, действующая на проставку вдоль ее продольной оси при работе двигателя,

где Р – давление в сопле,
S – площадь проставки,
fтр – коэффициент трения между створкой и проставкой.
Наличие выступов 9 на лапках 5 коромысел 4 обеспечивает также центрирование проставки 3 относительно смежных створок 2 во всем диапазоне работы двигателя. Это способствует уменьшению поперечных изгибающих моментов на створках, вследствие чего увеличивается ресурс работы сопла.
Предложенное устройство обеспечивает надежное крепление проставок относительно створок в продольном направлении сопла, а также позволяет уменьшить утечки газа при криволинейной форме створок и проставок.
Источник информации
1. Патент РФ №1309660, кл. F 02 K 1/12, опубл. в 1994 г.
Формула изобретения
1. Регулируемое сопло турбореактивного двигателя, содержащее корпус с шарнирно закрепленными на нем створками и расположенными между ними уплотнительными проставками, подвешенными на створках посредством коромысел с лапками, торцы которых установлены с возможностью контактирования со створками, отличающееся тем, что каждая створка снабжена поперечными ребрами, образующими паз, в который заведена контактирующая с ним лапка коромысла, при этом боковые поверхности лапки снабжены выступами, выполненными в виде цилиндрических поверхностей с общей осью, расположенной вдоль продольной оси лапки и с радиусами, равными половине ширины паза.
2. Регулируемое сопло турбореактивного двигателя по п.1, отличающееся тем, что при выполнении части поверхности полотна створки и проставки криволинейной формы, пазы створок и коромысла поставок установлены в начале криволинейного участка.
РИСУНКИ
PC4A – Регистрация договора об уступке патента Российской Федерации на изобретение
(73) Патентообладатель(и):
Открытое акционерное общество “Научно-производственное объединение “Сатурн”
(73) Патентообладатель:
Открытое акционерное общество “Научно-производственное объединение “Сатурн”
(73) Патентообладатель:
Открытое акционерное общество “Уфимское моторостроительное производственное объединение”
Дата и номер государственной регистрации перехода исключительного права: 12.03.2008 № РД0033747
Извещение опубликовано: 27.04.2008 БИ: 12/2008
|