|
|
(21), (22) Заявка: 2004107044/06, 09.03.2004
(24) Дата начала отсчета срока действия патента:
09.03.2004
(45) Опубликовано: 20.08.2005
(56) Список документов, цитированных в отчете о поиске:
ХАЛИУЛЛИН Ю.М. и др. Корабельные анаэробные неатомные энергетические установки на безгазовом топливе. – Судостроение, 2000, № 1, с.36-39. ЛЕВЕНБЕРГ В. Д. и др. Аккумулирование тепла. – Киев: Техника, 1991, с.38-41. RU 2162534 С1, 27.01.2001. RU 2172421 С1, 20.08.2001. GB 2125157 А, 29.02.1984.
Адрес для переписки:
197082, Санкт-Петербург, П-82, ул. Красного Курсанта, 16, Военно-космическая академия им. А.Ф. Можайского, НИО, начальнику 46 кафедры Н.Г. Кириллову
|
(72) Автор(ы):
Кириллов Н.Г. (RU), Гужиев А.В. (RU), Мошков В.Н. (RU), Глуханов А.С. (RU)
(73) Патентообладатель(и):
Военно-космическая академия им. А.Ф. Можайского (RU)
|
(54) ЭНЕГРЕТИЧЕСКАЯ УСТАНОВКА С ДВИГАТЕЛЕМ СТИРЛИНГА НА БЕЗГАЗОВОМ ТОПЛИВЕ
(57) Реферат:
Изобретение относится к области теплоэнергетики и может быть использовано в качестве энергетической установки для объектов специального назначения, например для специальных фортификационных сооружений, подводных технических средств и мобильных комплексов. Достигаемый технический результат – повышение надежности и скорости закуска работы энергетической установки с двигателем Стирлинга. От воспламенительных устройств воспламеняются заряды термитного топлива в секциях теплового генератора. Выделившаяся при сгорании топлива теплота из высокотемпературной области за счет теплопроводности топлива и продуктов его сгорания передается к стенкам теплового генератора. Теплота от стенок генератора за счет теплопроводности передается стенкам нагревателям двигателя Стирлинга, что обеспечивает его пуск. При работе двигателя Стирлинга механическая энергия преобразуется в электрическую с помощью электрогенератора. Для охлаждения двигателя Стирлинга используется холодильник, через который подается охлаждающая среда. 1 ил. 
Изобретение относится к области теплоэнергетики и может быть использовано в качестве энергетической установки для объектов специального назначения, например для специальных фортификационных сооружений, подводных технических средств и мобильных комплексов.
Известно устройство двигателя Стирлинга, состоящего из нагревателя, регенератора, холодильника и поршневой группы (Батырев А.Н., Кошеваров В.Д., Лейкин О.Ю. Корабельные ядерные энергетические установки зарубежных стран. – СПб.: Судостроение, 1994, стр.205).
Известна энергоустановка с двигателем Стирлинга и водородосодержащим топливом, включающая в себя двигатель Стирлинга и теплоиспользующую холодильную машину (Патент РФ №2169319, F 25 B 27/02, Бюл. №17 от 20.06.2001). Однако в данной установке используются дорогостоящие водородное топливо и камера сгорания с катализатором.
Известна энергохолодильная система с двигателем Стирлинга, использующая в качестве источника теплоты реакцию окисления магния (Патент РФ №2214566, F 25 B 27/02, Бюл. №29 от 20.10.2003). Однако для начала реакции окисления магния и выделения теплоты требуются наличие окислителя, а в результате реакции образуются окислы магния, которые необходимо удалять.
Известны безгазовые топлива и их характеристики (Генкин А.Л., Лотонин O.K., Сильян А.М. Характеристики безгазовых топлив/ В научно-техническом сборнике “Нетрадиционная энергетика”. СПб.: ВМИИ. 2000. С.16-20). При этом отмечается, что, в основном, в качестве горючего используются металлы, а окислитель может быть как в газообразном состоянии и хранится отдельно от горючего, так и в твердом состоянии и храниться в смешанном состоянии с горючим, образуя термитные составы (термиты).
Технический результат, который может быть получен при осуществлении изобретения, заключается в повышении надежности и скорости запуска работы энергетической установки с двигателем Стирлинга на безгазовом топливе.
Для достижения данного технического результата энергетическая установка с двигателем Стирлинга на безгазовом топливе, включающая в себя двигатель Стирлинга и электрогенератор, связанный с двигателем, снабжена тепловым генератором, разделенным на секции, с воспламенительным устройством и безгазовым топливом в каждой секции, при этом тепловой генератор конструктивно связан с нагревателем двигателя Стирлинга, а в качестве безгазового топлива применены термиты.
Введение в состав энергетической установки на основе двигателя Стирлинга теплового генератора, конструктивно связанного с нагревателем двигателя Стирлинга, выполненного секционно, с размещенными в каждой секции воспламенительными устройствами для безгазового топлива позволяет получить новое свойство, заключающееся в возможности многолетнего хранения безгазового топлива, более быстрого начала, регулирования и надежности работы двигателя, а также эффективной передачи теплоты от теплового генератора к двигателю Стирлинга.
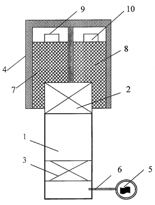
На чертеже изображена энергетическая установка с двигателем Стирлинга на безгазовом топливе.
Энергетическая установка в своем составе имеет двигатель Стирлинга 1 с нагревателем 2 и холодильником 3, тепловой генератор 4 (реакционная камера сгорания) и электрогенератор 5, который соединен с двигателем валом 6. Тепловой генератор 4 разделен на секции 7 и 8, внутри которых находятся заряды термитного топлива и воспламенительные устройства 9, 10. Корпус теплового генератора 4 конструктивно связан с нагревателем 2 двигателя Стирлинга 1.
Энергетическая установка с двигателем Стирлинга работает следующим образом.
Работа энергетической установки начинается в момент подачи импульса энергии (от отдельного источника – на чертежe не показан) на воспламенительные устройства 9, 10, которые обеспечивают повышение температуры прилегающего к ним участков заряда термитного топлива в секциях 7 и 8 до температуры воспламенения. Подача импульса в устройствам 9 и 10 может осуществляться одновременно или последовательно с различной задержкой по времени. Сгорание зарядов топлива в секциях 7 и 8 происходит в высокотемпературной волне горения, распространение которой происходит в тело зарядов от места установки воспламенительных устройств 9 и 10. Продолжительность процесса горения топлива определяется скоростью распространения фронта пламени, размерами, формой заряда, а также другими его конструктивными особенностями.
Выделившаяся при сгорании зарядов термитного топлива в секциях 7 и 8 теплота приводит к повышению температуры внутри генератора 4. Теплота из высокотемпературной области за счет теплопроводности топлива и продуктов его сгорания передается к стенкам теплового генератора 4.
Теплота от стенок теплового генератора 4 за счет теплопроводности передается стенкам нагревателя 2 двигателя Стирлинга 1, что приводит к постепенному повышению температуры нагревателя 2 и, соответственно, нагреву рабочего тела, используемого в самом двигателе Стирлинга 1. С повышением температуры рабочего тела в головке двигателя происходит постепенное повышение давления в рабочем контуре и, в том числе, в рабочем цилиндре. Это, в свою очередь, вызывает перемещение рабочего поршня двигателя и, в конечном итоге, его пуск.
При работе двигателя Стерлинга 1 механическая энергия преобразуется в электрическую с помощью электрогенератора 5 через соединительный вал 6. Для охлаждения двигателя Стирлинга 1 используется холодильник 3, через который подается охлаждающая среда.
Формула изобретения
Энергетическая установка с двигателем Стирлинга на безгазовом топливе, включающая в себя двигатель Стирлинга, электрогенератор, связанный с двигателем, отличающаяся тем, что снабжена тепловым генератором, разделенным на секции, с воспламенительным устройством и безгазовым топливом в каждой секции, при этом тепловой генератор конструктивно связан с нагревателем двигателя Стирлинга, а в качестве безгазового топлива применены термиты.
РИСУНКИ
MM4A – Досрочное прекращение действия патента СССР или патента Российской Федерации на изобретение из-за неуплаты в установленный срок пошлины за поддержание патента в силе
Дата прекращения действия патента: 10.03.2006
Извещение опубликовано: 10.12.2007 БИ: 34/2007
|
|