|
|
(21), (22) Заявка: 2004107043/06, 09.03.2004
(24) Дата начала отсчета срока действия патента:
09.03.2004
(45) Опубликовано: 20.08.2005
(56) Список документов, цитированных в отчете о поиске:
ХАЛИУЛЛИН Ю.М. и др. Корабельные анаэробные неатомные энергетические установки на безгазовом топливе. – Судостроение, 2000, № 1, с.36-39. ЛЕВЕНБЕРГ В.А. и др. Аккумулирование тепла. – Киев: Техника, 1991, с.38-41. RU 2162534 С1, 27.01.2001. RU 2172421 C1, 20.08.2001. US 5074114 A, 24.12.1981.
Адрес для переписки:
197082, Санкт-Петербург, П-82, ул. Красного Курсанта, 16, Военно-космическая академия им. А.Ф. Можайского, НИО, начальнику 46 кафедры Н.Г. Кириллову
|
(72) Автор(ы):
Кириллов Н.Г. (RU), Гужиев А.В. (RU), Мошков В.Н. (RU), Глуханов А.С. (RU)
(73) Патентообладатель(и):
Военно-космическая академия им. А.Ф. Можайского (RU)
|
(54) ЭНЕРГЕТИЧЕСКАЯ УСТАНОВКА НА ОСНОВЕ ДВИГАТЕЛЯ СТИРЛИНГА
(57) Реферат:
Изобретение относится к области теплоэнергетики и может быть использовано в качестве энергетической установки для объектов специального назначения, например для специальных фортификационных сооружений, подводных технических средств и мобильных комплексов. Достигаемый технический результат – повышение скорости запуска двигателя Стирлинга в работу и снижение стоимости установки в целом. Выделившаяся при сгорании термитного топлива теплота приводит к повышению температуры внутри реакционной камеры сгорания теплового генератора. Теплота из реакционной камеры через теплоноситель замкнутого газового контура передается к стенкам нагревателя двигателя Стирлинга, что вызывает его пуск. Для циркуляции теплоносителя замкнутого газового контура предназначен компрессор. При работе двигателя Стирлинга механическая энергия преобразуется в электрическую с помощью электрогенератора. Для охлаждения двигателя Стирлинга используется холодильник, через который подается охлаждающая среда. 1 ил. 
Изобретение относится к области теплоэнергетики и может быть использовано в качестве энергетической установки для объектов специального назначения, например для специальных фортификационных сооружений, подводных технических средств и мобильных комплексов.
Известно устройство двигателя Стирлинга, состоящего из нагревателя, регенератора, холодильника и поршневой группы (Батырев А.Н., Кошеваров В.Д., Лейкин О.Ю. Корабельные ядерные энергетические установки зарубежных стран. – СПб.: Судостроение, 1994, стр.205).
Известна энергоустановка с двигателем Стирлинга и водородосодержащим топливом, включающая в себя двигатель Стирлинга и теплоиспользующую холодильную машину (Патент РФ №2169319, F 25 B 27/02, Бюл. №17 от 20.06.2001). Однако в данной установке используется дорогостоящее водородное топливо и камера сгорания с катализатором.
Известна энергохолодильная система с двигателем Стирлинга, использующая в качестве источника теплоты реакцию окисления магния (Патент РФ №2214566, F 25 B 27/02, Бюл. №29 от 20.10.2003). Однако для начала реакции окисления магния и выделения теплоты требуется наличие окислителя, а в результате реакции образуются окислы магния, которые необходимо удалять.
Известны безгазовые топлива и их характеристики (Генкин А.Л., Лотонин O.K., Сильян А.М. Характеристики безгазовых топлив/ В научно-техническом сборнике “Нетрадиционная энергетика”. СПб.: ВМИИ. 2000. С.16-20). При этом отмечается, что, в основном, в качестве горючего используются металлы, а окислитель может быть как в газообразном состоянии и храниться отдельно от горючего, так и в твердом состоянии и храниться в смешанном состоянии с горючим, образуя термитные составы (термиты).
Технический результат, который может быть получен при осуществлении изобретения, заключается в повышении скорости запуска двигателя Стирлинга в работу и снижения стоимости установки в целом.
Для достижения данного технического результата энергетическая установка на основе двигателя Стирлинга, включающая в себя двигатель Стирлинга и электрогенератор, связанный с двигателем, снабжена тепловым генератором, состоящим из реакционной камеры сгорания, безгазового топлива и воспламенительного устройства, при этом реакционная камера теплового генератора связана с нагревателем двигателя Стирлинга через замкнутый газовый контур с промежуточным теплоносителем, а в качестве безгазового топлива применены термиты.
Введение в состав энергетической установки на основе двигателя Стирлинга теплового генератора, связанного с нагревателем двигателя Стирлинга через замкнутый газовый контур с промежуточным теплоносителем и состоящего из реакционной камеры сгорания, безгазового топлива и воспламенительного устройства, позволяет получить новое свойство, заключающееся в возможности повышения скорости запуска двигателя Стирлинга в работу и снижения стоимости установки в целом за счет использования термитного топлива.
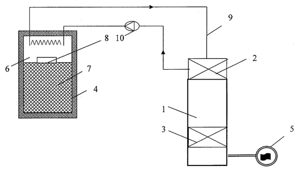
На чертеже изображена энергетическая установка на основе двигателя Стирлинга.
Энергетическая установка в своем составе имеет двигатель Стирлинга 1 с нагревателем 2 и холодильником 3, тепловой генератор 4 (источник тепловой энергии) и электрогенератор 5. Тепловой генератор 4 состоит из реакционной камеры 6, заряда термита (безгазового топлива) 7 и воспламенительного устройства 8. Реакционная камера 6 теплового генератора 4 связана с нагревателем 2 двигателя Стирлинга 1 через замкнутый газовый контур 9 с промежуточным теплоносителем. Для циркуляции промежуточного газового теплоносителя предназначен компрессор 10.
Энергетическая установка на основе двигателя Стирлинга работает следующим образом.
Работа энергетической установки начинается в момент подачи импульса энергии от отдельного источника (не показан) на воспламенительное устройство 8, которое обеспечивает повышение температуры прилегающего к нему участка заряда топлива 7 до температуры воспламенения. Сгорание топлива происходит в высокотемпературной волне горения, распространение которой происходит в тело заряда от места установки воспламенительного устройства 8. Продолжительность процесса горения топлива определяется скоростью распространения фронта пламени, размерами, формой заряда, а также другими его конструктивными особенностями.
Выделившаяся при сгорании термитного топлива 7 теплота приводит к повышению температуры внутри реакционной камеры сгорания 6 теплового генератора 4. Теплота из реакционной камеры 6 через теплоноситель замкнутого газового контура 9 передается к стенкам нагревателя 2 двигателя Стирлинга 1, что приводит к постепенному повышению температуры нагревателя 2 и, соответственно, нагреву рабочего тела, используемого в самом двигателе Стирлинга 1. С повышением температуры рабочего тела в головке двигателя происходит постепенное повышение давления в рабочем контуре и, в том числе, в рабочем цилиндре. Это, в свою очередь, вызывает перемещение рабочего поршня двигателя и, в конечном итоге, его пуск.
Для циркуляции теплоносителя замкнутого газового контура 9 предназначен компрессор 10. При работе двигателя Стирлинга 1, механическая энергия преобразуется в электрическую с помощью электрогенератора 5. Для охлаждения двигателя Стирлинга 1 используется холодильник 3, через который подается охлаждающая среда.
Источники информации
1. Батырев А.Н., Кошеваров В.Д., Лейкин О.Ю. Корабельные ядерные энергетические установки зарубежных стран. – СПб.: Судостроение, 1994. стр.205.
2. Патент РФ №2169319, F 25 В 27/02, Бюл. №17 от 20.06.2001.
3. Патент РФ №2214566, F 25 В 27/02, Бюл. №29 от 20.10.2003.
4. Генкин А.Л., Лотонин О.K., Сильян А.М. Характеристики безгазовых топлив/ В научно-техническом сборнике “Нетрадиционная энергетика”. СПб.: ВМИИ. 2000. С.16-20.
Формула изобретения
Энергетическая установка на основе двигателя Стирлинга, включающая в себя двигатель Стирлинга и электрогенератор, связанный с двигателем, отличающаяся тем, что снабжена тепловым генератором, состоящим из реакционной камеры, безгазового топлива и воспламенительного устройства, при этом реакционная камера теплового генератора связана с нагревателем двигателя Стирлинга через замкнутый газовый контур с промежуточным теплоносителем, а в качестве безгазового топлива применены термиты.
РИСУНКИ
MM4A – Досрочное прекращение действия патента СССР или патента Российской Федерации на изобретение из-за неуплаты в установленный срок пошлины за поддержание патента в силе
Дата прекращения действия патента: 10.03.2006
Извещение опубликовано: 10.12.2007 БИ: 34/2007
|
|