|
|
(21), (22) Заявка: 2004108599/06, 22.03.2004
(24) Дата начала отсчета срока действия патента:
22.03.2004
(45) Опубликовано: 20.08.2005
(56) Список документов, цитированных в отчете о поиске:
RU 2177072 С1 20.12.2001. DE 4224721 А1 03.02.1994. DE 19710981 В1 01.10.1998. ЕР 0698408 А1 28.02.1996. SU 832099 A 23.05.1981. SU 1390425 A1 23.04.1998.
Адрес для переписки:
454080, г.Челябинск, пр. им. В.И. Ленина, 76, ЮУрГУ технический отдел
|
(72) Автор(ы):
Шароглазов Б.А. (RU), Кавьяров С.И. (RU), Романов И.М. (RU)
(73) Патентообладатель(и):
Южно-Уральский государственный унитверситет (ЮУрГУ) (RU)
|
(54) УСТРОЙСТВО ЗАЩИТЫ ДВИГАТЕЛЯ ВНУТРЕННЕГО СГОРАНИЯ ОТ АБРАЗИВНОГО ИЗНОСА
(57) Реферат:
Изобретение позволяет повысить надежность работы двигателя за счет исключения абразивного износа двигателя при разгерметизации впускного тракта и может быть использовано в качестве аварийной сигнализации на ДВС. Устройство содержит пневмокорректор, выполненный в виде корпуса с установленной внутри него подпружиненной мембраной. Мембрана кинематически связана с рычагом управления топливоподачей и образует с корпусом пневмокорректора рабочую полость. Рабочая полость через одно из двух отверстий сообщена с впускным трубопроводом дизеля, а через другое соединена с атмосферой при помощи канала с запорным органом. Запорный орган соединен с выходом электронного блока управления, вход которого соединен с датчиком частоты вращения. Устройство снабжено соединенными между собой измерителем давления и анализатором импульсов. При этом измеритель давления соединен трубопроводами с впускным трубопроводом двигателя в двух точках, до и после агрегата очистки воздуха, установленного в упомянутом трубопроводе. Анализатор импульсов соединен с одним из входом электронного блока управления, а датчик частоты вращения, соединенный с другим входом электронного блока управления, установлен на коленчатом валу двигателя. Кроме того, электронный блок управления соединен с сигнальными элементами приборного блока наблюдения оператора. 1 ил. 
Изобретение относится к области двигателестроения, в частности к системам управления двигателем внутреннего сгорания.
Изобретение может быть использовано в качестве устройства, сигнализирующего о засоренности фильтрующего элемента и о разгерметизации впускного тракта.
Известен сигнализатор засоренности фильтра, содержащий корпус, разделенный чувствительным элементом на полости, одна из которых сообщена с полостью очищенной среды фильтра, а другая каналами с атмосферой. Сигнализатор снабжен емкостью, заполненной пахучим веществом и соединенной с полостью корпуса. При увеличении сопротивления фильтра емкость с пахучей жидкостью соединяется с подкапотным пространством, в котором распространяется запах от пахучего вещества, который воздействует на рецепторы слизистой оболочки носа оператора, сигнализируя о необходимости очистки фильтрующих элементов фильтра /Авторское свидетельство СССР № 520113, кл. В 01 Д 35/14, опубликовано 05.07.76. Бюллетень № 25/. Однако сигнализатор засоренности фильтра не сообщает о разгерметизации фильтрующего элемента. При разгерметизации впускного тракта в цилиндры двигателя поступает не очищенный воздух, это может привести к преждевременной поломки двигателя.
Известен пылесигнализатор для теплового двигателя, содержащий в воздухопроводе датчик, выполненный в виде пластины-изолятора с нанесенным на нее со стороны входного фланца слоем проводника с двумя контактными площадками, каждая из которых подсоединена к измерительному устройству. При неисправности фильтра в полость воздухопровода, где расположен датчик, попадают абразивные частицы. Они изнашивают слой проводника, изменяя тем самым сопротивление датчика. По скорости изменения сопротивления датчика судят о концентрации частиц пыли и возможности наступления аварийной ситуации при резком возрастании количества частиц пыли на выходе неисправного воздушного фильтра /Авторское свидетельство СССР № 873043, кл. G 01 N 15/02 опубликовано 15.10.81. Бюллетень № 38/. Однако данному пылесигнализатору присущи следующие недостатки. Система имеет высокую инерционность, вследствие чего сигнал о попадании абразивных частиц во впускной тракт поступает с запаздыванием. По мере попадания абразивных частиц во впускной трубопровод изнашивается сам датчик, что требует его замены.
Наиболее близким к заявляемому устройству изобретением является система регулирования топливоподачи дизеля с турбонадувом /Авторское свидетельство СССР № 914791, кл. F 02 D 23/02, 1980/.
Система регулирования топливоподачи дизеля с турбонадувом содержит пневмокорректор, выполненный в виде корпуса с установленной внутри него подпружиненной мембраной. Мембрана кинематически связана с рычагом управления топливоподачей и образует с корпусом рабочую полость. Рабочая полость соединена через одно из двух отверстий с впускным трубопроводом дизеля, а через другое соединена с атмосферой при помощи канала с запорным органом. Запорный орган соединен с выходом электронного блока управления. Вход электронного блока управления связан с датчиком контролируемого параметра. Отличительной особенностью данной системы является конструктивное исполнение запорного органа. Система регулирования топливоподачи дизеля с турбонадувом работает следующем образом. Датчик контролируемого параметра, например термопара, установленная в выпускном коллекторе, выдает сигнал, по которому судят о каком-либо параметре двигателя. При выходе параметра за пределы нормы подается сигнал на запорный орган и происходит уменьшение цикловой подачи топлива.
Описанная выше система имеет ряд недостатков. Во-первых, данная система не способна регистрировать разгерметизацию впускного тракта, так как эта неисправность не влечет видимых изменений параметров двигателя. Во-вторых, система не выдает сигнал оператору о выходе параметров двигателя за пределы без аварийной работы. Также система не способна регистрировать увеличение сопротивления агрегата очистки воздуха. Еще один недостаток системы в том, что она не учитывает режим работы двигателя, от которого во многом зависят его выходные параметры.
В основу изобретения положена техническая задача, которая заключается в повышении надежности работы двигателя за счет исключения абразивного износа, преимущественно, при разгерметизации впускного тракта.
Это достигается тем, что устройство защиты двигателя от абразивного износа, преимущественно при разгерметизации впускного тракта, содержащее пневмокорректор, выполненный в виде корпуса с установленной внутри него подпружиненной мембраной, кинематически связанной с рычагом управления топливоподачей и образующей с корпусом рабочую полость, которая через одно из двух отверстий сообщена с впускным трубопроводом двигателя, а через другое соединена с атмосферой при помощи канала с запорным органом, соединенным с выходом электронного блока управления, вход которого соединен с датчиком частоты вращения, согласно изобретению оно снабжено соединенными между собой измерителем давления и анализатором импульсов, при этом измеритель давления соединен трубопроводами с впускным трубопроводом двигателя в двух точках, до и после агрегата очистки воздуха, установленного в упомянутом трубопроводе, анализатор импульсов соединен с одним из входов электронного блока управления, а датчик частоты вращения, соединенный с другим входом электронного блока управления, установлен на коленчатом валу двигателя, кроме того, электронный блок управления соединен с сигнальными элементами приборного блока наблюдения оператора.
Наличие связи измерителя давления с впускным трубопроводом двигателя в двух точках позволяет регистрировать потерю давления в агрегате очистки воздуха. По перепаду давления до и после агрегата очистки воздуха можно судить о состоянии фильтрующего элемента. Связь измерителя давления с анализатором импульсов позволяет преобразовать сигнал, выходящий с измерителя давления, в электронный сигнал, удобный для передачи его на электронный блок управления и сравнения с эталонным значением сигнала. Датчик частоты вращения, связанный с электронным блоком управления и установленный на коленчатом валу двигателя, позволяет определить режим работы двигателя. Связь выхода электронного блока управления с сигнальными элементами позволяет сообщать оператору о возникновении неисправности. Выполнение устройства данным образом позволяет следить за состоянием агрегата очистки воздуха и на любом режиме работы двигателя выдавать сигнал о разгерметизации впускного тракта либо о засорении фильтрующего элемента.
Изобретение поясняется чертежом.
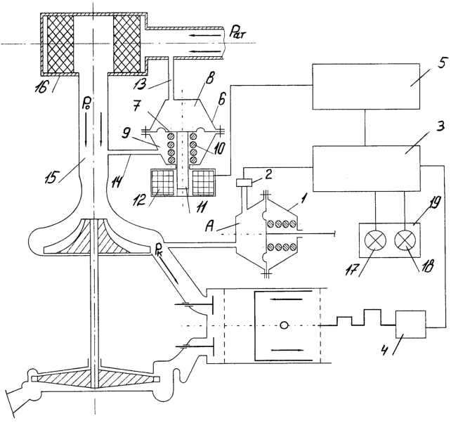
Устройство защиты двигателя внутреннего сгорания от абразивного износа, преимущественно при разгерметизации впускного тракта, состоит из пневмокорректора 1, на крышке которого со стороны рабочей полости А установлен запорный орган 2, соединенный с электронным блоком управления 3, связанным электронной цепью с датчиком частоты вращения 4 и анализатором импульсов 5. Измеритель давления 6 разделен мембраной 7 на две полости 8 и 9, мембрана подпружинена пружиной 10 и кинематически связана со стальным сердечником 11. Стальной сердечник входит в катушку индуктивности 12. Рабочие полости измерителя давления 6 связаны трубопроводами 13 и 14 с впускным трубопроводом 15 до агрегата очистки воздуха 16 и после агрегата очистки воздуха. Сигнальные элементы 17 и 18, установлены на приборном блоке 19 наблюдения оператора.
Устройство защиты двигателя внутреннего сгорания от катастрофического абразивного износа работает следующим образом. При работе двигателя агрегат очистки воздуха создает сопротивление движению воздуха. В результате давление во впускном трубопроводе после агрегата очистки воздуха несколько ниже, чем давление до агрегата очистки воздуха.
Перепад давления Р=Рат-P0 для каждого конкретного двигателя имеет свои пределы. Минимальный перепад давления Pmin обусловлен гидравлическим сопротивлением нового фильтрующего элемента. Максимально допустимый перепад давления Рmax регламентирован требованиями к агрегатам очистки воздуха и при его достижении требуется проводить техническое обслуживание агрегата очистки воздуха. Увеличение сопротивления агрегата очистки воздуха от Рmin до Рmax обусловлено засорением фильтрующего элемента. В случае разгерметизации впускного тракта, например разрыва фильтрующего элемента, неочищенный воздух начнет поступать в цилиндры двигателя. Это способствует абразивному износу двигателя и нарушению его работоспособности. Поэтому работа двигателя при разгерметизации впускного тракта недопустима.
Перепад давлений на любом режиме работы двигателя должен находиться в пределах от Pmin до Рmax. Перепад давлений зависит от режима работы двигателя и от состояния агрегата очистки воздуха. Электронный блок управления 3 программируется и в него заносятся эталонные значения перепада давлений в зависимости от частоты вращения коленчатого вала двигателя. При работе устройства защиты двигателя от абразивного износа на электронный блок управления 3 поступает сигнал с датчика частоты вращения 4. Перепад давления на входе и на выходе агрегата очистки воздуха 16 регистрируется измерителем давления 6 и подается по электронной связи на анализатор импульсов 5. С анализатора импульсов сигнал поступает на электронный блок управления, где сравнивается с эталонным значением перепада давлений для данной частоты вращения коленчатого вала двигателя. Если сигнал находится в допустимых пределах, то электронный блок не выдает никаких сигналов. Если перепад давлений больше предельно допустимой величины, то электронный блок подает сигнал на сигнальный элемент 18, сообщая оператору, что фильтрующий элемент засорен.
Если перепад давлений ниже эталонного минимального перепада давлений, электронный блок выдает сигнал на сигнальный элемент 17, сообщая оператору о разгерметизации впускного тракта, и на запорный орган 2. Запорный орган открывается, давление из рабочей полости А пневмокорректора 1 стравливается в атмосферу, тем самым уменьшая цикловую подачу топлива.
Использование предлагаемого устройства защиты двигателя абразивного износа, преимущественно при разгерметизации впускного тракта, значительно снижает вероятность наступления аварийных ситуаций из-за абразивного износа двигателя и позволяет получать достоверную информацию о состоянии агрегата очистки воздуха.
Формула изобретения
Устройство защиты двигателя внутреннего сгорания от абразивного износа, преимущественно при разгерметизации впускного тракта, содержащее пневмокорректор, выполненный в виде корпуса с установленной внутри него подпружиненной мембраной, кинематически связанной с рычагом управления топливоподачей и образующей с корпусом рабочую полость, которая через одно из двух отверстий сообщена с впускным трубопроводом двигателя, а через другое соединена с атмосферой при помощи канала с запорным органом, соединенным с выходом электронного блока управления, вход которого соединен с датчиком частоты вращения, отличающееся тем, что оно снабжено соединенными между собой измерителем давления и анализатором импульсов, при этом измеритель давления соединен трубопроводами с впускным трубопроводом двигателя в двух точках, до и после агрегата очистки воздуха, установленного в упомянутом трубопроводе, анализатор импульсов соединен с одним из входов электронного блока управления, а датчик частоты вращения, соединенный с другим входом электронного блока управления, установлен на коленчатом валу двигателя, кроме того, электронный блок управления соединен с сигнальными элементами приборного блока наблюдения оператора.
РИСУНКИ
MM4A – Досрочное прекращение действия патента СССР или патента Российской Федерации на изобретение из-за неуплаты в установленный срок пошлины за поддержание патента в силе
Дата прекращения действия патента: 23.03.2006
Извещение опубликовано: 10.12.2007 БИ: 34/2007
|
|