|
|
(21), (22) Заявка: 2004103111/06, 03.02.2004
(24) Дата начала отсчета срока действия патента:
03.02.2004
(45) Опубликовано: 20.08.2005
(56) Список документов, цитированных в отчете о поиске:
DE 1266564 А, 18.04.1968. GB 1563770 А, 02.04.1980. SU 938660 А, 15.06.1972. SU 193220 А, 11.08.1969. DE 4020262 A1, 09.01.1992. US 4558670 А, 17.12.1955. FR 2021433 A1, 24.07.1970.
Адрес для переписки:
173003, г. Великий Новгород, ул. Б. Санкт-Петербургская, 41, Новгородский государственный университет им. Ярослава Мудрого
|
(72) Автор(ы):
Капустин А.В. (RU), Абрамов А.М. (RU)
(73) Патентообладатель(и):
Новгородский государственный университет им. Ярослава Мудрого (RU)
|
(54) СПОСОБ ОРГАНИЗАЦИИ РАБОЧЕГО ПРОЦЕССА С РАССЛОЕННЫМ ЗАРЯДОМ ПОРШНЕВОГО ДВИГАТЕЛЯ И ПОРШНЕВОЙ ДВИГАТЕЛЬ ВНУТРЕННЕГО СГОРАНИЯ
(57) Реферат:
Изобретение относится к области машиностроения, а именно к двигателестроению. Способ организации рабочего процесса с расслоенным зарядом поршневого двигателя состоит в том, что в процессе впуска в цилиндре создается вихревое вращательное движение топливно-воздушной смеси. В результате смесь расслаивается на богатую в центре и бедную у стенок цилиндра. Вблизи верхней мертвой точки богатая смесь отделяется в центральную полость, а бедная – в периферийную полость камеры сгорания (КС). В конце сжатия осуществляется зажигание от искры и горение богатой смеси. Бедная смесь продолжает сжиматься. Независимое горение богатой смеси продолжается до критического отношения давлений газов в полостях. Затем полости объединяются, и горящая богатая смесь зажигает бедную смесь при истечении из центральной полости с критической скоростью. Поршневой двигатель имеет два тангенциальных впускных канала с впускными клапанами, один выпускной канал с клапаном. В головке цилиндров симметрично относительно оси цилиндра выполнена дисковая камера сгорания. Днище поршня имеет форму усеченного конуса с цилиндрическим венцом высотой 1,5-2 мм в верхней части. Вблизи верхней мертвой точки венец входит в дисковую КС головки и делит всю камеру сгорания двигателя на две полости: центральную дисковую полость и периферийную кольцевую полость. Изобретение обеспечивает улучшение антидетонационных свойств двигателя и повышение его экономичности. 2 н.п. ф-лы, 1 ил. 
Изобретение относится к области машиностроения, а, именно к двигателестроению.
Рабочие процессы с расслоенным зарядом реализованы в форкамерных двигателях и в двигателях с впрыскиванием топлива и управляемым вихревым движением заряда, согласованным с характеристикой впрыскивания топлива (Автомобильные двигатели. Журнал «Итоги науки и техники», ВИНИТИ. Двигатели внутреннего сгорания. Т.4, с.66-1984).
Форкамерные двигатели имеют ряд известных принципиальных недостатков и поэтому не получили распространения.
Двигатели с впрыскиванием топлива получают преимущественное распространение в качестве двигателей легковых автомобилей. Эти двигатели имеют хорошие антидетонационные и экономические показатели.
К недостаткам таких двигателей следует отнести сложность топливоподающей аппаратуры, повышенные требования к качеству топлива, трудности при переводе на газообразное топливо.
В качестве прототипа выбран способ организации рабочего процесса с расслоенным зарядом поршневого двигателя путем наполнения цилиндров топливно-воздушной смесью, расслоения по составу на богатую в центре и бедную у стенок цилиндра в процессе наполнения, разделения вблизи верхней мертвой точки (ВМТ) богатой и бедной смесей соответственно в центральной и периферийной полостях камеры сгорания (КС), зажигания богатой смеси от искры, а бедной – от горящей богатой смесью (см. DE 1266564, F 02 В 17/00, 1968, 4 с.).
В качестве прототипа устройства принят поршневой двигатель внутреннего сгорания, содержащий цилиндр, головку цилиндра с камерой сгорания, поршень, свечу зажигания, два впускных канала с клапанами и один выпускной канал с клапаном (GB 1563770, F 02 В 75/02, 1980, 4 с.).
Задачей изобретения является улучшение антидетонационных свойств двигателя и повышение его экономичности.
Поставленная задача решается за счет того, что способ организации рабочего процесса с расслоенным зарядом поршневого двигателя путем наполнения цилиндров топливно-воздушной смесью, расслоения по составу на богатую в центре и бедную у стенок цилиндра в процессе наполнения, разделения вблизи верхней мертвой точки богатой и бедной смесей соответственно в центральной и периферийной полостях камеры сгорания, зажигания богатой смеси от искры, а бедной – горящей богатой смесью, организации процессов сгорания, расширения и выпуска, согласно изобретению вначале осуществляют независимое горение богатой смеси до достижения критического отношения давлений в полостях, затем полости объединяют, и горящая богатая смесь зажигает бедную смесь при истечении из центральной полости с критической скоростью.
Задача решается также за счет того, что поршневой двигатель внутреннего сгорания, содержащий цилиндр, головку цилиндра с дисковой камерой сгорания, поршень с днищем в форме усеченного конуса, свечу зажигания, два тангенциальных впускных канала с клапанами и один выпускной канал с клапаном, согласно изобретению в верхней части конусообразного днища поршня выполнен цилиндрический венец высотой 1,5-2 мм, заходящий вблизи ВМТ внутрь дисковой камеры сгорания и временно разделяющий всю камеру сгорания двигателя на две полости: центральную дисковую и периферийную кольцевую.
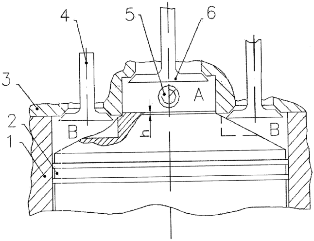
Предлагаемый процесс можно реализовать в двигателе, представленном на чертеже.
Двигатель содержит цилиндр 1, поршень 2, головку цилиндра 3, два тангенциальных впускных канала с впускными клапанами 4,свечу зажигания 5, выпускной клапан 6.
В головке соосно с цилиндром выполнена дисковая камера сгорания. Днище поршня имеет форму усеченного конуса. Днище можно выполнить и другой формы, например полусферической.
Особенность устройства состоит в том, что в верхней части конусообразного днища выполнен цилиндрический венец. При положении поршня вблизи верхней мертвой точки (ВМТ) цилиндрический венец днища поршня заходит внутрь дисковой камеры сгорания в головке цилиндра и разделяет всю КС двигателя на две полости: центральную дисковую полость «А» в головке цилиндра и периферийную кольцевую полость «В» в цилиндре.
Высота цилиндрического венца «h» определяется длительностью разделения КС, радиусом кривошипа и характеристикой кривошипно-шатунного механизма (КШМ). Если принять длительность разделения±15 градусов поворота коленчатого вала (°ПКВ) относительно ВМТ, радиус кривошипа, равным 50 мм, и характеристику КШМ, равную 0,3, то высота пояска составит 1,83 мм.
В осредненном индикаторном цикле современного поршневого двигателя продолжительность в ±15°ПКВ относительно ВМТ примерно равняется длительности основной фазы процесса сгорания (до максимума давления). К моменту объединения полостей (15°ПКВ после ВМТ) отношение давлений газов в полостях достигнет критической величины. Высота венца, равная 1,5…2 мм, для современного двигателя обеспечит практически критический режим истечения для всех режимов его работы.
Таким образом, при сравнительно небольшом по высоте венце, разделяющем камеру сгорания на две полости, создаются условия для критического режима истечения горящей богатой смеси. Время, за которое горящая смесь при этих условиях достигнет наиболее удаленных порций несгоревшей бедной смеси, в десятки раз меньше времени задержки самовоспламенения бензиновоздушной смеси. Это исключает возможность самовоспламенения бедной смеси и, следовательно, возможность возникновения детонации. Антидетонационные свойства заявленного двигателя будут определяться процессом горения богатой смеси в центральной полости и будут равноценны антидетонационным свойствам поршневого двигателя с диаметром цилиндра, равным диаметру дисковой КС в головке цилиндра заявленного двигателя.
Формула изобретения
1. Способ организации рабочего процесса с расслоенным зарядом поршневого двигателя путем наполнения цилиндров топливно-воздушной смесью, расслоения по составу на богатую в центре и бедную у стенок цилиндра в процессе наполнения, разделения вблизи верхней мертвой точки (ВМТ) богатой и бедной смесей соответственно в центральной и периферийной полостях камеры сгорания (КС), зажигания богатой смеси от искры, а бедной – горящей богатой смесью, организации процессов сгорания, расширения и выпуска, отличающийся тем, что вначале осуществляют независимое горение богатой смеси до достижения критического отношения давлений в полостях, затем полости объединяют, и горящая богатая смесь зажигает бедную смесь при истечении из центральной полости с критической скоростью.
2. Поршневой двигатель внутреннего сгорания, содержащий цилиндр, головку цилиндра с дисковой КС, поршень с днищем в форме усеченного конуса, свечу зажигания, два тангенциальных впускных канала с клапанами и один выпускной канал с клапаном, отличающийся тем, что в верхней части конусообразного днища поршня выполнен цилиндрический венец высотой 1,5-2 мм, заходящий вблизи ВМТ внутрь дисковой КС и временно разделяющий всю камеру сгорания двигателя на две полости: центральную дисковую и периферийную кольцевую.
РИСУНКИ
MM4A – Досрочное прекращение действия патента СССР или патента Российской Федерации на изобретение из-за неуплаты в установленный срок пошлины за поддержание патента в силе
Дата прекращения действия патента: 04.02.2006
Извещение опубликовано: 27.07.2007 БИ: 21/2007
|
|