|
|
(21), (22) Заявка: 2003131170/06, 24.10.2003
(24) Дата начала отсчета срока действия патента:
24.10.2003
(45) Опубликовано: 20.08.2005
(56) Список документов, цитированных в отчете о поиске:
RU 2054564 C1 20.02.1996. RU 2015354 C1 30.06.1994. RU 2028466 C1 09.02.1995. RU 2029106 C1 20.02.1995. SU 1201537 A 30.12.1985. DE 4438679 A1 02.05.1996. ЕР 0606578 А1 20.07.1994.
Адрес для переписки:
140404, Московская обл., г. Коломна, ул. Девичье поле, 3, кв.152, Е.А. Шуткову
|
(73) Патентообладатель(и):
Шутков Евгений Алексеевич (RU)
|
(54) СИСТЕМА СМАЗКИ ТЕПЛОВОГО ДВИГАТЕЛЯ
(57) Реферат:
Система смазки теплового двигателя содержит подсистему регулирования температуры масла, полнопоточный самоочищающийся фильтр, выполненный с возможностью регенерации фильтровальной перегородки с помощью механизма ее самоочистки последовательно отдельными промываемыми участками и отвода потока самоочистки для утилизации смываемых загрязнений. Отличительным свойством предлагаемой системы смазки является выполнение подсистемы регулирования температуры масла с возможностью регулирования со статической неравномерностью не менее минус 10 К и не более плюс 20 К, а также выполнение полнопоточного самоочищающегося фильтра с возможностью увеличивать или уменьшать с помощью механизма самоочистки частоту смены промываемых участков фильтровальной перегородки в зависимости от увеличения или уменьшения расхода масла и/или давления в системе смазки соответственно. Технический результат достигается в виде уменьшения коррозионной активности масла и увеличения ресурса работы пар трения в дизеле за счет уменьшения образования кислот при растворении в масле газов. 1 н.п. ф-лы, 11 ил. 
Изобретение относится к тепловым двигателям, в частности к двигателям внутреннего сгорания (ДВС). Преимущественная область использования – системы смазки тепловозных дизелей с наддувом (комбинированных).
Ресурс и надежность теплового двигателя, в том числе ДВС, во многом определяются коррозионной активностью применяемого масла. Показатель коррозионной активности характеризуется наличием в масле кислот, образующихся в результате химической реакции между газами типа СО, СО2, NO, NO2, SO, SO2 и парами воды. С этими компонентами масло контактирует в подпоршневом пространстве ДВС, куда газы и водяные пары проникают из камеры сгорания. В случае газотурбинного двигателя (ГТД) загрязнение масла указанными компонентами происходит через подшипники газовой турбины, для смазки которых масло используется. Если же ГТД применяется, например, для привода компрессора в трубопроводной системе транспортировки газа, то происходит дополнительное загрязнение масла перекачиваемым газом.
Наличие кислой среды резко повышает способность масла к образованию продуктов химической коррозии деталей, в результате чего происходит снижение усталостной прочности металлов (так называемый коррозионный износ). Особенно высокий коррозионный износ заметен при работе двигателя с пониженной температурой масла, когда создаются благоприятные условия для конденсации на деталях, контактирующих с маслом, указанных посторонних жидких примесей.
Решающая роль в процессе образования в масле кислот принадлежит растворенной газовой фазе, подвижность молекул которой в дисперсионной среде намного больше подвижности газовых пузырьков или твердых частиц, содержащих такие пузырьки на своей поверхности. Исследованиями установлено, что уменьшение доли растворенных в масле газов – основной путь снижения коррозионной активности смазки (Mirakami Y., Alhara H. Effects of NOx and Unbumed Gasoline on Low Temperature Sludge Formation in Engine Oil . – SAE Techn. Pap. Ser, 1991, № 910747, p.1-15).
Содержание газов, а значит и кислот, может быть уменьшено путем деаэрации масла с десорбцией газовых и уже образовавшихся летучих жидких примесей (ЕР 0423396 А 2, B 01 D 19/00). Такая дегазация масла в системах смазки ДВС является перспективным методом увеличения ресурса дизеля (Севастьянов С. И. Влияние топлив и масел на надежность и долговечность тепловозных дизелей. – М.: Транспорт, – 1971, 160 с.). Одновременно увеличивается срок службы самого масла, которое чаще всего заменяется при достижении некоторого порогового уровня показателем, характеризующим степень кислотности смазки.
Обычные методы дегазации масла транспортного ДВС сводятся к использованию либо центробежного поля (например, SU 1611373 А1, B 01 D 19/00; SU 1768225 A 1, B 01 D 29/62; RU 2001653 C 1, B 01 D 19/00; ЕР 0423396 А 2, B 01 D 19/00), либо теплового воздействия на пленку масла в дегазирующем фильтре (US 4227969, B 01 D 3/28; US 4289583, B 01 D 3/28; SU 1582974, B 01 D 19/00). Недостатком используемых при этом для дегазации устройств является их малая производительность, измеряемая расходом обрабатываемого байпасного потока масла. В результате они не могут быть применены для полнопоточной дегазации всего масла, подаваемого, например масляным насосом для смазки тепловозного дизеля, у которого производительность такого насоса может достигать 2,78·10-2м3/с (100 м3/ч) и более.
Для случая уменьшения коррозионной активности масла путем полнопоточной дегазации известно средство согласно RU 2141864 (B 01 D 19/00). Принцип работы этого устройства, состоящего из самоочищающегося фильтра и центробежного очистителя, сводится к использованию фильтрационного эффекта на фильтровальной перегородке самоочищающегося фильтра с последующим удалением газовой и парогазовой дисперсной фазы механизмом самоочистки и отводом потока самоочистки с этими компонентами на центробежный очиститель. Дальнейшее удаление газов осуществляется системой вентиляции картера (пространства над свободной поверхностью масла в емкости для хранения смазки). Примером использования указанного средства может служить система смазки комбинированного тепловозного дизеля, описание которой приведено в охранном документе RU 2054564 C 1 (F 01 M 1/10). Эта система (прототип) содержит емкость со свободной поверхностью масла, масляный насос с приводом от теплового двигателя для подачи смазки из этой емкости, подсистему регулирования температуры масла, полнопоточный самоочищающийся фильтр и центробежный очиститель для фугирования потока самоочистки. Самоочищающийся фильтр выполнен с возможностью регенерации фильтровальной перегородки с помощью механизма ее самоочистки последовательно отдельными промываемыми участками путем организации обратного тока части фильтрата. Эффективность такого способа регенерации зависит от давления фильтрата, должная величина которого в системе смазки поддерживается с помощью подсистемы регулирования температуры масла.
Недостаток такой системы смазки заключается в малом количестве десорбированных из масла газовых и жидких примесей из-за малых размеров центров газо- и паровыделения, представленных мелкодисперсной газовой и парогазовой фазой на фильтровальной перегородке, а также короткого времени пребывания на этой перегородке таких центров. Это время измеряется периодом опроса фильтровальной перегородки механизмом самоочистки.
Второй недостаток состоит в неиспользовании так называемого системного эффекта, заключающегося в позитивном влиянии на уменьшение коррозионной активности масла результата взаимодействия подсистемы регулирования температуры масла и самоочищающегося фильтра. Реализация такого эффекта возможна путем определенного выбора параметров указанной подсистемы.
Оба недостатка могут быть устранены путем увеличения размеров пузырьков до их поступления на фильтровальную перегородку за счет уменьшения скорости растворения газов в масле. Такое увеличение межфазовой поверхности (а значит и доли дисперсной газовой фазы) ускорит десорбцию примесей на фильтровальной перегородке, поскольку скорость десорбции пропорциональна указанной площади. При этом, однако, должна исключаться возможность завоздушивания самоочищающегося фильтра. Увеличивать долю дисперсной газовой фазы выгоднее всего за счет соответствующего пропорционального уменьшения доли растворенных в масле газов.
Целью изобретения является уменьшение коррозионной активности масла путем уменьшения растворимости и скорости растворения в нем газов и увеличения десорбции растворенных в масле газовых и/или летучих жидких примесей при фильтрационном эффекте за счет увеличения доли дисперсной газовой фазы с одновременным уменьшением возможности завоздушивания самоочищающегося фильтра.
Эта цель достигается тем, что в известной системе смазки теплового двигателя, содержащей емкость для хранения масла со свободной его поверхностью, масляный насос с приводом от теплового двигателя, а также с входом, сообщенным через первое соединительное устройство с емкостью, и выходом, полнопоточный самоочищающийся фильтр с входом, сообщенным через второе соединительное устройство с выходом масляного насоса, и выходом, сообщенным через третье соединительное устройство с входом теплового двигателя для масла, причем тепловой двигатель выполнен с возможностью его использования при переменной частоте вращения вала привода масляного насоса и с возможностью вентиляции пространства над свободной поверхностью масла в емкости для хранения масла, второе или третье соединительное устройство содержит подсистему регулирования температуры масла с входом и выходом для масла, а полнопоточный самоочищающийся фильтр выполнен с возможностью регенерации фильтровальной перегородки с помощью механизма ее самоочистки последовательно отдельными промываемыми участками и отвода масла потока самоочистки через четвертое соединительное устройство в указанную емкость, согласно изобретению подсистема регулирования температуры масла выполнена с возможностью регулирования со статической неравномерностью не менее минус 10 К и не более 20 К, а полнопоточный самоочищающийся фильтр выполнен с возможностью увеличивать или уменьшать с помощью механизма самоочистки частоту смены промываемых участков фильтровальной перегородки в зависимости от увеличения или уменьшения расхода масла и/или давления в системе смазки соответственно. При этом предполагается, что каждое из указанных соединительных устройств выполнено по меньшей мере из одного элемента гидравлических сетей или элемента трубопроводов и/или соединительных каналов, либо элемента трубопроводной арматуры.
Получаемый технический результат может быть улучшен, если первое соединительное устройство содержит всасывающий фильтр, второе соединительное устройство содержит полнопоточный несамоочищающийся фильтр с большей абсолютной тонкостью фильтрации, чем абсолютная тонкость фильтрации полнопоточного самоочищающегося фильтра, четвертое соединительное устройство содержит центробежный очиститель с реактивным и/или электрическим приводом ротора, подсистема регулирования температуры масла содержит охладитель масла и терморегулятор с датчиком температуры, имеющим настройку, и исполнительным устройством в виде трехходового крана, масляные полости охладителя и крана соединены между собой одним из известных способов для регулирования температуры масла методом перепуска с образованием линии охладителя и линии перепуска, а терморегулятор выполнен с возможностью изменять в противофазе с помощью трехходового крана проходные сечения этих линий при превышении температурой масла значения настройки датчика температуры. При этом возможен вариант, при котором четвертое соединительное устройство выполнено с возможностью питания центробежного очистителя потоком самоочистки с давлением, превышающим давление масла в самоочищающемся фильтре.
Одно из исполнений предлагаемой системы смазки отличается тем, что второе соединительное устройство выполнено в виде несамоочищающегося фильтра с входом, сообщенным с выходом масляного насоса, и выходом, сообщенным с входом самоочищающегося фильтра, а третье соединительное устройство выполнено в виде подсистемы регулирования температуры масла с входом, сообщенным с выходом самоочищающегося фильтра, и выходом, сообщенным с входом теплового двигателя для масла.
Другое исполнение отличается тем, что второе соединительное устройство содержит несамоочищающийся фильтр с входом, сообщенным с выходом масляного насоса, и выходом, а также подсистему регулирования температуры с входом, сообщенным с выходом несамоочищающегося фильтра, и выходом, сообщенным с входом самоочищающегося фильтра, а третье соединительное устройство выполнено в виде трубопровода или канала.
Достижение поставленной цели облегчает решение, при котором второе соединительное устройство содержит подсистему регулирования температуры масла с входом, сообщенным с выходом масляного насоса, и выходом, а также несамоочищающийся фильтр с входом, сообщенным с выходом подсистемы регулирования температуры, и выходом, сообщенным с входом самоочищающегося фильтра, а третье соединительное устройство выполнено в виде трубопровода или канала.
Дополнительное улучшение предлагаемой системы достигается в случае, когда второе соединительное устройство содержит несамоочищающийся фильтр с входом, сообщенным с выходом масляного насоса, и выходом, подсистему регулирования температуры с входом, сообщенным с выходом несамоочищающегося фильтра, и выходом, а также дополнительный масляный насос с входом, сообщенным по меньшей мере с выходом подсистемы регулирования температуры, и выходом, сообщенным с входом самоочищающегося фильтра, причем, дополнительный масляный насос выполнен с меньшей производительностью, чем масляный насос, а третье соединительное устройство выполнено в виде трубопровода или канала. Другое исполнение системы смазки, реализующее подобную идею, отличается тем, что емкость для хранения масла выполнена в виде отсека для охлажденного масла и сообщенного с ним отсека для неохлажденного масла после теплового двигателя, второе соединительное устройство содержит подсистему регулирования температуры масла с входом, сообщенным с выходом масляного насоса, и выходом, сообщенным с отсеком охлажденного масла, дополнительный масляный насос с входом, сообщенным с отсеком для охлажденного масла, и выходом, несамоочищающийся фильтр с входом, сообщенным с выходом дополнительного масляного насоса, и выходом, сообщенным с входом самоочищающегося фильтра, причем, дополнительный масляный насос выполнен с меньшей производительностью, чем масляный насос, а третье соединительное устройство выполнено в виде трубопровода или канала.
Для указанных выше исполнений системы возможен вариант, при котором несамоочищающийся и самоочищающийся фильтры выполнены в виде единого модуля. Это сокращает время поступления фильтрата после несамоочищающегося фильтра с дополнительной дисперсной газовой фазой на фильтровальную перегородку самоочищающегося фильтра, и, следовательно, сокращает время повторного растворения пузырьков в масле.
Предыдущие технические решения адаптированы к случаю охлаждения масла в масловоздушном радиаторе. Они пригодны и при использовании водомасляного охладителя, когда в качестве охлаждающего агента применяется пресная или морская вода, температура которой не регулируется, а также когда подсистема регулирования температуры масла выполнена с возможностью регулирования температуры охлаждающей масло воды. В этом случае подсистема регулирования температуры масла содержит водо-воздушный радиатор с жалюзи и воздушным вентилятором и выполнена с возможностью управления открытием и закрытием жалюзи, а также управления частотой вращения вентилятора. Эффективное решение состоит в том, что подсистема регулирования температуры масла выполнена с отрицательной обратной связью по температуре масла и/или по температуре охлаждающей масло воды. Дополнительное улучшение предлагаемой системы смазки достигается, если подсистема регулирования температуры масла выполнена с возможностью использования упреждающего сигнала по нагрузке теплового двигателя в виде давления воздуха перед камерой сгорания и/или давления воды в системе охлаждения теплового двигателя, причем, тепловой двигатель выполнен с нагнетателем воздуха перед камерой сгорания. Достижение поставленной цели облегчается в случае, когда подсистема регулирования температуры масла выполнена в виде аналогового регулятора, в котором реализована возможность управления открытием и закрытием жалюзи и началом включения вентилятора при температуре масла не выше значения, соответствующего настройке датчика температуры в терморегуляторе.
Наибольшей результативностью, в смысле решения поставленной задачи, обладает система смазки, в которой водомасляный охладитель выполнен с возможностью разделения охлаждаемого потока масла на отдельные охлаждаемые струи и возможностью дискретно-импульсного ввода энергии известным методом в каждую охлаждаемую струю. Обычное решение в таких случаях – это выполнение водомасляного охладителя с возможностью придания ленточной формы каждой охлаждаемой струе, например, путем использования пластинчато-ребристого или пластинчатого охладителя.
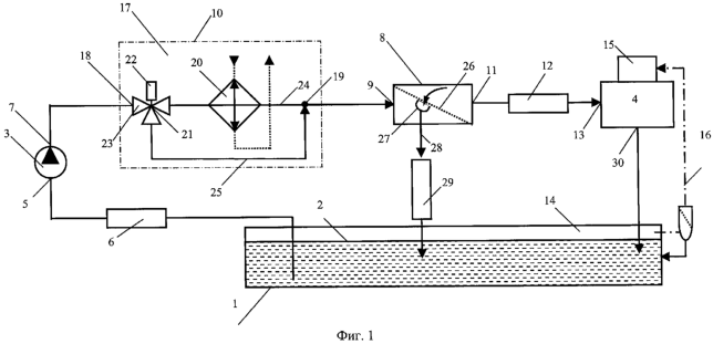
Изобретение иллюстрируется чертежами, на которых на примере комбинированного тепловозного дизеля изображено следующее: фиг.1 – схема системы смазки тепловозного дизеля (или газотурбинного двигателя) в наиболее общем виде; фиг.2 – изменение растворимости окиси углерода в масле в зависимости от температуры масла при работе тепловозного дизеля на холостом ходу и при полной нагрузке, фиг.3 – зависимость растворимости окиси углерода в масле от статической неравномерности регулирования температуры масла при работе дизеля на среднеэксплуатационном режиме; фиг.4 – то же для азота; фиг.5 – система смазки с 3-м соединительным устройством в виде подсистемы регулирования температуры масла; фиг.6 – система смазки с расположением несамоочищающегося фильтра и подсистемы регулирования температуры в составе 2-го соединительного устройства; фиг.7 – то же, что и фиг.6, но с расположением несамоочищающегося фильтра ниже по потоку относительно указанной подсистемы регулирования; фиг.8 – типовая двухнасосная система смазки тепловозного дизеля; фиг.9 – двухнасосная система смазки тепловозного дизеля, но с разделенными напорными частями системы; фиг.10 – то же, что и на фиг.8, но с подсистемой регулирования температуры масла путем управления температурой охлаждающей воды; фиг.11 – диаграмма последовательного включения жалюзи, вентилятора и терморегулятора перепуска в тепловозной подсистеме регулирования температуры масла.
В масле работающего теплового двигателя (ГТУ или ДВС) всегда содержатся продукты неполного сгорания топлива, попадающие в смазку либо через подпоршневое пространство из камеры сгорания в случае ДВС, либо через подшипники газовой турбины в случае ГТУ. В состав этих продуктов входят указанные выше газы и пары воды, которые после растворения в масле при химическом взаимодействии образуют кислоты, вызывающие химическую коррозию деталей. Помимо растворенной формы газовые и парогазовые примеси существуют в жидкости также и в дисперсном виде (в форме свободных или адсорбированных твердыми частицами пузырьков). Такая дисперсная фаза при циркуляции по системе смазки подвергается воздействию переменным давлением, что влияет на ее массообмен с дисперсионной средой через межфазовую границу. Рассмотрим динамику такого массообмена в системе смазки дизеля, схема которой показана на фиг.1.
Система смазки содержит емкость 1 для хранения масла со свободной поверхностью 2 этой жидкости, масляный насос 3 с приводом от дизеля 4, а также с входом 5, сообщенным через первое соединительное устройство 6 с емкостью 1, и выходом 7, полнопоточный самоочищающийся фильтр 8 с входом 9, сообщенным через второе соединительное устройство 10 с выходом 7 масляного насоса 3, и выходом 11, сообщенным через третье соединительное устройство 12 с входом 13 дизеля 4 для масла. Дизель 4 выполнен с возможностью его использования при переменной частоте вращения коленчатого вала и с возможностью вентиляции пространства 14 над свободной поверхностью 2 масла в емкости 1. Такая возможность реализуется, например, путем отсоса аэрозоля из пространства 14 турбокомпрессором 15 дизеля 4 по каналу 16. Второе соединительное устройство 10 содержит подсистему 17 регулирования температуры масла с входом 18 и выходом 19 для масла. Альтернативный вариант, при котором такую подсистему содержит третье соединительное устройство 12, не показан. В частном случае своего исполнения подсистема 17 содержит водомасляный охладитель 20 и терморегулятор 21 с датчиком температуры 22, имеющим настройку, и исполнительным устройством 23 в виде трехходового крана. Масляные полости охладителя 20 и крана 23 соединены между собой одним из известных способов для регулирования температуры масла методом перепуска с образованием линии охладителя 24 и линии перепуска 25. Терморегулятор 21 выполнен с возможностью изменять в противофазе с помощью трехходового крана 23 проходные сечения этих линий при превышении температурой масла значения настройки датчика температуры 22. Полнопоточный самоочищающийся фильтр 8 выполнен с возможностью регенерации фильтровальной перегородки 26 с помощью механизма 27 ее самоочистки последовательно отдельными промываемыми участками и отводом масла потока самоочистки 28 через четвертое соединительное устройство 29 в емкость 1. Возможность последовательной регенерации фильтровальной перегородки 26 механизм самоочистки 27 реализует с помощью своего привода (не показано) и обратного тока части фильтрата через промываемый участок фильтровальной перегородки 26.
Каждое из соединительных устройств 6, 10, 12 и 29 выполнено по меньшей мере из одного элемента гидравлических сетей или элемента трубопроводов и/или соединительных каналов, либо элемента трубопроводной арматуры. Например, применительно к схеме, указанной на фиг.1, первое соединительное устройство 6 может содержать всасывающий фильтр (поз.31 на фиг.5), третье соединительное устройство может быть выполнено в виде трубопровода, а четвертое – в виде центробежного очистителя с реактивным и/или электрическим приводом ротора. Помимо центробежного очистителя четвертое соединительное устройство может также содержать насос для питания указанного очистителя потоком самоочистки с давлением, превышающим давление в самоочищающемся фильтре. Описание возможного исполнения второго соединительного устройства 10 приведено выше.
Процесс массообмена рассмотрим для пузырька, размеры которого слишком малы, чтобы он был задержан фильтровальной перегородкой 26, или для пузырька, адсорбированного на твердой частице, размеры которой меньше абсолютной тонкости отсева в самоочищающемся фильтре. Попадая из емкости 1 в напорную часть системы смазки (участок от выхода 7 насоса 3 до выхода 30 масла из деталей дизеля 4), газовый пузырек подвергается сжатию давлением дисперсионной среды. Это вызывает переход части газа из пузырька в жидкость. Максимальное количество способного раствориться в масле газа пропорционально температуре органической жидкости и абсолютному давлению в ней. Такое максимальное количество образует концентрацию насыщения или равновесную концентрацию. Нерастворенная часть газа останется в составе дисперсной фазы. Равновеская концентрация (обозначим ее как Cs), соответствующая определенным температуре масла и давлению в системе смазки, называется растворимостью данного газа. Численно растворимость равна отношению объема Vг растворенного газа, приведенного к атмосферному давлению, к объему Vм масла и выражается в процентах. Например, растворимость окиси углерода в дизельном масле определяется соотношением

где Тм – температура масла (К), а р – абсолютное давление в системе смазки (МПа). Аналогичную зависимость имеет растворимость азота:

Процесс растворения в масле газа при попадании пузырька в напорную часть системы смазки начинается практически с мгновенного достижения концентрацией газа значения Cs в тонком слое жидкости, примыкающем к межфазовой поверхности. Скорость увеличения концентрации газа в остальном объеме масла пропорциональна разности между Cs и фактической концентрацией С этого газа в поглощающей среде. Чем больше указанная разность, тем большее количество газа успеет раствориться за время пребывания пузырька в напорной части системы смазки. При выходе из дизеля 4 в емкость 1, где давление близко к атмосферному, пузырек расширяется. В этот момент концентрация растворенного в масле газа превышает растворимость, соответствующую давлению в емкости 1, что вызывает диффузию газа из дисперсионной среды внутрь пузырька. Дополнительно масло получает из подпоршневого пространства ДВС новые порции пузырьков, адсорбированных на своих носителях (на твердых частицах), а также в виде дисперсной газовой фазы в результате захвата маслом части газовой среды.
Закачка газа в масло, проходящее через напорный участок, многократно повторяется в течение всего времени работы дизеля. В результате этого в напорной части системы смазки концентрация растворенного газа, соответствующая средней температуре масла в этом участке и среднему давлению (усреднение выполняется вдоль всего напорного участка по ходу потока масла), всегда превышает концентрацию растворенного газа в масле, которое в данный момент находится в емкости 1. Содержание газа в напорном участке будет тем выше, чем выше давление в системе, а значит, и выше соответствующая такому давлению растворимость Cs независимо от того, достигается ли во всем объеме напорного участка уровень Cs за время пребывания пузырьков в этом участке или нет. Поскольку помимо газа в масле растворяются и пары воды, то вероятность образования кислот в напорном участке системы смазки превышает вероятность такого процесса в емкости 1. Подвижность в жидкости молекул растворенного газа намного выше подвижности пузырьков. Это делает растворенные газы основным фактором кислотообразования в смазке.
Рассмотрим случай пузырька, который может быть задержан фильтровальной перегородкой 26 самоочищающегося фильтра 8, либо задерживается твердая частица с адсорбированным на ней пузырьком. Такая остановка пузырька сопровождается резким увеличением скорости жидкости относительно него с появлением в окрестности пузырька локальной зоны разрежения, вызывающей конвективную диффузию газа из жидкости через межфазовую поверхность. Подобное явление десорбции газа из дисперсионной среды в дисперсную фазу известно как фильтрационный эффект (Тимиркеев Р.Г. и Сапожников В.М. Промышленная чистота и тонкая фильтрация рабочих жидкостей летательных аппаратов. – М.: Машиностроение, 1986. – 152 с.). Последующее удаление с фильтровальной перегородки 26 потоком самоочистки 28 увеличившихся в результате десорбции пузырьков, отвод их на свободную поверхность 2 масла в емкости 1 и отсос газов по каналу 16 системой вентиляции пространства 14 завершает процесс дегазации.
Понижая в смазке растворимость Cs, можно уменьшить скорость растворения газов в напорной части системы. Это соответственно увеличит размер компонентов дисперсной газовой фазы. Последние при их задержании фильтровальной перегородкой в самоочищающемся фильтре увеличат десорбцию растворенного газа за счет увеличения работы фильтрационного эффекта при большей площади межфазовой поверхности.
На фиг.2 показана растворимость окиси углерода в масле напорного участка указанной на фиг.1 системы смазки. Характеристики даны в зависимости от температуры масла на выходе из дизеля при работе ДВС на полной нагрузке (кривая 1 при частоте вращения коленчатого вала 1000 мин-1) и на холостом ходу (кривая 2 при 350 мин-1). Влияние температуры масла при одной и той же частоте вращения (то есть при одном и том же расходе масла через напорную часть системы) объясняется изменением вязкости этой жидкости. С увеличением вязкости увеличивается давление в системе смазки, что сказывается на увеличении растворимости в большей мере, нежели компенсирующее такое увеличение понижение температуры масла.
Процесс нагружения ДВС заключается в переходе с характеристики 1 на кривую 2 и обратно с использованием и промежуточных частот вращения коленчатого вала (например переход по линии 3). Пропорционально давлению в системе смазки происходит изменение растворимости. Из фиг.2 следует, что для уменьшения растворимости в масле газов выгоднее на всех режимах ДВС работать при высоких значениях температуры в системе смазки. Для этого необходимо задать наибольшую регулируемую температуру масла (например, 350 К) в рабочем диапазоне ее значений для данного ДВС (в интервале от 333 до 353 К) и выбрать закон регулирования температуры масла при изменении нагрузки. Возможно несколько вариантов управления температурой, для характеристики которых используется понятие статической неравномерности регулирования . В теории автоматического управления под статической неравномерностью регулирования какого-либо параметра понимается разность его значений при полной нагрузке объекта (в данном случае ДВС) и при нагрузке холостого хода.
Первый вариант – управление с отрицательной статической неравномерностью. Это означает, что при увеличении нагрузки от холостого хода до полной температура масла уменьшается от заданного наибольшего значения (350 К на холостом ходу) до, например, 330 К (переход согласно фиг.2 по линии 3; статическая неравномерность регулирования равна минус 20 К) или до 340 К (переход по линии 4; статическая неравномерность регулирования равна минус 10 К).
Второй вариант – астатическое регулирование, то есть регулирование с нулевой статической неравномерностью, когда при увеличении нагрузки от холостого хода до полной температура масла остается практически неизменной и равной 350 К. Такое регулирование соответствует изменению растворимости по линии 5.
Третий вариант – управление с положительной статической неравномерностью. Этот вариант регулирования характерен тем, что при увеличении нагрузки от холостого хода до полной температура масла увеличивается от своего наименьшего значения, например, от 340 К (переход по линии 6; статическая неравномерность регулирования равна 10 К) или от 330 К (переход по линии 7; статическая неравномерность регулирования равна 20 К) до заданного наибольшего значения 350 К.
Каждый из этих способов регулирования характеризуется величиной и знаком статической неравномерности регулирования температуры масла. То, по какому закону происходит изменение температуры масла при статическом изменении нагрузки двигателя (астатическое регулирование или регулирование по статической характеристике с положительной или отрицательной неравномерностью), определяет максимально возможное количество газов, способных раствориться в масле.
На фиг.3 показана зависимость растворимости окиси углерода от величины неравномерности регулирования температуры при работе тепловозного дизеля на среднеэксплуатационном режиме. Аналогичная зависимость изображена на фиг.4 для случая растворения в масле азота. Эти данные приводят к выводу о том, что с точки зрения минимизации содержания в дизельном масле растворенных примесей рациональным является управление температурой масла с неравномерностью регулирования не меньше минус 10 и не выше плюс 20 К. В этом диапазоне отклонение растворимости от минимального значения не превышает 16%). Приемлемый результат дает регулирование с положительной статической неравномерностью от 0 до плюс 20 К. Наилучшим, однако, является астатическое регулирование, поскольку обеспечивает минимальный уровень растворимость газов.
Наиболее просто регулирование температуры масла в ДВС реализуется по известному методу перепуска с помощью терморегулятора прямого действия 21 со встроенным датчиком температуры 22 регулируемой среды (ОСТ 24.065.01-77. Системы автоматического регулирования температуры (САРТ) для дизелей и газовых двигателей. Общие технические условия). Если терморегулятор 21 выполнить в виде П-регулятора прямого действия (в котором усилие для привода трехходового крана 23 обеспечивается датчиком температуры 22), то будет обеспечен способ управления по отклонению фактической температуры масла от настройки указанного датчика. Управление с помощью такого П-регулятора осуществляется с положительной статической неравномерностью регулирования. При этом необходимо выбрать диапазон регулирования температуры с нижней (настройка датчика температуры, например, 340 К) и верхней (наибольшая регулируемая температура масла, например, 350 К) границами, разница между которыми не должна превышать 20 К. В этом случае согласно фиг.3 и фиг.4 растворимость газов в масле напорного участка системы смазки увеличится не более чем на 13% относительно своего минимального значения.
Поддержание растворимости в масле газов в окрестности минимального значения сопровождается увеличением их содержания в дисперсной фазе, что может приводить к завоздушиванию самоочищающегося фильтра. Такое завоздушивание вызывает повышенный перепад давления на фильтровальной перегородке и увеличенные затраты мощности ДВС на прокачку масла по системе смазки. Для исключения этого явления необходима соответствующая скорость сканирования механизма самоочистки 27 вдоль фильтровальной перегородки 26 (фиг.1).
Исследованиями (Григорьев М.А., Зайчик Л.А. Аэрация масла и способы ее предотвращения. – Автомобильная промышленность, 1996, № 3. с.22-24) установлено, что скорость образования в масле дисперсной газовой фазы пропорциональна частоте вращения коленчатого вала ДВС. Поэтому, чтобы не допустить завоздушивания самоочищающегося фильтра, необходимо в зависимости от уменьшения или увеличения этой частоты соответственно уменьшать или увеличивать частоту смены промываемых участков фильтровальной перегородки. Наиболее простое решение – обеспечить пропорциональную зависимость между частотой смены промываемых участков и расходом масла через самоочищающийся фильтр, так как указанный расход пропорционален частоте вращения коленчатого вала. Это может достигаться выполнением привода механизма самоочистки в виде турбины (не показано), приводимой в движение потоком масла на входе в самоочищающийся фильтр. Другое решение – обеспечить зависимость частоты сканирования от давления масла в системе смазки, которое в свою очередь практически пропорционально частоте вращения коленчатого вала. Это может быть реализовано с помощью привода механизма самоочистки, выполненного, например, в виде поворотного гидромотора (не показано), питание которого осуществляется давлением фильтрата.
В общей теории систем, как известно, используется понятие системного эффекта . Его суть заключается в том, что результат взаимодействия суммы элементов, образующих систему, превышает сумму результатов, порождаемых каждым элементом в отдельности. В данном случае уменьшение растворимости газов с помощью подсистемы регулирования температуры масла и увеличение десорбции растворенных в масле веществ с помощью полнопоточного самоочищающегося фильтра за счет увеличения на его фильтровальной перегородке количества дисперсной газовой фазы реализует системный эффект в виде уменьшения коррозионной активности масла.
Практическое использование самоочищающихся фильтров дизельного масла показало, что крупные загрязнения в виде твердых частиц являются для такого фильтра наиболее опасными, так как зачастую выводят из строя механизм самоочистки. Отказ происходит по причине стопорения этого механизма в результате попадания крупных твердых загрязнений в его зазоры. При этом остановка механизма самоочистки вызывает быстрое аварийное загрязнение фильтровальной перегородки и ее последующее разрушение под действием перепада давления. Установка (фиг.5) перед самоочищающимся фильтром 8 полнопоточного несамоочищающегося фильтра 32 с большей абсолютной тонкостью фильтрации (фильтра грубой очистки масла) позволяет обеспечить нужную защиту. Такой грубый фильтр задерживает лишь крупные загрязнения, количество которых в масле мало, что обеспечивает необслуживаемую работу защитного фильтра в течение срока необслуживаемой работы самоочищающегося фильтра (1,5-2,0 года).
Указанные загрязнения, прежде чем попасть в масло, контактируют с газами подпоршневого пространства и поэтому содержат в микронеровностях своей поверхности газовые включения, являющиеся в условиях описанного выше фильтрационного эффекта центрами газо- и паровыделения. На этих центрах происходит процесс непрерывного роста дисперсной газовой фазы, которая после разрушения крупных пузырьков потоком жидкости поступает на фильтровальную перегородку самоочищающегося фильтра. На последней происходит деаэрация масла задержкой таких пузырьков с одновременным началом нового процесса их укрупнения за счет десорбции и удаления затем механизмом самоочистки.
В результате получаем новое потребительское свойство защитного фильтра грубой очистки 32, установленного по ходу масла выше самоочищающегося фильтра 8, а именно постоянное генерирование дополнительного количества дисперсной газовой фазы, которая увеличивает в масле долю такой фазы, а за счет фильтрационного эффекта на фильтровальных перегородках обоих фильтров увеличивает и количество десорбируемого из масла вещества. Данное техническое решение позволяет позитивно использовать такой недостаток защитного фильтра, как перепад давления на его фильтровальной перегородке из-за накопления на ней крупных загрязнений, превращая этот минус в плюс , то есть, уменьшая коррозионную активность масла. Следует подчеркнуть, что системный эффект в виде подобного превращения достигается лишь при указанном взаимном расположении защитного и самоочищающегося фильтров в системе смазки.
На фиг.5 показана схема системы смазки, реализующая этот системный эффект. В данной системе первое соединительное устройство 6 содержит всасывающий фильтр 31, второе соединительное устройство 10 содержит полнопоточный несамоочищающийся фильтр 32 с большей абсолютной тонкостью фильтрации, чем абсолютная тонкость фильтрации полнопоточного самоочищающегося фильтра 8, третье соединительное устройство 12 содержит подсистему регулирования температуры масла 17, описание которой дано выше. Вход 33 фильтра 32 сообщен с выходом 7 насоса 3, а выход 34 фильтра 32 – с входом 9 самоочищающегося фильтра 8. Вход 18 подсистемы 17 сообщен с выходом 11 фильтра 8, а выход 19 подсистемы 17 – с входом 13 для масла дизеля 4. Четвертое соединительное устройство 29 содержит центробежный очиститель 35 с электрическим приводом ротора (не показано).
Система работает следующим образом. Насос 3 забирает через всасывающий фильтр 31 масло из емкости 1 и через полнопоточный несамоочищающийся фильтр 32 грубой очистки подает масло на полнопоточный самоочищающийся фильтр 8, после которого оно поступает на вход 18 подсистемы регулирования температуры 17. В этой подсистеме часть масла охлаждается водой 36 в теплообменнике 20 и смешивается с неохлажденной частью масла из линии перепуска 25. Требуемое соотношение расходов в линиях 24 и 25 обеспечивает терморегулятор 21 в зависимости от величины отклонения температуры масла на входе 18 от настройки датчика температуры 22. Регулирование температуры осуществляется с положительной статической неравномерностью, которая не превышает 20 К (обеспечивается выбором настройки датчика 22 как температуры, при которой начинает открываться линия 24, и выбором наибольшей регулируемой температуры, при которой линия 24 открыта полностью, а линия 25 закрыта). С выхода 19 подсистемы 17 масло подается на вход 13 дизеля 4, после которого вновь возвращается в емкость 1. Подсистема 17 обеспечивает растворимость в масле газов в окрестности минимального значения, в результате чего в напорной части системы смазки уменьшается количество газа, успевающего раствориться за время пребывания масла в этом участке. Соответственно увеличивается количество дисперсной газовой фазы, которая представлена как свободными газовыми пузырьками, так и пузырьками, адсорбированными на твердых частицах. Крупные пузырьки и мелкие пузырьки на крупных тверды частицах задерживаются несамоочищающимся фильтром 32 и увеличиваются в результате фильтрационного эффекта на фильтровальной перегородке фильтра 32. Мелкие пузырьки и пузырьки на твердых частицах с размером меньше абсолютной тонкости отсева фильтра 32 поступают на фильтровальную перегородку 26 самоочищающегося фильтра 8, на которой задерживаются и увеличиваться в результате фильтрационного эффекта на перегородке 26. На эту же перегородку поступают и пузырьки, полученные при разрушении укрупненных пузырьков в фильтре 32. В результате фильтр 8 получает дополнительное количество дисперсной газовой фазы, что увеличивает количество десорбируемых на его перегородке 26 из масла растворенных газов и кислот. Удаление продуктов десорбции осуществляется механизмом самоочистки 27, который производит смену промываемых участков перегородки 26 с частотой, пропорциональной расходу масла через фильтр 8. В центробежном очистителе 35 производится фугирование потока самоочистки 28 с отводом газовой и парогазовой фазы на свободную поверхность 2 масла в емкости 1. Процесс дальнейшей утилизации летучих компонентов завершается отсосом аэрозоля из пространства 14 через канал 16 на вход турбокомпрессора 15.
Если подсистему регулирования температуры масла включить между несамоочищающимся фильтром грубой очистки и самоочищающимся фильтром тонкой очистки, то это дополнительно увеличит количество дисперсной газовой фазы на фильтровальной перегородке последнего. Результат этот объясняется тем, что поток масла в линии охладителя 24 имеет более низкую температуру, чем в линии перепуска 25. Поскольку растворимость газов в масле уменьшается с понижением температуры, то масло на выходе водомасляного охладителя 20 будет содержать большее количество дисперсной газовой фазы, чем на входе в этот охладитель, из-за дополнительной десорбции растворенного вещества в пузырьки, содержащиеся в фильтрате защитного фильтра 32.
Система смазки, в которой реализуется такой системный эффект, показана на фиг.6. В этой системе второе соединительное устройство 10 выполнено в виде включенных по маслу последовательно несамоочищающегося фильтра 32 и подсистемы регулирования температуры масла 17, третье соединительное устройство 12 – в виде трубопровода или канала 37, а четвертое соединительное устройство 29 – в виде центробежного очистителя 35 с электрическим приводом ротора. Остальные элементы системы совпадают с указанными на фиг.5. Работа системы ясна из фиг.6.
Если во втором соединительном устройстве 10 поменять местами подсистему регулирования температуры масла 17 и несамоочищающийся фильтр 32, как это изображено на фиг.7, то крупные автономные пузырьки и пузырьки, адсорбированные на крупных твердых частицах загрязнений, еще до поступления на фильтр 32 будут дополнительно увеличены в водомасляном охладителе 20 за счет десорбции при понижении температуры масла в линии 24. В схеме согласно фиг.7 вход 18 подсистемы регулирования температуры 17 сообщен с выходом 7 насоса 3, выход 19 этой подсистемы – с входом 33 защитного фильтра 32. Выход 34 фильтра 32 сообщен с входом 9 самоочищающегося фильтра 8. Четвертое соединительное устройство 29 выполнено в виде центробежного очистителя 38 с реактивным приводом ротора. Работа системы ясна из фиг.7.
Отличительной особенностью систем смазки тепловых двигателей является доминирование по гидравлическому сопротивлению потребителя масла, расположенного в конце напорной части системы, в данном случае – подшипников дизеля. Остальные полнопоточные элементы системы всегда выбираются с возможно меньшим гидравлическим сопротивлением, чтобы давление масла на входе в тепловой двигатель для масла (дизель 4) было возможно ближе по своему значению к давлению на выходе масляного насоса 3. Это обусловлено стремлением уменьшить затраты мощности на прокачку масла через систему смазки. Однако такое требование противоречит условиям работы водомасляного охладителя 20, тепловая эффективность которого увеличивается с увеличением перепада давления на нем.
Указанное противоречие разрешает система смазки, изображенная на фиг.8. В этой системе второе соединительное устройство 10 выполнено в виде несамоочищающегося фильтра 32 с входом 33, сообщенным с выходом 7 масляного насоса 3, и выходом 34, подсистемы регулирования температуры 17 с входом 18, сообщенным с выходом 34 несамоочищающегося фильтра 32, и выходом 19, а также дополнительного масляного насоса 39 с входом 40, сообщенным по меньшей мере с выходом 19 подсистемы регулирования температуры 17, и выходом 41, сообщенным с входом 9 самоочищающегося фильтра 8, а третье соединительное устройство 12 выполнено в виде трубопровода или канала 37. Четвертое соединительное устройство 29 выполнено в виде центробежного очистителя 42 с реактивным и электрическим приводом ротора. Дополнительно вход 40 насоса 39 сообщен с емкостью 1 через ограничительный клапан 43 и обратный клапан 44. Масляный насос 3 выполнен с большей производительностью, чем дополнительный масляный насос. Остальные элементы системы имеют обозначения, указанные выше.
Преимуществом этой системы смазки является возможность увеличения перепада давления на водомасляном охладителе 20 (а значит и увеличения его тепловой мощности) при одновременном понижении давления масла в напорном участке от выхода 7 насоса 3 до входа 40 в насос 39, так как из этого участка исключен дизель 4 с самоочищающимся фильтром 8. Оба последних элемента системы являются нагрузкой для дополнительного масляного насоса 39. Клапан 43 ограничивает давление на входе в насос 39 на уровне 0,10-0,15 МПа, а обратный клапан 44 гарантирует малоснабжение насоса 39 при отказе насоса 3.
Вторым преимуществом системы смазки согласно фиг.8 является увеличение десорбции растворенных в масле газовых и/или летучих жидких примесей при фильтрационном эффекте в несамоочищающемся фильтре 32 и дополнительная десорбция в водомасляном охладителе 20. Оба эти фактора обусловлены увеличением доли дисперсной газовой фазы при увеличении размеров пузырьков в условиях малого давления масла в напорном участке от выхода первого насоса до входа во второй насос.
Недостатком всех предыдущих схем системы смазки является то, что масло в емкости 1 хоть и находится по давлением, близким к атмосферному, но с температурой на выходе из двигателя , стабилизацию которой обеспечивает подсистема регулирования температуры 17. Это не позволяет понизить температуру масла в емкости 1, чтобы для дополнительного уменьшения коррозионной активности смазки использовать факт понижения растворимости газов при понижении температуры. Такой эффект реализован в системе смазки согласно фиг.9. В этой системе емкость 1 для хранения масла выполнена в виде отсека для охлажденного масла 43 и сообщенного с ним отсека для неохлажденного масла 44 после дизеля, второе соединительное устройство 10 выполнено в виде подсистемы регулирования температуры масла 17 с входом 18, сообщенным с выходом 7 масляного насоса 3, и выходом 19, сообщенным с отсеком охлажденного масла 43, дополнительного масляного насоса 39 с входом 40, сообщенным с отсеком для охлажденного масла 43, и выходом 41, несамоочищающегося фильтра 32 с входом 33, сообщенным с выходом 41 дополнительного масляного насоса 39, и выходом 34, сообщенным с входом 9 самоочищающегося фильтра 8. Отсеки 43 и 44 сообщаются между собой через перегородку 45. Для защиты насоса 39 от технологических загрязнений, попадающих в отсек 43 при обслуживании системы, применен дополнительный всасывающий фильтр 46, а защита от этих загрязнений самоочищающегося фильтра 8 обеспечивается несамоочищающимся фильтром 32. Масляный насос 3 выполнен с большей производительностью, чем дополнительный масляный насос, а третье соединительное устройство 12 выполнено в виде трубопровода или канала 37. Остальные элементы системы (согласно обозначениям) имеют назначения, указанные выше.
Система смазки согласно фиг.9 работает следующим образом. Масляный насос 3 забирает горячее масло из отсека 44 через всасывающий фильтр 31 и подает его на вход 18 подсистемы 17 регулирования температуры, после чего охлажденное масло поступает в отсек 43. Поскольку насос 3 имеет более высокую производительность, чем дополнительный насос 39, это позволяет увеличить тепловую эффективность водомасляного охладителя 20 за счет увеличения скорости масла в охлаждаемой полости теплообменника, следовательно, уменьшить статическую неравномерность регулирования температуры с уменьшением растворимости газов (фиг.3 и фиг.4). Одновременно в отсеке 43 создается некоторый избыток охлажденного масла, которое перетекает через перегородку 45 в отсек 44. Со свободной поверхности 2 охлажденного масла в отсеке 43 в пространство 14 выделяется большее количество газов, чем в отсеке 44 в связи с положительностью температурного градиента растворимости газов в масле. По этой же причине внутри масляного объема в отсеке 43 увеличивается (по сравнению с маслом в отсеке 44) десорбция растворенных газов через межфазовую поверхность тех пузырьков, которые не успевают всплыть. Таким образом, рассматриваемая система смазки осуществляет дополнительное уменьшение растворимости газов в масле за счет увеличения свободной поверхности охлажденного масла и увеличения времени его пребывания при пониженном давлении. В результате на вход 40 дополнительного масляного насоса 39 поступает масло, содержащее меньшее количество растворенного газа, нежели масло, находящееся в отсеке 44, или по сравнению со случаем схемы, изображенной на фиг.8. Дальнейшая десорбция газов осуществляется фильтрами 32 и 8, как это указано было выше. При этом скорость десорбции при фильтрационном эффекте в напорной части системы после дополнительного насоса 39 увеличится за счет уменьшения статической неравномерности регулирования температуры масла.
Регулирование температуры масла может сопровождаться дополнительным управлением температурой воды 36, используемой в охладителе 20, что применяется, например, в тепловозах. На фиг.10 изображена схема системы смазки с подсистемой регулирования температуры масла 17, содержащей водо-воздушный радиатор 47 с жалюзи 48 и вентилятором 49. Управление открытием и закрытием жалюзи 48 и частотой вращения вентилятора 49 осуществляется через управляющее устройство 50 и исполнительные приводы 51 и 52 соответственно. Датчик температуры масла 53 обеспечивает замыкание системы регулирования температуры воды отрицательной обратной связью 54 по температуре масла на входе 18 в подсистему регулирования 17. В зависимости от сигнала, поступающего с этого датчика в управляющее устройство 50 происходит управление открытием или закрытием жалюзи 48, включение вентилятора 49 и аналоговое изменение его частоты вращения от нулевой до максимальной. Возможно использование отрицательной обратной связи и по температуре воды 36 (не показано). С целью повышения быстродействия системы регулирования температуры воды 36 при сбросах и набросах нагрузки дизеля используется упреждающее воздействие 55 по сигналу нагрузки в виде давления наддувочного воздуха в турбокомпрессоре 15. Возможно использование для тех же целей сигнала по давлению воды в системе охлаждения двигателя 4, например, давления на выходе 56 насоса 57 охлаждающей воды 36 или давления в данном случае в горячем контуре охлаждения дизеля (не показано). Четвертое соединительное устройство 29 содержит центробежный очиститель 38 с реактивным приводом ротора, питание которого потоком самоочистки 28 осуществляется с помощью вспомогательного насоса 58, приводимого от дизеля 4.
Согласованность работы терморегулятора 21 и блока 50 управления жалюзи 48 и вентилятором 49 обеспечивается соответствующей настройкой датчиков температуры 22 и 53. На фиг.11 изображена диаграмма, показывающая, при каких температурах масла происходит открытие жалюзи 48, включение вентилятора 49, начало открытия трехходовым краном 23 линии охладителя 24 (начало подачи команды датчиком температуры 22 на управление трехходовым краном 23 терморегулятора 21 называется настройкой датчика), выход вентилятора 49 на режим максимальной частоты вращения и максимальное открытие линии 24 (максимальное значение команды датчика температуры 22 на управление трехходовым краном 23).
Система смазки согласно фиг.10 работает аналогично системе, изображенной на фиг.8. Работа подсистемы 17 регулирования температуры масла происходит следующим образом.
В период прогрева двигателя 4 после пуска при превышении температурой масла на входе 18 величины настройки датчика 53 температуры масла 346 К (фиг.11) происходит открытие жалюзи 48, что увеличивает теплоотвод в радиаторе 47 ввиду увеличения за счет естественной конвекции его теплорассеивающей способности. При этом температура воды 36 несколько понижается относительно своего значения перед пуском (перед пуском температуры масла и воды 36 имели близкие значения). Поскольку линия 24 охладителя 20 остается закрытой терморегулятором 21, то температура масла продолжает повышаться ввиду превышения теплоподвода в масло над теплоотводом. При достижении температурой масла значения 347 К включается на малую частоту своего вращения вентилятор 49 по команде управления с блока 50, получающего информацию с датчика 53 по каналу обратной связи 54. При дальнейшем увеличении температуры масла на 1 К (до 348 К) трехходовой кран 23 по команде датчика температуры 22 открывает линию 24 охладителя и в противофазе уменьшает проходное сечение линии перепуска 25. В охладитель 20 поступает часть потока масла, которая охлаждается уже подготовленной по температуре водой 36. При продолжении работы двигателя 4 на холостом ходу происходит стабилизация температуры масла в окрестности настройки датчика температуры 22, то есть, в окрестности температуры 348 К.
С увеличением нагрузки увеличивается теплоподвод в масло, что приводит к увеличению температуры жидкости, омывающей датчик 22 в терморегуляторе 21. Это по команде датчика температуры 22 вызывает противофазное изменение проходных сечений линий 24 и 25 и одновременное увеличение по сигналу с датчика 53 частоты вращения вентилятора 49 (аналоговое управление вентилятором). Теплорассеивающая способность радиатора 47 и максимальная частота вращения вентилятора 49 выбраны такими, чтобы обеспечивать теплоотвод от масла при полной нагрузке, не достигая момента полного открытия линии 24 и, соответственно, полного закрытия линии 25 терморегулятором 21. В результате через водомасляный охладитель 20 проходит часть всего потока подаваемого насосом 3 масла, что благоприятно сказывается на дополнительной десорбции в охладителе 20 растворенных газов из-за уменьшении растворимости в связи с понижением температуры масла в линии 24 (чем меньше расход масла через охладитель 20, тем дольше пребывание масла в этом теплообменнике и тем дольше оно подвергается охлаждающему воздействию со стороны воды 36).
При набросе нагрузки (например, от нуля до полной) теплоподвод в масло увеличивается. Это приводит к повышению температуры смазки и большему изменению терморегулятором 21 в противофазе проходных сечений линий 24 и 25. Одновременно происходит форсированное увеличение частоты вращения вентилятора 49 за счет использования упреждающего сигнала по нагрузке по каналу 55, что исключает заброс (перерегулирование) температуры масла в переходном процессе. При установившейся нагрузке температура масла стабилизируется на уровне, не превышающем значения 358 К (фиг.11) за счет наличия запаса по теплорассеивающей способности радиатора 47.
При сбросе нагрузки подсистема регулирования температуры 17 функционирует в обратной последовательности. При этом в результате работы трехходового крана 23 терморегулятора 21 и согласованного уменьшения частоты вращения вентилятора 51 исключается переохлаждение масла при переводе двигателя 4 с режима работы под нагрузкой на режим холостого хода. Температура масла стабилизируется в окрестности настройки датчика 22, несколько превышая эту настройку.
Согласно фиг.11 максимальная величина статической неравномерности регулирования определяется разностью температуры, соответствующей максимальной команде датчика 22 терморегулятора 21, и температуры, соответствующей началу подачи команды этим датчиком (то есть, настройке этого датчика). Для указанных на фиг.11 настройки датчика 22 и значения температуры масла, при котором датчик 22 выдает максимальный сигнал, наибольшая статическая неравномерность регулирования составляет 10 К(358К-348 К=10 К). Поскольку теплорассеивающая способность радиатора 47 и максимальная частота вращения вентилятора 49 выбраны такими, чтобы обеспечивать теплоотвод от масла при полной нагрузке дизеля 4, не достигая момента полного открытия линии 24 и, соответственно, полного закрытия линии 25 терморегулятором 21, то это означает наличие запаса по охлаждающей способности радиатора 47. По этой причине фактическая статическая неравномерность регулирования будет меньше, чем 10 К, и определится как разность температуры максимальной частоты вращения вентилятора (353 К) и температуры, соответствующей началу подачи команды датчика 22 (348 К):353 К – 348 К=5 К. Таким образом, подсистема регулирования температуры масла 17 в составе системы смазки, изображенной на фиг.11, осуществляет регулирование температуры масла с неотрицательной статической неравномерностью 5 К, при которой растворимость газов в масле находится в окрестности своего минимального значения (фиг.3 и 4).
В ходе патентных исследований не было обнаружено устройство с предлагаемыми отличительными признаками, обеспечивающее достижение указанного технического результата.
Формула изобретения
1. Система смазки теплового двигателя, содержащая емкость для хранения масла со свободной его поверхностью, масляный насос с приводом от теплового двигателя, а также с входом, сообщенным через первое соединительное устройство с емкостью, и выходом, полнопоточный самоочищающийся фильтр с входом, сообщенным через второе соединительное устройство с выходом масляного насоса, и выходом, сообщенным через третье соединительное устройство с входом теплового двигателя для масла, причем тепловой двигатель выполнен с возможностью его использования при переменной частоте вращения вала привода масляного насоса и с возможностью вентиляции пространства над свободной поверхностью масла в емкости для хранения масла, второе или третье соединительное устройство содержит подсистему регулирования температуры масла с входом и выходом для масла, а полнопоточный самоочищающийся фильтр выполнен с возможностью регенерации фильтровальной перегородки с помощью механизма ее самоочистки последовательно отдельными промываемыми участками и отвода масла потока самоочистки через четвертое соединительное устройство в указанную емкость, отличающаяся тем, что подсистема регулирования температуры масла выполнена с возможностью регулирования со статической неравномерностью не менее минус 10К и не более 20К, а полнопоточный самоочищающийся фильтр выполнен с возможностью увеличивать или уменьшать с помощью механизма самоочистки частоту смены промываемых участков фильтровальной перегородки в зависимости от увеличения или уменьшения расхода масла и/или давления в системе смазки соответственно.
2. Система по п.1, отличающаяся тем, что каждое из соединительных устройств выполнено, по меньшей мере, из одного элемента гидравлических сетей или элемента трубопроводов и/или соединительных каналов, либо элемента трубопроводной арматуры.
3. Система по п.2, отличающаяся тем, что первое соединительное устройство содержит всасывающий фильтр, второе соединительное устройство содержит полнопоточный несамоочищающийся фильтр с большей абсолютной тонкостью фильтрации, чем абсолютная тонкость фильтрации полнопоточного самоочищающегося фильтра, четвертое соединительное устройство содержит центробежный очиститель с реактивным и/или электрическим приводом ротора, подсистема регулирования температуры масла содержит охладитель масла и терморегулятор с датчиком температуры, имеющим настройку, и исполнительным устройством в виде трехходового крана, масляные полости охладителя и крана соединены между собой одним из известных способов для регулирования температуры масла методом перепуска с образованием линии охладителя и линии перепуска, а терморегулятор выполнен с возможностью изменять в противофазе с помощью трехходового крана проходные сечения этих линий при превышении температурой масла значения настройки датчика температуры.
4. Система по п.3, отличающаяся тем, что второе соединительное устройство выполнено в виде несамоочищающегося фильтра с входом, сообщенным с выходом масляного насоса, и выходом, сообщенным с входом самоочищающегося фильтра, а третье соединительное устройство выполнено в виде подсистемы регулирования температуры масла с входом, сообщенным с выходом самоочищающегося фильтра, и выходом, сообщенным с входом теплового двигателя для масла.
5. Система по п.3, отличающаяся тем, что второе соединительное устройство содержит несамоочищающийся фильтр с входом, сообщенным с выходом масляного насоса, и выходом, а также подсистему регулирования температуры с входом, сообщенным с выходом несамоочищающегося фильтра, и выходом, сообщенным с входом самоочищающегося фильтра, а третье соединительное устройство выполнено в виде трубопровода или канала.
6. Система по п.3, отличающаяся тем, что второе соединительное устройство содержит подсистему регулирования температуры масла с входом, сообщенным с выходом масляного насоса, и выходом, а также несамоочищающийся фильтр с входом, сообщенным с выходом подсистемы регулирования температуры, и выходом, сообщенным с входом самоочищающегося фильтра, а третье соединительное устройство выполнено в виде трубопровода или канала.
7. Система по п.3, отличающаяся тем, что второе соединительное устройство содержит несамоочищающийся фильтр с входом, сообщенным с выходом масляного насоса, и выходом, подсистему регулирования температуры с входом, сообщенным с выходом несамоочищающегося фильтра, и выходом, а также дополнительный масляный насос с входом, сообщенным, по меньшей мере, с выходом подсистемы регулирования температуры, и выходом, сообщенным с входом самоочищающегося фильтра, причем дополнительный масляный насос выполнен с меньшей производительностью, чем масляный насос, а третье соединительное устройство выполнено в виде трубопровода или канала.
8. Система по п.3, отличающаяся тем, что емкость для хранения масла выполнена в виде отсека для охлажденного масла и сообщенного с ним отсека для неохлажденного масла после теплового двигателя, второе соединительное устройство содержит подсистему регулирования температуры масла с входом, сообщенным с выходом масляного насоса, и выходом, сообщенным с отсеком охлажденного масла, дополнительный масляный насос с входом, сообщенным с отсеком для охлажденного масла, и выходом, несамоочищающийся фильтр с входом, сообщенным с выходом дополнительного масляного насоса, и выходом, сообщенным с входом самоочищающегося фильтра, причем дополнительный масляный насос выполнен с меньшей производительностью, чем масляный насос, а третье соединительное устройство выполнено в виде трубопровода или канала.
9. Система по п.3, отличающаяся тем, что охладитель масла выполнен в виде водомасляного охладителя, а подсистема регулирования температуры масла выполнена с возможностью регулирования температуры охлаждающей масло воды.
10. Система по п.9, отличающаяся тем, что подсистема регулирования температуры масла содержит водовоздушный радиатор с жалюзи и воздушным вентилятором и выполнена с возможностью управления открытием и закрытием жалюзи, а также управления частотой вращения вентилятора.
11. Система по п.10, отличающаяся тем, что подсистема регулирования температуры масла выполнена с отрицательной обратной связью по температуре масла и/или по температуре охлаждающей масло воды.
12. Система по п.11, отличающаяся тем, что подсистема регулирования температуры масла выполнена с возможностью использования упреждающего сигнала по нагрузке теплового двигателя в виде давления воздуха перед камерой сгорания и/или давления воды в системе охлаждения теплового двигателя, причем тепловой двигатель выполнен с нагнетателем воздуха перед камерой сгорания.
13. Система по любому из пп.1-12, отличающаяся тем, что подсистема регулирования температуры масла выполнена в виде аналогового регулятора.
14. Система по п.13, отличающаяся тем, что подсистема регулирования температуры масла выполнена с возможностью управления открытием и закрытием жалюзи и началом включения вентилятора при температуре масла не выше значения, соответствующего настройке датчика температуры в терморегуляторе.
15. Система по п.14, отличающаяся тем, что водомасляный охладитель выполнен с возможностью разделения охлаждаемого потока масла на отдельные охлаждаемые струи и возможностью дискретно-импульсного ввода энергии известным методом в каждую охлаждаемую струю.
16. Система по п.15, отличающаяся тем, что водомасляный охладитель выполнен с возможностью придания ленточной формы каждой охлаждаемой струе.
17. Система по п.16, отличающаяся тем, что водомасляный охладитель выполнен в виде пластинчато-ребристого или пластинчатого охладителя.
18. Система по п.3, отличающаяся тем, что четвертое соединительное устройство выполнено с возможностью питания центробежного очистителя потоком самоочистки с давлением, превышающим давление масла в самоочищающемся фильтре.
19. Система по п.4, или 6, или 8, отличающаяся тем, что несамоочищающийся и самоочищающийся фильтры выполнены в виде единого модуля.
РИСУНКИ
|
|