|
|
(21), (22) Заявка: 2002126218/03, 02.03.2001
(24) Дата начала отсчета срока действия патента:
02.03.2001
(30) Конвенционный приоритет:
02.03.2000 US 60/186,381
(43) Дата публикации заявки: 20.02.2004
(45) Опубликовано: 20.08.2005
(56) Список документов, цитированных в отчете о поиске:
US 4681164 A, 21.07.1987. SU 883509 A, 23.11.1981. SU 1810488 A1, 23.04.1993. RU 2066365 C1, 10.09.1996. SU 1222821 A1, 07.04.1986. SU 1340805 A1, 30.09.1987. RU 2143545 C1, 27.12.1999. RU 2133336 C1, 20.07.1999. US 4068717 A, 17.01.1978. US 5246860 A, 21.09.1993. US 3589442 A, 29.06.1971. US 4716967 A, 05.01.1988.
(85) Дата перевода заявки PCT на национальную фазу:
02.10.2002
(86) Заявка PCT:
US 01/06951 (02.03.2001)
(87) Публикация PCT:
WO 01/65055 (07.09.2001)
Адрес для переписки:
129010, Москва, ул. Б.Спасская, 25, стр.3, ООО “Юридическая фирма Городисский и Партнеры”, пат.пов. С.А.Дорофееву
|
(72) Автор(ы):
СТЕДЖЕМЕЙЕР Джордж Лео (US), ВАЙНГАР Харолд Дж. (US), БЕРНЕТТ Роберт Рекс (US), СЕВЕДЖ Вилльям Маунтджой (US), КАРЛ Фредерик Гордон мл (US), ХЕРШ Джон Мишель (US)
(73) Патентообладатель(и):
ШЕЛЛ ИНТЕРНЭШНЛ РИСЕРЧ МААТСХАППИЙ Б.В. (NL)
|
(54) СИСТЕМА ДЛЯ НАГНЕТАНИЯ ХИМИЧЕСКИХ РЕАГЕНТОВ В СКВАЖИНУ, НЕФТЯНАЯ СКВАЖИНА ДЛЯ ДОБЫЧИ НЕФТЕПРОДУКТОВ (ВАРИАНТЫ) И СПОСОБ УПРАВЛЕНИЯ НЕФТЯНОЙ СКВАЖИНОЙ
(57) Реферат:
Изобретение относится к нефтяной промышленности и предназначено для контроля и/или улучшения потока флюида во время добычи нефти. Техническим результатом изобретения является увеличение нефтеотдачи за счет контроля характеристик потока на различных участках буровой скважины. Для этого нефтяная скважина содержит обсадную колонну, эксплуатационную насосно-компрессорную колонну, источник электрического тока, изменяющегося во времени, скважинная система для нагнетания химических реагентов (ХР) и скважинный индукционный дроссель (ИД). Обсадная колонна проходит в стволе буровой скважины. Насосно-компрессорная колонна проходит внутри обсадной колонны. Источник электрического тока расположен на поверхности и электрически подсоединен и адаптирован для подачи электрического тока, изменяющегося во времени, в насосно-компрессорную колонну и/или обсадную колонну, которые действуют как электрические проводники для обеспечения скважинного питания и/или связи. Устройство для нагнетания ХР содержит модуль связи и управления, контейнер с ХР и впрыскиватель ХР с электрическим управлением. Модуль связи управления электрически подсоединен к насосно-компрессорной колонне и/или обсадной колонне. Впрыскиватель ХР электрически подсоединен к модулю связи и управления и сообщен с контейнером ХР. Скважинный ИД расположен вокруг части насосно-компрессорной колонны и/или обсадной колонны. Модуль связи и управления электрически подсоединен параллельно к напряжению. Кроме того, предложен способ управления нефтяной скважиной, основанный на передаче переменного электрического тока по трубопроводной системе с помощью ИД для питания и связи со скважинной системой для нагнетания ХР в скважинный поток с возможностью управления нагнетанием в ответ на сигнал переменного электрического тока во время добычи. При этом повышается эффективность подъема с помощью вспенивающего агента, обеспечивается предотвращение осаждения твердых частиц с помощью парафинового растворителя, улучшение характеристик потока с помощью поверхностно-активного вещества, предотвращение коррозии с помощью веществ, замедляющих коррозию, и/или предотвращение образования отложений с помощью веществ, предотвращающих образование отложений. 4 н. и 37 з.п. ф-лы, 9 ил. 
Настоящее изобретение относится к нефтяной скважине для добычи нефтепродуктов. В одном аспекте настоящее изобретение относится к системам и способам для контроля и/или улучшения потока текучей среды во время добычи нефти путем управляемого нагнетания химических реагентов в, по меньшей мере, один поток текучей среды с помощью, по меньшей мере, одной скважинной системы с электрическим управлением для нагнетания химических реагентов скважины.
Управляемое нагнетание веществ в нефтяные (т.е. содержащие нефть и газ) скважины является устоявшейся практикой, которая часто используется для увеличения нефтеотдачи или для анализа режима эксплуатации скважины.
Необходимо различать виды нагнетания в зависимости от количества нагнетаемых веществ. Большие объемы нагнетаемых веществ нагнетают в пласты для обеспечения перемещения пластовых текучих сред по направлению к эксплуатационной скважине. Наиболее характерным примером является заводнение.
Вещества обычно вводят в буровую скважину в местоположение скважины, чтобы произвести обработку внутри буровой скважины. Примеры такой обработки включают следующее:
(1) вспенивающие агенты для повышения эффективности насосно-компрессорной добычи, (2) парафиновые растворители для предотвращения осаждения твердых частиц на насосно-компрессорную колонну, и (3) поверхностно-активные вещества для улучшения характеристик потока добываемых текучих сред. Эти виды обработки приводят к модификации самих текучих сред буровой скважины. Поэтому использовать их необходимо в меньших количествах, и, кроме того, все эти виды нагнетания обычно выполняют с помощью дополнительной трубы, которую направляют с поверхности в скважину.
Однако для других применений требуются даже меньшие количества нагнетаемых веществ, таких как: (1) замедлители коррозии для предотвращения или уменьшения коррозии оборудования буровой скважины, (2) очистители отложений для предотвращения или уменьшения образования осадков в оборудовании буровой скважины, и (3) химические реагенты индикатора для контроля характеристик потока на различных участках буровой скважины. В этих случаях необходимые количества нагнетаемых веществ являются достаточно малыми, поэтому их можно подавать из скважинного продуктивного пласта, что позволяет избежать необходимости подачи этих веществ через насосно-компрессорную трубу в скважину с поверхности. Однако для успешного применения этих методов требуется управляемое нагнетание.
В патентах США №№4681164, 5246860, 4068717 описано управляемое нагнетание веществ, таких как вода, вспенивающие агенты, парафиновые растворители, поверхностно-активные вещества, замедлители коррозии, вещества, предотвращающие образование отложений, и химические реагенты индикатора, для контроля характеристик потока.
Все ссылки, представленные здесь, содержат в себе ссылку на максимальный объем изобретения, разрешенный законом. Ссылка на объем изобретения может содержаться здесь не полностью, и она содержит в себе ссылку для второстепенных целей и показывает знания специалистов.
Целью настоящего изобретения является устранение вышеуказанных недостатков известных решений.
В соответствии с настоящим изобретением создана система для нагнетания химических реагентов в скважину, содержащая устройство полного сопротивления по току, предназначенное для размещения вокруг части трубопроводной системы скважины для подачи электрического сигнала, изменяющегося во времени и передаваемого через и вдоль трубопроводной системы, и устройство с электрическим управлением для нагнетания химических реагентов, адаптированное для электрического подсоединения к трубопроводной системе, для подачи питания с помощью электрического сигнала и для вывода химических реагентов в ответ на электрический сигнал.
Трубопроводная система может содержать, по меньшей мере, часть эксплуатационной насосно-компрессорной колонны скважины или, по меньшей мере, часть обсадной колонны скважины.
Устройство для нагнетания химических реагентов может содержать электродвигатель и модуль связи и управления, причем электродвигатель электрически подсоединен к модулю связи и управления и адаптирован для управления с помощью этого модуля.
Устройство для нагнетания химических реагентов может содержать клапан с электрическим управлением и модуль связи и управления, причем клапан с электрическим управлением электрически подсоединен к модулю связи и управления и адаптирован для управления с помощью этого модуля.
Устройство для нагнетания химических реагентов может содержать резервуар для хранения химических реагентов и впрыскиватель химических реагентов, причем резервуар для хранения химических реагентов сообщен с впрыскивателем химических реагентов, и впрыскиватель химических реагентов адаптирован для вывода химических реагентов из резервуара для хранения химических реагентов в ответ на электрический сигнал.
Электрический сигнал может являться сигналом питания, сигналом связи или сигналом управления, посылаемым из поверхностной компьютерной системы.
Согласно изобретению создана нефтяная скважина для добычи нефтепродуктов, содержащая трубопроводную систему, размещенную в стволе скважины, источник электрического тока, изменяющегося во времени, электрически подсоединенный к трубопроводной системе, индукционный дроссель, расположенный вокруг части трубопроводной системы, устройство с электрическим управлением для нагнетания химических реагентов, связанное с трубопроводной системой для приема питания и сигналов связи через электрический ток, изменяющийся во времени, и приспособленное для впрыскивания химических реагентов.
Индукционный дроссель может быть неподключенным к электропитанию и может содержать ферромагнитный материал для обеспечения функционирования индукционного дросселя с учетом своего размера, геометрии, пространственных соотношений с трубопроводной системой и магнитных свойств.
Трубопроводная система может содержать, по меньшей мере, часть эксплуатационной насосно-компрессорной колонны, и цепь обратного тока содержит по меньшей мере часть обсадной колонны скважины.
Трубопроводная система может содержать, по меньшей мере, часть обсадной колонны скважины.
Устройство для нагнетания химических реагентов может содержать клапан с электрическим управлением или электродвигатель, или модем, или датчик.
Устройство для нагнетания химических реагентов может содержать резервуар для хранения химических реагентов. Резервуар для хранения химических реагентов может быть приспособлен для впрыскивания химических реагентов в трубопроводную систему.
Согласно изобретению создана нефтяная скважина для добычи нефтепродуктов, содержащая обсадную колонну, проходящую в стволе скважины, эксплуатационную насосно-компрессорную колонну, проходящую в обсадной колонне, источник электрического тока, изменяющегося во времени, расположенный на поверхности, электрически подсоединенный и адаптированный для вывода электрического тока, изменяющегося во времени, в, по меньшей мере, насосно-компрессорную колонну или обсадную колонну, и скважинное устройство для нагнетания химических реагентов, содержащее модуль связи и управления, контейнер с химическим реагентом и впрыскиватель химических реагентов с электрическим управлением, при этом модуль связи и управления электрически подсоединен к, по меньшей мере, насосно-компрессорной колонне или обсадной колонне для приема оттуда электрического тока, изменяющегося во времени, впрыскиватель химических реагентов электрически подсоединен к модулю связи и управления, и контейнер с химическим реагентом сообщен с впрыскивателем химических реагентов.
Впрыскиватель химических реагентов может содержать электродвигатель, винтовой механизм и сопло, причем электродвигатель электрически соединен с модулем связи и управления, винтовой механизм механически связан с электродвигателем, а сопло проходит в насосно-компрессорную колонну и обеспечивает проход для текучей среды между контейнером с химическим реагентом и внутренней частью насосно-компрессорной колонны, и винтовой механизм приспособлен для вытеснения текучей среды из контейнера с химическим реагентом в насосно-компрессорную колонну через сопло в ответ на вращательное движение электродвигателя.
Впрыскиватель химических реагентов может содержать газовый баллон, заполненный газом под давлением, регулятор давления, клапан с электрическим управлением и сопло, при этом внутренняя часть контейнера с химическим реагентом содержит сепаратор, образующий первый объем для содержания химических реагентов и второй объем, причем газовый баллон сообщен со вторым объемом контейнера с химическим реагентом через регулятор давления так, что газ под давлением может находиться во втором объеме и вне первого объема для оказания давления на химический реагент в первом объеме, при этом клапан с электрическим управлением электрически соединен с модулем связи и управления для получения из него питания и сигналов команд управления, и клапан с электрическим управлением адаптирован для регулировки и управления прохождением химических реагентов из первого объема через сопло и в насосно-компрессорную колонну.
Контейнер с химическим реагентом может содержать сепаратор, расположенный в нем и делящий внутреннюю часть контейнера на два объема, впрыскиватель химических реагентов содержит клапан с электрическим управлением и сопло, причем первый объем контейнера с химическим реагентом содержит химический реагент, второй объем контейнера с химическим реагентом содержит газ под давлением для оказания газом давления на химический реагент в первом объеме, при этом клапан с электрическим управлением электрически соединен с модулем связи и управления и управляется с помощью этого модуля, и первый объем сообщен с внутренней частью насосно-компрессорной колонны через клапан с электрическим управлением и через сопло.
Контейнер с химическим реагентом может содержать сепаратор, делящий внутреннюю часть контейнера с химическим реагентом на два объема, впрыскиватель химических реагентов содержит клапан с электрическим управлением и сопло, причем первый объем контейнера с химическим реагентом содержит химический реагент, а второй объем контейнера с химическим реагентом содержит пружинный элемент для воздействия на химический реагент в первом объеме, при этом клапан с электрическим управлением электрически соединен с модулем связи и управления и управляется с помощью этого модуля, и первый объем сообщен с внутренней частью насосно-компрессорной колонны через клапан с электрическим управлением и через сопло.
Контейнер с химическим реагентом может быть адаптирован для удержания в нем химического реагента под давлением, впрыскиватель химических реагентов содержит клапан с электрическим управлением и сопло, причем клапан с электрическим управлением электрически соединен с модулем связи и управления и управляется с помощью этого модуля, а сопло проходит во внутреннюю часть насосно-компрессорной колонны, при этом контейнер с химическим реагентом сообщен с внутренней частью насосно-компрессорной колонны через клапан с электрическим управлением и через сопло.
Впрыскиватель химических реагентов может содержать электродвигатель, насос, односторонний клапан и сопло, причем электродвигатель электрически подсоединен к модулю связи и управления и управляется с помощью этого модуля, насос механически связан с электродвигателем, и сопло проходит во внутреннюю часть насосно-компрессорной колонны, при этом контейнер с химическим реагентом сообщен с внутренней частью насосно-компрессорной колонны через насос, односторонний клапан и сопло.
Нефтяная скважина может дополнительно содержать трубопровод для подачи химических реагентов, проходящий с поверхности в скважинное устройство для нагнетания химических реагентов, контейнер с химическим реагентом содержит канал для прохождения текучей среды, соединяющий трубопровод для подачи химических реагентов с внутренней частью насосно-компрессорной колонны через впрыскиватель химических реагентов.
Контейнер с химическим реагентом может дополнительно содержать резервуар для хранения химических реагентов.
Контейнер с химическим реагентом может содержать автономный скважинный резервуар для текучей среды, адаптированный для подачи химического реагента для скважинного устройства для нагнетания химических реагентов.
Нефтяная скважина может содержать индукционный дроссель, неподключенный к электропитанию и содержащий ферромагнитный материал.
Контейнер с химическим реагентом может быть приспособлен для рассеивания химических реагентов в, по меньшей мере, насосно-компрессорную колонну или обсадную колонну.
Контейнер с химическим реагентом может быть приспособлен для рассеивания химических реагентов в геологической формации вне обсадной колонны.
Скважинное устройство для нагнетания химических реагентов может дополнительно содержать датчик, электрически подсоединенный к модулю связи и управления.
Модуль связи и управления может содержать модем.
Согласно изобретению создан способ управления нефтяной скважиной, оборудованной трубопроводной системой и подсоединенной к ней в местоположении скважины скважинной системой для нагнетания химических реагентов для буровой скважины, содержащий следующие этапы: передача сигнала переменного электрического тока посредством использования индукционного дросселя по трубопроводной системе для питания и связи со скважинной системой для нагнетания химических реагентов; адаптирование скважинной системы для нагнетания химических реагентов в скважину в ответ на сигнал переменного электрического тока; нагнетание химических реагентов в скважинный поток с возможностью управления нагнетанием в ответ на сигнал переменного электрического тока во время добычи.
В качестве скважины можно использовать газлифтную скважину, можно использовать химический реагент, содержащий вспенивающий агент, и дополнительно осуществлять повышение эффективности насосно-компрессорной добычи нефтепродуктов с помощью вспенивающего агента.
Можно использовать химический реагент, содержащий парафиновый растворитель, и трубопроводную систему, включающую насосно-компрессорную колонну, и дополнительно осуществлять сдерживание осаждения твердых частиц на внутренней части насосно-компрессорной колонны.
Можно использовать химический реагент, содержащий поверхностно-активное вещество, и дополнительно осуществлять улучшение характеристики протекающего потока.
Можно использовать химический реагент, содержащий замедлитель коррозии, и дополнительно осуществлять замедление коррозии в стволе скважины.
Можно использовать химический реагент, содержащий вещества, предотвращающие образование отложений, и дополнительно осуществлять уменьшение образования отложений в скважине.
Можно использовать химический реагент, содержащий состав для гидравлического разрыва пласта, и дополнительно осуществлять нагнетание этого состава в геологическую формацию, расположенную вокруг буровой скважины.
Другие цели и преимущества изобретения приведены в следующем подробном описании со ссылками на сопроводительные чертежи, на которых изображено следующее:
фиг.1 изображает схему нефтяной эксплуатационной скважины, согласно предпочтительному варианту осуществления настоящего изобретения;
фиг.2 изображает в увеличенном масштабе нижнюю часть буровой скважины, показанной на фиг.1;
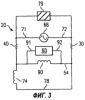
фиг.3 изображает упрощенную электрическую схему электрической цепи, образованной буровой скважиной, показанной на фиг.1;
фиг.4A-4F изображают различные схемы вариантов осуществления впрыскивателя химических реагентов и контейнера с химическим реагентом для скважинного устройства с электрическим управлением для нагнетания химических реагентов, согласно настоящему изобретению.
Ниже приводится описание предпочтительного варианта осуществления настоящего изобретения со ссылкой на чертежи, на которых одинаковые позиции обозначают одинаковые элементы на всех различных видах, и описание других возможных вариантов осуществления настоящего изобретения. Представленные фигуры не обязательно выполнены в масштабе, и в некоторых случаях чертежи увеличены и/или упрощены в определенных местах для удобства изображения. Специалисты могут оценить многие возможные применения и изменения настоящего изобретения на основании приведенных здесь примеров возможных вариантов осуществления настоящего изобретения, а также на основании тех вариантов осуществления, изображенных и обсужденных в родственных заявках, которые включены здесь в качестве ссылки в максимальной степени, разрешенной законом.
Термин “трубопроводная система”, используемый в настоящей заявке, может представлять собой одну единственную трубу, насосно-компрессорную колонну, обсадную колонну буровой скважины, насосную штангу, ряд взаимосвязанных труб, буровые штанги, фермы, решетки сквозной фермы, опоры, отводные или боковые удлинители скважины, сеть соединенных между собой труб или других подобных систем, известных специалистам. В предпочтительном варианте осуществления изобретение используется трубопроводная система, размещенная в стволе скважины, содержит трубчатую, металлическую, электропроводную трубу или насосно-компрессорную колонну, но изобретение не ограничено этим. Для настоящего изобретения, по меньшей мере, часть трубопроводной системы должна быть электропроводной, при этом такая электропроводная часть может представлять собой в целом трубопроводную систему (например, стальные трубы, медные трубы) или проходящую в продольном направлении электропроводную часть, объединенную с проходящей в продольном направлении неэлектропроводной частью. Другими словами, электропроводная трубопроводная система представляет собой систему, которая обеспечивает путь электрического тока от первой части, при этом источник питания электрически подсоединен ко второй части, где устройство и/или цепь обратного тока электрически подсоединена. Трубопроводная система обычно представляет собой известную круглую металлическую насосно-компрессорную колонну, но геометрия поперечного сечения трубопроводной системы или любой ее части может изменяться по форме (например, круглая, прямоугольная, квадратная, овальная) и по размеру (например, длина, диаметр, толщина стенки) вдоль любой части трубопроводной системы. Следовательно, трубопроводная система должна иметь электропроводную часть, проходящую от первой части трубопроводной системы до второй части трубопроводной системы, в которой первая часть расположена отдельно от второй части вдоль трубопроводной системы.
Термины “первая часть” и “вторая часть”, которые используются здесь, означают, в общем, часть, секцию или область трубопроводной системы, которая может проходить или не проходить вдоль трубопроводной системы, которая может быть расположена в любом выбранном месте вдоль трубопроводной системы, и которая может охватывать или не охватывать наиболее близкие концы трубопроводной системы.
Термин “модем” используется здесь, в общем, для ссылки на любое устройство связи для передачи и/или приема электрических сигналов связи через электрический проводник (например, металл). Следовательно, термин “модем”, который используется здесь, не ограничен акронимом для модулятора (устройства, которое преобразовывает голос или сигнал данных к виду, пригодному для передачи)/демодулятора (устройства, которое восстанавливает первоначальный сигнал, которым была промодулирована высокочастотная несущая). Кроме того, термин “модем”, который используется здесь, не ограничен известными компьютерными модемами, которые преобразовывают цифровые сигналы в аналоговые сигналы и наоборот (например, для передачи цифровых информационных сигналов по аналоговой коммутируемой телефонной сети общего пользования). Например, если датчик выдает данные измерений в аналоговой форме, то такие измерения необходимо только модулировать (например, с использованием модуляции с расширением спектра) и передавать, и, следовательно, не нужно выполнять аналого-цифрового преобразования. В качестве другого примера, релейный/подчиненный модем или устройство связи могут только идентифицировать, фильтровать, усиливать и/или ретранслировать принимаемый сигнал.
Термин “клапан”, который используется здесь, относится к любому устройству, которое выполняет функции регулировки потока текучей среды. Примеры клапанов включают, но не ограничивают сильфонные газлифтные клапаны и управляемые газлифтные клапаны, каждый из которых можно использовать для регулировки потока транспортирующего газа в колонну насосно-компрессорных труб буровой скважины. Внутренняя работа клапанов может в значительной степени отличаться, и в настоящей заявке не ограничиваются клапанами, описанными с любой конкретной конфигурацией, до тех пор, пока клапан выполняет функции регулировки потока текучей среды. Некоторые из различных типов механизмов регулировки потока включают, но не ограничивают конфигурации шарового клапана, конфигурации игольчатого клапана, конфигурации запорного клапана и конфигурации клетевого клапана. Способы установки клапанов, обсужденных в настоящей заявке, могут изменяться в широких пределах.
Термин “клапан с электрическим управлением”, который используется здесь, обычно относится к “клапану” (как описано выше), который можно открывать, закрывать, регулировать, изменять или дросселировать непрерывно в ответ на электрический сигнал управления (например, сигнал из поверхностного компьютера или из скважинного модуля электронного контроллера). Механизм, который фактически изменяет состояние клапана, может содержать, но не ограничивать электродвигатель, электрический серводвигатель, электрический соленоид, электрический переключатель, гидравлический привод, управляемый, по меньшей мере, одним электрическим серводвигателем, электродвигателем, электрическим переключателем, электрическим соленоидом или их комбинациями, пневматический привод, управляемый, по меньшей мере, одним электрическим серводвигателем, электродвигателем, электрическим переключателем, электрическим соленоидом или их комбинациями, или устройство с отклоняемой пружиной в комбинации с, по меньшей мере, одним электрическим серводвигателем, электродвигателем, электрическим переключателем, электрическим соленоидом или их комбинациями. “Клапан с электрическим управлением” может включать или не включать датчик положения с обратной связью для подачи сигнала обратной связи, соответствующего фактическому положению клапана.
Термин “датчик”, который используется здесь, относится к любому устройству, который обнаруживает, определяет, контролирует, записывает или, другими словами, регистрирует абсолютное значение или изменение значения физической величины. Датчик, как описано здесь, можно использовать для измерения значений таких физических величин, но не ограничено этим, как температура, давление (абсолютное и дифференциальное), скорость потока, сейсмические данные, акустические данные, уровень рН, уровни солености, положения клапана или практически любые другие физические данные.
Термин “беспроводный”, который используется в настоящей заявке, означает отсутствие известного, изолированного электрического провода, например, проходящего из скважинного устройства на поверхность. Использование насосно-компрессорной колонны и/или обсадной колонны в качестве проводника рассматривается как “беспроводным”.
Фраза “на поверхности”, которая используется здесь, относится к местоположению, которое проходит от поверхности земли на глубину приблизительно пятидесяти и более футов. Другими словами, фраза “на поверхности” не обязательно означает расположение на уровне поверхности земли, а используется здесь в более широком смысле для обозначения местоположения, которое является обычно легкодоступным или удобным в устье скважины, где могут работать люди. Например, “на поверхности” может означать на столе в рабочей мастерской, которая расположена на поверхности земли на платформе буровой скважины, на дне океана или озера, на глубоководной платформе нефтяной вышки или на 100-м этаже здания. Кроме того, термин “поверхность” может использоваться здесь как прилагательное для определения местоположения элемента или области, которая расположена “на поверхности”. Например, фраза “поверхностный” компьютер, которая используется здесь, означает компьютер, расположенный “на поверхности”.
Термин “скважинный”, который используется здесь, относится к местоположению или положению на глубине около пятидесяти футов или ниже от поверхности земли. Другими словами, термин “скважинный”, широко используемый здесь, относится к местоположению, которое обычно трудно или неудобно достигнуть из устья скважины, где могут работать люди. Например, в нефтяной скважине, “скважинное” местоположение находится часто в или рядом с подземной нефтяной эксплуатационной зоной, независимо от того, является ли эксплуатационная зона доступной вертикально, горизонтально, сбоку или под любым другим углом между ними. Кроме того, термин “скважинный” используется здесь как прилагательное, описывающее местоположение элемента или области. Например, “скважинное” устройство в буровой скважине означает, что устройство расположено “в скважине”, а не “на поверхности”.
Аналогично, в соответствии с известной терминологией, употребляемой в практике нефтяного промысла, определения “верхний”, “нижний”, “вверх по стволу скважины” и “скважинный” являются относительными и касаются расстояния, измеренного вдоль ствола скважины вглубь от поверхности земли, которое в наклонных или горизонтальных скважинах может или нет совпадать с вертикальной проекцией, измеренной по отношению к данным наблюдений.
На фиг.1 изображена схема, показывающая нефтяную эксплуатационную скважину 20, согласно предпочтительному варианту осуществления настоящего изобретения. Буровая скважина 20 имеет вертикальную секцию 22 и боковую секцию 26. Буровая скважина имеет обсадную колонну 30 буровой скважины, проходящую в стволах скважины и через геологическую формацию 32, и эксплуатационная насосно-компрессорная колонна 40 проходит в обсадной колонне буровой скважины для транспортировки текучих сред во время добычи из скважины на поверхность. Следовательно, нефтяная эксплуатационная скважина 20, показанная на фиг.1, подобна известной буровой скважине по конструкции, но с учетом настоящего изобретения.
Вертикальная секция 22 в настоящем варианте осуществления включает газлифтный клапан 42 и верхний пакер 44 для обеспечения искусственного подъема текучих сред по насосно-компрессорной колонне 40. Однако альтернативные варианты осуществления могут включать и другие способы обеспечения искусственного подъема текучих сред для образования других возможных вариантов осуществления (например, эксплуатация скважин штанговым насосом). Кроме того, вертикальная часть 22 может в дальнейшем измениться для образования многих других возможных вариантов осуществления. Например, в общем виде вертикальная часть 22 может включать один или несколько газлифтных клапанов с электрическим управлением, один или несколько дополнительных индукционных дросселей и/или один или несколько управляемых пакеров, содержащих пакерные клапаны с электрическим управлением, как дополнительно описано в родственных заявках.
Боковая секция 26 буровой скважины 20 проходит через нефтяную эксплуатационную зону 48 (например, нефтеносная зона) геологической формации 32. Обсадную колонну 30 в боковой секции 26 перфорируют для обеспечения протекания текучих сред из эксплуатационной зоны 48 в обсадную колонну. На фиг.1 показана только одна боковая секция 26, но в ней может быть много боковых ответвлений буровой скважины 20. Конфигурация буровой скважины обычно зависит, по меньшей мере, частично от расположения эксплуатационных зон для данной геологической формации.
Часть насосно-компрессорной колонны 40 проходит в боковую секцию 26 и завершается закрытым концом 52 за эксплуатационной зоной 48. Положение конца 52 насосно-компрессорной колонны в обсадной колонне 30 поддерживается боковым пакером 54, который является известным пакером. Насосно-компрессорная колонна 40 имеет перфорированную секцию 56 для забора текучей среды из эксплуатационной зоны 48. В других вариантах осуществления (не показано), насосно-компрессорная колонна 40 может проходить за пределы эксплуатационной зоны 48 (например, в другие эксплуатационные зоны), или насосно-компрессорная колонна 40 может завершаться открытым концом для притока текучей среды.
Скважинное устройство 60 с электрическим управлением для нагнетания химических реагентов соединено последовательно с насосно-компрессорной колонной 40 внутри боковой секции 26 (вверх по течению) эксплуатационной зоны 48 и образует часть сборки эксплуатационной насосно-компрессорной колонны. В альтернативном варианте, устройство 60 для нагнетания можно разместить дальше вверх по течению внутри боковой секции 26. Преимуществом размещения устройства 60 для нагнетания рядом с заборником 56 насосно-компрессорной колонны в эксплуатационной зоне 48 является то, что желательное местоположение для нагнетания индикатора (для контроля потока в насосно-компрессорной колонне в этой эксплуатационной зоне) или для нагнетания вспенивающего агента (для повышения производительности газлифта). В других возможных вариантах осуществления, устройство 60 для нагнетания можно адаптировать для управляемого нагнетания химического реагента или вещества в местоположение вне насосно-компрессорной колонны 40 (например, непосредственно в эксплуатационной зоне 48 или в кольцевом пространстве 62 внутри обсадной колонны 30). Кроме того, скважинное устройство 60 с электрическим управлением для нагнетания химических реагентов можно разместить, при необходимости, в любом скважинном местоположении внутри буровой скважины.
Электрическая цепь образуется с использованием различных элементов буровой скважины 20. Питание для электрических элементов устройства 60 для нагнетания подается с поверхности с использованием насосно-компрессорной колонны 40 и обсадной колонны 30 в качестве электрических проводников. Следовательно, в предпочтительном варианте осуществления, насосно-компрессорная колонна 40 действует как трубопроводная система, и обсадная колонна 30 действует как цепь обратного тока для образования электрической цепи в буровой скважине 20. Кроме того, насосно-компрессорная колонна 40 и обсадная колонна 30 используются в качестве электрических проводников для сигналов связи между поверхностью (например, поверхностной компьютерной системой) и скважинными электрическими элементами внутри скважинного устройства 60 с электрическим управлением для нагнетания химических реагентов.
На фиг.1 поверхностная компьютерная система 64 содержит главный модем 66 и источник 68 тока, изменяющегося во времени. Однако, как будет ясно специалистам, поверхностное оборудование может изменяться. Первый вывод 71 компьютера поверхностной компьютерной системы 64 электрически подсоединен к насосно-компрессорной колонне 40 на поверхности, и обеспечивает передачу электрического тока, изменяющегося во времени, в насосно-компрессорную колонну 40, когда необходимо питание и/или связь со скважинными устройствами. Источник 68 электрического тока обеспечивает подачу электрического тока, который несет в себе питание и сигналы связи в скважине. Электрический ток, изменяющийся во времени, предпочтительно является переменным током, но он может быть также и изменяющимся во времени постоянным током. Сигналы связи можно вырабатывать с помощью главного модема 66 и передавать с помощью тока, произведенного источником 68. Сигнал связи, предпочтительно, является сигналом с расширенным спектром, но в альтернативе можно использовать и другие формы модуляции или предыскажения.
Первый индукционный дроссель 74 расположен вокруг насосно-компрессорной колонны в вертикальной секции 22 ниже местоположения, где боковая секция 26 проходит от вертикальной секции. Второй индукционный дроссель 90 расположен вокруг насосно-компрессорной колонны 40 внутри боковой секции 26 рядом с устройством 60 для нагнетания. Индукционные дроссели 74, 90 содержат ферромагнитный материал и не подключены к питанию. Так как дроссели 74, 90 расположены вокруг насосно-компрессорной колонны 40, каждый из них действует как большая катушка индуктивности для переменного тока в цепи буровой скважины, образованной с помощью насосно-компрессорной колонны 40 и обсадной колонны 30. Как описано подробно в родственных заявках, работа дросселей 74, 90 зависит от их размера (массы), геометрической конфигурации и магнитных свойств.
Изолирующая соединительная муфта 76 для насосно-компрессорных труб расположена в устье скважины, обеспечивая электрическую изоляцию насосно-компрессорной колонны 40 от обсадной колонны 30. Первый вывод 71 компьютера из источника 68 тока проходит через изолирующую прокладку 77 в подвеске 88 и электрически подсоединен к насосно-компрессорной колонне 40 ниже изолирующей соединительной муфты 76 для насосно-компрессорных труб. Второй вывод 72 компьютера поверхностной компьютерной системы 64 электрически подсоединен к обсадной колонне 30 на поверхности. Таким образом, изоляторы 79 соединительной муфты 76 для насосно-компрессорных труб предотвращают короткое замыкание между насосно-компрессорной колонной 40 и обсадной колонной 30 на поверхности. В альтернативе к или в дополнение к изолирующей соединительной муфте 76 для насосно-компрессорных труб, третий индукционный дроссель (не показан) можно разместить вокруг насосно-компрессорной колонны 40 выше местоположения электрического соединения для первого вывода 71 компьютера с насосно-компрессорной колонной, и/или подвеска 88 может представлять собой подвесной изолятор (не показан), имеющий изоляторы для электрической изоляции насосно-компрессорной колонны 40 от обсадной колонны 30.
Боковой пакер 54 на конце 52 насосно-компрессорной колонны внутри боковой секции 26 обеспечивает электрическое соединение между насосно-компрессорной колонной 40 и обсадной колонной 30 в скважине за вторым дросселем 90. Нижний пакер 78 в вертикальной секции 22, который является также известным пакером, обеспечивает электрическое соединение между насосно-компрессорной колонной 40 и обсадной колонной 30 в скважине ниже первого индукционного дросселя 74. Верхний пакер 44 вертикальной секции 22 имеет электрический изолятор 79 для того, чтобы предотвратить короткое замыкание между насосно-компрессорной колонной 40 и обсадной колонной 30 в верхнем пакере. Кроме того, различные центраторы (не показаны), имеющие электрические изоляторы для предотвращения короткого замыкания между насосно-компрессорной колонной 40 и обсадной колонной 30 можно, при необходимости, ввести по всей буровой скважине 20. Такую электрическую изоляцию верхнего 44 пакера или центратора можно достигнуть различными способами, которые известны специалистам. Верхний и нижний пакеры 44, 78 обеспечивают гидравлическую изоляцию между главным стволом скважины вертикальной секции 22 и боковым стволом скважины боковой секции 26.
На фиг.2 показана в увеличенном масштабе часть боковой секции 26 (фиг.1) с расположенным в ней скважинным устройством 60 с электрическим управлением для нагнетания химических реагентов. Устройство 60 для нагнетания содержит модуль связи и управления, контейнер 82 с химическим реагентом и впрыскиватель 84 химических реагентов. Все элементы скважинного устройства 60 с электрическим управлением для нагнетания химических реагентов, предпочтительно, содержатся вместе в одном герметичном коллекторе 86 насосно-компрессорной колонны в виде одного модуля для упрощения обработки и установки, а также для защиты элементов от воздействия окружающей среды. Однако в других вариантах осуществления настоящего изобретения, элементы скважинного устройства 60 с электрическим управлением для нагнетания химических реагентов можно разделить (то есть, отсутствует коллектор 86 насосно-компрессорной колонны) или объединены в другие комбинации. Первый вывод 91 устройства 60 для нагнетания электрически подсоединен между насосно-компрессорной колонной 40 на стороне 94 источника второго индукционного дросселя 90 и модулем 80 связи и управления. Второй вывод 92 устройства 60 для нагнетания электрически подсоединен между насосно-компрессорной колонной 40 на стороне 96 цепи обратного тока второго индукционного дросселя 90 и модулем 80 связи и управления. Хотя боковой пакер 54 обеспечивает электрическое соединение между насосно-компрессорной колонной 40 на стороне 96 цепи обратного тока второго индукционного дросселя 90 и обсадной колонной 30, при этом электрическое соединение между насосно-компрессорной колонной 40 и обсадной колонной 30 буровой скважины можно также выполнить многочисленными способами, некоторые из которых представлены в родственных заявках настоящего заявителя и включают в себя (но не ограничивают) другой пакер (известный или управляемый), проводящий центратор, проводящий флюид в кольце между насосно-компрессорной колонной и обсадной колонной буровой скважины, или любую их комбинацию.
На фиг.3 изображена упрощенная электрическая схема, иллюстрирующая электрическую цепь, образованную в буровой скважине 20 (фиг.1). В процессе работы, питание и/или сигналы связи подают в насосно-компрессорную колонну 40 на поверхности через первый вывод 71 компьютера ниже изоляционной соединительной муфты 76 для насосно-компрессорных труб. Протеканию тока, изменяющегося во времени, из насосно-компрессорной колонны 40 в обсадную колонну 30 через подвеску 88 препятствуют изоляторы 79 изоляционной соединительной муфты 76 для насосно-компрессорных труб. Однако ток, изменяющийся во времени, свободно протекает вдоль насосно-компрессорной колонны 40 до достижения индукционных дросселей 74, 90. Первый индукционный дроссель 74 имеет большую индуктивность, которая препятствует протеканию большей части тока через насосно-компрессорную колонну 40 с первым индукционным дросселем. Аналогично, второй индукционный дроссель 90 имеет большую индуктивность, которая препятствует протеканию большей части тока через насосно-компрессорную колонну 40 со вторым индукционным дросселем. Разность потенциалов возникает между насосно-компрессорной колонной 40 и обсадной колонной 30 благодаря индукционным дросселям 74, 90. Разность потенциалов также возникает между насосно-компрессорной колонной 40 на стороне 94 источника второго индукционного дросселя 90 и насосно-компрессорной колонной 40 на стороне 96 цепи обратного тока второго индукционного дросселя 90. Так как модуль 80 связи и управления электрически подсоединен параллельно напряжению, большая часть электрического тока, переданного в насосно-компрессорную колонну 40, которая не потерялась по пути, направляется через модуль 80 связи и управления, который распределяет и/или декодирует питание и/или сигналы связи для устройства 60 для нагнетания. После прохождения через устройство 60 для нагнетания, ток возвращается в поверхностную компьютерную систему 64 через боковой пакер 54 и обсадную колонну 30. Когда ток является электрическим переменным током, направление протекания тока будет меняться на обратное, и он будет проходить через буровую скважину 20 вдоль того же самого пути.
Другие альтернативные способы усовершенствования электрической цепи с использованием трубопроводной системы буровой скважины и, по меньшей мере, один индукционный дроссель описаны в родственных заявках настоящего заявителя, многие из которых можно применять совместно с настоящим изобретением для подачи питания и/или сигналов связи в скважинные устройства, подключенные к электропитанию, и формировать другие варианты осуществления настоящего изобретения.
Как показано на фиг.2, модуль 80 связи и управления содержит, по отдельности, адресуемый модем 100, схемы 102 регулирования питания, интерфейс 104 управления и интерфейс 106 датчиков. С помощью датчиков 108, расположенных внутри устройства 60 для нагнетания, производят измерения, например, скорости потока, температуры, давления или концентрации веществ индикаторов, и эти данные кодируют внутри модуля 80 связи и управления и передают с помощью модема 100 в поверхностную компьютерную систему 64. Так как модем 100 скважинного устройства 60 для нагнетания имеет индивидуальную адресацию, то можно установить более одного скважинного устройства и использовать их независимо от других.
На фиг.2 впрыскиватель 84 химических реагентов электрически подсоединен к модулю 80 связи и управления, и таким образом получает питание и/или сигналы связи из поверхностной компьютерной системы 64 через модуль 80 связи и управления. Контейнер 82 с химическим реагентом связан по каналу для прохождения флюида с впрыскивателем 84 химических реагентов. Контейнер 82 с химическим реагентом является автономным резервуаром для хранения химических реагентов, который обеспечивает хранение и подачу химических реагентов для впрыскивания в протекающий поток с помощью впрыскивателя химических реагентов. Контейнер 82 с химическим реагентом (фиг.2) не имеет трубопроводной системы, проходящей с поверхности, для подачи химических реагентов. Следовательно, размер резервуара для хранения химических реагентов может изменяться в зависимости от объема химических реагентов, необходимых для впрыскивания в буровую скважину. В действительности размер контейнера 82 с химическим реагентом может быть весьма большим, если он размещается в части буровой скважины меньшего диаметра (“крысиная дыра”). Впрыскиватель 84 химических реагентов предпочтительного варианта осуществления содержит электродвигатель 110, винтовой механизм 112 и сопло 114. Электродвигатель 110 электрически подсоединен к и принимает из модуля 80 связи и управления сигналы команд на выполнение движения. Сопло 114 простирается во внутреннюю часть 116 насосно-компрессорной колонны 40 и обеспечивает проход флюида из контейнера 82 с химическим реагентом во внутреннюю часть 116 насосно-компрессорной колонны. Винтовой механизм 112 механически связан с электродвигателем 110. Винтовой механизм 112 используется для вытеснения химических реагентов из контейнера 82 во внутреннюю часть 116 насосно-компрессорной колонны через сопло 114 в ответ на вращательное движение электродвигателя 110. Электродвигатель 110, предпочтительно, является шаговым электродвигателем, и таким образом обеспечивает впрыскивание химических реагентов с возрастающим количеством.
В процессе работы поток текучей среды из эксплуатационной зоны 48 проходит через устройство 60 для нагнетания химических реагентов, так как он течет через насосно-компрессорную колонну 40 на поверхность. Команды из поверхностной компьютерной системы 64 передают в скважину и принимают с помощью модема 100 модуля связи и управления. Команды декодируются в устройстве 60 для нагнетания и проходят из модема 100 в интерфейс 104 управления. Интерфейс 104 управления затем подает команды в электродвигатель 110 для его запуска и нагнетания определенного количества химических реагентов из контейнера 82 в поток флюида, протекающий в насосно-компрессорной колонне 40. Следовательно, устройство 60 для нагнетания вводит химические реагенты в поток флюида, протекающий в насосно-компрессорной колонне 40 в ответ на команды, подаваемые из поверхностной компьютерной системы 64 через модуль 80 связи и управления. В случае вспенивающего агента, вспенивающий агент впрыскивается в насосно-компрессорную колонну 40 с помощью устройства 60 для нагнетания химических реагентов способом, необходимым для улучшения характеристик потока и/или подъема в буровой скважине 20.
Как будет ясно специалистам, механическое и электрическое размещение и конфигурация элементов в устройстве 60 с электрическим управлением для нагнетания химических реагентов можно изменить при сохранении тех же самых выполняемых функций обеспечения электрически управляемого нагнетания химических реагентов в скважине. Например, устройство модуля 80 связи и управления может быть очень простым, как вывод соединительного провода для распределения электрических соединений из насосно-компрессорной колонны 40, или может быть очень сложным, содержащим (но не ограниченным) модем, аккумулятор, силовой трансформатор, микропроцессор, память, схему сбора данных и схему управления движением.
На фиг.4A-4G изображены некоторые возможные разновидности контейнера 82 с химическим реагентом и впрыскивателя 84 химических реагентов, который может быть включен в состав настоящего изобретения для образования других возможных вариантов осуществления. На фиг.4А впрыскиватель 84 химических реагентов содержит баллон 118 с газом под давлением, регулятор 120 давления, клапан 122 с электрическим управлением и сопло 114. Баллон 118 с газом под давлением сообщен с контейнером 82 с химическим реагентом через регулятор 120 давления, и таким образом обеспечивает подачу газа, в общем, с постоянным давлением в резервуар для хранения химических реагентов. Контейнер 82 с химическим реагентом имеет камеру 124, которая содержит химические реагенты. Регулятор 120 давления регулирует прохождение газа под давлением, подаваемого из баллона 118 в контейнер 82, но вне камеры 124. Однако регулятор 120 давления можно заменить на клапан с электрическим управлением. Газ под давлением оказывает давление на камеру 124 и, таким образом, на химические реагенты, находящиеся в ней. Клапан 122 с электрическим управлением регулирует и управляет прохождением химических реагентов через сопло 114 и во внутреннюю часть насосно-компрессорной колонны 116. Так как химические реагенты внутри камеры 124 находятся под давлением газа, подаваемого из баллона 118, химические реагенты вытесняются из сопла 114, когда клапан 122 с электрическим управлением открыт.
На фиг.4В контейнер 82 с химическим реагентом разделен на два объема 126, 128 с помощью камеры 124, которая действует как сепаратор между этими двумя объемами 126, 128. Первый объем 126 внутри камеры 124 содержит химические реагенты, второй объем 128 внутри контейнера 82 с химическим реагентом, но вне камеры содержит газ под давлением. Следовательно, контейнер 82 предварительно заряжен, и газ под давлением оказывает давление на химические реагенты внутри камеры 124. Впрыскиватель 84 химических реагентов содержит клапан 122 с электрическим управлением и сопло 114. Клапан 122 с электрическим управлением электрически подсоединен к и управляется с помощью модуля 80 связи и управления. Клапан 122 с электрическим управлением регулирует и управляет прохождением химических реагентов через сопло 114 и во внутреннюю часть 116 насосно-компрессорной колонны. Химические реагенты вытесняются из сопла 114 за счет давления газа, когда клапан 122 с электрическим управлением открыт.
Вариант осуществления, показанный на фиг.4С, подобен варианту осуществления, показанному на фиг.4В, но на камеру 124 оказывает давление пружинный элемент 130. Кроме того, на фиг.4С камера может отсутствовать, если между пружинным элементом 130 и химическими реагентами внутри контейнера 82 с химическим реагентом находится передвижная прокладка (например, герметичный поршень). Специалистам будет ясно, что может существовать много разновидностей механической конструкции впрыскивателя 84 химических реагентов и вариантов использования пружинного элемента для оказания давления на химические реагенты.
На фиг.4D контейнером 82 с химическим реагентом является баллон под давлением, содержащий химический реагент, который представляет собой текучую среду под давлением. Впрыскиватель 84 химических реагентов содержит клапан 122 с электрическим управлением и сопло 114. Клапан 122 с электрическим управлением регулирует и управляет прохождением химических реагентов через сопло 114 и во внутреннюю часть 116 насосно-компрессорной колонны. Так как химические реагенты в контейнере 82 находятся под давлением, химические реагенты вытесняются из сопла 114, когда клапан 122 с электрическим управлением открыт.
На фиг.4Е контейнер 82 с химическим реагентом имеет камеру 124, содержащую химический реагент. Впрыскиватель 84 химических реагентов содержит насос 134, односторонний клапан 136, сопло 114 и электродвигатель 110. Насос 134 приводится в действие с помощью электродвигателя 110, который электрически подсоединен к модулю 80 связи и управления, и управляется с помощью этого модуля 80. Односторонний клапан 136 предотвращает противоток в насос 134 и камеру 124. Насос 134 вытесняет химические реагенты из камеры 124 через односторонний клапан 136 из сопла 114 и во внутреннюю часть 116 насосно-компрессорной колонны. Следовательно, использование впрыскивателя 84 химических реагентов (фиг.4Е) может быть выгодно в случае, где резервуар для хранения химических реагентов или контейнер 82 произвольно сформированы для получения максимального объема химических реагентов, удерживаемых в нем для заданной конфигурации, потому что конфигурация резервуара для хранения химических реагентов не зависит от реализованной конфигурации впрыскивателя 84 химических реагентов.
На фиг.4F показан вариант осуществления настоящего изобретения, где трубопровод 138 для подачи химических реагентов проходит в скважинное местоположение в устройство 60 для нагнетания химических реагентов с поверхности. Такой вариант осуществления можно использовать в случае, где имеется потребность нагнетания большого количества химических реагентов во внутреннюю часть 116 насосно-компрессорной колонны. Контейнер 82 с химическим реагентом (фиг.4F) предусматривает как канал для прохождения текучей среды, соединяющий трубопровод 138 для подачи химических реагентов со впрыскивателем 84 химических реагентов, так и резервуар для хранения некоторых химических реагентов в скважине. Кроме того, скважинный контейнер 82 может представлять собой только канал для прохождения флюида или соединитель (отсутствует характерный объем контейнера) между трубопроводом 138 для подачи химических реагентов и впрыскивателем 84 химических реагентов для подачи сыпучего впрыскиваемого вещества с поверхности необходимым способом.
Таким образом, варианты, представленные на фиг.4A-4F, показывают, что существует много возможных разновидностей контейнера 82 с химическим реагентом и впрыскивателя 84 химических реагентов. Специалистам будет ясно, что может быть гораздо больше разновидностей выполнения функции подачи, хранения и/или содержания химических реагентов в скважине в комбинации с управляемым впрыскиванием химического реагента во внутреннюю часть 116 насосно-компрессорной колонны в ответ на подачу электрического сигнала. Изменения (не показаны) впрыскивателя 84 химических реагентов могут дополнительно включать в себя (но не ограничивать): трубку Вентури в сопле, давление на камере, созданное с помощью турбоустройства, создающего энергию вращения из потока текучей среды внутри насосно-компрессорной колонны, создание давления из других областей геологической формации, которое направляется через насосно-компрессорную колонну, любую возможную комбинацию частей фиг.4A-4F или любую их комбинацию.
Кроме того, устройство 60 для нагнетания не может впрыскивать химические реагенты во внутреннюю часть 116 насосно-компрессорной колонны. Другими словами, устройство для нагнетания химических реагентов можно адаптировать к управляемому нагнетанию химических реагентов в геологическую формацию 32, в обсадную колонну 30, или непосредственно в эксплуатационную зону 48. Кроме того, продление насосно-компрессорной колонны (не показано) может проходить от сопла впрыскивателя химических реагентов до области, отдаленной от устройства для нагнетания химических реагентов (например, дальше в местоположение скважины или глубоко в эксплуатационную зону).
Устройство 60 для нагнетания может дополнительно содержать и другие элементы для образования других возможных вариантов осуществления настоящего изобретения, включая (но не ограничивая): датчик, электродвигатель, модем, микропроцессор, логическую схему, электрически управляемый клапан насосно-компрессорной колонны, многочисленные резервуары для хранения химических реагентов (которые могут содержать различные химические реагенты) или любую их комбинацию. Резервуар может быть приспособлен для впрыскивания химических реагентов. Нагнетаемыми химическими реагентами могут быть твердые частицы, жидкость, газ или их смеси. Нагнетаемые химические реагенты могут быть однокомпонентными и многокомпонентными или иметь сложный состав. Кроме того, можно использовать многочисленные управляемые устройства для нагнетания химических реагентов для одной или более боковых секций, каждое из которых может иметь независимый доступ, групповой доступ или одинаковый доступ из поверхностной компьютерной системы 64. В альтернативе, для управления с помощью поверхностной компьютерной системы 64 скважинным устройством 60 с электрическим управлением для нагнетания химических реагентов можно управлять с помощью электронной схемы, размещенной в нем, или с помощью другого скважинного устройства. Аналогично, скважинным устройством 60 с электрическим управлением для нагнетания химических реагентов можно управлять и/или поддерживать связь с помощью других скважинных устройств. В публикации WO 01/65055 использовано скважинное устройство 60 с электрическим управлением для нагнетания химических реагентов, в заявке РСТ US 01/0695 использован один или несколько датчиков 108, каждый из которых адаптирован для измерения физической величины, такой как (но не ограничено) абсолютное давление, дифференциальное давление, плотность текучей среды, вязкость текучей среды, звукопроницаемость или отражательные свойства, температура или химический состав.
После обзора родственных заявок настоящего заявителя специалисты могут заметить, что можно использовать и другие скважинные устройства с электрическим управлением, а также как многочисленные индукционные дроссели, дополнительно включенные в. буровую скважину для образования других возможных вариантов осуществления настоящего изобретения. Такие другие скважинные устройства с электрическим управлением включают (но не ограничиваются): один или несколько управляемых пакеров, имеющих электрически управляемые клапаны пакера, один или несколько электрически управляемых газлифтных клапанов, один или несколько модемов, один или несколько датчиков, микропроцессор, логическую схему, один или несколько электрически управляемых клапанов насосно-компрессорной колонны для управления потоком из различных боковых ответвлений и, при необходимости, другие электронные элементы.
Настоящее изобретение можно также применить и к другим типам буровых скважин (отличающихся от нефтяных скважин), таких как водозаборная скважина.
Специалистам будет ясно, что настоящее изобретение предусматривает нефтяную эксплуатационную скважину, имеющую, по меньшей мере, одно устройство с электрическим управлением для нагнетания химических реагентов, а также способы использования таких устройств для контроля и/или улучшения эксплуатационных характеристик буровой скважины. Следует понимать, что чертежи и подробное описание приведены здесь в иллюстративных, а не в ограничительных целях, и не предназначены для ограничения изобретения конкретными формами и раскрытыми примерами. Напротив, изобретение включает в себя любые дополнительные модификации, изменения, перестановки, замены, альтернативные варианты, выбор конструкции и варианты осуществления, ясные специалистам, без отклонения от сущности и масштаба настоящего изобретения, определенного в следующей ниже формуле изобретения. Таким образом, подразумевается, что следующая ниже формула изобретения охватывает все такие дополнительные модификации, изменения, перестановки, замены, альтернативные варианты, выбор конструкции и варианты осуществления.
Формула изобретения
1. Система для нагнетания химических реагентов в скважину, содержащая устройство полного сопротивления по току, предназначенное для размещения вокруг части трубопроводной системы скважины для подачи электрического сигнала, изменяющегося во времени и передаваемого через и вдоль трубопроводной системы, и устройство с электрическим управлением для нагнетания химических реагентов, адаптированное для электрического подсоединения к трубопроводной системе, для подачи питания с помощью электрического сигнала и для вывода химических реагентов в ответ на электрический сигнал.
2. Система по п.1, в которой трубопроводная система содержит, по меньшей мере, часть эксплуатационной насосно-компрессорной колонны скважины.
3. Система по п.1, в которой трубопроводная система содержит, по меньшей мере, часть обсадной колонны скважины.
4. Система по п.1, в которой устройство для нагнетания химических реагентов содержит электродвигатель и модуль связи и управления, причем электродвигатель электрически подсоединен к модулю связи и управления и адаптирован для управления с помощью этого модуля.
5. Система по п.1, в которой устройство для нагнетания химических реагентов содержит клапан с электрическим управлением и модуль связи и управления, причем клапан с электрическим управлением электрически подсоединен к модулю связи и управления и адаптирован для управления с помощью этого модуля.
6. Система по п.1, в которой устройство для нагнетания химических реагентов содержит резервуар для хранения химических реагентов и впрыскиватель химических реагентов, причем резервуар для хранения химических реагентов сообщен с впрыскивателем химических реагентов, и впрыскиватель химических реагентов адаптирован для вывода химических реагентов из резервуара для хранения химических реагентов в ответ на электрический сигнал.
7. Система по п.1, в которой электрический сигнал является сигналом питания.
8. Система по п.1, в которой электрический сигнал является сигналом связи.
9. Система по п.1, в которой электрический сигнал является сигналом управления, посылаемым из поверхностной компьютерной системы.
10. Нефтяная скважина для добычи нефтепродуктов, содержащая трубопроводную систему, размещенную в стволе скважины, источник электрического тока, изменяющегося во времени, электрически подсоединенный к трубопроводной системе, индукционный дроссель, расположенный вокруг части трубопроводной системы, устройство с электрическим управлением для нагнетания химических реагентов, связанное с трубопроводной системой для приема питания и сигналов связи через электрический ток, изменяющийся во времени, и приспособленное для впрыскивания химических реагентов.
11. Нефтяная скважина по п.10, в которой индукционный дроссель является неподключенным к электропитанию и содержит ферромагнитный материал для обеспечения функционирования индукционного дросселя с учетом своего размера, геометрии, пространственных соотношений с трубопроводной структурой и магнитных свойств.
12. Нефтяная скважина по п.10, в которой трубопроводная система содержит, по меньшей мере, часть эксплуатационной насосно-компрессорной колонны, и цепь обратного тока содержит, по меньшей мере, часть обсадной колонны скважины.
13. Нефтяная скважина по п.10, в которой трубопроводная система содержит, по меньшей мере, часть обсадной колонны буровой скважины.
14. Нефтяная скважина по п.10, в которой устройство для нагнетания химических реагентов содержит клапан с электрическим управлением.
15. Нефтяная скважина по п.10, в которой устройство для нагнетания химических реагентов содержит электродвигатель.
16. Нефтяная скважина по п.10, в которой устройство для нагнетания химических реагентов содержит модем.
17. Нефтяная скважина по п.10, в которой устройство для нагнетания химических реагентов содержит резервуар для хранения химических реагентов.
18. Нефтяная скважина по п.17, в которой резервуар для хранения химических реагентов приспособлен для впрыскивания химических реагентов в трубопроводную систему.
19. Нефтяная скважина по п.10, в которой устройство для нагнетания химических реагентов содержит датчик.
20. Нефтяная скважина для добычи нефтепродуктов, содержащая обсадную колонну, проходящую в стволе скважины, эксплуатационную насосно-компрессорную колонну, проходящую в обсадной колонне, источник электрического тока, изменяющегося во времени, расположенный на поверхности, электрически подсоединенный и адаптированный для вывода электрического тока, изменяющегося во времени, в, по меньшей мере, насосно-компрессорную колонну или обсадную колонну, и скважинное устройство для нагнетания химических реагентов, содержащее модуль связи и управления, контейнер с химическим реагентом и впрыскиватель химических реагентов с электрическим управлением, при этом модуль связи и управления электрически подсоединен к, по меньшей мере, насосно-компрессорной колонне или обсадной колонне для приема оттуда электрического тока, изменяющегося во времени, впрыскиватель химических реагентов электрически подсоединен к модулю связи и управления, и контейнер с химическим реагентом сообщен с впрыскивателем химических реагентов.
21. Нефтяная скважина по п.20, в которой впрыскиватель химических реагентов содержит электродвигатель, винтовой механизм и сопло, причем электродвигатель электрически соединен с модулем связи и управления, винтовой механизм механически связан с электродвигателем, а сопло проходит в насосно-компрессорную колонну и обеспечивает проход для текучей среды между контейнером с химическим реагентом и внутренней частью насосно-компрессорной колонны, и винтовой механизм приспособлен для вытеснения текучей среды из контейнера с химическим реагентом в насосно-компрессорную колонну через сопло в ответ на вращательное движение электродвигателя.
22. Нефтяная скважина по п.20, в которой впрыскиватель химических реагентов содержит газовый баллон, заполненный газом под давлением, регулятор давления, клапан с электрическим управлением и сопло, при этом внутренняя часть контейнера с химическим реагентом содержит сепаратор, образующий первый объем для содержания химических реагентов и второй объем, причем газовый баллон сообщен со вторым объемом контейнера с химическим реагентом через регулятор давления так, что газ под давлением может находиться во втором объеме и вне первого объема для оказания давления на химический реагент в первом объеме, при этом клапан с электрическим управлением электрически соединен с модулем связи и управления для получения из него питания и сигналов команд управления, и клапан с электрическим управлением адаптирован для регулировки и управления прохождением химических реагентов из первого объема через сопло и в насосно-компрессорную колонну.
23. Нефтяная скважина по п.20, в которой контейнер с химическим реагентом содержит сепаратор, расположенный в нем и делящий внутреннюю часть контейнера на два объема, впрыскиватель химических реагентов содержит клапан с электрическим управлением и сопло, причем первый объем контейнера с химическим реагентом содержит химический реагент, второй объем контейнера с химическим реагентом содержит газ под давлением для оказания газом давления на химический реагент в первом объеме, при этом клапан с электрическим управлением электрически соединен с модулем связи и управления и управляется с помощью этого модуля, и первый объем сообщен с внутренней частью насосно-компрессорной колонны через клапан с электрическим управлением и через сопло.
24. Нефтяная скважина по п.20, в которой контейнер с химическим реагентом содержит сепаратор, делящий внутреннюю часть контейнера с химическим реагентом на два объема, впрыскиватель химических реагентов содержит клапан с электрическим управлением и сопло, причем первый объем контейнера с химическим реагентом содержит химический реагент, а второй объем контейнера с химическим реагентом содержит пружинный элемент для воздействия на химический реагент в первом объеме, при этом клапан с электрическим управлением электрически соединен с модулем связи и управления и управляется с помощью этого модуля, и первый объем сообщен с внутренней частью насосно-компрессорной колонны через клапан с электрическим управлением и через сопло.
25. Нефтяная скважина по п.20, в которой контейнер с химическим реагентом адаптирован для удержания в нем химического реагента под давлением, впрыскиватель химических реагентов содержит клапан с электрическим управлением и сопло, причем клапан с электрическим управлением электрически соединен с модулем связи и управления и управляется с помощью этого модуля, а сопло проходит во внутреннюю часть насосно-компрессорной колонны, при этом контейнер с химическим реагентом сообщен с внутренней частью насосно-компрессорной колонны через клапан с электрическим управлением и через сопло.
26. Нефтяная скважина по п.20, в которой впрыскиватель химических реагентов содержит электродвигатель, насос, односторонний клапан и сопло, причем электродвигатель электрически подсоединен к модулю связи и управления и управляется с помощью этого модуля, насос механически связан с электродвигателем, и сопло проходит во внутреннюю часть насосно-компрессорной колонны, при этом контейнер с химическим реагентом сообщен с внутренней частью насосно-компрессорной колонны через насос, односторонний клапан и сопло.
27. Нефтяная скважина по п.20, дополнительно содержащая трубопровод для подачи химических реагентов, проходящий с поверхности в скважинное устройство для нагнетания химических реагентов, при этом контейнер с химическим реагентом содержит канал для прохождения текучей среды, соединяющий трубопровод для подачи химических реагентов с внутренней частью насосно-компрессорной колонны через впрыскиватель химических реагентов.
28. Нефтяная скважина по п.27, в которой контейнер с химическим реагентом дополнительно содержит резервуар для хранения химических реагентов.
29. Нефтяная скважина по п.20, в которой контейнер с химическим реагентом содержит автономный скважинный резервуар для текучей среды, адаптированный для подачи химического реагента для скважинного устройства для нагнетания химических реагентов.
30. Нефтяная скважина по п.20, содержащая индукционный дроссель, неподключенный к электропитанию и содержащий ферромагнитный материал.
31. Нефтяная скважина по п.20, в которой контейнер с химическим реагентом приспособлен для рассеивания химических реагентов в, по меньшей мере, насосно-компрессорную колонну или обсадную колонну.
32. Нефтяная скважина по п.20, в которой контейнер с химическим реагентом приспособлен для рассеивания химических реагентов в геологической формации вне обсадной колонны.
33. Нефтяная скважина по п.20, в которой скважинное устройство для нагнетания химических реагентов дополнительно содержит датчик, электрически подсоединенный к модулю связи и управления.
34. Нефтяная скважина по п.20, в которой модуль связи и управления содержит модем.
35. Способ управления нефтяной скважиной, оборудованной трубопроводной системой и подсоединенной к ней в местоположении скважины скважинной системой для нагнетания химических реагентов в буровую скважину, содержащий следующие этапы: передача сигнала переменного электрического тока посредством использования индукционного дросселя по трубопроводной системе для питания и связи со скважинной системой для нагнетания химических реагентов, адаптирование скважинной системы для нагнетания химических реагентов в скважину в ответ на сигнал переменного электрического тока, нагнетание химических реагентов в скважинный поток с возможностью управления нагнетанием в ответ на сигнал переменного электрического тока во время добычи.
36. Способ по п.35, в котором в качестве скважины используется газлифтная скважина, используют химический реагент, содержащий вспенивающий агент, и дополнительно осуществляют повышение эффективности насосно-компрессорной добычи нефтепродуктов с помощью вспенивающего агента.
37. Способ по п.35, в котором используют химический реагент, содержащий парафиновый растворитель, и трубопроводную систему, включающую насосно-компрессорную колонну, и дополнительно осуществляют сдерживание осаждения твердых частиц на внутренней части насосно-компрессорной колонны.
38. Способ по п.35, в котором используют химический реагент, содержащий поверхностно-активное вещество, и дополнительно осуществляют улучшение характеристики протекающего потока.
39. Способ по п.35, в котором используют химический реагент, содержащий замедлитель коррозии, и дополнительно осуществляют замедление коррозии в стволе скважины.
40. Способ по п.35, в котором используют химический реагент, содержащий вещества, предотвращающие образование отложений, и дополнительно осуществляют уменьшение образования отложений в скважине.
41. Способ по п.35, в котором используют химический реагент, содержащий состав для гидравлического разрыва пласта, и дополнительно осуществляют нагнетание этого состава в геологическую формацию, расположенную вокруг скважины.
РИСУНКИ
|
|