|
|
(21), (22) Заявка: 2002126208/03, 02.03.2001
(24) Дата начала отсчета срока действия патента:
02.03.2001
(30) Конвенционный приоритет:
02.03.2000 US 60/186,527
(43) Дата публикации заявки: 20.02.2004
(45) Опубликовано: 20.08.2005
(56) Список документов, цитированных в отчете о поиске:
EP 0964134 A2, 07.06.1999 SU 601394 А, 04.03.1978 RU 97103406 А, 10.03.1999 GB 2336943 A, 03.11.1999 US 4839844 A, 13.06.1989 US 4393485 A, 12.07.1983 US 4901069 A, 13.02.1990 WO 96/00836 A1, 11.01.1996
(85) Дата перевода заявки PCT на национальную фазу:
02.10.2002
(86) Заявка PCT:
US 01/06942 (02.03.2001)
(87) Публикация PCT:
WO 01/65054 (07.09.2001)
Адрес для переписки:
129010, Москва, ул. Б.Спасская, 25, стр.3, ООО “Юридическая фирма Городисский и Партнеры”, пат.пов. С.А.Дорофееву
|
(72) Автор(ы):
ХЕРШ Джон Мишель (US), ВАЙНГАР Харолд Дж (US), БЕРНЕТТ Роберт Рекс (US), СЕВЕДЖ Вилльям Маунтджой (US), КАРЛ Фредерик Гордон Мл (US)
(73) Патентообладатель(и):
ШЕЛЛ ИНТЕРНЭШНЛ РИСЕРЧ МААТСХАППИЙ Б.В. (NL)
|
(54) НЕФТЯНАЯ СКВАЖИНА (ВАРИАНТЫ), СПОСОБ ЕЕ РАБОТЫ, СИСТЕМА И СПОСОБ ПОДАЧИ ПИТАНИЯ СКВАЖИННОГО УСТРОЙСТВА
(57) Реферат:
Изобретения относятся к нефтяной промышленности и могут быть использованы для подачи и хранения в скважине электроэнергии, необходимой для питания скважинных приборов и оборудования. Описана система для подачи питания в скважинное устройство, содержащая устройство полного сопротивления по току, концентрически позиционированное вокруг трубопроводной структуры буровой скважины для, по меньшей мере, частичного определения проводящей части для передачи переменного электрического тока через и вдоль проводящей части трубопроводной структуры. Система также содержит устройство хранения энергии, адаптированное для электрического подсоединения к проводящей части трубопроводной структуры, для перезаряда с помощью переменного электрического тока и для подсоединения к скважинному устройству для подачи питания в скважинное устройство. Также описаны варианты конструкции нефтяной скважины, в состав которой входит описанная система, способ работы нефтяной скважины с использованием системы и способ питания скважинного устройства, использующий описанную систему. Изобретения направлены на повышение стабильности электропитания скважинных приборов и оборудования. 5 н. и 32 з.п.ф-лы, 7 ил. 
Настоящее изобретение относится к нефтяной скважине и способу работы скважины и системе и способу для подачи питания скважинного устройства.
Многочисленные заявки настоящего заявителя описывают способы подачи электрической энергии в и поддержания связи с оборудованием, установленным на глубине в нефтяных или газовых скважинах. В этих способах эксплуатационная насосно-компрессорная колонна используется как подводящая цепи, а обсадная колонна как обратная цепь для схем передачи питания и связи или, альтернативно, в качестве схемы передачи обсадная колонна и/или насосно-компрессорная колонна используются как подводящая цепь, а пласт как “земля”. В любом случае электрические потери, которые будут присутствовать в схеме передачи, будут сильно изменяться в зависимости от специфических условий для конкретной буровой скважины. Этими потерями нельзя пренебрегать при проектировании скважинных систем питания и связи, и в экстремальных ситуациях способы, используемые для согласования потерь, могут стать главными определяющими факторами проекта.
Когда питание подается с использованием эксплуатационной насосно-компрессорной колонны в качестве питающего проводника и обсадной колонны в качестве обратного пути тока, состав флюидов, присутствующих в кольце, и особенно возможное присутствие компонентов соленой воды в этом составе (то есть электропроводный флюид), обеспечит электрическое соединение между насосно-компрессорной колонной и обсадной колонной. Если это соединение имеет высокую проводимость, то питание пропадет при коротком замыкании между насосно-компрессорной колонной и обсадной колонной перед достижением скважинного устройства.
При подаче питания с использованием обсадной колонны в качестве проводника и “земли” пласта в качестве обратного пути тока утечка электрического тока через цементное или бетонное завершение (между обсадной колонной и земляным пластом) в земляном пласте может являться механизмом потерь. Чем больше проводимость цементного и земляного пласта, тем больше потери электрического тока, так как ток проходит с поверхности через обсадную колонну в местоположение в скважине (например, в местоположение продуктивного пласта на большой глубине).
Поэтому для успешного применения систем и способов подачи питания и/или связи на глубину в скважину часто будет необходимо средство для обеспечения согласования потерь энергии в случае, когда потери по питанию становятся существенными.
Техническим результатом настоящего изобретения является устранение недостатков известных решений и удовлетворение потребностей, отмеченных выше.
В соответствии с изобретением создана система для подачи питания в скважинное устройство, содержащая устройство полного сопротивления по току, концентрически расположенное вокруг трубопроводной структуры скважины для, по меньшей мере, частичного образования проводящей части для передачи электрического тока, изменяющегося во времени, через и вдоль проводящей части трубопроводной структуры, и устройство хранения энергии, адаптированное для электрического подсоединения к проводящей части трубопроводной структуры, для перезаряда с помощью электрического тока, изменяющегося во времени, и для подсоединения к скважинному устройству для подачи питания в скважинное устройство.
При протекании электрического тока, изменяющегося во времени, через и вдоль части трубопроводной структуры возникает разность потенциалов между одной стороной устройства полного сопротивления по току и другой стороной устройства полного сопротивления по току.
Устройство хранения энергии может содержать вторичный химический источник тока или аккумулятор или конденсатор.
Устройством полного сопротивления по току может являться индукционный дроссель, неподключенный к электропитанию, содержащий ферромагнитный материал и обеспечивающий создание полного сопротивления по электрическому току, изменяющемуся во времени, в стенке трубопроводной структуры, зависящего от размера, геометрии и магнитных свойств индукционного дросселя и его расположения относительно трубопроводной структуры.
Трубопроводная структура может содержать, по меньшей мере, часть эксплуатационной насосно-компрессорной колонны скважины или, по меньшей мере, часть обсадной колонны скважины.
Система может дополнительно содержать схему регулирования питания, адаптированную для переключения между зарядной конфигурацией электрической схемы и разрядной конфигурацией электрической схемы для устройства хранения энергии.
Система может дополнительно содержать логическую схему, адаптированную для автоматического управления схемой регулирования питания.
Согласно изобретению создана нефтяная скважина, содержащая трубопроводную структуру, имеющую электропроводную часть и проходящую между поверхностью и местоположением скважины, источник питания, расположенный на поверхности и электрически подсоединенный к электропроводной части трубопроводной структуры и адаптированный к выходному току, изменяющемуся во времени, устройство полного сопротивления, расположенное вокруг трубопроводной структуры для, по меньшей мере, частичного образования электропроводной части трубопроводной структуры, скважинный модуль хранения энергии, содержащий устройство хранения энергии и связанный с электропроводной частью трубопроводной структуры, и устройство с электропитанием, расположенное в скважине и электрически подсоединенное к модулю хранения энергии.
Устройство с электропитанием может содержать датчик или преобразователь или клапан с электрическим управлением или электродвигатель или модем или систему нагнетания химических реагентов.
Трубопроводная структура может содержать, по меньшей мере, часть эксплуатационной насосно-компрессорной колонны скважины, и цепь обратного тока может содержать, по меньшей мере, часть обсадной колонны скважины.
Трубопроводная структура может содержать, по меньшей мере, часть обсадной колонны скважины.
Цепь обратного тока может являться цепью обратного тока через землю.
Нефтяная скважина может дополнительно содержать схему регулирования питания, адаптированную для переключения между зарядной конфигурацией электрической схемы и разрядной конфигурацией электрической схемы для модуля хранения энергии.
Нефтяная скважина может дополнительно содержать логическую схему, адаптированную для автоматического управления схемой регулирования питания.
Устройство хранения энергии может содержать вторичный химический источник тока или аккумулятор или конденсатор.
Согласно изобретению создана также нефтяная скважина, содержащая обсадную колонну, проходящую в стволе скважины, эксплуатационную насосно-компрессорную колонну, проходящую в обсадной колонне, источник питания, расположенный на поверхности, электрически подсоединенный и адаптированный для подачи электрического тока, изменяющегося во времени, в, по меньшей мере, насосно-компрессорную колонну или обсадную колонну, скважинный модуль хранения энергии, электрически подсоединенный к, по меньшей мере, насосно-компрессорной колонне или обсадной колонне, скважинное устройство с электропитанием, электрически подсоединенное к модулю хранения энергии, скважинный индукционный дроссель, расположенный вокруг части, по меньшей мере, одной из насосно-компрессорной колонны и обсадной колонны, и адаптированный для направления части электрического тока в устройство хранения энергии.
Индукционный дроссель может быть неподключенным к питанию и содержать ферромагнитный материал.
Модуль хранения энергии может содержать вторичный химический источник тока.
Модуль хранения энергии может содержать аккумулятор или конденсатор.
Нефтяная скважина может дополнительно содержать схему регулирования питания, адаптированную для переключения между зарядной конфигурацией электрической схемы и разрядной конфигурацией электрической схемы для модуля хранения энергии.
Нефтяная скважина может дополнительно содержать логическую схему, адаптированную для автоматического управления схемой регулирования питания.
Согласно изобретению способ работы нефтяной скважины содержит следующие этапы: обеспечение электропроводности трубопроводной структуры в стволе скважины, по меньшей мере, частично с помощью устройства полного сопротивления по току; подача питания в электропроводную часть трубопроводной структуры, причем источник питания адаптирован к выходному току, изменяющемуся во времени; сохранение электрической энергии в скважинном модуле хранения энергии; зарядка модуля хранения энергии с помощью тока, изменяющегося во времени, при добыче нефтепродуктов из скважины; разрядка устройства хранения энергии так, как это необходимо для питания устройства с электропитанием, расположенного в скважине при добыче нефтепродуктов из скважины.
В способе можно использовать модуль хранения энергии, включающий устройство с электропитанием, содержащее датчик и модем, и который дополнительно содержит этапы обнаружения значения физической величины в скважине с помощью датчика и передачи данных о физической величине в поверхностное устройство с использованием модема и через трубопроводную структуру.
Передача данных о физической величине может выполняться при отсутствии зарядки устройства хранения энергии от источника питания.
В способе можно использовать модуль хранения энергии, включающий множество устройств хранения энергии, и который содержит этапы параллельной зарядки устройств хранения энергии и последовательной разрядки устройств хранения энергии.
Согласно изобретению способ питания скважинного устройства содержит следующие этапы: обеспечение скважинного модуля хранения энергии, содержащего первую группу электрических переключателей, вторую группу электрических переключателей, два или более устройств хранения энергии и логическую схему; при подаче тока в модуль хранения энергии замыкание первой группы переключателей и размыкание второй группы переключателей для формирования параллельной схемы на концах устройств хранения энергии и зарядка устройств хранения энергии; во время заряда, при прекращении протекания тока, поданного к модулю хранения энергии, и при наличии у устройств хранения энергии уровня напряжения, меньшего, чем первый заданный уровень напряжения, размыкание первой группы переключателей и замыкание второй группы переключателей для формирования последовательной схемы на концах устройств хранения энергии и разрядка этих устройств так, как это необходимо для питания скважинного устройства; во время заряда, при наличии у устройств хранения энергии уровня напряжения, превышающего первый заданный уровень напряжения, включение логической схемы; при включении логической схемы ожидание тока, подаваемого в модуль хранения энергии, для прекращения протекания тока; при прекращении протекания тока осуществление задержки во времени в течение заданного интервала времени; при возобновлении протекания тока до истечения заданного интервала времени, продолжение заряда устройств хранения энергии; при истечении заданного интервала времени размыкание первой группы переключателей и замыкание второй группу переключателей для образования последовательной схемы на концах устройств хранения энергии; разрядка устройств хранения энергии так, как это необходимо для питания скважинного устройства, при возобновлении протекания тока замыкание первой группы переключателей и размыкание второй группу переключателей для образования параллельной схемы на концах устройств хранения энергии; зарядка устройств хранения энергии; при падении уровня напряжения устройств хранения энергии ниже второго заданного уровня напряжения выключение логической схемы.
Способ может дополнительно содержать этап передачи данных из скважинного устройства в поверхностный модем при превышении заданного интервала времени задержки во времени, отсутствии подачи тока в модуль хранения энергии и превышении уровня напряжения устройств хранения второго заданного уровня напряжения.
Таким образом, проблемы, отмеченные выше, в значительной степени решены посредством вышеописанного способа питания скважинного устройства, пополнения этой энергии так, как это необходимо, и эффективного распределения этой энергии с использованием логических алгоритмом или связи для управления конфигурацией путей распределения питания.
Механизм хранения у устройств хранения энергии может быть химическим, как в аккумуляторах, или электрическим, как в конденсаторах, ультраконденсаторах или суперконденсаторах. При управлении циклом заряда-разряда аккумуляторов даже крайне ограниченную возможность питания в скважине можно использовать для заряда аккумуляторов и для возбуждения электрического или электронного оборудования можно подавать питание с гораздо более высокой скоростью, чем скорость заряда. Типичное электрическое оборудование может включать, но не ограничиваться, электродвигатели, приводы заслонок и клапанов и/или акустические источники. Они обычно требуют высокой мощности питания во время использования, но часто работают только периодически по команде.
По характеру своей выполняемой функции скважинные устройства размещают группами. Относительно их расстояния от поверхности интервал между скважинными устройствами внутри группы является маленьким. Эта близость позволяет передавать электроэнергию и/или сигналы связи из одного скважинного устройства в другое с использованием насосно-компрессорной колонны и/или обсадной колонны в качестве пути передачи энергии и/или сигналов связи между отдельными скважинными устройствами. Такой способ распределения питания зависит от условий передачи управляющих сигналов связи для выбора конфигурации связи между устройствами хранения энергии в каждом устройстве и нагрузок, которые могут быть в другом устройстве. При использовании этого способа питание, поступающее из более чем одного устройства в группе, можно подавать в одну точку использования, обеспечивая более высокое потребление мощности в этой точке использования, чем в случае, если бы каждое устройство получало бы питание только из своего собственного локального устройства хранения энергии.
Аналогично, в случае, где устройство хранения энергии внутри отдельного скважинного устройства выходит из строя, питание на модуль может подаваться от соседних устройств, и эти устройства хранения энергии можно исключить из обслуживания. Важной характеристикой устройств хранения энергии (как химических источников тока, так и конденсаторов) является то, что их отдельная рабочая мощность может быть ограничена значениями, которые ниже тех, которые необходимы для работы электроники или электрического оборудования. В случаях, где скважинное питание строго ограничено потерями в цепи передачи электроэнергии, подводимая мощность может быть ограничена значениями, которые ниже тех, которые позволили бы электрическим цепям нормально работать. Поэтому среди других проблем настоящее изобретение дает решение этой проблемы.
Другие цели и преимущества настоящего изобретения приведены в следующем подробном описании со ссылками на сопроводительные чертежи, на которых изображено следующее:
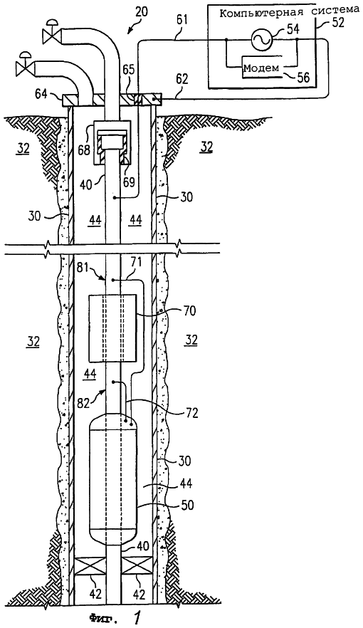
фиг.1 изображает схему нефтяной скважины согласно предпочтительному варианту осуществления настоящего изобретения;
фиг.2 изображает упрощенную электрическую схему электрической цепи, образованной с помощью скважины, показанной на фиг.1;
фиг.3А схематически изображает верхнюю часть нефтяной скважины согласно другому предпочтительному варианту осуществления настоящего изобретения;
фиг.3В схематически изображает верхнюю часть нефтяной эксплуатационной скважины согласно еще одному предпочтительному варианту осуществления настоящего изобретения;
фиг.4 изображает увеличенный вид в разрезе забоя скважины, показанной на фиг.1;
фиг.5 изображает упрощенную электрическую схему для скважинного устройства, показанную на фиг.1 и 4, с иллюстрацией модуля хранения энергии;
фиг.6 изображает диаграмму, иллюстрирующую входные и выходные сигналы для логической схемы;
фиг.7 изображает диаграмму состояний, иллюстрирующую логический алгоритм, используемый скважинным устройством, показанным на фиг.1, 4 и 5.
Ниже приводится описание предпочтительного варианта осуществления настоящего изобретения со ссылкой на чертежи, на которых одинаковые позиции обозначают одинаковые элементы на всех различных видах, и описание других возможных вариантов осуществления настоящего изобретения. Представленные фигуры не обязательно выполнены в масштабе, и в некоторых случаях чертежи увеличены и/или упрощены в определенных пространствах для удобства изображения. Специалисты могут оценить многие возможные приложения и изменения настоящего изобретения на основании приведенных здесь примеров возможных вариантов осуществления настоящего изобретения, а также на основании тех вариантов осуществления, изображенных и обсужденных в родственных заявках, которые включены здесь в качестве ссылки в максимальной степени, разрешенной законом.
Термин “трубопроводная структура”, используемый в настоящей заявке, может представлять собой одну-единственную трубу, насосно-компрессорную колонну, обсадную колонну буровой скважины, насосную штангу, ряд взаимосвязанных труб, штанги, металлические фермы, решетки сквозной фермы, опоры, отводные или боковые удлинители буровой скважины, сеть взаимосвязанных труб или других подобных структур, известных специалистам. В предпочтительном варианте осуществления изобретение используется в контексте нефтяной скважины, где трубопроводная структура содержит трубчатую, металлическую, электропроводную трубу или насосно-компрессорную колонну, но изобретение не ограничено этим. Для настоящего изобретения, по меньшей мере, часть трубопроводной структуры должна быть электропроводной, при этом такая электропроводная часть может представлять собой в целом трубопроводную структуру (например, стальные трубы, медные трубы) или простирающуюся в продольном направлении электропроводную часть, объединенную с простирающейся в продольном направлении неэлектропроводной частью. Другими словами, электропроводная трубопроводная структура представляет собой структуру, которая обеспечивает путь тока от первой части, где источник питания электрически подсоединен ко второй части, и устройство и/или цепь обратного тока электрически связаны. Трубопроводная структура обычно представляет собой известную круглую металлическую насосно-компрессорную колонну, но геометрия поперечного сечения трубопроводной структуры или любой ее части может меняться по форме (например, круглая, прямоугольная, квадратная, овальная) и размеру (например, длина, диаметр, толщина стенки) вдоль любой части трубопроводной структуры. Следовательно, трубопроводная структура должна иметь электропроводную часть, проходящую от первой части трубопроводной структуры до второй части трубопроводной структуры, в которой первая часть расположена отдельно от второй части вдоль трубопроводной структуры.
Термины “первая часть” и “вторая часть”, которые используются здесь, обозначают, в общем, часть, секцию или область трубопроводной структуры, которая может проходить или не проходить вдоль трубопроводной структуры, которая может быть расположена в любом выбранном пространстве вдоль трубопроводной структуры и которая может охватывать или не охватывать наиболее близкие концы трубопроводной структуры.
Термин “модем” используется здесь, в общем, для ссылки на любое устройство связи для передачи и/или приема электрических сигналов связи через электрический проводник (например, металл). Следовательно, термин “модем”, который используется здесь, не ограничен акронимом для модулятора (устройства, которое преобразовывает голос или сигнал данных к виду, пригодному для передачи)/демодулятора (устройства, которое восстанавливает первоначальный сигнал, которым была промодулирована высокочастная несущая). Кроме того, термин “модем”, который используется здесь, не ограничен известными компьютерными модемами, которые преобразовывают цифровые сигналы в аналоговые сигналы и наоборот (например, для передачи цифровых информационных сигналов по аналоговой коммутируемой телефонной сети общего пользования). Например, если датчик выдает данные измерений в аналоговом формате, то такие измерения можно только модулировать (например, с использованием модуляции с расширением спектра) и передавать, и, следовательно, не нужно выполнять аналого-цифрового преобразования. В качестве другого примера релейный/подчиненный модем или устройство связи должны только идентифицировать, фильтровать, усиливать и/или ретранслировать принимаемый сигнал.
Термин “клапан”, который используется здесь, обычно относится к любому устройству, которое выполняет функции регулировки потока флюида. Примеры клапанов включают, но не ограничиваются, сильфонные газлифтные клапаны и управляемые газлифтные клапаны, каждый из которых можно использовать для регулировки потока транспортирующего газа в насосно-компрессорную колонну буровой скважины. Внутренняя работа клапанов может в значительной степени отличаться, и в настоящей заявке не ограничиваются клапанами, описанными с любой конкретной конфигурацией, до тех пор, пока клапан выполняет функции регулировки потока. Некоторые из различных типов механизмов регулировки потока включают, но не ограничиваются, конфигурации шарового клапана, конфигурации игольчатого клапана, конфигурации запорного клапан и конфигурации клетевого клапана. Способы установки клапанов, обсужденных в настоящей заявке, могут в значительной степени отличаться.
Термин “клапан с электрическим управлением”, который используется здесь, обычно относится к “клапану” (как описано выше), который можно открывать, закрывать, регулировать, изменять или дросселировать непрерывно в ответ на электрический сигнал управления (например, сигнал из компьютера, расположенного на поверхности, или из скважинного модуля электронного контроллера). Механизм, который фактически изменяет состояние клапана, может содержать, но не ограничиваться этим, электродвигатель, электрический серводвигатель, электрический соленоид, электрический переключатель, гидравлический привод, управляемый, по меньшей мере, одним электрическим серводвигателем, электродвигателем, электрическим переключателем, электрическим соленоидом или их комбинациями, пневматический привод, управляемый, по меньшей мере, одним электрическим серводвигателем, электродвигателем, электрическим переключателем, электрическим соленоидом или их комбинациями, или устройство с отклоняемой пружиной в комбинации с, по меньшей мере, одним электрическим серводвигателем, электродвигателем, электрическим переключателем, электрическим соленоидом или их комбинациями. “Клапан с электрическим управлением” может включать или не включать датчик обратной связи по положению для подачи сигнала обратной связи, соответствующего фактическому положению клапана.
Термин “датчик”, который используется здесь, относится к любому устройству, которое обнаруживает, определяет, контролирует, записывает или, другими словами, регистрирует абсолютное значение или изменение значения физической величины. Датчик, как описано здесь, можно использовать для измерения значений таких физических величин, но не ограничено этим, как температура, давление (абсолютное и дифференциальное), скорость потока, сейсмические данные, акустические данные, уровень рН, уровни солености, положения клапана или практически любые другие физические данные.
Фраза “на поверхности”, которая используется здесь, относится к местоположению, которое находится выше глубины более приблизительно пятидесяти футов в земле. Другими словами, фраза “на поверхности” не обязательно означает расположение на уровне земли, но используется здесь в более широком смысле для обозначения местоположения, которое является часто легко или удобно доступным в устье скважины, где могут работать люди. Например, “на поверхности” может означать на столе в рабочей мастерской, которая расположена на земле и на платформе буровой скважины, на дне океана или озера, на глубоководной платформе нефтяной вышки или на 100-м этаже здания. Кроме того, термин “поверхность” может использоваться здесь как прилагательное для определения местоположения элемента или области, которая расположена “на поверхности”. Например, фраза “поверхностный” компьютер, которая используется здесь, означает компьютер, расположенный “на поверхности”.
Термин “в скважине”, который используется здесь, относится к местоположению или положению на глубине ниже около пятидесяти футов в земле. Другими словами, термин “в скважине” широко используемый здесь, относится к местоположению, которое часто нелегко или неудобно достижимо из устья скважины, где могут работать люди. Например, в нефтяной скважине, местоположение “в скважине” находится часто в или рядом с подземной нефтяной эксплуатационной зоной, независимо от того, является ли эксплуатационная зона доступной вертикально, горизонтально, сбоку или под любым другим углом между ними. Кроме того, термин “в скважине” используется здесь как прилагательное “скважинный”, описывающее местоположение элемента или области. Например, “скважинное” устройство в буровой скважине означает, что устройство расположено “в скважине” в противоположность расположению “на поверхности”.
Термин “беспроводный”, который используется в настоящей заявке, означает отсутствие известного, изолированного электрического провода, например, проходящую от скважинного устройства до поверхности. Использование насосно-компрессорной колонны и/или обсадной колонны в качестве проводника рассматривается как “беспроводным”.
На фиг.1 изображена схема газлифтной нефтяной скважины 20 согласно предпочтительному варианту осуществления настоящего изобретения. Буровая скважина 20 имеет обсадную колонну 30, проходящую в стволе скважины через пласт 32 в эксплуатационную зону (не показан), более отдаленную в скважине. Эксплуатационная насосно-компрессорная колонна 40 проходит в обсадной колонне 30 скважины для передачи флюидов (например, нефти, газа) из скважины на поверхность во время операций добычи. Пакер 42 расположен в скважине внутри обсадной колонны 30 и вокруг насосно-компрессорной колонны 40. Пакер 42 является традиционным, и он гидравлически изолирует часть скважины 20 выше эксплуатационной зоны для обеспечения ввода газа под давлением в кольцевое пространство 44, образованное между обсадной колонной 30 и насосно-компрессорной колонной 40. Во время газлифтной работы газ под давлением вводится с поверхности в кольцевое пространство 44 для дальнейшего ввода в насосно-компрессорную колонну 40 для обеспечения газлифта для флюидов, находящихся в ней. Следовательно, нефтяная скважина 20, показанная на фиг.1, подобна известной скважине по конструкции, но с учетом того, что входит в состав настоящего изобретения.
Электрическая цепь образована с использованием различных элементов скважины 20 (фиг.1). Образованная электрическая цепь скважины используется для подачи питания и/или поддержания связи со скважинным устройством 50 с электропитанием. Поверхностная компьютерная система 52 обеспечивает питание и/или связь на поверхности. Поверхностная компьютерная система 52 содержит источник 54 питания и главный модем 56, но элементы поверхностного оборудования и конфигурация может изменяться. Источник 54 питания приспособлен для вывода тока, изменяющегося во времени. Ток, изменяющийся во времени, является предпочтительно переменным током, но он может быть также постоянным током, изменяющимся во времени. Сигнал связи, подаваемый с помощью поверхностной компьютерной системы 52, предпочтительно является сигналом с расширенным спектром, но альтернативно можно использовать и другие виды модуляции или предыскажения. Первый вывод 61 компьютера поверхностной компьютерной системы 52 электрически подсоединен к насосно-компрессорной колонне 40 на поверхности. Первый вывод 61 компьютера проходит через подвеску 64 в изолированном уплотнении 65 и таким образом электрически изолирован от подвески 64 при прохождении через нее в уплотнении 65. Второй вывод 62 компьютера поверхностной компьютерной системы 52 электрически подсоединен к обсадной колонне 30 буровой скважины на поверхности.
Насосно-компрессорная колонна 40 и обсадная колонна 30 в схеме скважины используются в качестве электрических проводников. В предпочтительном варианте осуществления, как показано на фиг.1, насосно-компрессорная колонна 40 действует как трубопроводная структура для передачи электрической энергии и/или сигналов связи между поверхностной компьютерной системой 52 и скважинным устройством 50, и пакер 42 и обсадная колонна 30 действуют как цепь обратного тока. Изолированная соединительная муфта 68 для насосно-компрессорных труб включена в устье скважины ниже подвески 64 для обеспечения электрической изоляции насосно-компрессорной колонны 40 от подвески 64 и обсадной колонны 30 на поверхности. Первый вывод 61 компьютера электрически подсоединен к насосно-компрессорной колонне 40 ниже изолированной соединительной муфты 68 для насосно-компрессорных труб. Индукционный дроссель 70 расположен в скважине вокруг насосно-компрессорной колонны 40. Индукционный дроссель 70 является, в общем, кольцеобразным и расположен, в общем, концентрически вокруг насосно-компрессорной колонны 40. Индукционный дроссель 70 содержит ферромагнитный материал, и он не запитан. Как описано наиболее подробно в других заявках данного заявителя, индукционный дроссель 70 создает вихревые токи в стенке насосно-компрессорной колонны при передаче изменяющегося во времени тока вдоль секции этой колонны, окруженной дросселем. В результате создания вихревых токов дроссель 70 создает полное сопротивление по току в стенке этой колонны, которое зависит от размера (массы), геометрии и магнитных свойств данного дросселя и его расположения относительно насосно-компрессорной колонны 40. Изолированная соединительная муфта 68 для насосно-компрессорных труб и индукционный дроссель 70 функционирует для того, чтобы препятствовать подаче сигнала переменного тока на насосно-компрессорную колонну 40. В других вариантах осуществления индукционный дроссель 70 может быть расположен вокруг обсадной колонны 30. Скважинное устройство 50 имеет два вывода 71, 72 электрического устройства. Первый вывод 71 электрически подсоединен к насосно-компрессорной колонне 40 на стороне источника 81 индукционного дросселя 70. Второй вывод 72 электрически подсоединен к насосно-компрессорной колонне 40 на стороне 82 цепи обратного тока индукционного дросселя 70. Пакер 42 обеспечивает электрическое соединение между насосно-компрессорной колонной 40 и обсадной колонной 30 в скважине. Однако насосно-компрессорная колонна 40 и обсадная колонна 30 могут быть также электрически связаны в скважине с помощью проводящего флюида (не показано) в кольцевом простанстве 44 выше пакера 42 или другим путем. В кольцевом пространстве 44 выше пакера 42 флюид предпочтительно будет иметь маленькую или нулевую проводимость, но на практике это иногда нельзя предотвратить.
На фиг.2 изображена упрощенная электрическая схема электрической цепи, образованной в скважине 20 (фиг.1). В процессе работы питание и/или сигналы связи (поданные с помощью поверхностной компьютерной системы 52) подаются в насосно-компрессорную колонну 40 на поверхности ниже изолированной соединительной муфты 68 для насосно-компрессорных труб через первый вывод 61 компьютера. Прохождению тока, изменяющегося во времени, из насосно-компрессорной колонны 40 в обсадную колонну 30 (и на второй вывод 62 компьютера) через подвеску 64 препятствуют изоляторы 69 в изолированной соединительной муфте 68 для насосно-компрессорных труб. Однако ток, изменяющийся во времени, течет свободно в скважине по насосно-компрессорной колонне 40 до достижения индукционного дросселя 70. Индукционный дроссель 70 имеет большую индуктивность, которая препятствует протеканию большей части тока (например, 90%) в насосно-компрессорную колонну 40 в индукционном дросселе 70. Следовательно, благодаря индукционному дросселю 70 между насосно-компрессорной колонной 40 и обсадной колонной 30 возникает разность потенциалов. Другие способы передачи сигналов переменного тока по насосно-компрессорной колонне раскрыты в родственных заявках. Разность потенциалов также возникает между насосно-компрессорной колонной 40 на стороне 81 источника индукционного дросселя 70 и насосно-компрессорной колонной 40 на стороне 82 цепи обратного тока индукционного дросселя 70. Так как скважинное устройство 50 электрически подсоединено к напряжению, большая часть тока, переданного в насосно-компрессорную колонну 40, которая не теряется по пути, направляется через скважинное устройство 50 и, таким образом, обеспечивает питание и/или связь в скважинном устройстве 50. После прохождения через скважинное устройство 50 ток возвращается в поверхностную компьютерную систему 52 через пакер 42, обсадную колонну 30 и второй вывод 62 компьютера. Когда ток является переменным, направление протекания вышеописанного тока через буровую скважину 20 будет меняться на противоположное и проходить по тому же самому пути.
Другие альтернативные способы выполнения электрической схемы с использованием трубопроводной структуры буровой скважины и, по меньшей мере, один индукционный дроссель описаны в родственных заявках, многие из которых можно применять совместно с настоящим изобретением для подачи питания и/или сигналов связи в скважинное устройство 50 с электропитанием и осуществлять другие варианты осуществления настоящего изобретения. Следует отметить, что родственные заявки описывают способы, основанные на использовании обсадной колонны, а не насосно-компрессорной колонны, для передачи питания с поверхности в скважинные устройства, и настоящее изобретение применимо в вариантах осуществления для передачи с помощью обсадной колонны.
Если другие пакеры или центраторы (не показаны) введены между изолированной соединительной муфтой 68 для насосно-компрессорных труб и пакером 42, то их можно ввести в состав электрического изолятора для того, чтобы предотвратить короткое замыкание между насосно-компрессорной колонной 40 и обсадной колонной 30. Такую электрическую изоляцию с помощью дополнительных пакеров или центраторов можно достигнуть различными способами, очевидными для специалистов.
Альтернативой (или дополнением) для изолированной соединительной муфты 68 для насосно-компрессорных труб может служить другой индукционный дроссель 168 (фиг.3А), который можно разместить вокруг насосно-компрессорной колонны 40 выше местоположения электрического соединения для первого вывода 61 компьютера в насосно-компрессорной колонне 40, и/или подвеска 64, которой может быть изолированная подвеска 268 (фиг.3В), имеющие изоляторы 269 для электрической изоляции насосно-компрессорной колонны 40 от обсадной колонны 30.
На фиг.4 изображен увеличенный вид в разрезе части скважины 20 (фиг.1), показывающий индукционный дроссель 70 и скважинное устройство 50. Для предпочтительного варианта осуществления, показанного на фиг.1, скважинное устройство 50 содержит модуль 84 связи и управления, газлифтный клапан 86 с электрическим управлением, датчик 88 и модуль 90 хранения энергии. Предпочтительно, чтобы все элементы скважинного устройства 50 находились вместе в одном, запечатанном коллекторе 92 насосно-компрессорной колонны как один модуль для облегчения обработки и установки, а также защиты элементов от воздействия окружающей среды. Однако в других вариантах осуществления настоящего изобретения элементы скважинного устройства 50 могут находиться отдельно (то есть не в коллекторе 92 насосно-компрессорной колонны) или объединены в других комбинациях.
Модуль 84 связи и управления содержит индивидуально адресуемый модем 94, контроллер 96 двигателя и интерфейс 98 датчика. Так как модем 94 скважинного устройства 50 является индивидуально адресуемым, то внутри одной и той же буровой скважины 20 можно установить и использовать независимо от других более одного скважинного устройства. Модуль 84 связи и управления электрически подсоединен к модулю 90 хранения энергии (на фиг.4 не показаны соединительные провода) для приема питания из модуля 90 хранения энергии так, как это необходимо. Модем 94 электрически подсоединен к насосно-компрессорной колонне 40 через первый и второй выводы 71, 72 устройства (электрические соединения между модемом 94 и выводами 71, 72 устройства не показаны). Следовательно, модем 94 может поддерживать связь с поверхностной компьютерной системой 52 или с другими скважинными устройствами (не показаны) с использованием насосно-компрессорной колонны 40 и/или обсадной колонны 30 в качестве электрического проводника для сигнала.
Газлифтный клапан 86 с электрическим управлением содержит электродвигатель 100, клапан 102, впускное отверстие 104 и выпускное сопло 106. Электродвигатель 100 электрически подсоединен к модулю 84 связи и управления в контроллере 96 двигателя (электрические соединения между двигателем 100 и контроллером 96 двигателя не показаны). Клапан 102 механически приводится в действие с помощью электродвигателя 100 в ответ на сигналы управления из модуля 84 связи и управления. Такие сигналы управления из модуля 84 связи и управления могут поступать из поверхностной компьютерной системы 52 или из другого скважинного устройства (не показаны) через модем 94. В альтернативном варианте сигнал управления для управления электродвигателем 100 можно вырабатывать внутри скважинного устройства 50 (например, в ответ на результаты измерений датчика 88). Следовательно, клапан 102 можно непрерывно регулировать, открывать, закрывать или дросселировать с помощью модуля 84 связи и управления и/или поверхностной компьютерной системы 52. Предпочтительно, чтобы электродвигатель 100 был шаговым двигателем для обеспечения регулировки клапана 102 с известными приращениями. При наличии в кольцевом пространстве 44 газа под давлением его можно нагнетать управляемым способом во внутреннюю часть 108 насосно-компрессорной колонны 40 с помощью клапана 86 с электрическим управлением (через впускное отверстие 104, клапан 102 и выпускное сопло 106) для образования пузырьков 110 газа внутри потока флюида для подъема флюида на поверхность во время операций добычи.
Датчик 88 электрически подсоединен к модулю 84 связи и управления в интерфейсе 98 датчика. Датчик 88 может быть датчиком или преобразователем любого типа, адаптированным для обнаружения или измерения значений физических величин внутри буровой скважины 20, включающих в себя (но не ограничивающих) давление, температуру, акустические формы сигналов, химический состав, концентрацию химических элементов, наличие материала индикатора или скорость потока. В других вариантах осуществления можно использовать многочисленные датчики. Кроме того, может измениться размещение датчика 88. Например, в общем случае, можно использовать дополнительный или альтернативный датчик, адаптированный для измерения давления внутри кольца 44.
Как показано на фиг.4, модуль 90 хранения энергии содержит устройства 112 хранения энергии, схему 114 регулирования питания, логическую схему 116 и схему 118 задержки во времени, каждая из которых электрически соединены вместе для образования модуля 90 хранения энергии (на фиг.4 электрические соединения не показаны). Модуль 90 хранения энергии электрически подсоединен к насосно-компрессорной колонне 40 к напряжению, возникающему на концах индукционного дросселя 70, как описано выше. Модуль 90 хранения энергии также электрически подсоединен к модулю 84 связи и управления (электрические соединения не показаны на фиг.4) для подачи к нему питания, когда питание не доступно от поверхностной компьютерной системы 52 через насосно-компрессорную колонну 40 и/или обсадную колонну 30. Модуль 90 хранения энергии и модуль 84 связи и управления можно также соединить проводами с возможностью коммутации так, чтобы на модуль 84 связи и управления (и, следовательно, модем 94, электродвигатель 100 и датчик 88) всегда подавалось питание только с помощью устройств 112 хранения энергии, и устройства хранения энергии периодически перезаряжались с помощью источника 54 питания с поверхности через насосно-компрессорную колонну 40 и/или обсадную колонну 30.
В предпочтительном варианте осуществления, показанном на фиг.4, устройствами 112 хранения энергии являются конденсаторы. В альтернативно варианте устройствами 112 хранения энергии могут быть перезаряжающиеся устройства хранения электроэнергии, адаптированные к хранению и разряду электрической энергии так, как это необходимо.
На логическую схему 116 питание подается предпочтительно с помощью выводов 71, 72 устройства (подсоединение электрического питания для логической схемы не показано), а не с помощью устройств 112 хранения энергии. Питание на логическую схему 116 с помощью выводов 71, 72 устройства можно подавать из других скважинных устройств (не показано) или из поверхностного источника 54 питания и через мост 136 для подачи постоянного тока в логическую схему. Таким образом, логическая схема 116 позволяет заменить переключатели 121, 122, 131, 132 в схеме 114 регулирования питания, когда устройства 112 хранения энергии не заряжены. В альтернативном варианте логическая схема 116 может также получать питание из устройств 112 хранения энергии с помощью выводов 71, 72 устройства, при их наличии, или логическая схема 116 может содержать свой собственный перезаряжающийся аккумулятор, принимая во внимание изменение переключателей 121, 122, 131, 132 в схеме 114 регулирования питания, когда устройства 112 хранения энергии не заряжены и когда отсутствует питание, подаваемое через выводы 71, 72 устройства. Кроме того, на логическую схему 116 можно подать питание только с помощью одного или более устройств 112 хранения энергии.
На фиг.5 изображена упрощенная электрическая схема для скважинного устройства 50 (фиг.1 и 4) с конкретным акцентом на модуль 90 хранения энергии. Схема 114 регулирования питания модуля 90 хранения энергии содержит первую группу переключателей 121, вторую группу переключателей 122, первый переключатель 131 нагрузки, второй переключатель 132 нагрузки, стабилитрон 134 и двухполупериодную схему 136 выпрямителя. Схема 114 регулирования питания адаптирована для обеспечения параллельной конфигурации цепи на концах устройств 112 хранения энергии для заряда и последовательной конфигурации цепи на концах устройств 112 хранения энергии для разряда.
В процессе работы схема 114 регулирования питания, показанная на фиг.5, учитывает многие возможные конфигурации цепей. Когда первая группа переключателей 121 замкнута и вторая группа переключателей 122 разомкнута, параллельная конфигурация цепи образуется на концах устройств 112 хранения энергии, и, следовательно, уровень напряжения на концах всех устройств 112 хранения энергии является одинаковым, и вместе они могут работать с более высокой токовой нагрузкой. Когда первая группа переключателей 121 разомкнута и вторая группа переключателей 122 замкнута, последовательная конфигурация цепи образуется на концах устройств 112 хранения энергии, и, следовательно, уровни напряжения устройств 112 хранения энергии суммируются вместе для образования большого общего напряжения в схеме 114.
Кроме того, схема 114 регулирования питания, показанная на фиг.5, учитывает многие возможные конфигурации цепей для подачи питания на модуль 84 связи и управления, электрически подсоединенный к ней. Когда необходимо питание для модуля 84 связи и управления или когда оно подается на модуль 84 связи и управления, первый переключатель 131 нагрузки замкнут, но положения других переключателей могут изменяться. Так как подачей питания в модуль 84 связи и управления можно управлять с помощью первого переключателя 131 нагрузки, заряды в устройствах 112 хранения энергии могут сохраняться, когда модуль 84 связи и управления не нужен, и использованием модуля 84 связи и управления можно управлять (то есть включать или выключать модуль 84 связи и управления). Второй переключатель 132 нагрузки выполнен для разделения схемы 114 регулирования питания от цепи буровой скважины. Например, если питание на модуль 84 связи и управления должно подаваться только с помощью устройств 112 хранения энергии, то второй переключатель 132 нагрузки разомкнут. Таким образом, при замкнутом первом переключателе 131 нагрузки, разомкнутом втором переключателе 132 нагрузки, разомкнутой первой группой 121 переключателей и замкнутой второй группой 122 переключателей, образованная последовательная цепь обеспечивает уровень напряжения для модуля 84 связи и управления, равный сумме уровней напряжения устройства 112 хранения энергии. При замкнутом первом переключателе 131 нагрузки, разомкнутом втором переключателе 132 нагрузки, замкнутой первой группой 121 переключателей и разомкнутой второй группой 122 переключателей образованная параллельная цепь обеспечивает уровень напряжения для модуля 84 связи и управления, равный уровню напряжения каждого устройства 112 хранения энергии, который ниже, чем в последовательной конфигурации. Однако параллельная конфигурация обеспечивает низкое напряжение при более высокой продолжительности или токовой нагрузке модуля 84 связи и управления, чем при последовательной конфигурации. Следовательно, предпочтительная конфигурация цепи (параллельная или последовательная) для питания устройства будет зависеть от потребляемой мощности устройства.
Питание в модуль 84 связи и управления может также подаваться исключительно из цепи буровой скважины (с помощью первого и второго выводов 71, 72 устройства) путем замыкания первого переключателя 131 нагрузки, замыкания второго переключателя 132 нагрузки и размыкания первой и второй групп 121, 122 переключателей. Кроме того, такая конфигурация для схемы 114 регулирования питания может быть необходимой, когда сигналы связи поступают в или из модуля 84 связи и управления. Стабилитрон 134 обеспечивает защиту от перенапряжения, но можно также предусмотреть и другие типы устройств защиты от перенапряжения и/или перегрузок по току. Питание и/или сигналы связи, поданные на первый и второй выводы 71, 72 устройства (через насосно-компрессорную колонну 40 и/или обсадную колонну 30), можно подавать с помощью поверхностного источника 54 питания, другого скважинного устройства (не показано) и/или другого скважинного модуля хранения энергии (не показано). Кроме того, питание в модуль 84 связи и управления можно подавать с помощью цепи буровой скважины и устройства 112 хранения энергии путем замыкания первого переключателя 131 нагрузки, замыкания второго переключателя 132 нагрузки и замыкания первой или второй группы 121, 122 переключателей.
Для заряда устройств 112 хранения энергии с помощью цепи буровой скважины второй переключатель 132 нагрузки замыкается и подсоединяет схему 114 регулирования питания к цепи буровой скважины через мост 136. Заряд устройств 112 хранения энергии предпочтительно производить при параллельной конфигурации цепи на концах устройств 112 хранения энергии (то есть замкнута первая группа 121 переключателей и разомкнута вторая группа 122 переключателей) и разомкнутой нагрузке модуля 84 связи и управления (разомкнут первый переключатель 131 нагрузки), но устройства 112 хранения энергии можно также зарядить (менее эффективно) при подачи питания на модуль 84 связи и управления. Таким образом, во время операции заряда в предпочтительном варианте осуществления, показанном на фиг.1, 4, 5, переменный ток подается из источника 54 питания в цепь буровой скважины на поверхности и направляется через первый и второй выводы 71, 72 устройства с помощью индукционного дросселя 70. Переменный ток подается через резистор 138 для согласования полного сопротивления, и переменное напряжение выпрямляется с помощью моста 136 для получения постоянного напряжения на концах устройств 112 хранения энергии, которое заряжает устройства 112 хранения энергии.
При переключении между конфигурациями заряда и разряда или изменении конфигураций переключателей возможен автоматизированный процесс с внутренним управлением внутри скважинного устройства 50, можно управлять внешним способом с помощью сигналов управления, поступающих из поверхностной компьютерной системы 52 или из другого скважинного устройства или скважинного контроллера (не показан), или возможна комбинация этих путей. Так как внешние команды не могут поступать или действовать до тех пор, пока на скважинное устройство 50 не будет подано питание, желательно ввести в состав схему автоматического управления, которая обнаруживает разряженное состояние устройств 112 хранения энергии, обнаруживает наличие питания переменным током из поверхностного источника 52 питания через насосно-компрессорную колонну 40 и/или обсадную колонну 30 и, при выполнении обоих условий, автоматически перезаряжает устройства 112 хранения энергии. Поэтому переключение в предпочтительном варианте осуществления (фиг.1, 4, 5) является автоматизированным процессом, автоматически управляемым с помощью логической схемы 116.
Как показано на фиг.5, 6, логическая схема 116 принимает два входных сигнала 141, 142, которые управляют четырьмя выходными сигналами 151, 152, 153, 154 из логической схемы 116. Один из входных сигналов 141 соответствует тому, подан ли переменный ток на концы выводов 71, 72 устройства (например, из поверхностного источника 54 питания). Входной сигнал 141 вырабатывает однополупериодный выпрямитель 156 и конденсатор 158, которые используются вместе для обнаружения наличия переменного тока на концах выводов 71, 72 устройства. Другой входной сигнал 142 несет в себе информацию об уровне напряжения на концах устройств 112 хранения энергии, который является показателем уровня заряда, остающегося в устройствах 112 хранения энергии. Первый из выходных сигналов 151 из логической схемы 116 является командой на размыкание или замыкание первой группы 121 переключателей. Второй из выходных сигналов 152 из логической схемы 116 является командой на размыкание или замыкание второй группы 122 переключателей. Третий из выходных сигналов 153 является командой на размыкание или замыкание первого переключателя 131 нагрузки, подсоединяющего модуль 84 связи и управления к схеме 114 регулирования питания. Четвертый из выходных сигналов 154 является командой на размыкание или замыкание второго переключатель 132 нагрузки, подсоединяющего выводы 71, 72 устройства к схеме 114 регулирования питания через мост 136.
Логический алгоритм, реализованный в предпочтительном варианте осуществления (фиг.1, 4, 5, 6), показан на фиг.7 с помощью диаграммы состояний. На диаграмме состояний (фиг.7) блоки представляют собой состояния системы, и стрелками показаны переходы между состояниями, которые происходят при выполнении условий или события. При начале операции в нижнем левом блоке 161, который является начальным состоянием или состоянием по умолчанию, замыкается первая группа 121 переключателей, размыкается вторая группа 122 переключателей, размыкается первый переключатель 131 нагрузки и замыкается второй переключатель 132 нагрузки. Следовательно, устройства 112 хранения энергии имеют параллельную конфигурацию и готовы принять заряд из моста 136. Сигнал об их состоянии заряда подается на соединитель 142 и составляет менее 1,5 Вольт, однако логическая схема 116 при этом выключена. В состоянии 161 система рассматривается как неактивная, при этом устройства хранения энергии рассматриваются разомкнутыми, но готовыми принять заряд.
Когда переменный ток протекает через цепь буровой скважины параллельно выводам 71, 72 устройства, устройства 112 хранения энергии начинают заряжаться, и система переходит в состояние 162. В состоянии 162, если устройства 112 хранения энергии были заряжены до точки, где их напряжение достигает 1,5 Вольт, система переходит в состояние 163, логическая схема 116 активизируется и затем может реагировать на напряжения на линиях 141, 142. В состоянии 162, если переменный ток перестает протекать при достижении 1,5 Вольт на устройствах 112 хранения энергии, схема переходит обратно в состояние 161, неактивное, но готовое к приему большого заряда.
В состоянии 163 устройства 112 хранения энергии продолжают принимать заряд, и логическая схема 116 контролирует напряжение на линиях 141 и 142. При выключении питания по переменному току логическая схема реагирует на это условие посредством линии 141, и система переходит в состояние 164.
В состоянии 164 логическая схема 116 размыкает группу 121 переключателей, замыкает группу 122 переключателей, размыкает переключатель 132 и запускает схему задержки во времени. Цель задержки заключается в том, чтобы разрешить переключение переходов из параллельной конфигурации в последовательную устройств 112 в режиме замирания, при этом задержка является кратковременной порядка нескольких миллисекунд. Если питание переменным током включают снова в момент, когда таймер задержки все еще работает, переходы системы назад возвращаются в состояние 162, в противном случае система переходит в состояние 165, когда время задержки истекло.
В состоянии 165 логическая схема 116 поддерживает группу 121 переключателей разомкнутой и группу 122 переключателей замкнутой, но замыкает переключатель 131 нагрузки для подачи питания в главную нагрузку 84. Система остается в состоянии 165 до тех пор, пока питание переменным током не появится снова, которое возникает на линии 141, или до тех пор, пока устройства хранения электроэнергии не будут разряжены с тем, чтобы напряжение, возникающее на линии 142, не упадет ниже уровня 7,5 Вольт. Если появляется питание переменным током, то система переходит в состояние 162 со своими связанными установочными параметрами для переключателей 121, 122, 131, 132. Если устройства хранения разряжены перед повторным появлением переменного тока, то система переходит в состояние 161 со своими связанными установочными параметрами для переключателей 121, 122, 131, 132.
Система, описанная со ссылкой на фиг.7, гарантирует, что скважинное оборудование можно активизировать с помощью определенной процедуры из неактивного и разряженного состояния 161, и сразу после ее заряда и активизации она переходит в известное состояние. Понятно, что выполнение этого требования является необходимым элементом при успешной реализации недоступных устройств, которые работают с использованием запасенной энергии, когда устройства хранения энергии могут стать разряженными.
Как описано со ссылкой на диаграмму состояний (фиг.7), скважинное устройство 50 передает данные или информацию о результатах измерений вверх по стволу скважины в поверхностную компьютерную систему 52, использующую модем 94 только в случае, когда не осуществляется питание переменным током из поверхностного источника 54 питания. Это помогает устранить шум во время передачи вверх по стволу скважины из скважинного устройства 50 в поверхностную компьютерную систему 52. Специалистам ясно, что логика управления алгоритмом логической схемы 116 описанного предпочтительного варианта осуществления приводится здесь только в качестве иллюстрации и может изменяться.
При управлении циклом заряда-разряда устройств 112 хранения энергии с помощью схемы 114 регулирования питания и логической схемой 116 даже строго ограниченную применимость скважинного питания можно использовать для заряда устройств 112 хранения энергии, и питание можно извлечь для возбуждения электрического или электронного оборудования с гораздо более высокой скоростью, чем скорость заряда. Типичное скважинное электрическое оборудование может включать в себя (но не ограничивать) электродвигатели, приводы заслонок и приводов и источники акустических сигналов. Такое электрическое оборудование часто требует высокой мощности питания во время использования, но при этом используется только периодически по команде. Следовательно, настоящее изобретение предусматривает способы заряда скважинных устройств 112 хранения энергии с одной скоростью (например, наличие ограниченного питания) и разряда запасенной энергии в устройствах 112 хранения энергии с другой скоростью (например, кратковременная нагрузка большой мощности). Поэтому среди других вещей настоящее изобретение позволяет преодолеть многочисленные трудности, вызванные ограничениями по питанию, имеющемуся в скважине.
Характерной особенностью устройств 112 хранения энергии (химические источники тока и конденсаторы) является то, что их отдельная рабочая мощность может быть ограничена значениями, которые ниже тех, которые необходимы для работы электроники или электрического оборудования, размещенного в скважине. В случаях, где скважинное питание строго ограничено потерями на пути передачи энергии, мощность питания, которую можно развить, может быть ограничена значениями, которые ниже, чем это необходимо для обеспечения нормальной работы электрических схем.
По своей природе скважинные устройства 50 часто размещаются в группах внутри буровой скважины. По сравнению с их расстоянием от поверхности интервал между скважинными устройствами внутри группы является маленьким. Из-за их относительно близкого расположения друг к другу иногда выгодно переносить питание от одного скважинного устройства к другому с использованием насосно-компрессорной колонны 40 и/или обсадной колонны 30 в качестве электрических проводников или путей передачи энергии между ними. Такой способ распределения питания зависит от обеспечения управляемой связи для выбора конфигурации соединений между модулями хранения энергии в каждом скважинном устройстве и нагрузкой, которую может иметь другое скважинное устройство. Такую управляемую связь можно выполнить с помощью внутренней электроники с одним или более скважинными устройствами, а также с помощью поверхностной компьютерной системы 52 или их комбинации. Следовательно, питание от скважинных устройств, которых в группе больше одного, можно подать в одну точку, обеспечивая тем самым более высокое потребление мощности в этой точке использования по сравнению со случаем, когда каждое скважинное устройство полагается только на свою собственную локальную емкость хранения энергии. Аналогично, в случае, где хранение энергии внутри отдельного скважинного устройства оказалось неудачным, устройство можно подключить к питанию от соседних устройств. Таким образом, устройства хранения энергии, вышедшие из строя, можно вывести из работы без исключения из использования скважинного устройства, которое испытывало сбои при хранения энергии.
В других возможных вариантах осуществления настоящего изобретения, имеющих многочисленные скважинные устройства (не показаны), каждое скважинное устройство 50 содержит устройства 112 хранения энергии, которые могут обеспечивать питание только одного скважинного устройства 50 или могут переключаться для подачи питания в насосно-компрессорную колонну 40 и/или обсадную колонну 30. Каждое скважинное устройство 50 может потреблять питание только из своих собственных локальных устройств 112 хранения энергии или иметь свое местное питание, пополняемое за счет потребления питания из насосно-компрессорной колонны 40 и/или обсадной колонны 30. В последнем случае питание может подаваться из других устройств 112 хранения энергии, расположенных в соседних скважинных устройствах 50, как описано выше, и/или из поверхностного источника 54 питания.
В других возможных вариантах осуществления настоящего изобретения каждый переключатель первой и второй групп 121, 122 переключателей можно независимо размыкать или замыкать для того, чтобы обеспечить множество уровней напряжения для нагрузки или нагрузок путем изменения положений переключателя. Таким образом, отдельные и независимые выходные напряжения с низким уровнем можно подавать параллельно на множество нагрузок (для ряда нагрузок или для множества режимом нагрузки) при сохранении способности заряда всех устройств 112 хранения энергии.
Элементы скважинного устройства 50 можно изменять для получения других возможных вариантов осуществления настоящего изобретения. Некоторые возможные элементы, которые можно заменить на или добавить к элементам скважинного устройства, включают в себя (но не ограничивают) электрический серводвигатель, другой электродвигатель, другие датчики, преобразователи, электрически управляемое устройство нагнетания индикатора, электрически управляемое устройство нагнетания химреагентов, резервуар для химреагентов или индикатора, клапан с электрическим управлением, релейный модем, преобразователь, компьютерная система, запоминающее устройство, микропроцессор, силовой трансформатор, гидравлический насос с электрическим управлением и/или привод, пневматический насос с электрическим управлением и/или привод или любая их комбинация.
Кроме того, элементы модуля 90 хранения энергии могут изменяться, но он будет всегда иметь, по меньшей мере, одно устройство 112 хранения энергии. Например, модуль 90 хранения энергии может быть таким же простым, как и отдельное устройство 112 хранения энергии и некоторые провода для его электрического подсоединения. Модуль 90 хранения энергии может быть очень сложным, содержащим, например, ряд устройств 112 хранения энергии, микропроцессор, запоминающее устройство, плату управления, цифровой ваттметр, цифровой вольтметр, цифровой амперметр, многочисленные переключатели и модем. С другой стороны, модуль 90 хранения энергии может располагаться посередине между этими случаями, как устройство сохранения энергии.
Специалистам будет ясно, что настоящее изобретение предусматривает нефтяную эксплуатационную скважину и способ работы буровой скважины для подачи питания и сохранения энергии в скважине. Следует понимать, что чертежи и подробное описание приведены здесь в иллюстративных, а не в ограничительных целях и не предназначены для ограничения изобретения конкретными формами и раскрытыми примерами. Напротив, изобретение включает в себя любые дополнительные модификации, изменения, перестановки, замены, альтернативные варианты, выбор конструкции и варианты осуществления, ясные специалистам, без отклонения от сущности и масштаба настоящего изобретения, как определенный модуль 90 предпочтительного варианта осуществления, описанного здесь и показанного на фиг.1, 4, 5.
Настоящее изобретение можно применять к любому типу нефтяной скважины (например, скважина разведочных работ, нагнетательная скважина, эксплуатационная скважина), где питание в скважине необходимо для электронного или электрического оборудования. Настоящее изобретение можно также применять к другим типам скважин (отличающихся от нефтяных скважин), таких как водозаборная скважина.
Настоящее изобретение можно включить много раз в одну нефтяную скважину, имеющую одну или более продуктивных зон, или в нефтяную скважину, имеющую многочисленные боковые или горизонтальные завершения, простирающиеся из нее. Так как конфигурация буровой скважины зависит от расположения природных образований и местоположения продуктивных зон, число применений и размещение варианта осуществления настоящего изобретения могут соответственно изменяться для того, чтобы удовлетворить требованиям образования или удовлетворить требованиям добычи или нагнетания в буровую скважине с помощью следующей формулы изобретения. Таким образом, подразумевается, что следующая ниже формула изобретения охватывает все такие дополнительные модификации, изменения, перестановки, замены, альтернативы, выбор конструкции и варианты осуществления.
Формула изобретения
1. Система для подачи питания в скважинное устройство, содержащая устройство полного сопротивления по току, концентрически расположенное вокруг трубопроводной структуры скважины для, по меньшей мере, частичного образования проводящей части для передачи электрического тока, изменяющегося во времени, через и вдоль проводящей части трубопроводной структуры, и устройство хранения энергии, адаптированное для электрического подсоединения к проводящей части трубопроводной структуры, для перезаряда с помощью электрического тока, изменяющегося во времени, и для подсоединения к скважинному устройству для подачи питания в скважинное устройство.
2. Система по п. 1, в которой устройство хранения энергии содержит вторичный химический источник тока.
3. Система по п. 1, в которой устройство хранения энергии содержит аккумулятор.
4. Система по п. 1, в которой устройство хранения энергии содержит конденсатор.
5. Система по п. 1, в которой устройством полного сопротивления по току является индукционный дроссель, неподключенный к электропитанию, содержащий ферромагнитный материал и обеспечивающий создание полного сопротивления по электрическому току, изменяющемуся во времени, в стенке трубопроводной структуры, зависящего от размера, геометрии и магнитных свойств индукционного дросселя и его расположения относительно трубопроводной структуры.
6. Система по п. 1, в которой трубопроводная структура содержит, по меньшей мере, часть эксплуатационной насосно-компрессорной колонны скважины.
7. Система по п. 1, в которой трубопроводная структура содержит, по меньшей мере, часть обсадной колонны скважины.
8. Система по п. 1, дополнительно содержащая схему регулирования питания, адаптированную для переключения между зарядной конфигурацией электрической схемы и разрядной конфигурацией электрической схемы для устройства хранения энергии.
9. Система по п. 8, дополнительно содержащая логическую схему, адаптированную для автоматического управления схемой регулирования питания.
10. Нефтяная скважина, содержащая трубопроводную структуру, имеющую электропроводную часть и проходящую между поверхностью и местоположением скважины, источник питания, расположенный на поверхности и электрически подсоединенный к электропроводной части трубопроводной структуры и адаптированный к выходному току, изменяющемуся во времени, устройство полного сопротивления, расположенное вокруг трубопроводной структуры для, по меньшей мере, частичного образования электропроводной части трубопроводной структуры, скважинный модуль хранения энергии, содержащий устройство хранения энергии и связанный с электропроводной частью трубопроводной структуры, и устройство с электропитанием, расположенное в скважине и электрически подсоединенное к модулю хранения энергии.
11. Нефтяная скважина по п. 10, в которой устройство с электропитанием содержит датчик.
12. Нефтяная скважина по п. 10, в которой устройство с электропитанием содержит преобразователь.
13. Нефтяная скважина по п. 10, в которой устройство с электропитанием содержит клапан с электрическим управлением.
14. Нефтяная скважина по п. 10, в которой устройство с электропитанием содержит электродвигатель.
15. Нефтяная скважина по п. 10, в которой устройство с электропитанием содержит модем.
16. Нефтяная скважина по п. 10, в которой устройство с электропитанием содержит систему нагнетания химических реагентов.
17. Нефтяная скважина по п. 10, в которой трубопроводная структура содержит, по меньшей мере, часть эксплуатационной насосно-компрессорной колонны скважины, и цепь обратного тока содержит, по меньшей мере, часть обсадной колонны скважины.
18. Нефтяная скважина по п. 10, в которой трубопроводная структура содержит, по меньшей мере, часть обсадной колонны скважины.
19. Нефтяная скважина по п. 10, в которой цепь обратного тока является цепью обратного тока через землю.
20. Нефтяная скважина по п. 10, дополнительно содержащая схему регулирования питания, адаптированную для переключения между зарядной конфигурацией электрической схемы и разрядной конфигурацией электрической схемы для модуля хранения энергии.
21. Нефтяная скважина по п. 20, дополнительно содержащая логическую схему, адаптированную для автоматического управления схемой регулирования питания.
22. Нефтяная скважина по п. 10, в которой устройство хранения энергии содержит вторичный химический источник тока.
23. Нефтяная скважина по п. 10, в которой устройство хранения энергии содержит аккумулятор.
24. Нефтяная скважина по п. 10, в которой устройство хранения энергии содержит конденсатор.
25. Нефтяная скважина, содержащая обсадную колонну, проходящую в стволе скважины, эксплуатационную насосно-компрессорную колонну, проходящую в обсадной колонне, источник питания, расположенный на поверхности, электрически подсоединенный и адаптированный для подачи электрического тока, изменяющегося во времени, в, по меньшей мере, насосно-компрессорную колонну или обсадную колонну, скважинный модульхранения энергии, электрически подсоединенный к, по меньшей мере, насосно-компрессорной колонне или обсадной колонне, скважинное устройство с электропитанием, электрически подсоединенное к модулю хранения энергии, скважинный индукционный дроссель, расположенный вокруг части, по меньшеймере, одной из насосно-компрессорной колонны и обсадной колонны, и адаптированный для направления части электрического тока в устройство хранения энергии.
26. Нефтяная скважина по п. 25, в которой индукционный дроссель не подключен к питанию и содержит ферромагнитный материал.
27. Нефтяная скважина по п. 25, в которой модуль хранения энергии содержит вторичный химический источник тока.
28. Нефтяная скважина по п. 25, в которой модуль хранения энергии содержит аккумулятор.
29. Нефтяная скважина по п. 25, в которой модуль хранения энергии содержит конденсатор.
30. Нефтяная скважина по п. 25, дополнительно содержащая схему регулирования питания, адаптированную для переключения между зарядной конфигурацией электрической схемы и разрядной конфигурацией электрической схемы для модуля хранения энергии.
31. Нефтяная скважина по п. 30, дополнительно содержащая логическую схему, адаптированную для автоматического управления схемой регулирования питания.
32. Способ работы нефтяной скважины, содержащий следующие этапы: обеспечение электропроводности трубопроводной структуры в стволе скважины, по меньшей мере, частично с помощью устройства полного сопротивления по току; подачу питания в электропроводную часть трубопроводной структуры, причем источник питания адаптирован к выходному току, изменяющемуся во времени; сохранение электрической энергии в скважинном модуле хранения энергии; зарядку модуля хранения энергии с помощью тока, изменяющегося во времени, при добыче нефтепродуктов из скважины; разрядку устройства хранения энергии так, как это необходимо для питания устройства с электропитанием, расположенного в скважине при добыче нефтепродуктов из скважины.
33. Способ по п. 32, в котором используют модуль хранения энергии, включающий устройство с электропитанием, содержащее датчик и модем, и который дополнительно содержит этапы обнаружения значения физической величины в скважине с помощью датчика и передачи данных о физической величине в поверхностное устройство с использованием модема и через трубопроводную структуру.
34. Способ по п. 33, в котором передача данных о физической величине выполняется при отсутствии зарядки устройства хранения энергии от источника питания.
| 35. Способ по п. 32, в которой используют модуль хранения энергии, включающий множество устройств хранения энергии, и который содержит этапы параллельной зарядки устройств храненияэнергии, и последовательной |
разрядки устройств хранения энергии. |
36. Способ питания скважинного устройства, содержащий следующие этапы: обеспечение скважинного модуля хранения энергии, содержащего первую группу электрических переключателей, вторую группу электрических переключателей, два или более устройств хранения энергии и логическую схему; при подаче тока в модуль хранения энергии замыкание первой группы переключателей и размыкание второй группы переключателей для формирования параллельной схемы на концах устройств хранения энергии и зарядка устройств хранения энергии; во время заряда, при прекращении протекания тока, поданного к модулю хранения энергии и при наличии у устройств хранения энергии уровня напряжения, меньшего, чем первый заданный уровень напряжения, размыкание первой группы переключателей и замыкание второй группы переключателей для формирования последовательной схемы на концах устройств хранения энергии и разрядку этих устройств так, как это необходимо для питания скважинного устройства; во время заряда, при наличии у устройств хранения энергии уровня напряжения, превышающего первый заданный уровень напряжения, включение логической схемы; при включении логической схемы ожидание тока, подаваемого в модуль хранения энергии, для прекращения протекания тока; при прекращении протекания тока осуществление задержки во времени в течение заданного интервала времени; при возобновлении протекания тока до истечения заданного интервала времени, продолжение заряда устройств хранения энергии; при истечении заданного интервала времени размыкание первой группы переключателей и замыкание второй группу переключателей для образования последовательной схемы на концах устройств хранения энергии; разрядку устройств хранения энергии так, как это необходимо для питания скважинного устройства; при возобновлении протекания тока замыкание первой группы переключателей и размыкание второй группу переключателей для образования параллельной схемы на концах устройств хранения энергии; зарядку устройств хранения энергии; при падении уровня напряжения устройств хранения энергии ниже второго заданного уровня напряжения выключение логической схемы.
37. Способ по п. 36, дополнительно содержащий этап передачи данных из скважинного устройства в поверхностный модем при превышении заданного интервала времени задержки во времени, отсутствии подачи тока в модуль хранения энергии и превышении уровня напряжения устройств хранения второго заданного уровня напряжения.
РИСУНКИ
|
|