|
|
(21), (22) Заявка: 2002126207/03, 02.03.2001
(24) Дата начала отсчета срока действия патента:
02.03.2001
(30) Конвенционный приоритет:
02.03.2000 US 60/186,393
(43) Дата публикации заявки: 20.02.2004
(45) Опубликовано: 20.08.2005
(56) Список документов, цитированных в отчете о поиске:
US 5447201 A, 05.09.1995. RU 2136856 С1, 10.09.1999. RU 2130112 С1, 10.05.1999. SU 1705552 А1, 15.01.1992. RU 2137910 С1, 20.09.1999. US 4839644 A, 13.06.1989. EP 0964134 A2, 15.12.1999.
(85) Дата перевода заявки PCT на национальную фазу:
02.10.2002
(86) Заявка PCT:
US 01/06802 (02.03.2001)
(87) Публикация PCT:
WO 01/65063 (07.09.2001)
Адрес для переписки:
129010, Москва, ул. Б.Спасская, 25, стр.3, ООО “Юридическая фирма Городисский и Партнеры”, пат.пов. С.А.Дорофееву
|
(72) Автор(ы):
СТЕДЖЕМЕЙЕР Джордж Лео (US), ВАЙНГАР Харолд Дж. (US), БЕРНЕТТ Роберт Рекс (US), СЕВЕДЖ Вилльям Маунтджой (US), КАРЛ Фредерик Гордон мл. (US), ХЕРШ Джон Мишель (US)
(73) Патентообладатель(и):
ШЕЛЛ ИНТЕРНЭШНЛ РИСЕРЧ МААТСХАППИЙ Б.В. (NL)
|
(54) НЕФТЯНАЯ СКВАЖИНА, СПОСОБ ДОБЫЧИ НЕФТИ ИЗ НЕФТЯНОЙ СКВАЖИНЫ И СПОСОБ УПРАВЛЯЕМОГО НАГНЕТАНИЯ ФЛЮИДА В ФОРМАЦИЮ ЧЕРЕЗ СКВАЖИНУ
(57) Реферат:
Изобретение относится к нефтегазодобыче и может быть использовано для регулирования потока флюида в процессе добычи. Скважина содержит обсадную колонну с множеством перфорированных секций и эксплуатационную насосно-компрессорную колонну (НКТ), проходящую в обсадной колонне. На поверхности расположен источник переменного тока, электрически подсоединенный к, по меньшей мере, одной из указанных колонн так, что, по меньшей мере, одна из них является электрическим проводником для передачи переменного электрического тока от поверхности в скважину. Имеется управляемая скважинная секция (УСС), содержащая модуль связи и управления, электрически подсоединенный к, по меньшей мере, одной из колонн и содержащий электрически подсоединенные к нему датчик и клапан с электрическим управлением, предназначенный для регулирования потока между внешней и внутренней частями НКТ на основании, по меньшей мере, частично, измерений датчика. Для добычи нефти обеспечивают множество УСС, некоторые из которых дополнительно содержат замедлитель потока, расположенный вокруг части НКТ. Посредством замедлителей потока препятствуют прохождению потока флюида между УСС. Измеряют характеристику флюида в каждой УСС посредством датчика, и на основании результатов измерений регулируют поток флюида в, по меньшей мере, одной УСС посредством клапанов, и осуществляют добычу нефтепродуктов из скважины через НКТ. При нагнетании флюида регулируют описанным образом поток флюида из внутренней части НКТ во внешнюю, при этом замедлителем потока оборудуют каждую УСС. Замедлителем потока может служить пакер или электрически управляемый пакер, содержащий электрически управляемый клапан или расширенная часть НКТ или муфта, расположенная вокруг НКТ в перфорированной части обсадной колонны. В качестве датчиков могут быть использованы датчики потока, давления, плотности флюида или преобразователь акустических сигналов. Изобретения направлены на обеспечение динамического управления процессом добычи нефти для оптимизации указанного процесса. 3 н и 29 з.п.ф-лы, 6 ил. 
Изобретение относится к нефтяной скважине, способу добычи нефти из нефтяной скважины и способу управляемого нагнетания флюида в формацию через скважину.
Достижение высоких коэффициентов извлечения из мощных коллекторов углеводородов требует одинаковой продуктивности скважин, завершенных на длинных интервалах.
В вертикальных скважинах необсаженные интервалы обычно включают ряд геологических слоев, имеющих разнообразные петрофизические свойства и начальные условия продуктивного пласта. Изменение проницаемости и, особенно, начального давления в продуктивном пласте приводит к неравномерному истощению слоев, если слои разрабатывают с одним перепадом давления. При эксплуатации месторождения слои с высокой проницаемостью истощаются быстрее, чем плотные слои, и слои с высоким давлением могут даже перетекать в слои с более низким давлением.
В горизонтальных скважинах, необсаженный интервал завершения обычно содержится в одном геологическом слое. Однако неравномерный приток может возникать в результате падения давления вдоль буровой скважины. Этот эффект особенно очевиден в длинных интервалах завершения, где пластовое давление практически равно давлению в буровой скважине на дальнем конце (мысок). В этом случае, в мысок притока почти не происходит. На другом конце необсаженного интервала около вертикальной части буровой скважины (пятка) большая разность между пластовым давлением и давлением в буровой скважине приводит в результате к более высоким скоростям притока в нее. Высокие скорости притока около пятки могут привести к раннему появлению газа, прорывающегося из нисходящего конуса газа, или к раннему появлению воды, прорывающейся из восходящего конуса обводнения.
Профили продуктивности вертикальных скважин описываются с помощью уравнения потока Дарси в устойчивом состоянии для радиального потока:

где
qR=скорость потока [l3t-1]
k=абсолютная проницаемость [I2]
kr=относительная проницаемость [безразмерная величина]
р=спад давления=пластовое давление – давление в скважине [ml-1t-2]
=вязкость [ml-1t-1]
rе=внешний радиус продуктивного пласта [1]
rw=радиус буровой скважины [1]
h=длина необсаженного интервала [1]
Каждый поток флюида можно описать с помощью этого уравнения. В большинстве буровых скважин необходимо производить расчет потока газа, нефти и воды. На начальной стадии эксплуатации месторождения пластовое давление обычно является большим. Если применяют большие перепады давления, профили притока будут равномерны для слоев с одинаковой проницаемостью, так как изменения в начальном пластовом давлении слоев обычно меньше чем перепад давления. Когда буровая скважина выработана, и слои исчерпаны, пластовое давление оказывает воздействие на профили продуктивности в большей степени, потому что некоторые слои могут иметь маленькую депрессию даже в случае, если буровая скважина эксплуатируется при самом низком давлении. Изменения проницаемости среди слоев могут возникать в результате различий по размеру зерна, сортировке и упаковке, или интерференции протекающих флюидов, то есть относительной проницаемости. Прежде зерновая структура минерала не предполагала изменения профиля продуктивности очень сильно во время срока эксплуатации буровой скважины, потому что структура зерна остается неизменной за исключением уплотнения. Но уплотнение позволяет уровнять проницаемость слоев. Эффекты насыщения флюида по проницаемости приводят к профилям с плохой продуктивностью, потому что, например, слой с высокой проницаемостью, вероятно, будет иметь высокое насыщение для специфического флюида, что делает этот слой даже более продуктивным. Во время срока эксплуатации буровой скважины эти эффекты насыщения могут приводить даже к более плохим профилям, так как, например, прорыв газа или воды в буровую скважину приводит в результате к увеличению насыщения прорвавшегося флюида и даже более высокой продуктивности, чем у этого флюида по сравнению с другими слоями.
На профили продуктивности в горизонтальных скважинах можно воздействовать посредством расслоения, если буровая скважина пересекает наклонный пласт или если горизонтальная буровая скважина слегка наклоняется и пересекает непроницаемый пласт. Однако предполагается, что основной эффект будет заключаться в различии перепада давления между мыском и пяткой.
Проблемам, связанным с профилями с плохой продуктивностью в скважинах с длинными завершениями интервала, была посвящена заявка на патент ЕРС №99203017.1 М.И.Амори и др. “Мининасосы в дренажной секции буровой скважины” от 15 сентября 1999, которая включена здесь в качестве ссылки. В этом способе предполагается использовать нескольких кольцевых насосных устройств, расположенных вдоль необсаженного интервала буровой скважины для сдвига падения давления вследствие протекания в буровой скважине и, таким образом, увеличению притока к мыску буровой скважины.
Скважины можно также использовать для нагнетания флюида. Например, иногда используется заводнение для вытеснения углеводородов в образовании по направлению к эксплуатационным скважинам. При заводнении желательно иметь равномерное нагнетание. Следовательно, при нагнетании флюида возникают те же самые проблемы и по тем же самым причинам, как и при обеспечении равномерного нагнетания, которые упомянуты выше для поиска равномерного притока.
Известные пакеры описаны в патентах США №№6148915, 6123148, 3566963 и 3602305.
Целью настоящего изобретения является решение указанных проблем и устранение недостатков известных решений.
Согласно изобретению создана нефтяная скважина, содержащая обсадную колонну, имеющую множество перфорированных секций, по меньшей мере, в ее части, проходящей в стволе скважины, эксплуатационную насосно-компрессорную колонну, проходящую в обсадной колонне, источник тока, изменяющегося во времени, расположенный на поверхности и электрически подсоединенный к, по меньшей мере, насосно-компрессорной колонне или обсадной колонне так, что по меньшей мере насосно-компрессорная колонна или обсадная колонна является электрическим проводником для передачи электрического тока, изменяющегося во времени, от поверхности в скважину, и скважинную управляемую секцию, содержащую модуль связи и управления, датчик и клапан с электрическим управлением, при этом модуль связи и управления, электрически подсоединен к, по меньшей мере, насосно-компрессорной колонне или обсадной колонне, датчик и клапан с электрическим управлением электрически подсоединены к модулю связи и управления, и клапан с электрическим управлением адаптирован для регулировки потока между внешней частью насосно-компрессорной колонны и внутренней частью насосно-компрессорной колонны на основании, по меньшей мере, частично, измерений датчика.
Нефтяная скважина может включать индукционный дроссель, расположенный вокруг части, по меньшей мере, насосно-компрессорной колонны или обсадной колонны и адаптированный для направления части тока через модуль связи и управления за счет возникновения разности потенциалов в, по меньшей мере, насосно-компрессорной колонне или обсадной колонне между одной стороной индукционного дросселя и другой стороной индукционного дросселя, при этом модуль связи и управления электрически подсоединен к разности потенциалов.
Скважинная управляемая секция может дополнительно содержать замедлитель потока, расположенный в обсадной колонне вокруг насосно-компрессорной колонны для обеспечения препятствия прохождению потока флюида в обсадной колонне от одной стороны замедлителя потока до другой стороны замедлителя потока.
Замедлителем потока может быть пакер или электрически управляемый пакер, содержащий электрически управляемый клапан, или расширенная часть насосно-компрессорной колонны или муфта, расположенная вокруг насосно-компрессорной колонны в перфорированной обсадной колонне.
Датчиком может быть датчик потока флюида или датчик давления флюида датчик плотности флюида или преобразователь акустических сигналов.
Нефтяная скважина может дополнительно содержать, по меньшей мере, одну дополнительную скважинную управляемую секцию, причем каждая скважинная секция отделена от другой скважинной секции замедлителем потока, и каждая скважинная секция содержит датчик и клапан с электрическим управлением, причем клапаны с электрическим управлением адаптированы для регулировки потока между внешней частью насосно-компрессорной колонны и внутренней частью насосно-компрессорной колонны, замедлитель потока расположен в перфорированных секциях обсадной колонны и вокруг других частей насосно-компрессорной колонны для предотвращения прохождения потока флюида в перфорированных секциях у каждого замедлителя потока.
Модуль связи и управления, датчик и клапан с электрическим управлением могут быть размещены в коллекторе насосно-компрессорной колонны, связанного с насосно-компрессорной колонной.
Модуль связи и управления может включать модем.
Согласно изобретению создан способ добычи нефти из нефтяной скважины, содержащий следующие этапы:
обеспечение множества скважинных управляемых секций, причем ряд этих секций содержит модуль связи и управления, датчик, клапан с электрическим управлением и замедлитель потока, расположенный в обсадной колонне вокруг части эксплуатационной насосно-компрессорной колонны, модуль связи и управления электрически подсоединен к, по меньшей мере, насосно-компрессорной колонне или обсадной колонне, и клапан с электрическим управлением и датчик электрически подсоединены к модулю связи и управления;
обеспечение препятствия прохождению потоку флюида между скважинными секциями в обсадной колонне с помощью замедлителей потока;
измерение характеристики флюида в каждой скважинной секции с помощью соответствующего датчика;
регулировка потока флюида в насосно-компрессорной колонне с, по меньшей мере одной, скважинной секции с помощью своих соответствующих клапанов с электрическим управлением на основании результатов измерений характеристик флюида;
добыча нефтепродуктов из скважины через насосно-компрессорную колонну.
Способ может дополнительно содержать следующие этапы:
подача тока, изменяющегося во времени, в, по меньшей мере, насосно-компрессорную колонну или обсадную колонну от источника тока, расположенного на поверхности;
обеспечение препятствия протеканию тока с помощью индукционного дросселя, расположенного вокруг, по меньшей мере, насосно-компрессорной колонны или обсадной колонны;
создание разности потенциалов между одной стороной индукционного дросселя и другой стороной индукционного дросселя в, по меньшей мере, насосно-компрессорной колонны или обсадной колонны;
направление тока через, по меньшей мере, один модуль связи и управления посредством разности потенциалов с использованием индукционного дросселя;
подача питания, на по меньшей мере, один модуль связи и управления с использованием разности потенциалов и тока, по меньшей мере, насосно-компрессорной колонны или обсадной колонны.
Способ может дополнительно содержать поддержание связи с, по меньшей мере, одним модулем связи и управления через ток и через, по меньшей мере, насосно-компрессорную колонну или обсадную колонну.
Способ может дополнительно содержать следующие этапы:
передача данных измерений флюида в компьютерную систему, расположенную на поверхности, с использованием модуля связи и управления через, по меньшей мере, насосно-компрессорную колонну или обсадную колонну;
вычисление падения давления вдоль скважинной секции с помощью компьютерной системы и с использованием данных измерений флюида;
определение необходимости регулировки клапанов с электрическим управлением скважинных секций;
посылка сигналов команд в модули связи и управления скважинных секций, требующих регулировки клапана;
регулировка положения клапана с электрическим управлением через модуль связи и управления для каждой скважинной секции, требующей регулировки клапана.
Способ может содержать регулировку потока флюида в каждой скважинной секции для обеспечения, по существу, постоянной продуктивности, по меньшей мере, одной нефтяной эксплуатационной зоны через скважинные секции, и увеличение эффективности добычи из, по меньшей мере, одной нефтяной эксплуатационной зоны.
Способ может дополнительно содержать обеспечение препятствия перетоку флюида из одного проницаемого слоя, по меньшей мере, одной нефтяной эксплуатационной зоны, имеющей первое давление флюида, в другой проницаемый слой, по меньшей мере, одной нефтяной эксплуатационной зоны, имеющей второе давление флюида, когда первое давление превышает второе давление.
Способ может дополнительно содержать предотвращение преждевременного прорыва газа из образования нисходящего конуса газа в, по меньшей мере, одну нефтяную эксплуатационную зону.
Способ может дополнительно содержать предотвращение преждевременного прорыва воды из образования восходящего конуса обводнения в, по меньшей мере, одну нефтяную эксплуатационную зону.
Способ может дополнительно содержать улучшение профиля продуктивности, по меньшей мере, одной нефтяной эксплуатационной зоны.
Способ может дополнительно содержать продление срока эксплуатации, по меньшей мере, одной нефтяной эксплуатационной зоны.
Способ может дополнительно содержать измерение потока флюида в одной скважинной секции с помощью датчика потока флюида.
Способ может дополнительно содержать измерение давления флюида в одной скважинной секции с помощью датчика давления.
Способ может дополнительно содержать измерение плотности флюида в одной скважинной секции с помощью датчика плотности флюида.
Согласно изобретению создан способ управляемого нагнетания флюида в формацию через скважину, содержащий следующие этапы:
обеспечение множества управляемых скважинных секций, каждая из которых содержит модуль связи и управления, датчик, клапан с электрическим управлением и замедлитель потока, при этом модуль связи и управления электрически подсоединен к, по меньшей мере, насосно-компрессорной колонне или обсадной колонне, клапан с электрическим управлением и датчик электрически подсоединены к модулю связи и управления, и замедлитель потока расположен в обсадной колонне вокруг части насосно-компрессорной колонны;
обеспечение препятствия прохождению потока флюида между скважинными секциями с помощью замедлителей потока;
измерение характеристики флюида в каждой скважинной секции с помощью своего соответствующего датчика;
нагнетание флюида управляемым способом в насосно-компрессорную колонну;
регулировка потока флюида из внутренней части насосно-компрессорной колонны в формацию в, по меньшей мере, одной скважинной секции с помощью своего соответствующего клапана с электрическим управлением на основании результатов измерений флюида.
Способ может дополнительно содержать следующие этапы:
введение сигнала переменного тока в, по меньшей мере, насосно-компрессорную колонну или обсадную колонну от источника тока, расположенного на поверхности;
обеспечение препятствия прохождению сигнала переменного тока с помощью индукционного дросселя, расположенного вокруг, по меньшей мере, насосно-компрессорной колонны или обсадной колонны;
направление сигнала переменного тока через, по меньшей мере, один модуль связи и управления;
подача питания на, по меньшей мере, один модуль связи и управления с использованием сигнала переменного тока из, по меньшей мере, насосно-компрессорной колонны или обсадной колонны.
Способ может дополнительно содержать поддержание связи с, по меньшей мере, одним модулем связи и управления через сигнал переменного тока и через, по меньшей мере, насосно-компрессорную колонну или обсадную колонну.
Способ может дополнительно содержать следующие этапы:
передача данных измерений характеристик флюида в компьютерную систему, расположенную на поверхности, с использованием модуля связи и управления через, по меньшей мере, насосно-компрессорную колонну или обсадную колонну;
вычисление падения давления вдоль секций буровой скважины с помощью компьютерной системы с использованием данных измерений характеристик флюида;
определение необходимости регулировки клапанов с электрическим управлением скважинных секций;
посылка сигналов команд в модули связи и управления скважинных секций, требующих регулировки клапана;
при необходимости регулировки клапана регулировка положения клапана с электрическим управлением через модуль связи и управления для каждой скважинной секции, требующей регулировки клапана.
Способ может содержать регулировку потока флюида в каждой скважинной секции для обеспечения, по существу, равномерного нагнетания флюида из насосно-компрессорной колонны в формацию через скважинные секции.
Другие цели и преимущества настоящего изобретения приведены в следующем подробном описании со ссылками на сопроводительные чертежи, на которых изображено следующее:
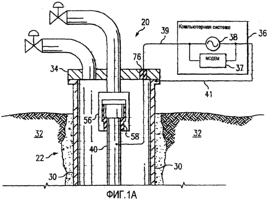
фиг.1А схематически изображает верхнюю часть нефтяной скважины, согласно предпочтительному варианту осуществления настоящего изобретения;
фиг.1В схематически изображает верхнюю часть нефтяной скважины, согласно другому предпочтительному варианту осуществления настоящего изобретения;
фиг.2 схематически изображает скважинную часть нефтяной скважины, согласно предпочтительному варианту осуществления настоящего изобретения;
фиг.3 изображает в увеличенном масштабе часть фиг.2, показывающую скважинную секцию нефтяной;
фиг.4 изображает общее падение давления вдоль эксплуатационной насосно-компрессорной колонны в зависимости от расстояния вдоль насосно-компрессорной колонны для диапазона разностей между пластовым давлением и давлением в мыске скважины; и
фиг.5 изображает график относительной скорости притока в зависимости от расстояния вдоль насосно-компрессорной колонны для диапазона разностей между пластовым давлением и давлением в мыске буровой скважины.
Ниже приводится описание предпочтительного варианта осуществления настоящего изобретения со ссылкой на чертежи, на которых одинаковые позиции обозначают одинаковые элементы на всех различных видах, и описание других возможных вариантов осуществления настоящего изобретения. Представленные фигуры не обязательно выполнены в масштабе, и в некоторых случаях чертежи увеличены и/или упрощены в определенных пространствах для удобства изображения. Специалисты могут оценить многие возможные приложения и изменения настоящего изобретения на основании приведенных здесь примеров возможных вариантов осуществления настоящего изобретения, а также на основании тех вариантов осуществления, изображенных и обсужденных в других заявках данного заявителя.
Термин “трубопроводная структура”, используемый в настоящей заявке, может представлять собой одну единственную трубу, насосно-компрессорную колонну, обсадную колонну буровой скважины, насосную штангу, ряд взаимосвязанных труб, штанги, металлические фермы, решетки сквозной фермы, опоры, отводные или боковые удлинители буровой скважины, сеть взаимосвязанных труб или других подобных структур, известных специалистам. В предпочтительном варианте осуществления изобретение используется в контексте нефтяной скважины, где трубопроводная структура содержит трубчатую, металлическую, электропроводную трубу или насосно-компрессорную колонну, но изобретение не ограничено этим. Для настоящего изобретения, по меньшей мере, часть трубопроводной структуры должна быть электропроводной, при этом такая электропроводная часть может представлять собой в целом трубопроводную структуру (например, стальные трубы, медные трубы) или проходящую в продольном направлении электропроводную часть, объединенную с простирающейся в продольном направлении неэлектропроводной частью. Другими словами, электропроводная трубопроводная структура представляет собой структуру, которая обеспечивает путь тока от первой части, где источник питания электрически подсоединен ко второй части, где устройство и/или цепь обратного тока электрически связаны. Трубопроводная структура обычно представляет собой известную круглую металлическую насосно-компрессорную колонну, но геометрия поперечного сечения трубопроводной структуры или любой ее части может меняться по форме (например, круглая, прямоугольная, квадратная, овальная) и размеру (например, длина, диаметр, толщина стенки) вдоль любой части трубопроводной структуры. Следовательно, трубопроводная структура должна иметь электропроводную часть, простирающуюся от первой части трубопроводной структуры до второй части трубопроводной структуры, в которой первая часть расположена отдельно от второй части вдоль трубопроводной структуры.
Следует также отметить, что термин “модем” используется здесь в общем для ссылки на любое устройство связи для передачи и/или приема электрических сигналов связи через электрический проводник (например, металл). Следовательно, термин “модем”, который используется здесь, не ограничен акронимом для модулятора (устройства, которое преобразовывает голос или сигнал данных к виду пригодному для передачи)/демодулятора (устройства, которое восстанавливает первоначальный сигнал, которым была промодулирована высокочастная несущая). Кроме того, термин “модем”, который используется здесь, не ограничен известными компьютерными модемами, которые преобразовывают цифровые сигналы в аналоговые сигналы и наоборот (например, для передачи цифровых информационных сигналов по аналоговой коммутируемой телефонной сети общего пользования). Например, если датчик выдает данные измерений в аналоговом формате, то такие измерения можно только модулировать (например, с использованием модуляции с расширением спектра) и передавать, и, следовательно, не нужно выполнять аналого-цифрового преобразования. В качестве другого примера, релейный/подчиненный модем или устройство связи должны только идентифицировать, фильтровать, усиливать и/или ретранслировать принимаемый сигнал.
Термин “клапан”, который используется здесь, обычно относится к любому устройству, которое выполняет функции регулировки потока флюида. Примеры клапанов включают в себя, но не ограничиваются, сильфонные газлифтные клапаны и управляемые газлифтные клапаны, каждый из которых можно использовать для регулировки потока транспортирующего газа в насосно-компрессорную колонну буровой скважины. Внутренняя работа клапанов может в значительной степени отличаться, и в настоящей заявке не ограничиваются клапанами, описанными с любой конкретной конфигурацией, до тех пор, пока клапан выполняет функции регулировки потока. Некоторые из различных типов механизмов регулировки потока включают, но не ограничиваются, конфигурации шарового клапана, конфигурации игольчатого клапана, конфигурации запорного клапана и конфигурации клетевого клапана. Способы установки клапанов, обсужденных в настоящей заявке, могут в значительной степени отличаться.
Термин “клапан с электрическим управлением”, который используется здесь, обычно относится к “клапану” (как описано выше), который можно открывать, закрывать, регулировать, изменять или дросселировать непрерывно в ответ на электрический сигнал управления (например, сигнал из компьютера, расположенного на поверхности, или из скважинного модуля электронного контроллера). Механизм, который фактически изменяет состояние клапана, может содержать, но не ограничиваться этим, электродвигатель, электрический серводвигатель, электрический соленоид, электрический переключатель, гидравлический привод, управляемый по меньшей мере одним электрическим серводвигателем, электродвигателем, электрическим переключателем, электрическим соленоидом или их комбинациями, пневматический привод, управляемый по меньшей мере одним электрическим серводвигателем, электродвигателем, электрическим переключателем, электрическим соленоидом или их комбинациями, или устройство с отклоняемой пружиной в комбинации с, по меньшей мере, одним электрическим серводвигателем, электродвигателем, электрическим переключателем, электрическим соленоидом или их комбинациями. “Клапан с электрическим управлением” может или нет включать в себя датчик обратной связи по положению для подачи сигнала обратной связи, соответствующего фактическому положению клапана.
Термин “датчик”, который используется здесь, относится к любому устройству, которое обнаруживает, определяет, контролирует, записывает или, другими словами, регистрирует абсолютное значение или изменение значения физической величины. Датчик, как описано здесь, можно использовать для измерения значений таких физических величин, но не ограничено этим, как температура, давление (абсолютное и дифференциальное), скорость потока, сейсмические данные, акустические данные, уровень рН, уровни солености, положения клапана или практически любые другие физические данные.
Фраза “на поверхности”, которая используется здесь, относится к местоположению, которое находится выше глубины более приблизительно пятидесяти футов внутри Земли. Другими словами, фраза “на поверхности” не обязательно означает расположение на уровне земли, но используется здесь в более широком смысле для обозначения местоположения, которое является часто легко или удобно доступным в устье скважины, где могут работать люди. Например, “на поверхности” может означать на столе в рабочей мастерской, которая расположена на земле на платформе буровой скважины, на дне океана или озера, на глубоководной платформе нефтяной вышки или на 100-м этаже здания. Кроме того, термин “поверхность” может использоваться здесь как прилагательное для определения местоположения элемента или области, которая расположена “на поверхности”. Например, фраза “поверхностный” компьютер, которая используется здесь, означает компьютер, расположенный “на поверхности”.
Термин “в скважине”, который используется здесь, относится к местоположению или положению на глубине ниже около пятидесяти футов в земле. Другими словами, термин “в скважине”, широко используемый здесь, относится к местоположению, которое часто нелегко или неудобно достижимо из устья скважины, где могут работать люди. Например, в нефтяной скважине, местоположение “в скважине” находится часто в или рядом с подземной нефтяной эксплуатационной зоной, независимо от того, является ли эксплуатационная зона доступной вертикально, горизонтально, сбоку или под любым другим углом между ними. Кроме того, термин “в скважине” используется здесь как прилагательное “скважинный”, описывающее местоположение элемента или области. Например, “скважинное” устройство в буровой скважине означает, что устройство расположено “в скважине”, в противоположность расположению “на поверхности”.
Аналогично, в соответствии с известной терминологией, употребляемой в практике нефтяного промысла, определения “верхний”, “нижний”, “вверх по стволу скважины” и “скважинный” являются относительными и касаются расстояния, измеренного вдоль ствола скважины вглубь от поверхности, которое в наклонных или горизонтальных скважинах может или нет совпадать с вертикальной проекцией, измеренной по отношению к данным наблюдений.
Термин “беспроводный”, который используется в настоящей заявке, означает отсутствие известного, изолированного электрического провода, например, проходящего от скважинного устройства до поверхности. Использование насосно-компрессорной колонны и/или обсадной колонны в качестве проводника рассматривается как “беспроводным”.
Известные горизонтальные скважины обычно заканчиваются перфорированными обсадными колоннами или перфорированными хвостовиками, некоторые из которых могут иметь длину несколько тысяч футов и диаметр четыре – шесть дюймов. Для скважин, которые являются высокодебитными эксплуатационными скважинами, горизонтальная нижняя труба обсадной колонны проводит весь поток в вертикальную секцию. Эксплуатационную насосно-компрессорную колонну и пакер можно разместить внутри обсадной колонны вертикальной буровой скважины вертикальной секции, где можно использовать газлифт или другую насосно-компрессорную добычу. Однако в таких известных горизонтальных скважинах при истощении зоны можно значительно изменять скорости притока флюидов из эксплуатационной зоны в различных местах вдоль протяжения горизонтальной скважины. Такие изменения могут привести к повышенному падению давления вдоль горизонтальной скважины и впоследствии к чрезмерной скорости притока около пятки буровой скважины относительно мыска, что обычно не желательно. Настоящее изобретение предоставляет решение таких проблем, а также и других, за счет выполнения буровой скважины с управляемыми скважинными секциями.
На фиг.1А схематически изображена верхняя часть нефтяной скважины 20, согласно предпочтительному варианту осуществления настоящего изобретения. Обсадная колонна 30 скважины и насосно-компрессорная колонна 40 выполняют для системы роль электрических проводников. Изолирующая соединительная муфта 56 для насосно-компрессорных колонн введена в устье скважины для того, чтобы электрическим способом изолировать насосно-компрессорную колонну 40 от обсадной колонны 30. Таким образом, изоляторы 58 соединительной муфты 56 предотвращают короткое замыкание между нижними секциями насосно-компрессорной колонны 40 и обсадной колонной 30 на подвеске 34. Поверхностная компьютерная система 36, содержащая главный модем 37 и источник тока 38, изменяющегося во времени, электрически подсоединена к насосно-компрессорной колонне 40 ниже подвески 34 с помощью первого вывода 39 источника. Первый вывод 39 источника изолирован от подвески 34, где он проходит через него. Второй вывод 41 источника электрически подсоединен к обсадной колонне 30 или напрямую (как на фиг.1А) или через подвеску 34 (не показана).
Источник 38 тока, изменяющегося во времени, подает электрический ток, изменяющийся во времени, который несет в себе питание и сигналы связи в скважине. Электрический ток, изменяющийся во времени, является, предпочтительно, переменным током, но может быть также изменяющимся во времени постоянным током. Сигналы связи можно вырабатывать с помощью главного модема 37 и вводить в ток, вырабатываемый источником 38. Сигнал связи, предпочтительно, является сигналом с расширенным спектром, но альтернативно можно использовать и другие виды модуляции.
Как показано на фиг.1В, в альтернативе или в дополнение к изолированной подвеске 34, верхний индукционный дроссель 43 можно разместить вокруг насосно-компрессорной колонны 40 выше местоположения электрического соединения для первого вывода 39 источника в насосно-компрессорной колонне. Верхний индукционный дроссель 43 содержит ферромагнитный материал и расположен, в общем, концентрически вокруг насосно-компрессорной колонны 40. Действие верхнего индукционного дросселя 43 зависит от его размера, геометрии, положения относительно насосно-компрессорной колонны 40 и магнитных свойств. Ток, изменяющийся во времени, проходит в насосно-компрессорную колонну 40 ниже верхнего дросселя 43, действующего как катушка индуктивности, которая препятствует протеканию тока между насосно-компрессорной колонной 40 ниже верхнего дросселя 43 и насосно-компрессорной колонной 40 выше верхнего дросселя 43 из-за магнитного потока, возникающего за счет протекания тока внутри верхнего дросселя 43. Таким образом, большая часть тока направляется вниз по насосно-компрессорной колонне 40 (то есть, в скважину), а не создавая короткое замыкание подвески 45 с обсадной колонной 30.
На фиг.2 схематически изображена скважинная часть нефтяной эксплуатационной скважины 20, согласно предпочтительному варианту осуществления настоящего изобретения. Скважина 20 имеет вертикальную секцию 22 и горизонтальную секцию 24. Скважина имеет обсадную колонну 30, проходящую в стволе скважины и через формацию 32, и эксплуатационная насосно-компрессорная колонна 40 проходит в обсадной колонне. Следовательно, скважина 20, показанная на фиг.2, подобна по конструкции известной скважине, но с учетом того, что она входит в состав настоящего изобретения.
В этом варианте осуществления в состав вертикальной секции 22 входит пакер 44, который снабжен изоляционной оплеткой 76 для того, чтобы электрически изолировать насосно-компрессорную колонну 40 от обсадной колонны 30. Вертикальная секция 22 также снабжена газлифтным клапаном 42 для того, чтобы выполнить искусственный подъем флюидов внутри насосно-компрессорной колонны с использованием пузырьков 46 газа. Однако в альтернативном варианте, можно использовать и другие способы обеспечения искусственного подъема для осуществления других возможных вариантов осуществления (например, с помощью вставного штангового насоса). Кроме того, вертикальную часть 22 можно дополнительно изменять для выполнения многочисленных других возможных вариантов осуществления. Например, в общем виде, в состав вертикальной части 22 может входить один или более газлифтных клапанов с электрическим управлением, один или несколько индукционных дросселей и/или один или несколько управляемых пакеров, содержащих электрически управляемые клапаны пакера, которые описаны в родственных заявках.
Горизонтальная секция 24 скважины 20 проходит через нефтяную эксплуатационную зону 48 (например, нефтяную зону) формации 32. Местоположение, где сходятся вертикальная секция 22 и горизонтальная секция 24 называется пяткой 50, и дальний конец горизонтальной секции называется мыском 52. В различных местоположениях вдоль горизонтальной секции 24 обсадная колонна 30 имеет перфорированные секции 54, которые позволяют пропускать флюиды из эксплуатационной зоны 48 в обсадную колонну 30. Многочисленные замедлители 61-65 потока размещены вдоль горизонтальной секции 24 в кольцевом пространстве 68 между обсадной колонной 30 и насосно-компрессорной колонной 40. Назначение этих замедлителей 61, 62, 63, 64, 65 потока состоит в том, чтобы препятствовать или предотвратить прохождение потока флюида вдоль кольца 68 внутри обсадной колонны 30 и таким образом отделить или сформировать ряд управляемых скважинных секций 71, 72, 73, 74, 75. В варианте осуществления, показанном на фиг.2, замедлители 61, 62, 63, 64, 65 потока представляют собой известные пакеры с электрически изолирующими оплетками для обеспечения электрической изоляции между насосно-компрессорной колонной 104 и обсадной колонной 54 (функциональный эквивалент пакера 44 с изоляционной оплеткой 76), которые известны в технике. Однако любой из замедлителей 61, 62, 63, 64, 65 потока можно выполнить любым другим способом, который делает площадь в поперечном сечении кольцевого пространства 68 между обсадной колонной 30 и насосно-компрессорной колонной 40 маленькой по сравнению с внутренней площадью в поперечном сечении насосно-компрессорной колонны 40 при поддержании электрической изоляции между насосно-компрессорной колонной и обсадной колонной. Другими словами, замедлители 61, 62, 63, 64, 65 потока не обязательно должны образовывать непроницаемые для флюида уплотнения между скважинными секциями 71, 72, 73, 74, 75, что обычно выполняют известные пакеры. Таким образом, например, любой из замедлителей 61, 62, 63, 64, 65 потока может представлять собой (но не ограничиваться этим) известный пакер, управляемый пакер, содержащий электрически управляемый клапан пакера, который описан в других заявках данного заявителя, плотно облегающую трубчатую секцию, увеличенную часть насосно-компрессорной колонны, муфту вокруг насосно-компрессорной колонны или надувной хомут вокруг насосно-компрессорной колонны. В общем виде, управляемый пакер в виде замедлителя потока может обеспечить переменное управление по всему каналу для прохождения флюида среди секций буровой скважины (такие управляемые пакеры дополнительно описаны в родственных заявках).
Как показано на фиг.2 и 3, каждая управляемая секция 71, 72, 73, 74, 75 содержит модуль 80 связи и управления, датчик 82 и клапан 84 с электрическим управлением. В предпочтительном варианте осуществления каждая секция 71, 72, 73, 74, 75 дополнительно содержит ферромагнитный индукционный дроссель 90. Но в альтернативных вариантах осуществления число скважинных индукционных дросселей 90 может изменяться. Например, можно использовать один скважинный индукционный дроссель 90 для двух или более секций 71, 72, 73, 74, 75, и, следовательно, некоторые из секций не будут содержать индукционный дроссель.
Питание для электрических элементов секций 71, 72, 73, 74, 75 буровой скважины подается с поверхности с использованием насосно-компрессорной колонны 40 и обсадной колонны 30, которые используются в качестве электрических проводников. Следовательно, в предпочтительном варианте осуществления, насосно-компрессорная колонна 40 действует как трубопроводная структура, и обсадная колонна 30 действует как цепь обратного тока для образования электрической схемы в буровой скважине 20. Кроме того, насосно-компрессорная колонна 40 и обсадная колонна 30 используются как электрические проводники для сигналов связи между поверхностью (например, компьютером, расположенным на поверхности) и скважинные электрическими устройствами, расположенными внутри управляемых скважинных секций 71, 72, 73, 74, 75.
В варианте осуществления, показанном на фиг.2 и 3, имеется скважинный индукционный дроссель 90 для каждой управляемой секции 71, 72, 73, 74, 75. Скважинные индукционные дроссели 90 содержат ферромагнитный материал и не имеют питания. Скважинные дроссели 90 расположены вокруг насосно-компрессорной колонны 40, и каждый дроссель действует как большая катушка индуктивности для переменного тока в схеме скважины, образованной насосно-компрессорной колонной 40 и обсадной колонной 30. Скважинные дроссели 90 выполняют свои функции в зависимости от своего размера (массы), геометрии и магнитных свойств, как описано выше для верхнего дросселя. Состав материалов дросселей 43, 90 может изменяться до тех пор, пока они проявляют требуемые магнитные свойства, необходимые для работы в качестве катушки индуктивности для тока, изменяющегося во времени, который будет зависеть (частично) от величины тока.
На фиг.3 изображен увеличенный вид управляемой секции 71 (фиг.2). При тщательном рассмотрении секции 71 (фиг.3) в качестве примера видно, что модуль 80 связи и управления электрически подсоединен к насосно-компрессорной колонне 40 для питания и/или связи. Первый вывод 91 устройства модуля 80 связи и управления электрически подсоединен к насосно-компрессорной колонне 40 на стороне источника 94 скважинного индукционного дросселя 90. Второй вывод 92 устройства модуля 80 связи и управления электрически подсоединен к насосно-компрессорной колонне 40 на стороне 96 цепи обратного тока скважинного индукционного дросселя 90. Когда переменный ток подается в насосно-компрессорную колонну 40 на поверхности, он проходит свободно в скважине вдоль насосно-компрессорной колонны до достижения скважинного индукционного дросселя 90, который препятствует протеканию тока через насосно-компрессорную колонну в дросселе. Это создает разность потенциалов между насосно-компрессорной колонной 40 на стороне 94 источника скважинного дросселя 90 и насосно-компрессорной колонной на стороне 96 цепи обратного тока дросселя. Так как модуль 80 связи и управления электрически подсоединен параллельно напряжению, созданному с помощью скважинного дросселя 90 при протекании переменного тока в насосно-компрессорной колонне 40, скважинный индукционный дроссель 90 эффективно направляет большую часть тока через модуль 80 связи и управления. Разность потенциалов также создается между стороной 94 источника насосно-компрессорной колонны 40 и обсадной колонной 30, так как обсадная колонна действует как цепь обратного тока для схемы буровой скважины. Таким образом, в альтернативном варианте, модуль 80 связи и управления можно электрически подсоединить параллельно к потенциалам напряжения между насосно-компрессорной колонной 40 и обсадной колонной 30. Если, в общем виде, один или несколько замедлителей 61, 62, 63, 64, 65 потока представляют собой пакер, содержащий устройство с электропитанием, (например, датчик, электрически управляемый клапан пакера), то устройство с электропитанием пакера будет вероятно также электрически подсоединено параллельно к напряжению, созданному с помощью скважинного дросселя 90, или напрямую или через близлежащий модуль 80 связи и управления.
Как показано на фиг.2, пакер 65 в мыске 52 выполняет электрическое соединение между насосно-компрессорной колонной 40 и обсадной колонной 30, и обсадная колонна 30 электрически подсоединена к поверхностной компьютерной системе (не показана) для того, чтобы завершить электрическую схему, образованную буровой скважиной 20. Так как в этом варианте осуществления не желательно иметь насосно-компрессорную колонну 40, электрически закороченную на обсадную колонну 30 между поверхностью и мыском 52, необходимо электрически изолировать часть пакеров 44, 61, 62, 63, 64 между поверхностью и мыском так, чтобы они не приводили к короткому замыканию между насосно-компрессорной колонной 40 и обсадной колонной 30. Такую электрическую изоляцию замедлителя потока можно достигнуть различными способами, очевидными для специалиста, которые включают (но не ограничивают) изоляционную оплетку вокруг насосно-компрессорной колонны в местоположении замедлителя потока или вокруг замедлителя потока, изоляционное покрытие на насосно-компрессорной колонне в местоположении замедлителя потока или на радиальном протяжении замедлителя потока, резиновую или уретановую часть на радиальном протяжении скользящих клиновых плашек пакера, формирование скользящих клиновых плашек пакера из неэлектропроводных материалов, другие известные средства изоляции или любую их комбинацию. На фиг.3 промежуточные пакеры 44, 61, 62, 63, 64 имеют изолятор на радиальном протяжении каждого пакера, где пакер входит в контакт с обсадной колонной 30 (например, скользящие клиновые плашки).
Другие альтернативные способы для развития электрической схемы с использованием трубопроводной структуры буровой скважины и, по меньшей мере, одного индукционного дросселя описаны в родственных заявках, многие из которых можно применить совместно с настоящим изобретением для подачи питания и/или связи на скважинные устройства, подключенные к электропитанию, и выполнения других вариантов осуществления настоящего изобретения.
Как показано на фиг.3, коллектор 100 насосно-компрессорной колонны, предпочтительно, поддерживает или содержит модуль 80 связи и управления, датчики 82 и клапаны 84 с электрическим управлением, выполненные вместе в виде одного модуля для простоты обращения и установки, а также для защиты этих элементов от окружающей среды. Однако в других вариантах осуществления настоящего изобретения элементы коллектора 100 насосно-компрессорной колонны могут быть выполнены отдельно (то есть, без коллектора насосно-компрессорной колонны) или объединены в других комбинациях. Кроме того, можно использовать многочисленные коллекторы насосно-компрессорной колонны в секции буровой скважины, на которые можно подавать питание с использованием одного или более индукционных дросселей для создания потенциала напряжения. Кроме того, многочисленные коллекторы насосно-компрессорной колонны можно совместно использовать с одним модулем связи и управления. Число различных комбинаций может быть большим, но в своей основе управляемая скважинная секция имеет по меньшей мере один модуль связи и управления, по меньшей мере один датчик и по меньшей мере один клапан с электрическим управлением. Содержимое модуля связи и управления может быть столь же простым как проводной соединительный вывод для распределения электрических соединений из насосно-компрессорной колонны 40, или же очень сложным, например (но не ограниченным), модем, аккумулятор, силовой трансформатор, микропроцессор, запоминающее устройство, плата сбора данных и плата управления движением.
Коллектор 100 насосно-компрессорной колонны, показанный на фиг.3, имеет два датчика 82 и два клапана 84 с электрическим управлением. Каждый клапан 84 имеет электродвигатель 102, подсоединенный к нему через набор шестеренок, для того, чтобы открывать, закрывать, регулировать или непрерывно дросселировать положение клапана в ответ на управляющие сигналы, поступающие из модуля 80 связи и управления. Клапаны 84 с электрическим управлением регулируют поток флюида между внешней частью (например, кольцевое пространство 68, эксплуатационная зона 48) насосно-компрессорной колонны 40 и внутренней частью 104 насосно-компрессорной колонны 40. В других вариантах осуществления отверстием с управляемым открыванием насосно-компрессорной колонны, создаваемым клапаном 84, можно управлять с помощью датчика 82 и можно приводить в действие с помощью естественной гидравлической энергии потока в скважине, запасенной электрической энергии или других способов. Отверстие клапана 84 может содержать стандартный шаровой клапан, вращающуюся заслонку, золотниковый клапан или любое другое устройство, подходящее для регулировки потока. Может никогда и не потребуется полное отсечение или закрытие клапана 84, но при необходимости, можно использовать этот тип клапана. Следовательно, во время добычи нефти флюиды (например, нефть) из эксплуатационной зоны 48 протекают в обсадную колонну 30 через перфорированные секции 54 обсадной колонны и затем в насосно-компрессорную колонну 40 через клапаны 84 с электрическим управлением. Каждый клапан 84 с электрическим управлением можно независимо регулировать. Таким образом, например, между отдельными управляемыми секциями 71, 72, 73, 74, 75 буровой скважины вдоль продуктивного интервала можно создавать разность давлений для того, чтобы предотвратить чрезмерные скорости притока вблизи пятки 50 буровой скважины 20 относительно мыска 52.
Датчики 82 на фиг.3 представляют собой датчики потока флюида, адаптированные для измерения потока флюида между эксплуатационной зоной 48 и внутренней частью 104 насосно-компрессорной колонны. Датчики потока можно использовать для количественного обнаружения скорости флюида или только относительных скоростей по сравнению с датчиками в других секциях буровой скважины. В основе таких датчиков можно использовать звуковые, теплопроводные или другие эффекты, известные специалистам. Кроме того, в других вариантах осуществления, датчик или датчики 82 в управляемой секции 71, 72, 73, 74, 75 можно адаптировать для измерения других физических величин, включая (но не ограничивая) абсолютное давление, дифференциальное давление, плотность флюида, вязкость флюида, звукопроницаемость или отражательные свойства, температуру или химический состав. Данные измерений потока флюида от датчиков 82 подают в модуль 80 связи и управления, который дополнительно обрабатывает данные измерений.
Модуль 80 связи и управления, предпочтительно, содержит модем и передает данные измерений потока в поверхностную компьютерную систему внутри сигнала переменного тока (например, с использованием модуляции с расширением спектра частот) через насосно-компрессорную колонну 40 и обсадную колонну 30. Затем поверхностная компьютерная система использует результаты измерений от одного, некоторых или всех датчиков 82 в скважине 20 для вычисления падения давления вдоль горизонтальной секции 24 скважины, как дополнительно описано ниже. На основе измерений скважинного датчика определяют, требуется ли регулировка скважинных клапанов 84. Если для скважинного клапана 84 с электрическим управлением требуется регулировка, то поверхностная компьютерная система передает команды управления в соответствующий модуль 80 связи и управления с использованием главного модема и через насосно-компрессорную колонну 40 и обсадную колонну 30. Модуль 80 связи и управления получает команды управления из поверхностной компьютерной системы и управляет регулировкой соответствующего клапана (клапанов) 84. В другом варианте осуществления один или более модулей 80 связи и управления может содержать внутреннюю логическую схему и/или микропроцессор для локального (скважинного) вычисления разности давлений на основании результатов измерений датчика и для локальной выработки сигналов команд управления клапаном для регулировки клапанов 84.
В процессе работы депрессию в нефтяной скважине 20 можно выполнить с помощью поверхностного клапана/отверстия 84 насосно-компрессорной колонны в фонтанирующей скважине или с помощью насосно-компрессорной добычи на дне вертикальной секции 22. Например, такую насосно-компрессорную добычу можно выполнить с помощью газлифта, насосной штанги, скважинного насоса или других стандартных способов нефтяного промысла.
Эффективное использование системы регулировки и измерения потока с помощью управляемых секций 71, 72, 73, 74, 75 зависит от развития стратегии управления, которая измеренные значения потока соотносит со скважинными условиями и создает целевую функцию для управления установочными параметрами клапанов 84 (регуляторов потока).
В горизонтальных секциях скважины эффект изменения спада давления на продуктивность можно продемонстрировать путем вычисления падение давления вдоль горизонтальной секции 24, возникающего из распределенного притока флюида из образования.
Пример анализа горизонтальной буровой скважины.
L=длина полного необсаженного интервала [футы],
N=число контрольных точек (подсекции),
L=L/N=расстояние между контрольно-измерительными устройствами [футы],
n=индекс подсекции (от мыска до пятки),
QN=полная скорость потока из буровой скважины [b/d],
рN=полное падение давления на необсаженном интервале [фунт на квадратный дюйм],
рн=потеря напора потока в буровой скважине [(фунт на квадратный дюйм/фут)/(b/d)],
dqf=специфическая скорость притока с равномерным профилем из образования в буровую скважину [b/d/фут],
qf=скорость притока из образования в подсекцию буровой скважины [b/d],
qn=скорость притока в буровую скважину в подсекции (n)[b/d],
рn=падение давления в подсекции n=рN( L) ( qn) [фунт на квадратный дюйм].
Предположим, что буровая скважина поделена на N секций буровой скважины, вверх по течению (мыска к пятке),

С равномерным притоком,

Скорость потока в буровой скважине вычисляют при появлении притока от мыска к пятке,

Предполагается, что падение давления в каждой подсекции пропорционально скорости потока, поэтому

При сложении падений давления в каждой подсекции полное падение давления в буровой скважине от мыска до последовательно нисходящих подсекций равно:



Предположения.
Длина полного необсаженного интервала=2500 футов Расстояние между контрольно-измерительными устройствами=100 футов
Полная скорость потока из скважины=2500 b/d Специфические потери напора потока в буровой скважине=10-4 фунт на квадратный дюйм /b/d/фут
Случай 1. Приток в мыске буровой без притока вдоль интервала
Для буровой скважины, в которой все 2500 баррелей протекают через 2500 футов скважины, падение давления будет равно:

Случай 2. Равномерный приток
Для нефтяной скважины, где добыча производится равномерно вдоль 25 подразделений (управляемых секций буровой скважины), полное падение давления на своем необсаженном интервале, вычисленного с помощью уравнения (8), равно:

на квадратный дюйм
Случай 3. Приток зависит от пластового давления
Скорость притока в скважину пропорциональна разности между пластовым давлением и давлением в скважине. Так как давления в буровой скважине вдоль необсаженного интервала зависят от скорости потока, профиль притока необходимо получить с помощью итерационных вычислений. Пластовое давление (ррез) определяется как некоторое давление (р0) выше самого высокого давления в скважине, то есть давление в мыске.

Разность давлений между пластовым давлением и давлением в скважине на нисходящих участках от мыска:


На первой итерации полный поток и полное падение давления вдоль насосно-компрессорной колонны можно вычислить путем суммирования дифференциальных давлений притока (р0+pn) и нормирования дифференциальных давлений в подсекциях с помощью суммы:

Нормированное

Скорость притока в каждой подсекции пропорциональна этому нормированному дифференциальному давлению, поэтому скорость притока в каждой подсекции равна:

Полный поток, возникающий в скважине равен:

и полное падение давления в скважине от мыска до пятки равно:

Вторую итерацию делают путем подстановки этих значений для падений давления в уравнение (12). Сходимость является быстрой, и в этом случае необходимо только несколько итераций. Их можно выполнить путем подстановки последовательных значений рn1,2,3… в уравнение (15).
На фиг.4 представлены результаты этих вычислений падения давления для нескольких условий притока. Когда весь поток вводится в скважину в мысок (случай 1 – отрытый конец насосно-компрессорной колонны), полное падение давления вдоль насосно-компрессорной колонны является большим, так как каждая секция трубы испытывает максимальное падение давления. Когда поток является равномерным вдоль длины горизонтальной секции буровой скважины (случай 2 – равномерный приток), меньшие падения давления происходят вблизи мыска, где скорости потока в буровой скважине являются низкими. Для той же самой полной скорости потока 2500 b/d случай равномерного притока приводит только к приблизительно половине полного падения давления (325 фунтов на квадратный дюйм) по сравнению со случаем 1, где полное падение давления равно 625 фунтов на квадратный дюйм. Когда приток зависит от пластового давления (случай 3 – неравномерный приток), возникают даже более низкие падения давления. Если пластовое давление только слегка превышает давление в мыске буровой скважины, и падение давления в буровой скважине является относительно большим, то большая часть притока возникает вблизи пятки. Нижний предел возникает тогда, когда пластовое давление равно давлению в мыске буровой скважины (то есть, р0=0). В этом случае полное падение давления равно 125 фунтам на квадратный дюйм. Верхний предел, когда пластовое давление становится большим (р0= ), приводит в результате к равномерному притоку.
На фиг.5 показаны расчетные скорости потока, которые следуют из различных условий притока в продуктивный пласт. Скорости потока, которые возникают вдоль горизонтальной секции буровой скважины при условиях, приведенных выше, можно нормировать по отношению к скоростям потока в буровой скважине при равномерном притоке. Эти результаты демонстрируют высокие скорости, которые можно возникать вблизи пятки горизонтальной буровой скважины, когда падение давления в мыске является маленьким.
В процессе работы буровая скважина 20 размещается при добыче с клапанами 84 (регуляторами потока), которые полностью открыты, и скорости потока вдоль продуктивного интервала измеряют с помощью датчиков 82 и передают в поверхностную компьютерную систему для анализа с использованием вышеописанных способов. На основании результатов этого анализа определяют скорости притока в каждой секции 71, 72, 73, 74, 75 буровой скважины продуктивного интервала. В общем, целью является уравнивание эксплуатационного притока на единицу длины вдоль интервала, и это выполняют путем передачи команд в отдельные клапаны притока для уменьшения потока в управляемых секциях 71, 72, 73, 74, 75 буровой скважины, которые имеют высокий приток. Отрегулированный профиль потока затем получают снова из измерений потока и производят дополнительную регулировку клапанов 84 для сглаживания эксплуатационного профиля и попытки создать профиль давлений подобный тому, который изображен на фиг.5 для случая равномерного притока или для придания профилю любой желательной конфигурации.
Иллюстративный пример анализа, описанный выше, выполнен для случая горизонтальной секции 24 скважины. Ясно, что подобные способы можно применить для длинного завершения в вертикальной буровой скважине или вертикальной секции 22 скважины с теми же самыми управляемыми секциями 71, 72, 73, 74, 75 и подобным анализом для того, чтобы выработать стратегию управления на основании результатов измерений.
Следует отметить, что стратегия управления нефтяной скважины не является статической. Предполагается, что при истощении продуктивного пласта профиль притока изменится. Обеспечение питанием постоянных скважинных датчиков и устройств управления позволяет выполнять динамическое управление процессом добычи из управляемых секций скважины и оптимизировать добычу на протяжении всего срока эксплуатации буровой скважины.
Те же самые способы и принципы применимы к обратной задаче управляемого нагнетания в интервал, где флюиды проходят в насосно-компрессорную колонну и выборочно диспергируют в интервал образования с использованием управляемых секций буровой скважины, согласно настоящему изобретению, например, в процессе заводнения.
В других возможных вариантах осуществления настоящего изобретения управляемая скважинная секция 71, 72, 73, 74, 75 может дополнительно содержать: дополнительные датчики, дополнительные индукционные дроссели, дополнительные клапаны с электрическим управлением, клапан пакера, модуль нагнетания индикатора, клапан насосно-компрессорной колонны (например, для изменения потока внутри секции насосно-компрессорной колонны, например, в приложении, имеющем многочисленные ответвления или отводы), микропроцессор, логическую схему, компьютерную систему, аккумулятор, силовой трансформатор, релейный модем, другие электронные элементы по мере необходимости, или любые их комбинации.
Настоящее изобретение можно также применить к другим типам скважин (отличающихся от нефтяных скважин), например водозаборная скважина.
Специалистам, имеющим выгоду от этого раскрытия, будет ясно, что настоящее изобретение предусматривает нефтяную эксплуатационную скважину, имеющую управляемые секции, а также способы использования таких управляемых секций для управления или оптимизации добычи с помощью скважины. Следует понимать, что чертежи и подробное описание приведены здесь в иллюстративных, а не в ограничительных целях, и не предназначены для ограничения изобретения конкретными формами и раскрытыми примерами. Напротив, изобретение включает в себя любые дополнительные модификации, изменения, перестановки, замены, альтернативные варианты, выбор конструкции и варианты осуществления, ясные специалистам, без отклонения от сущности и масштаба настоящего изобретения, определенного в следующей ниже формуле изобретения. Таким образом, подразумевается, что следующая ниже формула изобретения охватывает все такие дополнительные модификации, изменения, перестановки, замены, альтернативы, выбор конструкции и варианты осуществления.
Формула изобретения
1. Нефтяная скважина, содержащая обсадную колонну, имеющую множество перфорированных секций, по меньшей мере, в ее части, проходящей в стволе скважины, эксплуатационную насосно-компрессорную колонну, проходящую в обсадной колонне, источник тока, изменяющегося во времени, расположенный на поверхности и электрически подсоединенный к, по меньшей мере, насосно-компрессорной колонне или обсадной колонне так, что, по меньшей мере, насосно-компрессорная колонна или обсадная колонна является электрическим проводником для передачи электрического тока, изменяющегося во времени, от поверхности в скважину, и скважинную управляемую секцию, содержащую модуль связи и управления, датчик и клапан с электрическим управлением, при этом модуль связи и управления, электрически подсоединен к, по меньшей мере, насосно-компрессорной колонне или обсадной колонне, датчик и клапан с электрическим управлением электрически подсоединены к модулю связи и управления, и клапан с электрическим управлением адаптирован для регулировки потока между внешней частью насосно-компрессорной колонны и внутренней частью насосно-компрессорной колонны на основании, по меньшей мере, частично, измерений датчика.
2. Нефтяная скважина по п. 1, включающая индукционный дроссель, расположенный вокруг части, по меньшей мере, насосно-компрессорной колонны или обсадной колонны и адаптированный для направления части тока через модуль связи и управления за счет возникновения разности потенциалов в, по меньшей мере, насосно-компрессорной колонне или обсадной колонне между одной стороной индукционного дросселя и другой стороной индукционного дросселя, при этом модуль связи и управления электрически подсоединен к разности потенциалов.
3. Нефтяная скважина по п. 1, в которой скважинная управляемая секция дополнительно содержит замедлитель потока, расположенный в обсадной колонне вокруг насосно-компрессорной колонны для обеспечения препятствия прохождению потока флюида в обсадной колонне от одной стороны замедлителя потока до другой стороны замедлителя потока.
4. Нефтяная скважина по п. 3, в котором замедлителем потока является пакер.
5. Нефтяная скважина по п. 3, в которой замедлителем потока является электрически управляемый пакер, содержащий электрически управляемый клапан.
6. Нефтяная скважина по п. 3, в которой замедлителем потока является расширенная часть насосно-компрессорной колонны.
7. Нефтяная скважина по п. 3, в которой замедлителем потока является муфта, расположенная вокруг насосно-компрессорной колонны в перфорированной обсадной колонне.
8. Нефтяная скважина по п. 1, в которой датчиком является датчик потока флюида.
9. Нефтяная скважина по п. 1, в которой датчиком является датчик давления флюида.
10. Нефтяная скважина по п. 1, в которой датчиком является датчик плотности флюида.
11. Нефтяная скважина по п. 1, в которой датчиком является преобразователь акустических сигналов.
12. Нефтяная скважина по п. 1, дополнительно содержащая, по меньшей мере, одну дополнительную скважинную управляемую секцию, причем каждая скважинная секция отделена от другой скважинной секции замедлителем потока, и каждая скважинная секция содержит датчик и клапан с электрическим управлением, причем клапаны с электрическим управлением адаптированы для регулировки потока между внешней частью насосно-компрессорной колонны и внутренней частью насосно-компрессорной колонны, замедлитель потока расположен в перфорированных секциях обсадной колонны и вокруг других частей насосно-компрессорной колонны для предотвращения прохождения потока флюида в перфорированных секциях у каждого замедлителя потока.
13. Нефтяная скважина по п. 1, в которой модуль связи и управления, датчик и клапан с электрическим управлением размещены в коллекторе насосно-компрессорной колонны, связанном с насосно-компрессорной колонной.
14. Нефтяная скважина по п. 1, в которой модуль связи и управления включает модем.
15. Способ добычи нефти из нефтяной скважины, содержащий следующие этапы: обеспечение множества скважинных управляемых секций, причем ряд этих секций содержит модуль связи и управления, датчик, клапан с электрическим управлением и замедлитель потока, расположенный в обсадной колонне вокруг части эксплуатационной насосно-компрессорной колонны, модуль связи и управления электрически подсоединен к, по меньшей мере, насосно-компрессорной колонне или обсадной колонне, и клапан с электрическим управлением и датчик электрически подсоединены к модулю связи и управления; обеспечение препятствия прохождению потоку флюида между скважинными секциями в обсадной колонне с помощью замедлителей потока; измерение характеристики флюида в каждой скважинной секции с помощью соответствующего датчика; регулировку потока флюида в насосно-компрессорной колонне в, по меньшей мере одной, скважинной секции с помощью своих соответствующих клапанов с электрическим управлением на основании результатов измерений характеристик флюида; добычу нефтепродуктов из скважины через насосно-компрессорную колонну.
16. Способ по п. 15, дополнительно содержащий следующие этапы: подачу тока, изменяющегося во времени, в, по меньшей мере, насосно-компрессорную колонну или обсадную колонну от источника тока, расположенного на поверхности; обеспечение препятствия протеканию тока с помощью индукционного дросселя, расположенного вокруг, по меньшей мере, насосно-компрессорной колонны или обсадной колонны; создание разности потенциалов между одной стороной индукционного дросселя и другой стороной индукционного дросселя в, по меньшей мере, насосно-компрессорной колонны или обсадной колонны; направление тока через, по меньшей мере, один модуль связи и управления посредством разности потенциалов с использованием индукционного дросселя; подачу питания, на, по меньшей мере, один модуль связи и управления с использованием разности потенциалов и тока, по меньшей мере, насосно-компрессорной колонны или обсадной колонны.
17. Способ по п. 16, дополнительно содержащий поддержание связи с, по меньшей мере, одним модулем связи и управления через ток и через, по меньшей мере, насосно-компрессорную колонну или обсадную колонну.
18. Способ по п. 15, дополнительно содержащий следующие этапы: передачу данных измерений флюида в компьютерную систему, расположенную на поверхности, с использованием модуля связи и управления через, по меньшей мере, насосно-компрессорную колонну или обсадную колонну; вычисление падения давления вдоль скважинной секции с помощью компьютерной системы и с использованием данных измерений флюида; определение необходимости регулировки клапанов с электрическим управлением скважинных секций; посылку сигналов команд в модули связи и управления скважинных секций, требующих регулировки клапана; регулировку положения клапана с электрическим управлением через модуль связи и управления для каждой скважинной секции, требующей регулировки клапана.
19. Способ по п. 15, содержащий регулировку потока флюида в каждой скважинной секции для обеспечения, по существу, постоянной продуктивности, по меньшей мере, одной нефтяной эксплуатационной зоны через скважинные секции, и увеличение эффективности добычи из, по меньшей мере, одной нефтяной эксплуатационной зоны.
20. Способ по п. 15, дополнительно содержащий обеспечение препятствия перетоку флюида из одного проницаемого слоя, по меньшей мере, одной нефтяной эксплуатационной зоны, имеющей первое давление флюида, в другой проницаемый слой, по меньшей мере, одной нефтяной эксплуатационной зоны, имеющей второе давление флюида, когда первое давление превышает второе давление.
21. Способ по п. 15, дополнительно содержащий предотвращение преждевременного прорыва газа из образования нисходящего конуса газа в, по меньшей мере, одну нефтяную эксплуатационную зону.
22. Способ по п. 15, дополнительно содержащий предотвращение преждевременного прорыва воды из образования восходящего конуса обводнения в, по меньшей мере, одну нефтяную эксплуатационную зону.
23. Способ по п. 15, дополнительно содержащий улучшение профиля продуктивности, по меньшей мере, одной нефтяной эксплуатационной зоны.
24. Способ по п. 15, дополнительно содержащий продление срока эксплуатации, по меньшей мере, одной нефтяной эксплуатационной зоны.
25. Способ по п. 15, дополнительно содержащий измерение потока флюида в одной скважинной секции с помощью датчика потока флюида.
26. Способ по п. 16, дополнительно содержащий измерение давления флюида в одной скважинной секции с помощью датчика давления.
27. Способ по п. 15, дополнительно содержащий измерение плотности флюида в одной скважинной секции с помощью датчика плотности флюида.
28. Способ управляемого нагнетания флюида в формацию через скважину, содержащий следующие этапы: обеспечение множества управляемых скважинных секций, каждая из которых содержит модуль связи и управления, датчик, клапан с электрическим управлением и замедлитель потока, при этом модуль связи и управления электрически подсоединен к, по меньшей мере, насосно-компрессорной колонне или обсадной колонне, клапан с электрическим управлением и датчик электрически подсоединены к модулю связи и управления, и замедлитель потока расположен в обсадной колонне вокруг части насосно-компрессорной колонны; обеспечение препятствия прохождению потока флюида между скважинными секциями с помощью замедлителей потока; измерение характеристики флюида в каждой скважинной секции с помощью своего соответствующего датчика; нагнетание флюида управляемым способом в насосно-компрессорную колонну; регулировку потока флюида из внутренней части насосно-компрессорной колонны в формацию в, по меньшей мере, одной скважинной секции с помощью своего соответствующего клапана с электрическим управлением на основании результатов измерений флюида.
29. Способ по п. 28, дополнительно содержащий следующие этапы: введение сигнала переменного тока в, по меньшей мере, насосно-компрессорную колонну или обсадную колонну от источника тока, расположенного на поверхности; обеспечение препятствия прохождению сигнала переменного тока с помощью индукционного дросселя, расположенного вокруг, по меньшей мере, насосно-компрессорной колонны или обсадной колонны; направление сигнала переменного тока через, по меньшей мере, один модуль связи и управления; подачу питания на, по меньшей мере, один модуль связи и управления с использованием сигнала переменного тока из, по меньшей мере, насосно-компрессорной колонны или обсадной колонны.
30. Способ по п. 29, дополнительно содержащий поддержание связи с, по меньшей мере, одним модулем связи и управления через сигнал переменного тока и через, по меньшей мере, насосно-компрессорную колонну или обсадную колонну.
31. Способ по п. 28, дополнительно содержащий следующие этапы: передачу данных измерений характеристик флюида в компьютерную систему, расположенную на поверхности, с использованием модуля связи и управления через, по меньшей мере, насосно-компрессорную колонну или обсадную колонну; вычисление падения давления вдоль секций буровой скважины с помощью компьютерной системы с использованием данных измерений характеристик флюида; определение необходимости регулировки клапанов с электрическим управлением скважинных секций; посылку сигналов команд в модули связи и управления скважинных секций, требующих регулировки клапана; при необходимости регулировки клапана регулировку положения клапана с электрическим управлением через модуль связи и управления для каждой скважинной секции, требующей регулировки клапана.
32. Способ по п. 28, содержащий регулировку потока флюида в каждой скважинной секции для обеспечения, по существу, равномерного нагнетания флюида из насосно-компрессорной колонны в формацию через скважинные секции.
РИСУНКИ
|
|