|
|
(21), (22) Заявка: 2003135805/03, 09.12.2003
(24) Дата начала отсчета срока действия патента:
09.12.2003
(45) Опубликовано: 20.08.2005
(56) Список документов, цитированных в отчете о поиске:
SU 1627663 A1, 15.02.1991. SU 1434074 A1, 30.10.1988. SU 1254137 A1, 30.08.1986. SU 612004 A, 25.06.1978. RU 2161238 C1, 27.12.2000. RU 2047731 C1, 10.10.1995. US 5370183 A, 06.12.1994.
Адрес для переписки:
423229, Республика Татарстан, Бугульминский р-он, р.п. Карабаш, ул.Мухаметзянова, 14, ОАО”Татнефть”, НГДУ “Иркеннефть”, технический отдел
|
(72) Автор(ы):
Хамитов Р.А. (RU), Файзуллин И.Н. (RU), Страхов Д.В. (RU), Оснос В.Б. (RU), Зиятдинов Р.З. (RU)
(73) Патентообладатель(и):
Открытое акционерное общество “Татнефть” им. В.Д. Шашина (RU)
|
(54) УСТРОЙСТВО ДЛЯ РЕМОНТА ОБСАДНОЙ КОЛОННЫ
(57) Реферат:
Изобретение относится к нефтедобывающей промышленности, а именно к средствам восстановления герметичности обсадных колонн. Устройство содержит жестко присоединенный к колонне труб патрубок, расширяющий конус. Патрубок сверху и снизу снабжен расширениями. Расширяющий конус выполнен с возможностью прижатия патрубка к обсадной колонне и с диаметром основания, меньшим внутреннего диаметра патрубка в его рабочем положении. В нижнее расширение установлен циркуляционный клапан, пропускающий сверху вниз. Корпус клапана герметично прикреплен к патрубку срезными винтами. Расширяющий конус вставлен в верхнее расширение и выполнен с седлом под сбрасываемый клапан. К расширяющему конусу жестко прикреплена самоуплотняющаяся сверху вниз манжета. Патрубок выполнен более пластичным, чем колонна труб. На наружной поверхности патрубка расположена эластичная оболочка. Повышается надежность изоляции повреждения, снижаются материальные затраты. 2 з.п.ф-лы, 3 ил. 
Изобретение относится к нефтедобывающей промышленности, а именно к средствам восстановления герметичности обсадных колонн.
Известно «Устройство для установки пластырей в обсадной колонне» (патент RU №2154149, Е 21 В 29/10, опубл. БИ №22 от 10.08.2000 г.), содержащее циркулярный клапан, подвижный силовой гидравлический толкатель, состоящий из цилиндра, поршня и полого штока, сердечник с цанговыми упорами и размещенный на нем пластырь между дорнирующей головкой и упором, при этом нижний упор выполнен в виде конуса с пазами, в которых на шарнирах с подпружиненными лепестками расположены упорные пластины пластыря, при этом в рабочем состоянии они занимают положение перпендикулярно образующим пластыря, контактируя одним концом с его нижним торцом, а другим – со ступнями пазов конусного упора.
Недостатками данного устройства является сложность конструкции и сборки перед спуском, так как тяга располагается внутри пластыря, при необходимости перекрытия больших участков длиной более одной трубы пластырь собирается при помощи сварки на устье скважины, все это требует использования высококвалифицированных специалистов и больших затрат времени как на подготовку оборудования к работе, так и при дорнировании пластыря по всей длине, большие усилия дорнирования, все это в совокупности требует больших материальных затрат, причем ненадежность изоляции из-за отсутствия изолирующих материалом, компенсирующих неровности обсадной колонны.
Наиболее близким по технической сущности и достигаемому результату является «Устройство для ремонта обсадной колонны» (ав.св. SU №1627663, Е 21 В 29/10, опубл. БИ №6 от 15.02.91 г.), включающее расширяющий конус с приводом его перемещения и расположенный на расширяющем конусе патрубок, при этом расширяющий конус выполнен с углом при вершине 25-60° с диаметром основания, меньшим внутреннего диаметра патрубка в рабочем положении не более, чем на величину, определяемую в соответствии со следующей зависимостью:
где
d – прирост внутреннего диаметра патрубка в рабочем положении над диаметром основания расширяющего конуса, м;
d – диаметр основания расширяющего конуса, м;
– угол при вершине расширяющего конуса, рад.
Недостатками данного устройства является сложность конструкции и сборки перед спуском, так как тяга располагается внутри пластыря, при необходимости перекрытия больших участков длиной более одной трубы пластырь собирается при помощи сварки на устье скважины, все это требует использования высококвалифицированных специалистов и больших затрат времени как на подготовку оборудования к работе, так и при дорнировании пластыря по всей длине, большие усилия дорнирования, все это в совокупности требует больших материальных затрат, причем ненадежность изоляции из-за отсутствия изолирующих материалом, компенсирующих неровности обсадной колонны, возможность аварийных ситуаций в случае заклинивания конуса в патрубке.
Технической задачей предлагаемого изобретение является упрощение конструкции за счет уменьшения деталей, спускаемых в скважину, снижение усилия посадки при изоляции больших интервалов повреждения обсадной колонны за счет использования распирающего усилия внутритрубного давления и уменьшения расстояния расширения патрубка, повышение надежности изоляции, исключение аварийных ситуаций и сварочных работ на устье скважины и, как следствие, снижение материальных затрат на сборку, спуск и посадку.
Техническая задача решается устройством для ремонта обсадной колонны, состоящим из патрубка, расширяющего конуса с углом при вершине, достаточным для плотного прижатия патрубка к стенкам обсадной колонны, и с диаметром основания, меньшим внутреннего диаметра патрубка в рабочем положении.
Новым является то, что сверху патрубок жестко присоединен к колонне труб, а сверху и снизу снабжен расширениями, при этом в нижнее расширение установлен циркуляционный клапан, пропускающий снизу вверх, корпус которого герметично прикреплен к патрубку срезными винтами, причем на наружной поверхности патрубка расположена эластичная оболочка, а в верхнее расширение патрубка вставлен расширяющий конус, имеющий отверстие с седлом под сбрасываемый с устья клапан, при этом к расширяющему конусу жестко прикреплена самоуплотняющаяся сверху вниз манжета, причем патрубок более пластичен, чем колонна труб.
Новым является также то, что патрубок между верхним и нижним расширениями оснащен продольными гофрами.
Новым является также то, что расширяющий конус и корпус циркуляционного клапана выполнены из легко разбуриваемых материалов.
Анализ известных аналогичных решений позволяет сделать вывод об отсутствии в них признаков, сходных с отличительными признаками в заявляемом устройстве, т.е. о соответствии заявляемого решения критериям «новизна» и «изобретательский уровень».
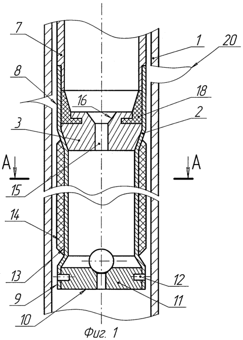
На Фиг.1 изображен продольный разрез устройства.
На Фиг.2 изображен поперечный разрез А-А устройства.
На Фиг.3 изображен продольный разрез устройства во время изоляции.
Устройство для ремонта обсадной колонны 1 (см. Фиг.1), состоящее из патрубка 2, расширяющего конуса 3 с углом 4 (см. Фиг.3) при вершине, достаточным для плотного прижатия патрубка 2 к стенкам обсадной колонны 1, и с диаметром основания 5, меньшим внутреннего диаметра 6 патрубка 2 в рабочем положении. Сверху патрубок 2 жестко присоединен к колонне труб 7, а сверху и снизу снабжен расширениями 8 и 9, при этом в нижнее расширение 9 установлен циркуляционный клапан 10, пропускающий снизу вверх, корпус 11 которого герметично прикреплен к патрубку 2 срезными винтами 12. На наружной поверхности 13 патрубка 2 расположена эластичная оболочка 14, а в верхнее расширение 8 патрубка 2 вставлен расширяющий конус 3, имеющий отверстие 15 с седлом 16 под сбрасываемый с устья клапан 17. К расширяющему конусу 3 жестко прикреплена самоуплотняющаяся сверху вниз манжета 18. Патрубок 2 более пластичен, чем колонна труб 7.
Патрубок 2 между верхним и нижним расширениями 8 и 9 может быть снабжен продольными гофрами 19 (см. Фиг.2) для облегчения расширения патрубка.
Расширяющий конус 3 (см Фиг.1) и корпус 11 циркуляционного клапана 10 могут быть выполнены из легко разбуриваемых материалов при необходимости дальнейшего разбуривания.
Устройство работает следующим образом.
Устройство для ремонта обсадной колонны 1 в сборе (см. Фиг.1) на колонне труб 7 спускают в скважину ниже нарушений 20 обсадной колонны 1. При этом колонна труб 7 заполняется через циркуляционный клапан 10, через который при необходимости производят промывку скважины, нижнее расширение 9 не позволяет стираться и сдираться эластичной оболочке 14. После чего колонну труб 7 фиксируют и герметизируют на устье (на Фиг. не показано) и создают внутри избыточное давление, которое предварительно раздает только патрубок 2, приближая по сечению к внутреннему диаметру обсадной колонны 1, так как патрубок 2 выполнен более пластичным, чем колонна труб 7. Если патрубок 2 снабжен продольными гофрами 19 (см. Фиг.2), то они под действием давления распрямляются, приближаясь по сечению к внутреннему диаметру обсадной колонны 1. Избыточное давление поднимают в колонне труб 7 до разрушения срезных винтов 12 и освобождения от патрубка 2 корпуса 11 циркуляционного клапана 10, который падает на забой скважины (на Фиг. не показан). Затем с устья сбрасывают клапан 17 (например, шар), который садится в седло 16 расширяющего конуса 3, перекрывая отверстие 15. Затем в колонне труб 7 снова создается избыточное давление, в результате расширяющий конус 3 (см. Фиг.3) выходит из расширения 8 и перемещается вниз, дожимая патрубок 2 после расширения давлением. Благодаря углу 4 при вершине расширяющего конуса 3 патрубок 2 окончательно плотно прижимается к обсадной колонне 1, а расположенная на наружной поверхности 13 патрубка 2 эластичная оболочка 14 при этом заполняет все неровности обсадной колонны 1, исключая перетоки жидкости из нарушений 20 внутрь колонны труб 7. Из-за того, что диаметр основания 5 расширяющего конуса 3 меньше внутреннего диаметра 6 патрубка 2 в рабочем положении, внутренний диаметр 21 колонны труб 7 меньше внутреннего диаметра 6 патрубка 2 в рабочем положении, что впоследствии не затруднит спуск необходимого оборудования (на Фиг. не показано) для последующей эксплуатации скважины. Самоуплотняющаяся манжета 18, закрепленная на расширяющем конусе 3, исключает несанкционированные перетоки сверху вниз при перемещении расширяющего конуса 3 за счет избыточного давления в колонне труб 7. После прохождения патрубка 2 расширяющий конус 3 с самоуплотняющейся манжетой 18 и клапаном 17 падают на забой. Работа по восстановлению герметичности обсадной колонны 1 завершена.
В случаях, когда необходимо дальнейшее углубление скважины, зарезка дополнительных стволов или не исключено заклинивание расширяющего конуса 3 в патрубке 2 (например, в случаях критического нарушения геометрии внутреннего сечения обсадной колонны 1), корпус 11 циркуляционного клапана 10 и расширяющий конус 3 выполняются из легко разбуриваемых материалов (например, чугун), исключая аварийные ситуации.
Использование предлагаемого устройство при изоляции больших интервалов повреждения обсадной колонны позволяет повысить надежность изоляции, исключить аварийные ситуации и сварочные работы на устье скважины, снизить материальные затраты на сборку, спуск и посадку за счет упрощения конструкции, уменьшения деталей, спускаемых в скважину, снижения усилий посадки при изоляции, уменьшения расстояния расширения патрубка, достаточного для изоляции.
Формула изобретения
1. Устройство для ремонта обсадной колонны, состоящее из патрубка, расширяющего конуса, выполненного с возможностью прижатия патрубка к обсадной колонне и с диаметром основания, меньшим внутреннего диаметра патрубка в его рабочем положении, отличающееся тем, что сверху патрубок жестко присоединен к колонне труб, а сверху и снизу снабжен расширениями, при этом в нижнее расширение установлен циркуляционный клапан, пропускающий снизу вверх, корпус которого герметично прикреплен к патрубку срезными винтами, расширяющий конус вставлен в верхнее расширение патрубка и выполнен с седлом под сбрасываемый с устья клапан, при этом к расширяющему конусу жестко прикреплена самоуплотняющаяся сверху вниз манжета, патрубок выполнен более пластичным, чем колонна труб и на его наружной поверхности расположена эластичная оболочка.
2. Устройство по п.1, отличающееся тем, что патрубок между верхним и нижним расширениями оснащен продольными гофрами.
3. Устройство по п.1 или 2, отличающееся тем, что расширяющий конус и корпус циркуляционного клапана выполнены из легко разбуриваемых материалов.
РИСУНКИ
|
|